Tachometric Cup Anemometer with Wind Direction Indicator and Fibre-Optic Signal Transmission
Abstract
1. Introduction
2. Concept of an Anemometer with Optical-Fibre Transmission of the Measurement Signal
3. Model of Wind Direction Transducer to Signal Duty Cycle
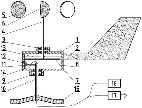
4. Construction of the Anemometer Prototype
5. Tests of the Anemometer Prototype
6. Conclusions
Author Contributions
Funding
Institutional Review Board Statement
Informed Consent Statement
Data Availability Statement
Acknowledgments
Conflicts of Interest
References
- Trenberth, K.E.; Smith, L. The mass of the atmosphere: A constraint on global analyses. J. Clim. 2005, 18, 864–875. [Google Scholar] [CrossRef]
- Liu, Y.; Zhou, L.; Qin, Y.; Azorin-Molina, C.; Shen, C.; Xu, R.; Zeng, Z. Impacts of anemometer changes, site relocations and processing methods on wind speed trends in China. Atmos. Meas. Tech. 2024, 17, 1123–1131. [Google Scholar] [CrossRef]
- Krawczyk, J.; Ligęza, P.; Poleszczyk, E.; Skotniczny, P. Advanced hot-wire anemometric measurement systems in investigation of the air flow velocity fields in mine headings. Arch. Min. Sci. 2011, 56, 683–699. [Google Scholar]
- Inoue, J.; Sato, K. Wind speed measurement by an inexpensive and lightweight thermal anemometer on a small UAV. Drones 2022, 6, 289. [Google Scholar] [CrossRef]
- Li, Z.; Pu, O.; Pan, Y.; Huang, B.; Zhao, Z.; Wu, H. A Study on Measuring the Wind Field in the Air Using a multi-rotor UAV Mounted with an Anemometer. Bound.-Layer Meteorol. 2023, 188, 1–27. [Google Scholar] [CrossRef]
- Tasneem, Z.; Al Noman, A.; Das, S.K.; Saha, D.K.; Islam, M.R.; Ali, M.F.; Badal, F.R.; Ahamed, H.; Moyeen, S.I.; Alam, F. An analytical review on the evaluation of wind resource and wind turbine for urban application: Prospect and challenges. Dev. Built Environ. 2020, 4, 100033. [Google Scholar] [CrossRef]
- Porté-Agel, F.; Bastankhah, M.; Shamsoddin, S. Wind-turbine and wind-farm flows: A review. Bound.-Layer Meteorol. 2020, 174, 1–59. [Google Scholar] [CrossRef]
- Ligęza, P. Basic, Advanced, and Sophisticated Approaches to the Current and Forecast Challenges of Wind Energy. Energies 2021, 14, 8147. [Google Scholar] [CrossRef]
- Bošnjaković, M.; Katinić, M.; Santa, R.; Marić, D. Wind turbine technology trends. Appl. Sci. 2022, 12, 8653. [Google Scholar] [CrossRef]
- Elgendi, M.; AlMallahi, M.; Abdelkhalig, A.; Selim, M.Y. A review of wind turbines in complex terrain. Int. J. Thermofluids 2023, 17, 100289. [Google Scholar] [CrossRef]
- Didane, D.H.; Behery, M.R.; Al-Ghriybah, M.; Manshoor, B. Recent Progress in Design and Performance Analysis of Vertical-Axis Wind Turbines—A Comprehensive Review. Processes 2024, 12, 1094. [Google Scholar] [CrossRef]
- Ligęza, P.; Jamróz, P.; Socha, K. Development Trends of Air Flow Velocity Measurement Methods and Devices in Renewable Energy. Energies 2025, 18, 412. [Google Scholar] [CrossRef]
- Chue, S.H. Pressure probes for fluid measurement. Prog. Aerosp. Sci. 1975, 16, 147–223. [Google Scholar] [CrossRef]
- Shinder, I.I.; Moldover, M.R.; Filla, B.J.; Johnson, A.N.; Khromchenko, V.B. Facility for calibrating anemometers as a function of air velocity vector and turbulence. Metrologia 2021, 58, 045008. [Google Scholar] [CrossRef] [PubMed]
- Nugraha, Y.N.; Erwin, E.; Wiyono, S. Design of Wind Speed Measurement System in Wind Tunnel Based on Pitot Tube. J. Asiimetrik J. Ilm. Rekayasa Inov. 2024, 6, 69–76. [Google Scholar]
- Zhu, M.; Jiang, X.; Hu, Q.; Zheng, H.; Zhou, Q.; Jiang, L. Wind Speed and Direction Measurement Method and System Based on Cylindrical Pitot Tube Array. In Frontier Academic Forum of Electrical Engineering; Springer: Singapore, 2025; pp. 863–870. [Google Scholar]
- Cuerva, A.; Sanz-Andrés, A. On sonic anemometer measurement theory. J. Wind Eng. Ind. Aerodyn. 2000, 88, 25–55. [Google Scholar] [CrossRef]
- Thielicke, W.; Hübert, W.; Müller, U.; Eggert, M.; Wilhelm, P. Towards accurate and practical drone-based wind measurements with an ultrasonic anemometer. Atmos. Meas. Tech. 2021, 14, 1303–1318. [Google Scholar] [CrossRef]
- Koivula, K.M.; Haikarainen, M.S.E.K.; Hirvonen, M.S.M.J.; Räisänen, J. Utilisation of Drones in Wind Measurements: An Analysis of Wind Data Gathered with a Drone-Bound Ultrasonic Anemometer. Master’s Thesis, University of Helsinki, Helsinki, Finland, 2023. [Google Scholar]
- Basawanal, A. Development and Qualification of a Drone-Based Anemometry Platform for Air Risk Assessment in Urban Environments. Ph.D. Thesis, Carleton University, Ottawa, ON, Canada, 2023. [Google Scholar]
- Arens, E.; Ghahramani, A.; Przybyla, R.; Andersen, M.; Min, S.; Peffer, T.; Zhang, H. Measuring 3D indoor air velocity via an inexpensive low-power ultrasonic anemometer. Energy Build. 2020, 211, 109805. [Google Scholar] [CrossRef]
- San Pedro, J.L.M.A.; Martinez, D.W.C.; Gozun, P.J.P.; Reyes, K.A.C.; Ruiz, S.J. Development of Localized 3D-Printed Ultrasonic Wind Anemometer with Cloud Data Transfer and Storage. Chem. Eng. Trans. 2023, 106, 307–312. [Google Scholar]
- Chen, X.; Zhan, W. Effect of transducer shadowing of ultrasonic anemometers on wind velocity measurement. IEEE Sens. J. 2020, 21, 4731–4738. [Google Scholar] [CrossRef]
- Cao, Z.; Zhang, Z.; Li, R.; Yang, X.; Zhou, Z. Compensation Method for Shadow Effect of Mine Ultrasonic Anemometer. IEEE Access 2021, 9, 118893–118906. [Google Scholar] [CrossRef]
- Shan, Z.; Xie, S.; Liu, X.; Liu, Y. Arrayed ultrasonic wind speed and direction measurement based on the BNF-FLOC-MUSIC algorithm. Sens. Actuators A Phys. 2024, 379, 115908. [Google Scholar] [CrossRef]
- Glabeke, G.; Gigon, A.; De Mulder, T.; Van Beeck, J. How accurate are ultrasonic anemometers, calibrated in a laminar wind tunnel, under turbulent conditions? J. Phys. Conf. Ser. 2024, 2767, 042023. [Google Scholar] [CrossRef]
- Fingerson, L.M. Thermal anemometry, current state, and future directions. Rev. Sci. Instrum. 1994, 65, 285–300. [Google Scholar] [CrossRef]
- Ligęza, P. Advanced temperature compensation and correction techniques in thermal anemometry. Instrum. Sci. Technol. 2015, 43, 21–43. [Google Scholar] [CrossRef]
- Gao, Y.; Ramirez, B.C.; Hoff, S.J. Omnidirectional thermal anemometer for low airspeed and multi-point measurement applications. Comput. Electron. Agric. 2016, 127, 439–450. [Google Scholar] [CrossRef]
- Idjeri, B.; Laghrouche, M.; Boussey, J. Wind measurement based on MEMS micro-anemometer with high accuracy using ANN technique. IEEE Sens. J. 2017, 17, 4181–4188. [Google Scholar] [CrossRef]
- Korprasertsak, N.; Leephakpreeda, T. Novel wind measurement via thermoelectric anemometer. Measurement 2020, 149, 107037. [Google Scholar] [CrossRef]
- Ligęza, P. Modification of hot-wire anemometers frequency bandwidth measurement method. Sensors 2020, 20, 1595. [Google Scholar] [CrossRef]
- Ligęza, P.; Jamróz, P.; Ostrogorski, P. Methods for dynamic behavior improvement of tachometric and thermal anemometers by active control. Measurement 2020, 166, 108147. [Google Scholar] [CrossRef]
- Ligęza, P. Constant-temperature anemometer bandwidth shape determination for energy spectrum Study of turbulent flows. Energies 2021, 14, 4495. [Google Scholar] [CrossRef]
- Du, L.; Dong, X.; Tang, Y.; Gao, Z.; Xu, P.; Yang, J.; Qin, Y. High-sensitivity hot-wire anemometer using cobalt-doped fiber-based long-period gratings. Opt. Express 2025, 33, 1034–1043. [Google Scholar] [CrossRef] [PubMed]
- Ligęza, P.; Jamróz, P. A hot-wire anemometer with automatically adjusted dynamic properties for wind energy spectrum analysis. Energies 2022, 15, 4618. [Google Scholar] [CrossRef]
- Ligęza, P.; Jamróz, P.; Ostrogórski, P. Reduction of electromagnetic interferences in measurements of fast-changing air velocity fluctuations by means of hot-wire anemometer. Flow Meas. Instrum. 2021, 79, 101945. [Google Scholar] [CrossRef]
- Wang, X.; Dong, X.; Zhou, Y.; Li, Y.; Cheng, J.; Chen, Z. Optical fiber anemometer using silver-coated fiber Bragg grating and bitaper. Sens. Actuators A Phys. 2014, 214, 230–233. [Google Scholar] [CrossRef]
- Wang, J.; Liu, Z.Y.; Gao, S.; Zhang, A.P.; Shen, Y.H.; Tam, H.Y. Fiber-optic anemometer based on Bragg grating inscribed in metal-filled microstructured optical fiber. J. Light. Technol. 2016, 34, 4884–4889. [Google Scholar] [CrossRef]
- Jiang, Z.; Zhang, H.; Guan, L.; Yang, J. Fiber Bragg grating anemometer and temperature compensation technology. Opt. Eng. 2018, 57, 064104. [Google Scholar] [CrossRef]
- Tang, Y.; Chen, X.; Zhang, J.; Lv, D.; Xiong, L.; Dong, X. Sensitivity-enhanced hot-wire anemometer by using cladding-etched fiber bragg grating. Photonic Sens. 2023, 13, 230305. [Google Scholar] [CrossRef]
- De Vita, E.; Di Palma, P.; Zahra, S.; Roviello, G.; Ferone, C.; Iadicicco, A.; Campopiano, S. Hot-wire anemometer based on D-shaped Optical Fiber. IEEE Sens. J. 2023, 23, 12845–12852. [Google Scholar] [CrossRef]
- Sasaki, T.; Asayama, Y.; Motoyoshi, Y.; Yamamoto, H.; Fukami, T. A Karman vortex airflow sensor. SAE Trans. 1982, 91, 1259–1263. [Google Scholar]
- Li, W.; Lu, L.; Fu, X.; Zhang, C.; Loos, K.; Pei, Y. Kármán vortex street driven membrane triboelectric nanogenerator for enhanced ultra-low speed wind energy harvesting and active gas flow sensing. ACS Appl. Mater. Interfaces 2022, 14, 51018–51028. [Google Scholar] [CrossRef] [PubMed]
- Rodríguez-Sevillano, Á.A.; Casati-Calzada, M.J.; Bardera-Mora, R.; Feliz-Huidobro, A.; Calle-González, C.; Fernández-Antón, J. Flow study on the anemometers of the perseverance based on towing tank visualization. Appl. Mech. 2022, 3, 1385–1398. [Google Scholar] [CrossRef]
- bin Zainol, M.A.; Ikegaya, N.; Mohamad, M.F. Stochastic and statistical characteristics of artificially generated turbulent flow following karman spectrum in a wind-tunnel experiment. J. Wind. Eng. Ind. Aerodyn. 2022, 229, 105148. [Google Scholar] [CrossRef]
- Tropea, C. Laser Doppler anemometry: Recent developments and future challenges. Meas. Sci. Technol. 1995, 6, 605. [Google Scholar] [CrossRef]
- Rastello, M.; Klema, M.R.; Carpenter, A.B.; Garanaik, A.; Venayagamoorthy, S.K.; Gates, T.K.; Marié, J.L. Velocity measurements in developing narrow open-channel flows with high free-stream turbulence: Acoustic Doppler Velocimetry (ADV) vs Laser Doppler Anemometry (LDA). Flow Meas. Instrum. 2022, 87, 102206. [Google Scholar] [CrossRef]
- Zhang, H.; He, Y.; Li, Z.; Chen, X.; Dai, G.; Yin, B.; Wu, S. Dual wavelength laser Doppler anemometer for simultaneous velocity and particulate size distribution measurements in submarine environments. Opt. Express 2023, 31, 12311–12327. [Google Scholar] [CrossRef] [PubMed]
- Kliebisch, O.; Damm, M.; Mahnke, P. Airborne four channel fiber coupled vector laser Doppler anemometer system. Appl. Opt. 2023, 62, 6746–6753. [Google Scholar] [CrossRef]
- Pisaturo, G.R.; Nicolosi, F.F.; Gusmerotti, D.; Righetti, M.; Renzi, M. Laser Doppler Anemometry technique to study the flow field in the nozzle and in the water jet of a Pelton turbine. J. Phys. Conf. Ser. 2023, 2511, 012008. [Google Scholar] [CrossRef]
- Zhang, N.; Li, D.; Jiang, J.; Gao, B.; Ni, D.; Alubokin, A.A.; Zhang, W. Experimental Investigation on Velocity Fluctuation in a Vaned Diffuser Centrifugal Pump Measured by Laser Doppler Anemometry. Energies 2023, 16, 3223. [Google Scholar] [CrossRef]
- Bardera, R.; Rodríguez-Sevillano, A.A.; Muñoz-Campillejo, J.; Matías-García, J.C.; Barroso-Barderas, E.; Fernández-Anton, J. Laser Doppler measurements of the flow around the wind sensors of a planetary exploration vehicle. J. Braz. Soc. Mech. Sci. Eng. 2023, 45, 517. [Google Scholar] [CrossRef]
- Grant, I. Particle image velocimetry: A review. Proc. Inst. Mech. Eng. 1997, 211, 55–76. [Google Scholar] [CrossRef]
- Etminan, A.; Muzychka, Y.S.; Pope, K.; Nyantekyi-Kwakye, B. Flow visualization: State-of-the-art development of micro-particle image velocimetry. Meas. Sci. Technol. 2022, 33, 092002. [Google Scholar] [CrossRef]
- Wang, H.; Liu, Y.; Wang, S. Dense velocity reconstruction from particle image velocimetry/particle tracking velocimetry using a physics-informed neural network. Phys. Fluids 2022, 34, 017116. [Google Scholar] [CrossRef]
- Liu, X.; Zhao, Z.; Xu, S.; Zhang, J.; Zhou, Y.; He, Y.; Tsai, D.P. Meta-Lens Particle Image Velocimetry. Adv. Mater. 2024, 36, 2310134. [Google Scholar] [CrossRef]
- Fan, Y.; Guo, C.; Han, Y.; Qiao, W.; Xu, P.; Kuai, Y. Deep-learning-based image preprocessing for particle image velocimetry. Appl. Ocean. Res. 2023, 130, 103406. [Google Scholar] [CrossRef]
- Legleiter, C.J.; Kinzel, P.J.; Engel, F.L.; Harrison, L.R.; Hewitt, G. A two-dimensional, reach-scale implementation of space-time image velocimetry (STIV) and comparison to particle image velocimetry (PIV). Earth Surf. Process. Landf. 2024, 49, 3093–3114. [Google Scholar] [CrossRef]
- Xiao, D.; Dong, X.; Hu, S.; Liu, X. Coupling particle image velocimetry and digital image analysis to characterize cluster dynamics in a fast fluidized bed. Powder Technol. 2024, 434, 119267. [Google Scholar] [CrossRef]
- Pindado, S.; Cubas, J.; Sorribes-Palmer, F. The cup anemometer, a fundamental meteorological instrument for the wind energy industry. Research at the IDR/UPM Institute. Sensors 2014, 14, 21418–21452. [Google Scholar] [CrossRef]
- Ligęza, P. Model and simulation studies of the method for optimization of dynamic properties of tachometric anemometers. Sensors 2018, 18, 2677. [Google Scholar] [CrossRef]
- Gutarra, J.S.; Gastelo-Roque, J.A.; Sulluchuco, J. A cup anemometer using 3D additive manufacturing. In Proceedings of the 2020 IEEE XXVII International Conference on Electronics, Electrical Engineering and Computing (INTERCON), Lima, Peru, 3–5 September 2020; pp. 1–4. [Google Scholar]
- Fu, X.; Xu, S.; Gao, Y.; Zhang, X.; Liu, G.; Zhou, H.; Wang, Z.L. Breeze-wind-energy-powered autonomous wireless anemometer based on rolling contact-electrification. ACS Energy Lett. 2021, 6, 2343–2350. [Google Scholar] [CrossRef]
- Ligęza, P. Dynamic error correction method in tachometric anemometers for measurements of wind energy. Energies 2022, 15, 4132. [Google Scholar] [CrossRef]
- Alfonso-Corcuera, D.; Vega, E.; Ogueta-Gutiérrez, M.; Alcala-Gonzalez, D.; Pindado, S. Effect of ice/dirt on cup anemometer rotors. Flow Meas. Instrum. 2023, 89, 102267. [Google Scholar] [CrossRef]
- Liu, Y.; Yao, Y.; Wang, K.; Guan, X.; Li, T.; Cheng, T.; Han, Z. A bioinspired triboelectric wireless anemometer with low cut-in wind speed for meteorological UAVs. Nano Energy 2024, 128, 109917. [Google Scholar] [CrossRef]
- Alfonso-Corcuera, D.; Ogueta-Gutiérrez, M.; Pindado, S.; González-Bárcena, D.; Porras-Hermoso, Á.L.; Marín-Coca, S.; Zamorano, J.; Perez-Muñoz, Á.G. On the use of cup anemometers as wind speed sensors in stratospheric balloon missions. J. Phys. Conf. Ser. 2024, 2716, 012100. [Google Scholar] [CrossRef]
- Krzysztofik, W.J.; Bem, D.J. The technical and social aspects of the LF Warsaw broadcasting station reconstruction. In Proceedings of the International Broadcasting Convention-IBC’94, Amsterdam, The Netherlands, 16–20 September 1994; pp. 546–549. [Google Scholar]
- Güçyetmez, M.; Keser, S.; Hayber, Ş.E. Wind speed measurement with a low-cost polymer optical fiber anemometer based on Fresnel reflection. Sens. Actuators A Phys. 2022, 339, 113509. [Google Scholar] [CrossRef]
- Piga, T.; Wodziak, W.; Sobczyk, J.; Rachalski, A. Experimental Stand for Very-Low-Velocity Gas Flow Generation. Sensors 2023, 23, 1569. [Google Scholar] [CrossRef]
- Sobczyk, J. Low-cost add-in to the horizontal wind tunnel for calibrating anemometers at very low speeds. Measurement 2025, 253, 117570. [Google Scholar] [CrossRef]
- Janus, J.; Krawczyk, J. Defining the Computational Domain and Boundary Conditions for Fluid Flow in a Mining Excavation. Arch. Min. Sci. 2023, 68, 425–441. [Google Scholar]
- Ostrogórski, P.; Skotniczny, P. Methane emission measurements along underground galleries of coal mine. Arch. Min. Sci. 2024, 69, 107–114. [Google Scholar] [CrossRef]
- Wasilewski, S.; Szlązak, N.; Jamróz, P. An analysis of the methane explosion in the area of the return shaft bottom at mine. Arch. Min. Sci. 2024, 69, 89–105. [Google Scholar] [CrossRef]










| Parameter Name | Parameter Value |
|---|---|
| Anemometer height with base | 300 mm |
| Anemometer length with rudder | 400 mm |
| Anemometer turbine radius | 100 mm |
| Turbine bowl radius | 25 mm |
| Transducer housing radius | 70 mm |
| Transducer housing height | 40 mm |
| Impulse disc radius l | 60 mm |
| Disc rotational symmetry angle 2α | 45° |
| Disc arm apex angle 2β | 21° |
| Distance between rotation axes | 15 mm |
| Optical fibre diameter | 1 mm |
| Transmitting diode supply current | 15 mA |
| Phototransistor supply voltage | 5 V |
| Phototransistor load resistance | 10 kΩ |
Disclaimer/Publisher’s Note: The statements, opinions and data contained in all publications are solely those of the individual author(s) and contributor(s) and not of MDPI and/or the editor(s). MDPI and/or the editor(s) disclaim responsibility for any injury to people or property resulting from any ideas, methods, instructions or products referred to in the content. |
© 2025 by the authors. Licensee MDPI, Basel, Switzerland. This article is an open access article distributed under the terms and conditions of the Creative Commons Attribution (CC BY) license (https://creativecommons.org/licenses/by/4.0/).
Share and Cite
Ligęza, P.; Jamróz, P.; Socha, K. Tachometric Cup Anemometer with Wind Direction Indicator and Fibre-Optic Signal Transmission. Sensors 2025, 25, 3281. https://doi.org/10.3390/s25113281
Ligęza P, Jamróz P, Socha K. Tachometric Cup Anemometer with Wind Direction Indicator and Fibre-Optic Signal Transmission. Sensors. 2025; 25(11):3281. https://doi.org/10.3390/s25113281
Chicago/Turabian StyleLigęza, Paweł, Paweł Jamróz, and Katarzyna Socha. 2025. "Tachometric Cup Anemometer with Wind Direction Indicator and Fibre-Optic Signal Transmission" Sensors 25, no. 11: 3281. https://doi.org/10.3390/s25113281
APA StyleLigęza, P., Jamróz, P., & Socha, K. (2025). Tachometric Cup Anemometer with Wind Direction Indicator and Fibre-Optic Signal Transmission. Sensors, 25(11), 3281. https://doi.org/10.3390/s25113281

