Clipping Noise Compensation for Overlapped Time Domain Multiplexing toward Low Peak-to-Average Power Ratio
Abstract
1. Introduction
2. Transmitter and Receiver of OvTDM Systems
- (i)
- The detection at the receiver side starts from the layer with the highest transmit power, where decreases sequentially. First, initialize the symbol probability for each layer of symbols as an equal probability distribution, and then calculate the mean and variance of the symbols at each moment of each layer based on the probability, with .
- (ii)
- Let the current decoding layer be the k-th layer, and firstly calculate the mean magnitude and variance of the interference values caused by other layers to the current layer.
- (iii)
- The input to the k-th layer OvTDM signal detector is obtained by subtracting from the sufficient statistic y obtained after matched filtering and down-sampling.
- (iv)
- Detection of using the M-BCJR algorithm.
- (v)
- The symbol probability obtained at the end of M-BCJR detection is fed into the decoder, the detector and decoder are iterated a number of times to obtain the estimated bit sequence and the corresponding probability information for the current layer, and the obtained bit probability is re-mapped into the symbol probability to recalculate the symbol mean-variance. Then, update and . When , let , restart the detection of the next layer of signals from step (ii), otherwise jump to step (vi).
- (vi)
- When , it means that each layer of the signal is detected. At this time, and of each layer have been updated once. The updated and can be used to restart the detection from the first layer by ordering , and restarting the detection from step (ii). At this point, and are much more accurate compared to the homogeneous initialization with the first step, and thus the second overall iteration will provide a better performance than the first one. As results, a number of iterations of detection can achieve better performance.
3. PAPR Reduction with Clipping and Modified Iterative Detection Scheme
- The signal processing at the receiver side uses the Forney model, i.e., after down-sampling the signal passes through a whitening filter. Thus, the total noise can be written as an additive Gaussian white noise.
- Since multiple layers are superimposed, the distribution of the signal in the time domain should asymptotically obey a Gaussian distribution. Here, it is assumed that the signal time domain obeys Gaussian distribution. Also, since BPSK is used as the baseband modulation, the transmitted signal is a real signal and its amplitude in the time domain obeys the following distribution as
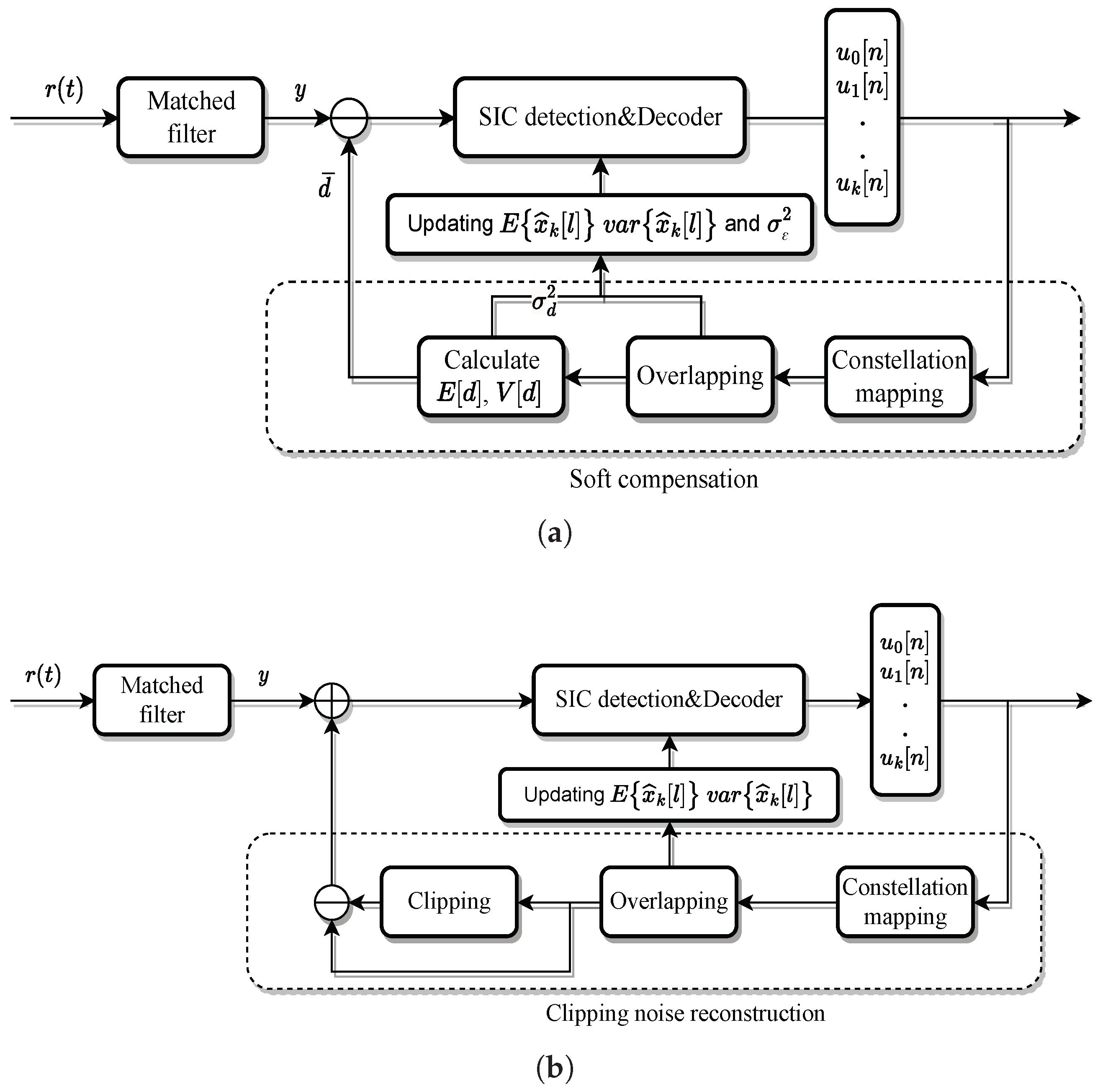
3.1. Iterative Soft Compensation
- (i)
- The first round of SIC detection is performed by initializing to 0. After obtaining the updated and for each layer, they are superimposed in the same way as in the modulation process. If , then the inter-symbol interference coefficient must also be taken into calculation. Thus, the and of the overall signal can be estimated.
- (ii)
3.2. Clipping Noise Reconstruction
- (i)
- The first iteration yields a preliminary demodulation result , with by SIC detection and decoding.
- (ii)
- Perform the same modulation process on the detection results as on the transmitter to reconstruct the transmit signal estimate .
- (iii)
- Reconstruct the clipping noise according towhich is then subtracted from the received signal as , and replace by in the next round of iterative detection.
4. Simulation Results
5. Conclusions
Author Contributions
Funding
Institutional Review Board Statement
Informed Consent Statement
Data Availability Statement
Conflicts of Interest
References
- Li, D. A novel high spectral efficiency waveform coding-OVFDM. China Commun. 2015, 12, 61–73. [Google Scholar] [CrossRef]
- Li, D. Overlapped multiplexing principle and an improved capacity on additive white Gaussian noise channel. IEEE Access 2017, 6, 6840–6848. [Google Scholar] [CrossRef]
- Ping, L.; Tong, J.; Yuan, X.; Guo, Q. Superposition coded modulation and iterative linear MMSE detection. IEEE J. Sel. Areas Commun. 2009, 27, 995–1004. [Google Scholar] [CrossRef]
- Yang, P.; Xiao, Y.; Xiao, M.; Li, S. 6G wireless communications: Vision and potential techniques. IEEE Netw. 2019, 33, 70–75. [Google Scholar] [CrossRef]
- Zhao, S.; Wang, Q.; Jin, J.; Liu, G. Performance analysis of overlapped time division multiplexing systems under correlated noise. In Proceedings of the 2020 IEEE Globecom Workshops (GC Wkshps), Taipei, Taiwan, 7–11 December 2020; pp. 1–6. [Google Scholar]
- Baek, M.S.; Yun, J.; Kwak, S.; Lim, H.; Kim, Y.; Hur, N. Physical layer security based on coded FTN signaling for premium services in satellite digital broadcasting system. In Proceedings of the 2017 IEEE International Conference on Consumer Electronics (ICCE), Berlin, Germany, 3–6 September 2017; pp. 147–148. [Google Scholar]
- Sun, S.; Li, N.; Wang, H.; Tao, X. Performance Analysis of Superposition Modulation in Physical Layer Security. In Proceedings of the 2019 11th International Conference on Wireless Communications and Signal Processing (WCSP), Xi’an, China, 23–25 October 2019; pp. 1–5. [Google Scholar]
- Pfeiffer, J.; Fischer, R.F. Combining scrambling and multilevel coding for physical-layer security. In Proceedings of the Photonic Networks; 22th ITG Symposium, Online, 19–20 May 2021; pp. 1–8. [Google Scholar]
- Jawhar, Y.A.; Audah, L.; Taher, M.A.; Ramli, K.N.; Shah, N.S.M.; Musa, M.; Ahmed, M.S. A review of partial transmit sequence for PAPR reduction in the OFDM systems. IEEE Access 2019, 7, 18021–18041. [Google Scholar] [CrossRef]
- Parihar, A.S.; Rai, A. A Review: PAPR Reduction Techniques in Mimo Ofdm System. Int. J. Eng. Innov. Technol. (IJEIT) 2015, 4, 209–212. [Google Scholar]
- Cimini, L.J.; Sollenberger, N.R. Peak-to-average power ratio reduction of an OFDM signal using partial transmit sequences. IEEE Commun. Lett. 2000, 4, 86–88. [Google Scholar] [CrossRef]
- Kaur, I.; Kulkarni, M.; Gupta, D.; Thakur, K.; Arora, J. The Minimum PAPR Code for OFDM Systems. World Acad. Sci. Eng. Technol. 2008, 46, 285. [Google Scholar]
- Li, X.; Cimini, L.J. Effects of clipping and filtering on the performance of OFDM. In Proceedings of the 1997 IEEE 47th Vehicular Technology Conference. Technology in Motion, Phoenix, AZ, USA, 4–7 May 1997; Volume 3, pp. 1634–1638. [Google Scholar]
- Ochiai, H. Performance analysis of deliberately clipped OFDM signals. In Proceedings of the GLOBECOM 2000, San Francisco, CA, USA, 27 November–1 December 2000; Volume 2, pp. 731–735. [Google Scholar]
- Higuchi, K.; Benjebbour, A. Non-orthogonal multiple access (NOMA) with successive interference cancellation for future radio access. IEICE Trans. Commun. 2015, 98, 403–414. [Google Scholar] [CrossRef]
- Rave, W.; Zillmann, P.; Fettweis, G. Iterative correction and decoding of OFDM signals affected by clipping. In Multi-Carrier Spread-Spectrum; Springer: Berlin/Heidelberg, Germany, 2006; pp. 443–452. [Google Scholar]
- Tong, J.; Ping, L.; Ma, X. Superposition coded modulation with peak-power limitation. IEEE Trans. Inf. Theory 2009, 55, 2562–2576. [Google Scholar] [CrossRef]
- Chen, H.; Haimovich, A.M. Iterative estimation and cancellation of clipping noise for OFDM signals. IEEE Commun. Lett. 2003, 7, 305–307. [Google Scholar] [CrossRef]
- Tong, J.; Ping, L.; Zhang, Z.; Bhargava, V.K. Iterative soft compensation for OFDM systems with clipping and superposition coded modulation. IEEE Trans. Commun. 2010, 58, 2861–2870. [Google Scholar] [CrossRef][Green Version]
- Liu, S.; Wang, Y.; Lian, Z.; Su, Y.; Xie, Z. Joint Suppression of PAPR and OOB Radiation for OFDM Systems. IEEE Trans. Broadcast. 2023, 69, 528–537. [Google Scholar] [CrossRef]
- Bazzi, A.; Chafii, M. On integrated sensing and communication waveforms with tunable PAPR. IEEE Trans. Wirel. Commun. 2023, 16, 7345–7360. [Google Scholar] [CrossRef]
- Tu, Y.P.; Chang, C.C. A Novel Low Complexity Two-Stage Tone Reservation Scheme for PAPR Reduction in OFDM Systems. Sensors 2023, 23, 950. [Google Scholar] [CrossRef] [PubMed]
- Van Vleck, J.H.; Middleton, D. The spectrum of clipped noise. Proc. IEEE 1966, 54, 2–19. [Google Scholar] [CrossRef]
- Kim, D.; Stuber, G.L. Clipping noise mitigation for OFDM by decision-aided reconstruction. IEEE Commun. Lett. 1999, 3, 4–6. [Google Scholar]
- Forney, G. Maximum-likelihood sequence estimation of digital sequences in the presence of intersymbol interference. IEEE Trans. Inf. Theory 1972, 18, 363–378. [Google Scholar] [CrossRef]
- Anderson, J.B.; Prlja, A. Turbo equalization and an M-BCJR algorithm for strongly narrowband intersymbol interference. In Proceedings of the 2010 International Symposium On Information Theory & Its Applications, Taichung, Taiwan, 17–20 October 2010; pp. 261–266. [Google Scholar]
- Fragouli, C.; Seshadri, N.; Turin, W. Reduced-trellis equalization using the M-BCJR algorithm. Wirel. Commun. Mob. Comput. 2001, 1, 397–406. [Google Scholar] [CrossRef]







| Parameter | Value |
|---|---|
| Modulation scheme | BPSK |
| Number of layers | 3 |
| Data length | 1000 |
| Encoding/rate | Turbo 1/3 |
| Symbols per layer | 3010 |
| FTN Accelerating factor () | 0.8 |
Disclaimer/Publisher’s Note: The statements, opinions and data contained in all publications are solely those of the individual author(s) and contributor(s) and not of MDPI and/or the editor(s). MDPI and/or the editor(s) disclaim responsibility for any injury to people or property resulting from any ideas, methods, instructions or products referred to in the content. |
© 2024 by the authors. Licensee MDPI, Basel, Switzerland. This article is an open access article distributed under the terms and conditions of the Creative Commons Attribution (CC BY) license (https://creativecommons.org/licenses/by/4.0/).
Share and Cite
Huang, C.; Zhang, Q.; Li, X.; Xiao, Y. Clipping Noise Compensation for Overlapped Time Domain Multiplexing toward Low Peak-to-Average Power Ratio. Sensors 2024, 24, 1607. https://doi.org/10.3390/s24051607
Huang C, Zhang Q, Li X, Xiao Y. Clipping Noise Compensation for Overlapped Time Domain Multiplexing toward Low Peak-to-Average Power Ratio. Sensors. 2024; 24(5):1607. https://doi.org/10.3390/s24051607
Chicago/Turabian StyleHuang, Chongda, Qianzhen Zhang, Xiaoyuan Li, and Yue Xiao. 2024. "Clipping Noise Compensation for Overlapped Time Domain Multiplexing toward Low Peak-to-Average Power Ratio" Sensors 24, no. 5: 1607. https://doi.org/10.3390/s24051607
APA StyleHuang, C., Zhang, Q., Li, X., & Xiao, Y. (2024). Clipping Noise Compensation for Overlapped Time Domain Multiplexing toward Low Peak-to-Average Power Ratio. Sensors, 24(5), 1607. https://doi.org/10.3390/s24051607
