A Novel Non-Coherent Q-Ary TH-PPM Transceiver
Abstract
:1. Introduction
2. System Model
2.1. Conventional TH-PPM Transceiver
- Start data decision;
- Sample the values of the matched filter output at time slot 1, 2, …, Q;
- Select the maximum time slot Uk in the sampling values U1, U2, …, UQ;
- Output data k (it is assumed that the maximum sampling value is the kth time slot);
- End decision.
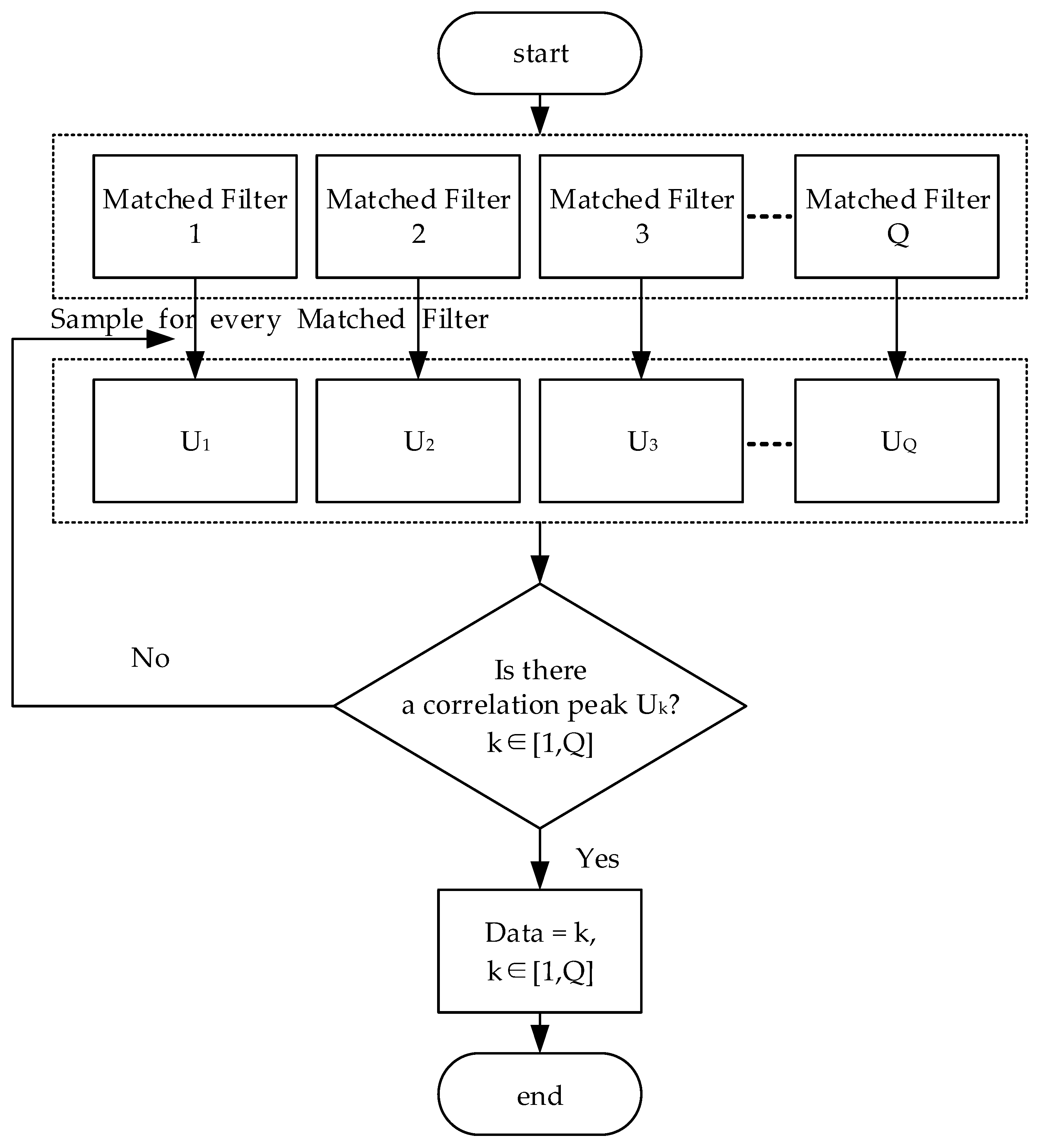
2.2. New TH-PPM Transceiver
- Start data decision;
- Sample the values of every matched filter from 1, 2, …, Q;
- Determine which matched filter outputs the correlation peak;
- Output data k (it is assumed that the kth matched filter is outputting a correlation peak);
- End decision.
3. Performance Analysis
3.1. BER Performance Analysis under Ideal Synchronization Conditions
3.2. BER Performance Analysis under Non-Ideal Synchronization Conditions with Constant Time Offset
3.3. BER Performance Analysis under Non-Ideal Synchronization Conditions with Jitter
3.4. BER Performance Analysis with Change in the Shape of the Pulse
4. Simulations
4.1. BER Performance under Non-Ideal Synchronization Conditions with Constant Time Offset
4.2. BER Performance under Non-Ideal Synchronization Conditions with Jitter
5. Discussion
6. Conclusions
Author Contributions
Funding
Institutional Review Board Statement
Informed Consent Statement
Data Availability Statement
Conflicts of Interest
References
- Shi, X.; Sun, Y.; Tian, J.; Chen, M.; Liu, Y.; Xie, N.; Zhang, J. BER Performance Analysis of Non-Coherent Q-Ary Pulse Position Modulation Receivers on AWGN Channel. Sensors 2021, 21, 6102. [Google Scholar] [CrossRef] [PubMed]
- Lu, Y.; Liu, H.; Zhou, Q.; Ma, J.; Wei, Y.; Li, Q. A Smooth Evolution to Next Generation PON Based on Pulse Position Modulation (PPM). IEEE Photon. Technol. Lett. 2015, 27, 173–176. [Google Scholar]
- Yan, K.; Cheng, S.; Wu, H.C.; Xiao, H.; Zhang, X. Analysis and Rectification of the Asynchronous Sampling Effect in the Pulse-Position Modulation Systems. IEEE Sens. J. 2020, 20, 4189–4199. [Google Scholar] [CrossRef]
- Guo, Y.; Kong, M.; Alkhazragi, O.; Sun, X.; Sait, M.; Ng, T.K.; Ooi, B.S. Diffused-Line-of-Sight Communication for Mobile and Fixed Underwater Nodes. IEEE Photon. J. 2020, 12, 7906413. [Google Scholar] [CrossRef]
- Scholtz, R. Multiple access with time-hopping impulse modulation. In Proceedings of the MILCOM ‘93-IEEE Military Communications Conference, Boston, MA, USA, 11–14 October 1993; pp. 447–450. [Google Scholar]
- Durisi, G.; Romano, G. On the validity of Gaussian approximation to characterrize the multiuser capacity of UWB TH-PPM. In Proceedings of the 2002 IEEE Conference on Ultra Wideband Systems and Technologies, Baltimore, MD, USA, 21–23 May 2002. [Google Scholar]
- Guo, N.; Qiu, R. Improved autocorrelation demodulation receivers based on mulltiple-symbol detection for UWB communications. IEEE Trans. Wirel. Commun. 2006, 5, 2026–2031. [Google Scholar]
- Win, M.Z.; Scholtz, R.A. Characterization of ultra-weide bandweidth wireless indoor channels: A communication-theoretic view. IEEE J. Select. Areas Commim. 2002, 20, 1613–1627. [Google Scholar] [CrossRef]
- Miao, M.; Wang, L.; Katz, M.; Xu, W. Hybrid Modulation Scheme Combining PPM With Differential Chaos Shift Keying Modulation. IEEE Wirel. Commun. Lett. 2019, 8, 340–343. [Google Scholar] [CrossRef]
- Abou-Rjeily, C. On the Design of Maximal-Rate Shape-Preserving 2 × 2 and 3 × 3 Space-Time Codes for Noncoherent EnergyDetection-Based PPM Communications. IEEE Trans. Wirel. Commun. 2017, 16, 7432–7445. [Google Scholar] [CrossRef]
- Ata, Y.; Gökçe, M.C.; Baykal, Y. M-ary pulse position modulation performance with adaptive optics corrections in atmospheric turbulence. Mod. Opt. 2020, 67, 563–568. [Google Scholar] [CrossRef]
- Khan, M.G.; Sallberg, B.; Nordberg, J.; Claesson, I. Robust Weighted Non-Coherent Receiver for Impulse Radio UWB PPM Signals. IEEE Commun. Lett. 2011, 15, 614–616. [Google Scholar] [CrossRef]
- Liu, X.; Shu, Q.; Zeng, Q. Low-Hit-Zone Frequency/Time Hopping Sequence Sets with Large Family Size. IEEE Access 2019, 7, 181733–181739. [Google Scholar] [CrossRef]
- Shao, H.; Beaulieu, N.C. Direct Sequence and Time-Hopping Sequence Designs for Narrowband Interference Mitigation in Impulse Radio UWB Systems. IEEE Trans. Commu. 2011, 59, 1957–1965. [Google Scholar] [CrossRef]
- Ershadh, M.; Meenakshi, M. A Computationally Lightest and Robust Neural Network Receiver for Ultra Wideband Time Hopping Communication Systems. IEEE Trans. Veh. Technol. 2021, 70, 4657–4668. [Google Scholar] [CrossRef]
- Hu, Y.; Yu, B.; Song, M.; Deng, Z. Pulse Position Detection of the Pseudo Random Time-Hopping Pseudolite for the Participative GNSS Receivers. IEEE Access 2020, 8, 216151–216161. [Google Scholar] [CrossRef]
- Zhou, Q.; Ma, X. Receiver Designs for Differential UWB Systems with Multiple Access Interference. IEEE Trans. Commu. 2014, 62, 126–134. [Google Scholar] [CrossRef]
- Kim, J.; Van Nguyen, B.; Jung, H.; Kim, K. TH-NRDCSK: A Non-Coherent Time Hopping Chaotic System for Anti-Jamming Communications. IEEE Access 2019, 7, 144710–144719. [Google Scholar] [CrossRef]
- Jung, H.; Nguyen, B.V.; Song, I.; Kim, K. Design of Anti-Jamming Waveforms for Time-Hopping Spread Spectrum Systems in Tone Jamming Environments. IEEE Trans. Veh. Technol. 2020, 69, 728–737. [Google Scholar] [CrossRef]
- Bernard, S. Digital Communications—Fundamentals and Applications, 2nd ed.; Publishing House of Electronics Industry: Beijing, China, 2015. [Google Scholar]
- Huyen, N.T.; Cuong, N.L.; Hiep, P.T. Proposal of UWB-PPM with Additional Time Shift for Positioning Technique in Nondestructive Environments. Appl. Sci. 2020, 10, 6011. [Google Scholar] [CrossRef]
- Hu, B.; Beaulieu, N.C. Exact bit error rate analysis of TH-PPM UWB systems in the presence of multiple-access interference. IEEE Commun. Lett. 2003, 7, 572–574. [Google Scholar]
- Nabi, M.; Habibollahi, M.; Saidi, H. Time Hopping: An Efficient Technique for Reliable Coexistence of TSCH-Based IoT Networks. IEEE Internet Things J. 2023, 10, 13837–13848. [Google Scholar] [CrossRef]
- Nair, M.U.; Zheng, Y.J.; Ang, C.W.; Lian, Y.; Yuan, X.J.; Heng, C.H. A low SIR impulse-UWB transceiver utilizing chirp FSK in 0.18 μm CMOS. IEEE J. Solid-St. Circ. 2010, 45, 2388–2403. [Google Scholar]
- Wang, B.; Song, H.; Rhee, W.; Wang, Z. Overview of ultra-wideband transceivers—System architectures and applications. Tsinghua Sci. Technol. 2022, 27, 481–494. [Google Scholar] [CrossRef]
- Wu, J.; Xiang, H.; Tian, Z. Weighted noncoherent receivers for UWB PPM signals. IEEE Commun. Lett. 2006, 10, 655–657. [Google Scholar]
- Milos, A.; Molnar, G.; Vucic, M. Spectrally Efficient UWB Pulse Shaping Based on Polynomially Weighted Gaussian Pulses with Maximally Flat Amplitude Spectra. IEEE Commun. Lett. 2023, 27, 1869–1873. [Google Scholar] [CrossRef]
- Liang, Z.; Li, P.; Zang, J.; Liu, J.; Peng, X. Adaptive weighted energy detection receivers for NC-PPM-UWB communication systems. In Proceedings of the 2015 9th International Conference on Signal Processing and Communication Systems (ICSPCS), Cairns, QLD, Australia, 14–16 December 2015; pp. 1–5. [Google Scholar]
- de Abreu, G.T.F.; Kohno, R. Design of jitter-robust orthogonal pulses for UWB systems. In Proceedings of the IEEE Global Telecommunications Conference, San Francisco, CA, USA, 1–5 December 2003; pp. 739–743. [Google Scholar]
- Chen, J.; Lv, T.; Chen, Y.; Lv, J. A Timing-Jitter Robust UWB Modulation Scheme. IEEE Signal Process. Lett. 2006, 13, 593–596. [Google Scholar] [CrossRef]
- Wang, Y.M.; Zhou, L.L. Performance evaluation in the presence of timing jitter using a novel pulse design based on Hermite functions for UWB communications. In Proceedings of the Asia-Pacific Microwave Conference, Hong Kong, China, 16–20 December 2008; pp. 1–4. [Google Scholar]
- Landolsi, M.; Algharabally, M. Analysis and Optimization of Waveform-Dependent UWB Timing Synchronization by Delay-Locked Loops. In Proceedings of the International Conference on Control, Decision and Information Technologies, Paris, France, 23–26 April 2019; pp. 320–325. [Google Scholar]
- Alhakim, R.; Raoof, K.; Simeu, E. Design of tracking loops with dirty templates for UWB communication systems. Signal Image Video Process. 2014, 8, 461–477. [Google Scholar] [CrossRef]
- Batur, O.; Pekçokgüler, N.; Dundar, G.; Koca, M. A high resolution and low jitter linear delay line for IR-UWB template pulse synchronization. In Proceedings of the 2015 European Conference on Circuit Theory and Design (ECCTD), Trondheim, Norway, 24–26 August 2015. [Google Scholar]












| µ | 0 | 0.1 | 0.4 |
|---|---|---|---|
| BER deterioration/dB (new TH-PPM) | 0 | 0.1 | 0.2 |
| BER deterioration/dB (conventional TH-PPM) | 0 | 1 | 6 |
| 0 | 0.1 | 0.4 | |
|---|---|---|---|
| BER deterioration/dB (new TH-PPM) | 0 | 0.5 | 1.5 |
| BER deterioration/dB (conventional TH-PPM) | 0 | 1 | 5 |
Disclaimer/Publisher’s Note: The statements, opinions and data contained in all publications are solely those of the individual author(s) and contributor(s) and not of MDPI and/or the editor(s). MDPI and/or the editor(s) disclaim responsibility for any injury to people or property resulting from any ideas, methods, instructions or products referred to in the content. |
© 2023 by the authors. Licensee MDPI, Basel, Switzerland. This article is an open access article distributed under the terms and conditions of the Creative Commons Attribution (CC BY) license (https://creativecommons.org/licenses/by/4.0/).
Share and Cite
Wang, P.; Tian, J.; Li, D.; Fei, P.; Shi, X. A Novel Non-Coherent Q-Ary TH-PPM Transceiver. Sensors 2024, 24, 105. https://doi.org/10.3390/s24010105
Wang P, Tian J, Li D, Fei P, Shi X. A Novel Non-Coherent Q-Ary TH-PPM Transceiver. Sensors. 2024; 24(1):105. https://doi.org/10.3390/s24010105
Chicago/Turabian StyleWang, Peng, Jie Tian, Duoye Li, Peng Fei, and Xianhua Shi. 2024. "A Novel Non-Coherent Q-Ary TH-PPM Transceiver" Sensors 24, no. 1: 105. https://doi.org/10.3390/s24010105
APA StyleWang, P., Tian, J., Li, D., Fei, P., & Shi, X. (2024). A Novel Non-Coherent Q-Ary TH-PPM Transceiver. Sensors, 24(1), 105. https://doi.org/10.3390/s24010105

