mmWave Zero Order Resonant Antenna with Patch-Like Radiation Fed by a Butler Matrix for Passive Beamforming
Abstract
:1. Introduction
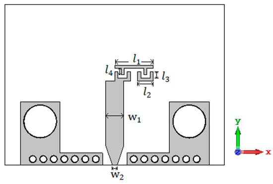
2. Design of the CRLH Resonant Antenna
3. CRLH Antenna with Butler Matrix
4. Conclusions
Author Contributions
Funding
Institutional Review Board Statement
Informed Consent Statement
Data Availability Statement
Acknowledgments
Conflicts of Interest
References
- Ladan, S.; Guntupalli, A.B.; Wu, K. A High-Efficiency 24 GHz Rectenna Development Towards Millimeter-Wave Energy Harvesting and Wireless Power Transmission. IEEE Trans. Circuits Syst. I Regul. Pap. 2014, 61, 3358–3366. [Google Scholar] [CrossRef]
- Hu, H.; Karim, M.F.; Ong, L.C.; Leyman, A.R.; Luo, B.; Chiam, T.M.; Guo, Y.X.; Zhu, X.H. All Authors Millimeter wave imaging using SAR modeling. In Proceedings of the 2013 IEEE MTT-S International Microwave Workshop Series on RF and Wireless Technologies for Biomedical and Healthcare Applications (IMWS-BIO), Singapore, 9–11 December 2013; pp. 1–3. [Google Scholar] [CrossRef]
- Chandrasekaran, K.T.; Nasimuddin; Leong, S.W.; Chan, K.S.; Luo, B.; Karim, M.F.; Alphones, A.; Agarwal, K.; Ong, M.L.C. Millimeter-wave System-in-Package (SiP) for Non-Destructive Testing of Metallic Structures under Multilayered Composites using Backward-to-Forward Beamscanning Leaky Wave Antenna. In Proceedings of the 2019 16th European Radar Conference (EuRAD), Paris, France, 1–3 October 2019; pp. 389–392. [Google Scholar]
- Fallahpour, M.; Zoughi, R. Antenna Miniaturization Techniques: A Review of Topology- and Material-Based Methods. IEEE Antennas Propag. Mag. 2018, 60, 38–50. [Google Scholar] [CrossRef]
- Caloz, C.; Itoh, T. Electramagnetic Metamaterial: Transmission Line Theory and Microwave Applications; Wiley: Hoboken, NJ, USA, 2005. [Google Scholar]
- Lai, A.; Leong, K.M.K.H.; Itoh, T. Infinite Wavelength Resonant Antennas with Monopolar Radiation Pattern Based on Periodic Structures. IEEE Trans. Antennas Propag. 2007, 55, 868–876. [Google Scholar] [CrossRef]
- Sanada, A.; Kimura, M.; Awai, I.; Caloz, C.; Itoh, T. A planar zeroth-order resonator antenna using a left-handed transmission line. In Proceedings of the 34th European Microwave Conference 2004, Amsterdam, The Netherlands, 12–14 October 2004; pp. 1341–1344. [Google Scholar]
- Otto, S.; Rennings, A.; Caloz, C.; Waldow, P.; Itoh, T. Composite right/left-handed /spl lambda/-resonator ring antenna for dual-frequency operation. In Proceedings of the 2005 IEEE Antennas and Propagation Society International Symposium, Washington, DC, USA, 3–8 July 2005; Volume 1A, pp. 684–687. [Google Scholar] [CrossRef]
- Zhang, C.; Gong, J.; Li, Y.; Wang, Y. Zeroth-Order-Mode Circular Microstrip Antenna With Patch-Like Radiation Pattern. IEEE Antennas Wirel. Propag. Lett. 2018, 17, 446–449. [Google Scholar] [CrossRef]
- Ko, S.-T.; Lee, J.-H. Hybrid Zeroth-Order Resonance Patch Antenna with Broad E-Plane Beamwidth. IEEE Trans. Antennas Propag. 2013, 61, 19–25. [Google Scholar] [CrossRef]
- Yan, S.; Vandenbosch, G.A.E. Radiation Pattern-Reconfigurable Wearable Antenna Based on Metamaterial Structure. IEEE Antennas Wirel. Propag. Lett. 2016, 15, 1715–1718. [Google Scholar] [CrossRef]
- Yan, S.; Vandenbosch, G.A.E. Zeroth-order resonant circular patch antenna based on periodic structures. IET Microw. Antennas Propag. 2014, 8, 1432–1439. [Google Scholar] [CrossRef]
- Chi, P.; Shih, Y. Compact and Bandwidth-Enhanced Zeroth-Order Resonant Antenna. IEEE Antennas Wirel. Propag. Lett. 2015, 14, 285–288. [Google Scholar] [CrossRef]
- El Atrash, M.; Abdalla, M.A.; Elhennawy, H.M. A Compact Highly Efficient Π-Section CRLH Antenna Loaded With Textile AMC for Wireless Body Area Network Applications. IEEE Trans. Antennas Propag. 2021, 69, 648–657. [Google Scholar] [CrossRef]
- Liu, C.; Menzel, W. Broadband Via-Free Microstrip Balun Using Metamaterial Transmission Lines. IEEE Microw. Wirel. Compon. Lett. 2008, 18, 437–439. [Google Scholar] [CrossRef]
- Song, Y.; Liu, H.; Zhao, W.; Wen, P.; Wang, Z. Compact Balanced Dual-Band Bandpass Filter With High Common-Mode Suppression Using Planar Via-Free CRLH Resonator. IEEE Microw. Wirel. Compon. Lett. 2018, 28, 996–998. [Google Scholar] [CrossRef]
- Butler, J.; Lowe, R. Beam-forming matrix simplifies design of electronically scanned antennas. Electron. Design 1961, 9, 170–173. [Google Scholar]
- Cassivi, Y.; Perregrini, L.; Arcioni, P.; Bressan, M.; Wu, K.; Conciauro, G. Dispersion characteristics of substrate integrated rectangular waveguide. IEEE Microw. Wirel. Compon. Lett. 2002, 12, 333–335. [Google Scholar] [CrossRef]
- Xu, F.; Wu, K. Guided-wave and leakage characteristics of substrate integrated waveguide. IEEE Trans. Microw. Theory Tech. 2005, 53, 66–73. [Google Scholar] [CrossRef]
- Deslandes, D.; Wu, K. Accurate modeling, wave mechanisms, and design considerations of a substrate integrated waveguide. IEEE Trans. Microw. Theory Tech. 2006, 54, 2516–2526. [Google Scholar] [CrossRef]
- Bozzi, M.; Georgiadis, A.; Wu, K. Review of substrate-integrated waveguide circuits and antennas. IET Microw. Antennas Propag. 2011, 5, 909–920. [Google Scholar] [CrossRef]
- Deslandes, D.; Wu, K. Design Consideration and Performance Analysis of Substrate Integrated Waveguide Components. In Proceedings of the 2002 32nd European Microwave Conference, Milan, Italy, 23–26 September 2002; pp. 1–4. [Google Scholar] [CrossRef]
- Deslandes, D.; Wu, K. Integrated microstrip and rectangular waveguide in planar form. IEEE Microw. Wirel. Compon. Lett. 2001, 11, 68–70. [Google Scholar] [CrossRef]
- Deslandes, D. Design equations for tapered microstrip-to-Substrate Integrated Waveguide transitions. In Proceedings of the 2010 IEEE MTT-S International Microwave Symposium, Anaheim, CA, USA, 23–28 May 2010; pp. 704–707. [Google Scholar] [CrossRef]
- Taringou, F.; Dousset, D.; Bornemann, J.; Wu, K. Substrate-integrated waveguide transitions to planar transmission-line technologies. In Proceedings of the 2012 IEEE/MTT-S International Microwave Symposium Digest, Montreal, QC, Canada, 17–22 June 2012; pp. 1–3. [Google Scholar] [CrossRef]
- Rotman, W.; Turner, R. Wide-angle microwave lens for line source applications. IEEE Trans. Antennas Propag. 1963, 11, 623–632. [Google Scholar] [CrossRef]
- Mosca, S.; Bilotti, F.; Toscano, A.; Vegni, L. A novel design method for Blass matrix beam-forming networks. IEEE Trans. Antennas Propag. 2002, 50, 225–232. [Google Scholar] [CrossRef]
- Djerafi, T.; Fonseca, N.J.G.; Wu, K. Planar Ku -Band 4 × 4 Nolen Matrix in SIW Technology. IEEE Trans. Microw. Theory Tech. 2010, 58, 259–266. [Google Scholar] [CrossRef]
- Djerafi, T.; Wu, K. A Low-Cost Wideband 77-GHz Planar Butler Matrix in SIW Technology. IEEE Trans. Antennas Propag. 2012, 60, 4949–4954. [Google Scholar] [CrossRef]
- Karamzadeh, S.; Rafii, V.; Kartal, M.; Virdee, B.S. Compact and Broadband 4 × 4 SIW Butler Matrix With Phase and Magnitude Error Reduction. IEEE Microw. Wirel. Compon. Lett. 2015, 25, 772–774. [Google Scholar] [CrossRef]
- Cao, Y.; Chin, K.-S.; Che, W.; Yang, W.; Li, E.S. A Compact 38 GHz Multibeam Antenna Array With Multifolded Butler Matrix for 5G Applications. IEEE Antennas Wirel. Propag. Lett. 2017, 16, 2996–2999. [Google Scholar] [CrossRef]
- Lian, J.-W.; Ban, Y.-L.; Xiao, C.; Yu, Z.-F. Compact Substrate-Integrated 4 × 8 Butler Matrix With Sidelobe Suppression for Millimeter-Wave Multibeam Application. IEEE Antennas Wirel. Propag. Lett. 2018, 17, 928–932. [Google Scholar] [CrossRef]
- Zhong, L.-H.; Ban, Y.-L.; Lian, J.-W.; Yang, Q.-L.; Guo, J.; Yu, Z.-F. Miniaturized SIW Multibeam Antenna Array Fed by Dual-Layer 8 × 8 Butler Matrix. IEEE Antennas Wirel. Propag. Lett. 2017, 16, 3018–3021. [Google Scholar] [CrossRef]
- Wu, M.; Zhang, B.; Zhou, Y.; Huang, K. A Double-Fold 7 × 8 Butler Matrix-Fed Multibeam Antenna With a Boresight Beam for 5G Applications. IEEE Antennas Wirel. Propag. Lett. 2022, 21, 516–520. [Google Scholar] [CrossRef]
- Yang, Q.-L.; Ban, Y.-L.; Lian, J.-W.; Yu, Z.-F.; Wu, B. SIW Butler Matrix with Modified Hybrid Coupler for Slot Antenna Array. IEEE Access 2016, 4, 9561–9569. [Google Scholar] [CrossRef]
- Chen, C.-J.; Chu, T.-H. Design of a 60-GHz Substrate Integrated Waveguide Butler Matrix—A Systematic Approach. IEEE Trans. Microw. Theory Tech. 2010, 58, 1724–1733. [Google Scholar] [CrossRef]
- Mohan, M.P.; Karim, M.F.; Hong, C.; Alphones, A.; Liu, A.Q. A 30 GHz SIW based 4 × 4 Butler Matrix. In Proceedings of the 2020 IEEE International Symposium on Antennas and Propagation and North American Radio Science Meeting, Montreal, QC, Canada, 5–10 July 2020; pp. 429–430. [Google Scholar] [CrossRef]
- El-Nady, S.; Elsharkawy, R.R.; Afifi, A.I.; Abd El-Hameed, A.S. Performance Improvement of Substrate Integrated Cavity Fed Dipole Array Antenna Using ENZ Metamaterial for 5G Applications. Sensors 2022, 22, 125. [Google Scholar] [CrossRef]
- Pozar, D.M. Microwave Engineering, 4th ed.; Wiley: Hoboken, NJ, USA, 2012. [Google Scholar]
- Yamamoto, S.; Hirokawa, J.; Ando, M. A half-sized post-wall short-slot directional coupler with hollow rectangular holes in a dielectric substrate. IEICE Trans. Electron. 2005, 88, 1387–1394. [Google Scholar] [CrossRef]



















| Frequency of Operation | Antenna Footprint | Radiation Pattern | Gain | Bandwidth % | |
|---|---|---|---|---|---|
| This work | 30 GHz | 2.46 mm × 0.8 mm | Patch like | 5.35 dBi | 4.2% |
| [6] | 3.38 GHz (CRLH) 3.37 GHz (inductor loaded) | Monopole like | 0.87 dBi (CRLH) 0.7 dBi (inductor loaded) | Not mentioned | |
| [7] | 4.88 GHz | 75% reduction to patch | Patch like | Not mentioned | Not mentioned |
| [8] | 1.93 GHz and 4.16 GHz | Not mentioned | Patch like | −3.21 dBi (lower band), 7.45 dBi (higher band) | Not mentioned |
| [9] | 5.83 GHz | Not mentioned | Patch like | 5.06 dBi | Not mentioned |
| [10] | 5.76 GHz | Broadside | 4.7 dBi | 3.3% | |
| [11] | 2.445 GHz | Monopole like | 3.9 dBi | 4.87% |
Disclaimer/Publisher’s Note: The statements, opinions and data contained in all publications are solely those of the individual author(s) and contributor(s) and not of MDPI and/or the editor(s). MDPI and/or the editor(s) disclaim responsibility for any injury to people or property resulting from any ideas, methods, instructions or products referred to in the content. |
© 2023 by the authors. Licensee MDPI, Basel, Switzerland. This article is an open access article distributed under the terms and conditions of the Creative Commons Attribution (CC BY) license (https://creativecommons.org/licenses/by/4.0/).
Share and Cite
Mohan, M.P.; Cai, H.; Alphones, A.; Karim, M.F. mmWave Zero Order Resonant Antenna with Patch-Like Radiation Fed by a Butler Matrix for Passive Beamforming. Sensors 2023, 23, 7973. https://doi.org/10.3390/s23187973
Mohan MP, Cai H, Alphones A, Karim MF. mmWave Zero Order Resonant Antenna with Patch-Like Radiation Fed by a Butler Matrix for Passive Beamforming. Sensors. 2023; 23(18):7973. https://doi.org/10.3390/s23187973
Chicago/Turabian StyleMohan, Manoj Prabhakar, Hong Cai, Arokiaswami Alphones, and Muhammad Faeyz Karim. 2023. "mmWave Zero Order Resonant Antenna with Patch-Like Radiation Fed by a Butler Matrix for Passive Beamforming" Sensors 23, no. 18: 7973. https://doi.org/10.3390/s23187973
APA StyleMohan, M. P., Cai, H., Alphones, A., & Karim, M. F. (2023). mmWave Zero Order Resonant Antenna with Patch-Like Radiation Fed by a Butler Matrix for Passive Beamforming. Sensors, 23(18), 7973. https://doi.org/10.3390/s23187973

