A Passive Decomposition Based Robust Synchronous Motion Control of Multi-Motors and Experimental Verification
Abstract
:1. Introduction
2. Problem Formulation
3. Passive Decomposition
4. Synchronous Control System
4.1. Controller Design of Locked System
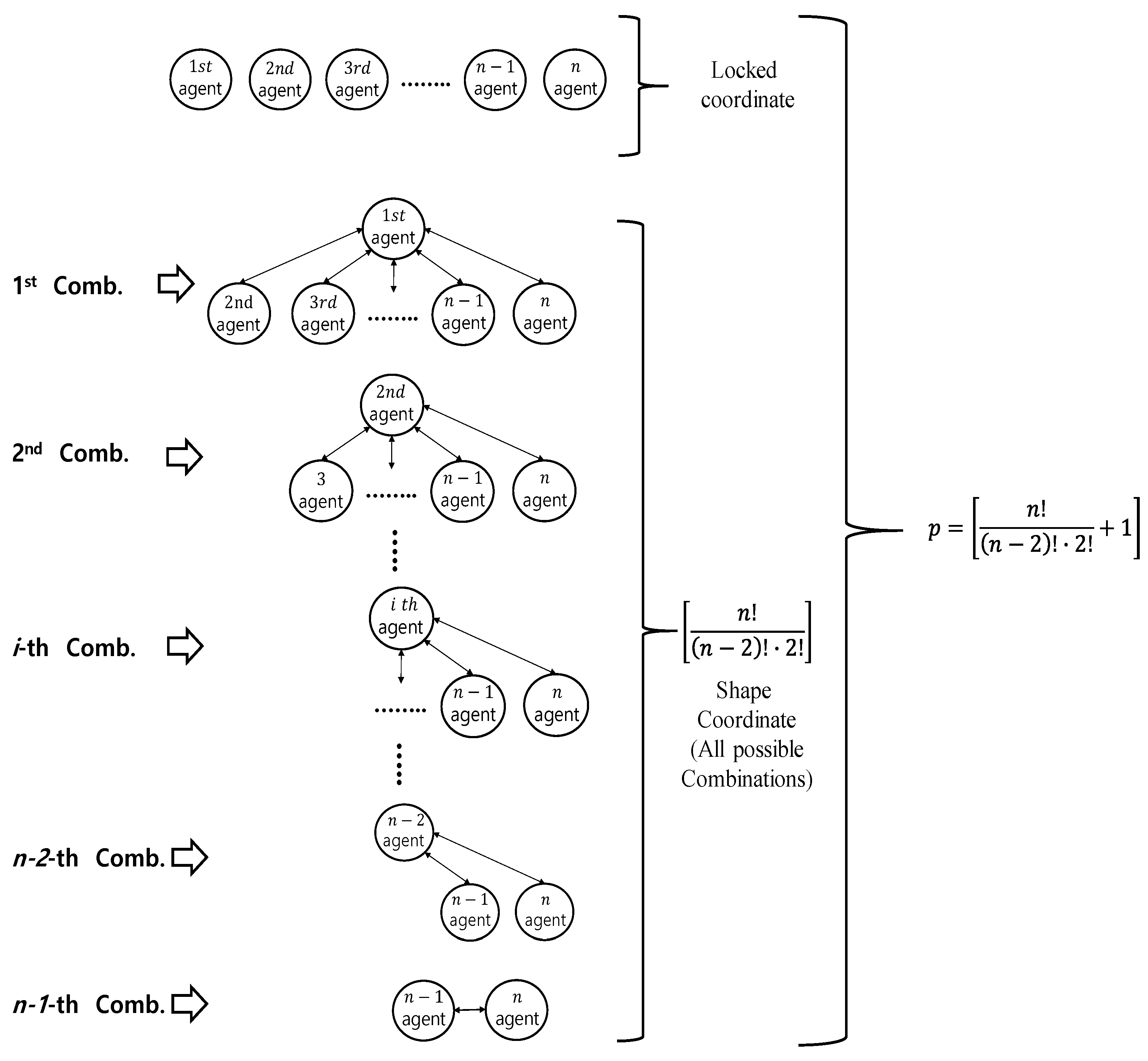
4.2. Controller Design of Shape System
5. Other Synchronous Control Approaches
5.1. Master–Slave Control Approach
5.2. Independent Control Approach
6. Experimental Study and Results
6.1. Experimental Results of Two Agents
6.2. Experimental Results of Three Agents
6.3. Experimental Results of Four Agents
7. Conclusions
Author Contributions
Funding
Conflicts of Interest
Appendix A
References
- Zong, C.; Xiang, H.; He, L.; Sha, F. Study on control method of dual-motor for steer-by-wire system. In Proceedings of the 2012 2nd International Conference on Consumer Electronics, Communications and Networks (CECNet), Yichang, China, 21–23 April 2012; pp. 2890–2893. [Google Scholar]
- Zheng, B.; Altemare, C.; Anwar, S. Fault tolerant steer-by-wire road wheel control system. In Proceedings of the American Control Conference, Portland, OR, USA, 8–10 June 2005; pp. 1619–1624. [Google Scholar]
- Yao, Y.X.; Daugherty, B. Control method of dual motor-based steer-by-Wire system. In Proceedings of the 2007 World Congress, Detroit, MI, USA, 16–19 April 2007. [Google Scholar]
- Hwang, H.; Choi, H.; Nam, K. Practical Synchronous Steering Angle Control of a Dual-Motor Driving Steer-by-Wire System. IEEE Access 2019, 7, 133100–133110. [Google Scholar] [CrossRef]
- Zhao, M.; Wang, Q.; Wang, Y.; Dong, Q. Multi-Motor Cooperative Control Strategy for Speed Synchronous Control of Construction Platform. Electronics 2022, 11, 4162. [Google Scholar] [CrossRef]
- Ristić, L.; Bebić, M.; Jetvić, D.; Jeftenić, B.; Štatkić, S.; Nikolić, A. Controlled multi motor drives of high power belt conveyors: Practical experiences during the exploitation of the system on open pit mine. In Proceedings of the 13th WSEAS International Conference on Electric Power Systems, High Voltages, Electric Machines (POWER 13), Chania, Greece, 27–29 August 2013; pp. 65–70. [Google Scholar]
- Perdukova, D.; Fedor, P.; Bacik, J.; Hercko, J.; Rofar, J. Multi-motor drive optimal control using a fuzzy model based approach. J. Ambient. Intell. Smart Environ. 2017, 9, 329–344. [Google Scholar] [CrossRef]
- Hao, H.; Tu, Q.; Jiang, C.; Ma, L.; Li, P.; Zhang, H. Dual motor drive vehicle speed synchronization and coordination control strategy. AIP Conf. Proc. 2018, 1955, 040005. [Google Scholar]
- Almeida, S.; Araujo, R.E. Fault-tolerant control using sliding mode techniques applied to multi-motor electric vehicle. In Proceedings of the IECON 2013-39th Annual Conference of the IEEE Industrial Electronics Society, Vienna, Austria, 10–13 November 2013; pp. 3530–3535. [Google Scholar]
- Wu, Y.; Cheng, Y.; Wang, Y. Research on a Multi-Motor Coordinated Control Strategy Based on Fuzzy Ring Network Control. IEEE Access 2020, 8, 39375–39388. [Google Scholar] [CrossRef]
- Mitrovic, N.; Kostić, V.; Petronijevic, M.; Jeftenic, B. Multi-Motor Drives for Crane Application. Adv. Electr. Comput. Eng. 2009, 9, 57–62. [Google Scholar] [CrossRef]
- Ryu, J.-H.; Kwon, D.-S.; Hannaford, B. Stable teleoperation with time-domain passivity control. IEEE Trans. Robot. Autom. 2004, 20, 365–373. [Google Scholar] [CrossRef]
- Lee, D.J.; Li, P.Y. Passive Bilateral Feedforward Control of Linear Dynamically Similar Teleoperated Manipulators. IEEE Trans. Robot. Autom. 2003, 19, 443–456. [Google Scholar]
- Lee, D.J.; Li, P.Y. Passive Bilateral Control and Tool Dynamics Rendering for Nonlinear Mechanical Teleoperators. IEEE Trans. Robot. 2005, 21, 936–951. [Google Scholar]
- Zhang, C.; Niu, M.; He, J.; Zhao, K.; Wu, H.; Zhang, M. Robust Synchronous Control of Multi-Motor Integrated with Artificial Potential Field and Sliding Mode Variable Structure. IEEE Access 2017, 5, 197–207. [Google Scholar] [CrossRef]
- Huang, Z.; Li, Y.; Song, G.; Zhang, X.; Zhang, Z. Speed and Phase Adjacent Cross-Coupling Synchronous Control of Multi-Exciters in Vibration System Considering Material Influence. IEEE Access 2019, 7, 63204–63216. [Google Scholar] [CrossRef]
- Tinh, T.X.; Thanh, P.T.; Van Tuyen, T.; Van Tien, N.; Dao, P.N. A fuzzy adaptive sliding mode controller for uncertain nonlinear multi motor systems. MATEC Web Conf. 2018, 161, 02013. [Google Scholar] [CrossRef]
- Abjadi, N.; Askari, J.; Soltani, J.; Markadeh, G.A. Nonlinear sliding-mode control of a multi-motor web-winding system without tension sensor. IET Control Theory Appl. 2009, 3, 419–427. [Google Scholar] [CrossRef]
- Zhang, C.; Xiao, M.; He, J. Multimotor Improved Relative Coupling Cooperative Control Based on Sliding-Mode Controller. Math. Probl. Eng. 2020, 2020, 5638462. [Google Scholar] [CrossRef]
- Perdukova, D.; Fedor, P.; Fedák, V.; Padmanaban, S. Lyapunov Based Reference Model of Tension Control in a Continuous Strip Processing Line with Multi-Motor Drive. Electronics 2019, 8, 60. [Google Scholar] [CrossRef]
- Wang, M.; Dong, X.; Ren, X. Adaptive Output Feedback Control for a Multi-Motor Driving System with Completely Tracking Errors Constraint. In Proceedings of the 2020 IEEE 9th Data Driven Control and Learning Systems Conference (DDCLS), Liuzhou, China, 19–21 June 2020; pp. 1182–1187. [Google Scholar]
- Masroor, S.; Peng, C.; Alkhammash, E.H. Leader-Follower Multimotor Speed Coordination via Adaptive Fuzzy Multiagent Consensus Scheme. Math. Probl. Eng. 2021, 2021, 2932788. [Google Scholar] [CrossRef]
- Wang, M.; Ren, X.; Chen, Q. Robust tracking and distributed synchronization control of a multi-motor servomechanism with H-infinity performance. ISA Trans. 2017, 72, 147–160. [Google Scholar] [CrossRef]
- Hu, S.; Ren, X.; Wang, M.; Zheng, D. Observer-based optimal adaptive control for multimotor driving servo systems. Int. J. Robust Nonlinear Control 2021, 31, 9745–9766. [Google Scholar] [CrossRef]
- Jung, D.; Jeon, J. Synchronous Control of 2-D.O.F Master-Slave Manipulators Using Actuators with Asymmetric Nonlinear Dead-Zone Characteristics. IEEE Access 2022, 10, 22782–22794. [Google Scholar] [CrossRef]
- Belkhier, Y.; Shaw, R.N.; Bures, M.; Islam, M.R.; Bajaj, M.; Albalawi, F.; Alqurashi, A.; Ghoneim, S.S.M. Robust interconnection and damping assignment energy-based control for a permanent magnet synchronous motor using high order sliding mode approach and nonlinear observer. Energy Rep. 2022, 8, 1731–1740. [Google Scholar] [CrossRef]
- Djouadi, H.; Ouari, K.; Belkhier, Y.; Lehouche, H.; Ibaouene, C.; Bajaj, M.; AboRas, K.M.; Khan, B.; Kamel, S. Non-linear multivariable permanent magnet synchronous machine control: A robust non-linear generalized predictive controller approach. IET Control Theory Appl. 2023, 17, 1688–1702. [Google Scholar] [CrossRef]
- Bai, H.; Yu, B.; Gu, W. Research on Position Sensorless Control of RDT Motor Based on Improved SMO with Continuous Hyperbolic Tangent Function and Improved Feedforward PLL. J. Mar. Sci. Eng. 2023, 11, 642. [Google Scholar] [CrossRef]
- Al Sakka, M.; Geury, T.; El Baghdadi, M.; Dhaens, M.; Al Sakka, M.; Hegazy, O. Review of Fault Tolerant Multi-Motor Drive Topologies for Automotive Applications. Energies 2022, 15, 5529. [Google Scholar] [CrossRef]















| Number of Motors | Error | Value | Passive Decomposition | Master–Slave | Independent |
|---|---|---|---|---|---|
| 2 | Max | 0.784 | 1.02 | 1.01 | |
| Average | 0.108 | 0.125 | 0.140 | ||
| Max | 0.579 | 1.64 | 1.03 | ||
| Average | 0.100 | 0.238 | 0.140 | ||
| Max | 0.530 | 0.683 | 0.728 | ||
| Average | 0.0715 | 0.164 | 0.114 |
| Number of Motors | Error | Value | Passive Decomposition | Master–Slave | Independent |
|---|---|---|---|---|---|
| 2 | Max | 1.23 | 1.96 | 1.62 | |
| Average | 0.098 | 0.188 | 0.0933 | ||
| Max | 1.15 | 3.83 | 1.58 | ||
| Average | 0.1 | 0.393 | 0.0996 | ||
| Max | 1.35 | 2.17 | 0.478 | ||
| Average | 0.131 | 0.260 | 0.0255 |
| Number of Motors | Error | Value | Passive Decomposition | Master–Slave | Independent |
|---|---|---|---|---|---|
| 3 | Max | 0.919 | 1.14 | 0.823 | |
| Average | 0.133 | 0.131 | 0.148 | ||
| Max | 0.968 | 2.64 | 1.09 | ||
| Average | 0.130 | 0.287 | 0.163 | ||
| Max | 0.698 | 2.56 | 1.14 | ||
| Average | 0.147 | 0.265 | 0.167 | ||
| Max | 0.935 | 1.73 | 1.20 | ||
| Average | 0.191 | 0.201 | 0.217 | ||
| Max | 0.684 | 1.60 | 0.984 | ||
| Average | 0.123 | 0.211 | 0.194 | ||
| Max | 0.740 | 0.846 | 0.957 | ||
| Average | 0.199 | 0.151 | 0.175 |
| Number of Motors | Error | Value | Passive Decomposition | Master–Slave | Independent |
|---|---|---|---|---|---|
| 3 | Max | 1.32 | 1.76 | 1.53 | |
| Average | 0.098 | 0.156 | 0.0945 | ||
| Max | 1.65 | 3.54 | 1.52 | ||
| Average | 0.143 | 0.328 | 0.0950 | ||
| Max | 1.48 | 3.59 | 1.56 | ||
| Average | 0.113 | 0.288 | 0.115 | ||
| Max | 0.98 | 1.92 | 0.93 | ||
| Average | 0.0903 | 0.198 | 0.0371 | ||
| Max | 0.596 | 1.93 | 0.874 | ||
| Average | 0.0549 | 0.177 | 0.0679 | ||
| Max | 1.32 | 1.63 | 0.899 | ||
| Average | 0.083 | 0.120 | 0.0769 |
| Number of Motors | Error | Value | Passive Decomposition | Master–Slave | Independent |
|---|---|---|---|---|---|
| 4 | Max | 0.956 | 1.071 | 1.07 | |
| Average | 0.129 | 0.158 | 0.160 | ||
| Max | 0.985 | 2.59 | 1.10 | ||
| Average | 0.124 | 0.340 | 0.129 | ||
| Max | 0.818 | 2.53 | 1.02 | ||
| Average | 0.137 | 0.340 | 0.172 | ||
| Max | 0.983 | 2.64 | 1.24 | ||
| Average | 0.173 | 0.348 | 0.200 | ||
| Max | 0.876 | 1.83 | 0.895 | ||
| Average | 0.159 | 0.218 | 0.181 | ||
| Max | 0.758 | 1.80 | 0.843 | ||
| Average | 0.138 | 0.282 | 0.151 | ||
| Max | 0.582 | 1.88 | 0.766 | ||
| Average | 0.122 | 0.232 | 0.134 | ||
| Max | 0.839 | 1.45 | 0.863 | ||
| Average | 0.160 | 0.214 | 0.193 | ||
| Max | 0.857 | 1.11 | 0.953 | ||
| Average | 0.191 | 0.145 | 0.214 | ||
| Max | 0.740 | 1.50 | 0.830 | ||
| Average | 0.175 | 0.268 | 0.166 |
| Number of Motors | Error | Value | Passive Decomposition | Master–Slave | Independent |
|---|---|---|---|---|---|
| 4 | Max | 1.64 | 1.57 | 1.70 | |
| Average | 0.128 | 0.107 | 0.113 | ||
| Max | 1.51 | 3.48 | 1.79 | ||
| Average | 0.138 | 0.281 | 0.137 | ||
| Max | 1.52 | 3.61 | 1.92 | ||
| Average | 0.142 | 0.310 | 0.144 | ||
| Max | 1.96 | 3.68 | 2.11 | ||
| Average | 0.13 | 0.298 | 0.128 | ||
| Max | 1.21 | 2.29 | 1.62 | ||
| Average | 0.1 | 1.88 | 0.0979 | ||
| Max | 0.81 | 2.38 | 0.401 | ||
| Average | 0.0873 | 0.212 | 0.0820 | ||
| Max | 0.711 | 2.35 | 1.77 | ||
| Average | 0.081 | 0.211 | 0.0834 | ||
| Max | 0.411 | 1.99 | 1.62 | ||
| Average | 0.0634 | 0.141 | 0.0797 | ||
| Max | 1.44 | 1.85 | 1.98 | ||
| Average | 0.104 | 0.131 | 0.115 | ||
| Max | 1.08 | 1.79 | 1.97 | ||
| Average | 0.0793 | 0.122 | 0.126 |
Disclaimer/Publisher’s Note: The statements, opinions and data contained in all publications are solely those of the individual author(s) and contributor(s) and not of MDPI and/or the editor(s). MDPI and/or the editor(s) disclaim responsibility for any injury to people or property resulting from any ideas, methods, instructions or products referred to in the content. |
© 2023 by the authors. Licensee MDPI, Basel, Switzerland. This article is an open access article distributed under the terms and conditions of the Creative Commons Attribution (CC BY) license (https://creativecommons.org/licenses/by/4.0/).
Share and Cite
Jung, D.; Kim, S. A Passive Decomposition Based Robust Synchronous Motion Control of Multi-Motors and Experimental Verification. Sensors 2023, 23, 7603. https://doi.org/10.3390/s23177603
Jung D, Kim S. A Passive Decomposition Based Robust Synchronous Motion Control of Multi-Motors and Experimental Verification. Sensors. 2023; 23(17):7603. https://doi.org/10.3390/s23177603
Chicago/Turabian StyleJung, DaeYi, and Seulgi Kim. 2023. "A Passive Decomposition Based Robust Synchronous Motion Control of Multi-Motors and Experimental Verification" Sensors 23, no. 17: 7603. https://doi.org/10.3390/s23177603
APA StyleJung, D., & Kim, S. (2023). A Passive Decomposition Based Robust Synchronous Motion Control of Multi-Motors and Experimental Verification. Sensors, 23(17), 7603. https://doi.org/10.3390/s23177603
