Integrated UWB/MIMU Sensor System for Position Estimation towards an Accurate Analysis of Human Movement: A Technical Review
Abstract
1. Introduction
- To provide an overview of the current state-of-the-art research on estimation methods of (relative) 3D/2D positions of the human body, human body segments, or joints applying data fusion methods integrating UWB and MIMU sensor technology.
- To summarize the configurations, protocols, and algorithms used in these estimation methods.
- To summarize the achieved accuracy and stability reported for these methods.
- To discuss the strengths and limitations of these methods and their consequences in the context of future application of 3D analysis of human movement.
2. Methods
2.1. Search Procedure
- Group 1: UWB, ultra-wideband;
- Group 2: IMU, inertial measurement unit, IMMU, inertial magnetic measurement unit, MIMU, magnetic inertial measurement unit, inertial sensors, INS, inertial navigation system, inertial motion capture, accelerometer, gyroscope;
- Group 3: indoor positioning, position, indoor localization, localization, tracking, navigation, indoor navigation, trajectory tracking, distance, motion analysis, movement analysis, dynamic activity, ambulatory, posture, pose, orientation;
- Group 4: sensor fusion, data fusion, filtering algorithm, fusion, filter, Kalman filter, graph optimization, particle filter.
2.2. Study Selection
- The journal article was published within the last decade, that is between the years 2012 to 2023.
- The research used the integrated UWB and MIMU sensors alone for estimating positions.
- The research included experimental validation of the position estimation methods, which were validated against a standard reference system (vision-based systems such as VICON or other means where the ground truth is known).
- The sensor system was applied for human movement tracking, analysis of human movement, or human localization.
- The data fusion was based on UWB ranging or position estimates that used multiple sensor nodes instead of localization based on a single UWB sensor that uses the reflected signals similar to radar.
- They were not written in English.
- Additional sensors were used in data fusion along with the UWB/MIMU combination.
- They were conference proceedings, abstracts, review articles, or letters to editorial.
- They were applied or used for non-human situations such as drones, robots, etc.
2.3. Data Analysis
3. Results
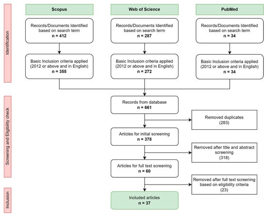
3.1. Search Results
3.2. Literature Overview of Integrated UWB/MIMU Sensor System
3.2.1. UWB Sensor System Configuration and Measurement
3.2.2. MIMU Sensor System Configuration and Measurement
3.2.3. Placement Location of the Sensors on the Body
3.2.4. Position Estimation Methods Combining UWB/MIMU Data
3.2.5. Non-Line of Sight (NLOS) Mitigation Strategies
3.3. Accuracy and Stability of Position Estimates
4. Discussion
4.1. General
4.2. Position Estimation Accuracy and Stability
4.3. Effect on Position Estimation Accuracy Based on Sensor Configuration and Sensor Placement
4.4. Effect on Position Estimation Accuracy Based on the Data Fusion Algorithm/Methods
4.5. General Recommendations
5. Conclusions
Author Contributions
Funding
Institutional Review Board Statement
Informed Consent Statement
Data Availability Statement
Conflicts of Interest
Abbreviations
| EFIR | Extended Finite Impulse Response |
| EKF | Extended Kalman Filter |
| FIR | Finite Impulse Response |
| IH | Integrated Hardware |
| KF | Kalman Filter |
| LOS | Line of Sight |
| MAE | Mean Absolute Error |
| MAP | Maximum a Posteriori |
| MIMU | Magnetic Inertial Measurement Unit |
| MSE | Mean Square Error |
| NIH | Non-integrated Hardware |
| NLOS | Non-Line-of-Sight |
| PDR | Pedestrian Dead Reckoning |
| PF | Particle Filter |
| RFID | Radio Frequency Identification |
| RMSE | Root Means Square Error |
| RSS | Received Signal Strength |
| ToA | Time of Arrival |
| TWR | Two-Way Ranging |
| UFIR | Unbiased Finite Impulse Response |
| UKF | Unscented Kalman Filter |
| UWB | Ultra-wideband |
| ZUPT | Zero Velocity Update algorithm |
References
- Filippeschi, A.; Schmitz, N.; Miezal, M.; Bleser, G.; Ruffaldi, E.; Stricker, D. Survey of Motion Tracking Methods Based on Inertial Sensors: A Focus on Upper Limb Human Motion. Sensors 2017, 17, 1257. [Google Scholar] [CrossRef]
- Sabatini, A.M. Estimating Three-Dimensional Orientation of Human Body Parts by Inertial/Magnetic Sensing. Sensors 2011, 11, 1489–1525. [Google Scholar] [CrossRef] [PubMed]
- Rekant, J.; Rothenberger, S.; Chambers, A. Inertial Measurement Unit-Based Motion Capture to Replace Camera-Based Systems for Assessing Gait in Healthy Young Adults: Proceed with Caution. Meas. Sens. 2022, 23, 100396. [Google Scholar] [CrossRef] [PubMed]
- Roetenberg, D.; Luinge, H.J.; Baten, C.T.; Veltink, P.H. Compensation of Magnetic Disturbances Improves Inertial and Magnetic Sensing of Human Body Segment Orientation. IEEE Trans. Neural Syst. Rehabil. Eng. 2005, 13, 395–405. [Google Scholar] [CrossRef] [PubMed]
- Vitali, R.V.; McGinnis, R.S.; Perkins, N.C. Robust Error-State Kalman Filter for Estimating IMU Orientation. IEEE Sens. J. 2021, 21, 3561–3569. [Google Scholar] [CrossRef]
- de Vries, W.H.; Veeger, H.E.; Baten, C.T.; van der Helm, F.C. Magnetic Distortion in Motion Labs, Implications for Validating Inertial Magnetic Sensors. Gait Posture 2009, 29, 535–541. [Google Scholar] [CrossRef] [PubMed]
- Zihajehzadeh, S.; Park, E.J. A Novel Biomechanical Model-Aided IMU/UWB Fusion for Magnetometer-Free Lower Body Motion Capture. IEEE Trans. Syst. Man Cybern. Syst. 2017, 47, 927–938. [Google Scholar] [CrossRef]
- Chow, J.; Hol, J.; Luinge, H. Tightly-Coupled Joint User Self-Calibration of Accelerometers, Gyroscopes, and Magnetometers. Drones 2018, 2, 6. [Google Scholar] [CrossRef]
- Kaichi, T.; Maruyama, T.; Tada, M.; Saito, H. Resolving Position Ambiguity of IMU-Based Human Pose with a Single RGB Camera. Sensors 2020, 20, 5453. [Google Scholar] [CrossRef]
- Ma, M.; Song, Q.; Gu, Y.; Li, Y.; Zhou, Z. An Adaptive Zero Velocity Detection Algorithm Based on Multi-Sensor Fusion for a Pedestrian Navigation System. Sensors 2018, 18, 3261. [Google Scholar] [CrossRef]
- Wahlstrom, J.; Skog, I. Fifteen Years of Progress at Zero Velocity: A Review. IEEE Sens. J. 2021, 21, 1139–1151. [Google Scholar] [CrossRef]
- Luinge, H.J.; Veltink, P.H.; Baten, C.T. Ambulatory Measurement of Arm Orientation. J. Biomech. 2007, 40, 78–85. [Google Scholar] [CrossRef] [PubMed]
- van Meulen, F.B.; Weenk, D.; Buurke, J.H.; van Beijnum, B.J.; Veltink, P.H. Ambulatory Assessment of Walking Balance after Stroke Using Instrumented Shoes. J. NeuroEngineering Rehabil. 2016, 13, 48. [Google Scholar] [CrossRef] [PubMed][Green Version]
- Yavuzer, G.; Oken, O.; Elhan, A.; Stam, H.J. Repeatability of Lower Limb Three-Dimensional Kinematics in Patients with Stroke. Gait Posture 2008, 27, 31–35. [Google Scholar] [CrossRef] [PubMed]
- Windolf, M.; Gotzen, N.; Morlock, M. Systematic Accuracy and Precision Analysis of Video Motion Capturing Systems—Exemplified on the Vicon-460 System. J. Biomech. 2008, 41, 2776–2780. [Google Scholar] [CrossRef] [PubMed]
- Carse, B.; Meadows, B.; Bowers, R.; Rowe, P. Affordable Clinical Gait Analysis: An Assessment of the Marker Tracking Accuracy of a New Low-Cost Optical 3D Motion Analysis System. Physiotherapy 2013, 99, 347–351. [Google Scholar] [CrossRef]
- van der Kruk, E.; Reijne, M.M. Accuracy of Human Motion Capture Systems for Sport Applications; State-of-the-Art Review. Eur. J. Sport Sci. 2018, 18, 806–819. [Google Scholar] [CrossRef]
- Roetenberg, D.; Veltink, P.H. Camera-Marker and Inertial Sensor Fusion for Improved Motion Tracking. Gait Posture 2005, 22, 51–52. [Google Scholar] [CrossRef][Green Version]
- Weenk, D.; Roetenberg, D.; van Beijnum, B.J.; Hermens, H.J.; Veltink, P.H. Ambulatory Estimation of Relative Foot Positions by Fusing Ultrasound and Inertial Sensor Data. IEEE Trans. Neural Syst. Rehabil. Eng. 2015, 23, 817–826. [Google Scholar] [CrossRef]
- Hung, T.N.; Suh, Y.S. Inertial Sensor-Based Two Feet Motion Tracking for Gait Analysis. Sensors 2013, 13, 5614–5629. [Google Scholar] [CrossRef]
- Brena, R.F.; García-Vázquez, J.P.; Galván-Tejada, C.E.; Muñoz-Rodriguez, D.; Vargas-Rosales, C.; Fangmeyer, J. Evolution of Indoor Positioning Technologies: A Survey. J. Sens. 2017, 2017, 2630413. [Google Scholar] [CrossRef]
- Hayward, S.J.; van Lopik, K.; Hinde, C.; West, A.A. A Survey of Indoor Location Technologies, Techniques and Applications in Industry. Internet Things 2022, 20, 100608. [Google Scholar] [CrossRef]
- Poulose, A.; Eyobu, O.S.; Han, D.S. An Indoor Position-Estimation Algorithm Using Smartphone IMU Sensor Data. IEEE Access 2019, 7, 11165–11177. [Google Scholar] [CrossRef]
- Yao, L.; Yao, L.; Wu, Y.W. Analysis and Improvement of Indoor Positioning Accuracy for UWB Sensors. Sensors 2021, 21, 5731. [Google Scholar] [CrossRef] [PubMed]
- Yang, X.F.; Wang, J.; Song, D.P.; Feng, B.Z.; Ye, H. A Novel NLOS Error Compensation Method Based IMU for UWB Indoor Positioning System. IEEE Sens. J. 2021, 21, 11203–11212. [Google Scholar] [CrossRef]
- Yadav, R.K.; Bhattarai, B.; Gang, H.S.; Pyun, J.Y. Trusted K Nearest Bayesian Estimation for Indoor Positioning System. IEEE Access 2019, 7, 51484–51498. [Google Scholar] [CrossRef]
- Buffi, A.; Michel, A.; Nepa, P.; Tellini, B. RSSI Measurements for RFID Tag Classification in Smart Storage Systems. IEEE Trans. Instrum. Meas. 2018, 67, 894–904. [Google Scholar] [CrossRef]
- Minne, K.; Macoir, N.; Rossey, J.; Brande, Q.V.D.; Lemey, S.; Hoebeke, J.; Poorter, E. Experimental Evaluation of UWB Indoor Positioning for Indoor Track Cycling. Sensors 2019, 19, 2041. [Google Scholar] [CrossRef]
- Jimenez, A.R.; Seco, F. Improving the Accuracy of Decawave’s UWB MDEK1001 Location System by Gaining Access to Multiple Ranges. Sensors 2021, 21, 1787. [Google Scholar] [CrossRef]
- Yu, N.; Li, Y.; Ma, X.; Wu, Y.; Feng, R. Comparison of Pedestrian Tracking Methods Based on Foot- and Waist-Mounted Inertial Sensors and Handheld Smartphones. IEEE Sens. J. 2019, 19, 8160–8173. [Google Scholar] [CrossRef]
- Li, X.; Wang, Y.; Liu, D. Research on Extended Kalman Filter and Particle Filter Combinational Algorithm in UWB and Foot-Mounted IMU Fusion Positioning. Mob. Inf. Syst. 2018, 2018, 1587253. [Google Scholar] [CrossRef]
- Wang, Y.; Li, X. The IMU/UWB Fusion Positioning Algorithm Based on a Particle Filter. ISPRS Int. J. Geo-Inf. 2017, 6, 235. [Google Scholar] [CrossRef]
- Zhang, H.; Zhang, Z.; Gao, N.; Xiao, Y.; Meng, Z.; Li, Z. Cost-Effective Wearable Indoor Localization and Motion Analysis via the Integration of UWB and IMU. Sensors 2020, 20, 344. [Google Scholar] [CrossRef]
- Wen, K.; Yu, K.G.; Li, Y.B.; Zhang, S.B.; Zhang, W.W. A New Quaternion Kalman Filter Based Foot-Mounted IMU and UWB Tightly-Coupled Method for Indoor Pedestrian Navigation. IEEE Trans. Veh. Technol. 2020, 69, 4340–4352. [Google Scholar] [CrossRef]
- Feng, D.; Wang, C.; He, C.; Zhuang, Y.; Xia, X.G. Kalman-Filter-Based Integration of IMU and UWB for High-Accuracy Indoor Positioning and Navigation. IEEE Internet Things J. 2020, 7, 3133–3146. [Google Scholar] [CrossRef]
- Geary, R.C. The Ratio of the Mean Deviation to the Standard Deviation as a Test of Normality. Biometrika 1935, 27, 310–332. [Google Scholar] [CrossRef]
- Youssef, J.; Denis, B.; Godin, C.; Lesecq, S. Pedestrian Tracking Solution Combining an Impulse Radio Handset Transmitter with an Ankle-Mounted Inertial Measurement Unit. Int. J. Navig. Obs. 2012, 2012, 603254. [Google Scholar] [CrossRef]
- Zihajehzadeh, S.; Yoon, P.K.; Park, E.J. A Magnetometer-Free Indoor Human Localization Based on Loosely Coupled IMU/UWB Fusion. Annu. Int. Conf. IEEE Eng. Med. Biol. Soc. 2015, 2015, 3141–3144. [Google Scholar] [CrossRef] [PubMed]
- Zihajehzadeh, S.; Yoon, P.K.; Kang, B.S.; Park, E.J. UWB-Aided Inertial Motion Capture for Lower Body 3-D Dynamic Activity and Trajectory Tracking. IEEE Trans. Instrum. Meas. 2015, 64, 3577–3587. [Google Scholar] [CrossRef]
- Kok, M.; Hol, J.D.; Schon, T.B. Indoor Positioning Using Ultrawideband and Inertial Measurements. IEEE Trans. Veh. Technol. 2015, 64, 1293–1303. [Google Scholar] [CrossRef]
- Yoon, P.K.; Zihajehzadeh, S.; Kang, B.S.; Park, E.J. Robust Biomechanical Model-Based 3-D Indoor Localization and Tracking Method Using UWB and IMU. IEEE Sens. J. 2017, 17, 1084–1096. [Google Scholar] [CrossRef]
- Chen, P.; Kuang, Y.; Chen, X. A UWB/Improved PDR Integration Algorithm Applied to Dynamic Indoor Positioning for Pedestrians. Sensors 2017, 17, 2065. [Google Scholar] [CrossRef] [PubMed]
- Li, X.; Wang, Y.; Khoshelham, K. UWB/PDR Tightly Coupled Navigation with Robust Extended Kalman Filter for NLOS Environments. Mob. Inf. Syst. 2018, 2018, 8019581. [Google Scholar] [CrossRef]
- Wang, Y.; Li, X. Graph-Optimization-Based ZUPT/UWB Fusion Algorithm. ISPRS Int. J. Geo-Inf. 2018, 7, 18. [Google Scholar] [CrossRef]
- Xu, Y.; Tian, G.; Chen, X. Enhancing INS/UWB Integrated Position Estimation Using Federated EFIR Filtering. IEEE Access 2018, 6, 64461–64469. [Google Scholar] [CrossRef]
- Xu, Y.; Ahn, C.K.; Shmaliy, Y.S.; Chen, X.Y.; Li, Y.Y. Adaptive Robust INS/UWB-Integrated Human Tracking Using UFIR Filter Bank. Measurement 2018, 123, 1–7. [Google Scholar] [CrossRef]
- Tian, Q.; Wang, K.I.K.; Salcic, Z. A Low-Cost INS and UWB Fusion Pedestrian Tracking System. IEEE Sens. J. 2019, 19, 3733–3740. [Google Scholar] [CrossRef]
- Xu, Y.; Shen, T.; Chen, X.Y.; Bu, L.L.; Feng, N. Predictive Adaptive Kalman Filter and Its Application to INS/UWB-integrated Human Localization with Missing UWB-based Measurements. Int. J. Autom. Comput. 2019, 16, 604–613. [Google Scholar] [CrossRef]
- Xu, Y.; Ahn, C.K.; Shmaliy, Y.S.; Chen, X.; Bu, L. Indoor INS/UWB-Based Human Localization with Missing Data Utilizing Predictive UFIR Filtering. IEEE/CAA J. Autom. Sin. 2019, 6, 952–960. [Google Scholar] [CrossRef]
- Tian, Q.; Wang, K.I.K.; Salcic, Z. Human Body Shadowing Effect on UWB-Based Ranging System for Pedestrian Tracking. IEEE Trans. Instrum. Meas. 2019, 68, 4028–4037. [Google Scholar] [CrossRef]
- Ferreira, A.G.; Fernandes, D.; Catarino, A.P.; Rocha, A.M.; Monteiro, J.L. A Loose-Coupled Fusion of Inertial and UWB Assisted by a Decision-Making Algorithm for Localization of Emergency Responders. Electronics 2019, 8, 1463. [Google Scholar] [CrossRef]
- Li, B.; Hao, Z.; Dang, X. An Indoor Location Algorithm Based on Kalman Filter Fusion of Ultra-wide band and Inertial Measurement Unit. AIP Adv. 2019, 9, 085210. [Google Scholar] [CrossRef]
- Wang, Y.; Li, X.; Khoshelham, K.; Li, P. Robust Iterated Extended Kalman Filter Algorithm for Foot-Mounted Inertial Measurement Units/Ultrawideband Fusion Positioning. J. Appl. Remote Sens. 2019, 13, 024510. [Google Scholar] [CrossRef]
- Zhang, Y.; Tan, X.L.; Zhao, C.S. UWB/INS Integrated Pedestrian Positioning for Robust Indoor Environments. IEEE Sens. J. 2020, 20, 14401–14409. [Google Scholar] [CrossRef]
- Xu, Y.; Shmaliy, Y.S.; Hua, L.; Ma, L.; Zhuang, Y. Decision Tree-Extended Finite Impulse Response Filtering for Pedestrian Tracking over Tightly Integrated Inertial Navigation System/Ultra wide band Data. Meas. Sci. Technol. 2020, 32, 034007. [Google Scholar] [CrossRef]
- Xu, Y.; Li, Y.; Ahn, C.K.; Chen, X. Seamless Indoor Pedestrian Tracking by Fusing INS and UWB Measurements via LS-SVM Assisted UFIR Filter. Neurocomputing 2020, 388, 301–308. [Google Scholar] [CrossRef]
- Tian, Q.; Wang, K.I.K.; Salcic, Z. An INS and UWB Fusion-Based Gyroscope Drift Correction Approach for Indoor Pedestrian Tracking. Sensors 2020, 20, 4476. [Google Scholar] [CrossRef]
- Tian, Q.; Wang, K.I.K.; Salcic, Z. A Resetting Approach for INS and UWB Sensor Fusion Using Particle Filter for Pedestrian Tracking. IEEE Trans. Instrum. Meas. 2020, 69, 5914–5921. [Google Scholar] [CrossRef]
- Guo, S.; Zhang, Y.; Gui, X.; Han, L. An Improved PDR/UWB Integrated System for Indoor Navigation Applications. IEEE Sens. J. 2020, 20, 8046–8061. [Google Scholar] [CrossRef]
- Xu, Y.; Shmaliy, Y.S.; Ahn, C.K.; Chen, X.; Guo, H.; Zhuang, Y. Blind Robust Multi-Horizon EFIR Filter for Tightly Integrating INS and UWB. IEEE Sens. J. 2021, 21, 23037–23045. [Google Scholar] [CrossRef]
- Ali, R.; Liu, R.; Nayyar, A.; Qureshi, B.; Cao, Z. Tightly Coupling Fusion of UWB Ranging and IMU Pedestrian Dead Reckoning for Indoor Localization. IEEE Access 2021, 9, 164206–164222. [Google Scholar] [CrossRef]
- Kim, D.H.; Pyun, J.Y. NLOS Identification Based UWB and PDR Hybrid Positioning System. IEEE Access 2021, 9, 102917–102929. [Google Scholar] [CrossRef]
- Wang, Y.; Li, X. An Improved Robust EKF Algorithm Based on Sigma Points for UWB and Foot-Mounted IMU Fusion Positioning. J. Spat. Sci. 2021, 66, 329–350. [Google Scholar] [CrossRef]
- Xu, Y.; Cao, J.; Shmaliy, Y.S.; Zhuang, Y. Distributed Kalman Filter for UWB/INS Integrated Pedestrian Localization under Colored Measurement Noise. Satell. Navig. 2021, 2, 22. [Google Scholar] [CrossRef]
- Naheem, K.; Kim, M.S. A Low-Cost Foot-Placed UWB and IMU Fusion-Based Indoor Pedestrian Tracking System for IoT Applications. Sensors 2022, 22, 8160. [Google Scholar] [CrossRef] [PubMed]
- Liu, Y.; Zhang, Y.; Jiang, Y.; Liu, W.; Yang, F. UWB-INS Fusion Positioning Based on a Two-Stage Optimization Algorithm. Teh. Vjesn. 2023, 30, 185–190. [Google Scholar] [CrossRef]
- Tian, Q.; Wang, K.I.K.; Salcic, Z. An INS and UWB Fusion Approach with Adaptive Ranging Error Mitigation for Pedestrian Tracking. IEEE Sens. J. 2020, 20, 4372–4381. [Google Scholar] [CrossRef]
- Lian Sang, C.; Adams, M.; Hormann, T.; Hesse, M.; Porrmann, M.; Ruckert, U. Numerical and Experimental Evaluation of Error Estimation for Two-Way Ranging Methods. Sensors 2019, 19, 616. [Google Scholar] [CrossRef]
- Mazhar, F.; Khan, M.G.; Sällberg, B. Precise Indoor Positioning Using UWB: A Review of Methods, Algorithms and Implementations. Wirel. Pers. Commun. 2017, 97, 4467–4491. [Google Scholar] [CrossRef]
- Barker, S.; Craik, R.; Freedman, W.; Herrmann, N.; Hillstrom, H. Accuracy, Reliability, and Validity of a Spatiotemporal Gait Analysis System. Med. Eng. Phys. 2006, 28, 460–467. [Google Scholar] [CrossRef] [PubMed]
- Otim, T.; Bahillo, A.; Diez, L.E.; Lopez-Iturri, P.; Falcone, F. Impact of Body Wearable Sensor Positions on UWB Ranging. IEEE Sens. J. 2019, 19, 11449–11457. [Google Scholar] [CrossRef]
- Otim, T.; Díez, L.E.; Bahillo, A.; Lopez-Iturri, P.; Falcone, F. Effects of the Body Wearable Sensor Position on the UWB Localization Accuracy. Electronics 2019, 8, 1351. [Google Scholar] [CrossRef]






| Ref. No. | Year | UWB Sensor | MIMU Sensor | UWB Config. | Update Rate [sps] | UWB Location | MIMU Location | UWB/MIMU Integration Method | UWB Update Param. | Sensor Attachment | |
|---|---|---|---|---|---|---|---|---|---|---|---|
| MIMU | UWB | ||||||||||
| [37] | 2012 | - | - | 4 Anchor and 1 Tag | 200 | 3 to 4 | Held in hand | Attached to the subject’s ankles | Loosely coupled EKF | Position | Not rigidly attached |
| [38] | 2015 | Ubisense Series 7000 | Xsens MTx | 4 Anchor and 1 Tag | 100 | 10 | Attached to the subject’s waist | Attached to the subject’s waist | Two-step cascaded KF | Position | Rigidly attached |
| [39] | 2015 | Ubisense Series 7000 | Xsens MVN suit | 4 Anchor and 1 Tag | 100 | 16 | Attached to the subject’s waist | One unit on the waist and six units for the right and left thighs, shanks, and feet. | Loosely coupled two-step Cascaded KF | Position | Not rigidly attached |
| [40] | 2015 | NA | Xsens | 10 Anchor and 1 Tag | 120 | 10 | Attached to the subject’s foot | Attached to the subject’s foot | Maximum a Posteriori (MAP) estimation algorithm | Distance | Rigidly attached |
| [7] | 2017 | Unisense series 7000 | Xsens MVN suit | 4 Anchor and 3 Tag | 100 | 10 | Attached to the subject’s waist and both foot | One unit on the waist and six on the right and left thighs, shanks, and feet. | Multiple layered KF | Position | Rigidly attached |
| [41] | 2017 | Unisense series 7000 | Xsens MTx | 4 Anchor and 1 Tag | 100 | 9.25 | Attached to the subject’s waist | One unit on the waist, and six on the right and left thigh, shanks, and feet | Cascaded KF | Position | Rigidly attached |
| [42] | 2017 | - | - | 3 Anchor and 1 tag | - | - | Attached to the subject’s shoulder | Attached to both of the subject’s feet | Unscented Kalman Filter (UKF) | Distance | Not rigidly attached |
| [32] | 2017 | DW1000 | - | 4 Anchor and 1 Tag | 128 | 2 | Attached to the helmet worn on head | Attached to the subject’s foot | PF | Position | Not rigidly attached |
| [43] | 2018 | BeSpoon | MATE9 (Huawei smartphone) | 4 Anchor and 1 Tag | - | - | Held in hand | Held in hand | EKF | Distance | Rigidly attached |
| [31] | 2018 | DWM1000 | X-IMU, UK MPU9250 | 4 Anchor and 1 Tag | 128 | 3 | Attached to the helmet worn on head | Attached to the subject’s foot | Method1: PF | Position | Not rigidly attached |
| Method2: a combination of PF & EKF filter | Position | ||||||||||
| [44] | 2018 | DWM1000 | X-IMU, UK MPU9250 | 4 Anchor and 1 Tag | 128 | 2 | Attached to the helmet worn on head | Attached to the subject’s foot | Graph optimization | Position | Not rigidly attached |
| [45] | 2018 | - | - | 4 Anchor and 1 Tag | - | - | Attached to a backpack setup carried by the subject | Attached to the subject’s foot | Federated Extended Finite Impulse Response (EFIR) filter | Distance | Not rigidly attached |
| [46] | 2018 | DW1000 | Acc:ADXL203;Gyr:ADXRS620;Mag:HMC5983 | 5 Anchor and 1 Tag | - | - | Attached to a backpack setup carried by the subject | Attached to the subject’s foot | UFIR filter bank | Position | Not rigidly attached |
| [47] | 2019 | EVB1000/DW1000 | Iphone IMU | 1 Anchor and 1 Tag | 50 | 10 | Held in hand | Held in hand | PF | Distance | Rigidly attached |
| [48] | 2019 | - | - | 4 Anchor and 1 Tag | 100 | - | Attached to a backpack setup carried by the subject | Attached to the subject’s foot | Predictive Adaptive Kalman Filter (PAKF) | Distance | Not rigidly attached |
| [49] | 2019 | - | Acc:ADXL203;Gyr:ADXRS620;Mag:HMC5983 | 5 Anchor and 1 Tag | - | - | Attached to a backpack setup carried by the subject | Attached to the subject’s foot | Predictive UFIR filter | Position | Not rigidly attached |
| [50] | 2019 | DW1000 | iPhone IMU | 3 Anchor and 1 Tag | 50 | Held in hand | Held in hand | PF | Distance | Rigidly attached | |
| [51] | 2019 | DW1000 | LSM330DLC;Mag:HMC5883L | 3 Anchor and 1 Tag | 100 | 1 to 2 | - | - | EKF | Position | - |
| [52] | 2019 | - | JY901B | 4 Anchor and 1 Tag | - | 1 | Held in hand | - | EKF | Position | - |
| [53] | 2019 | - | MPU9150 | 7 Anchor and 1 Tag | 100 | 1 | Attached to the helmet worn on head | Attached to the subject’s foot | Iterative EKF | Distance | Not rigidly attached |
| [33] | 2020 | DWM1000 | MPU9250 | 3 Anchor and 1 Tag | - | - | Attached to the subject’s foot | Attached to the subject’s foot | KF | position | Rigidly and integrated hardware |
| [54] | 2020 | UWB Mini4Plus | JY61 attitude sensor | 4 Anchor and 1 Tag | - | - | Attached to the subject’s foot | Attached to the subject’s foot | EKF | position | Rigidly attached |
| [55] | 2020 | - | - | 4 Anchor and 1 Tag | 100 | - | Attached to a backpack setup carried by the subject | Attached to the subject’s foot | Decision Tree-EFIR filter | Distance | Not rigidly attached |
| [56] | 2020 | - | - | 4 Anchor and 1 Tag | - | - | Attached to a backpack setup carried by the subject | Attached to the subject’s foot | Least Square-Support Vector Machine (LS- SVM) assisted UFIR filter | Position | Not rigidly attached |
| [57] | 2020 | EVB1000/DW1000 | iPhone 7 IMU | 3 Anchor and 1 Tag | 50 | 3.57 | Held in hand | Held in hand | PF | Distance | Rigidly attached |
| [58] | 2020 | EVB1000/DW1000 | iPhone 7 IMU | 2 Anchor and 1 Tag | 50 | 3.57 | Held in hand | Held in hand | PF | Distance | Rigidly attached |
| [57] | 2020 | EVB1000/DW1000 | iPhone 7 IMU | 2 Anchor and 1 Tag | 50 | 3.57 | Held in hand | Held in hand | PF | Distance | Rigidly attached |
| [35] | 2020 | DWM1000/MAX2000 | LIS3DH | 3 Anchor and 1 Tag | - | - | - | - | EKF | Distance | - |
| 1 Anchor and 1 tag | UKF | - | |||||||||
| [34] | 2020 | PlusOn410 | Starneto, China | 5 Anchor and 1 Tag | 100 | 10 | Attached to the subject’s foot | Attached to the subject’s foot | KF | Position | Rigidly attached |
| [59] | 2020 | DWM1000 | Acc. & Gyr.:ICM20602;Mag: IST8310 | 3 Anchor and 1 Tag | 200 | 20 | Attached to the subject’s shoulder | Attached to the subject’s shoulder | KF | Distance | Rigidly and integrated hardware |
| [60] | 2021 | DW1000 | Acc:ADXL203;Gyr:ADXRS620;Mag:HMC5983 | 5 Anchor and 1 Tag | 30 | 3 | Attached to a backpack setup carried by the subject | Attached to the subject’s foot | EFIR filter | Distance | Not rigidly attached |
| [61] | 2021 | MAX2000/DW1000 | MPU6050 | 4 Anchor and 1 Tag | - | - | Attached to the subject’s foot | Attached to the subject’s foot | tightly-coupled EKF | Distance | Rigidly and integrated hardware |
| [62] | 2021 | DW1000 | EBIMU-9DOF | 4 Anchor and 1 Tag | 50 | 16 | Held in hand at a constant location close to the chest | Held in hand at a constant location close to the chest | KF | Position | Rigidly attached |
| [63] | 2021 | - | MPU9250 | 5 Anchor and 1 Tag | 100 | 2 | Attached to the subject’s foot | Attached to the subject’s foot | EKF | Distance | Rigidly attached |
| [64] | 2021 | - | Acc:ADXL203;Gyr:ADXRS620;Mag:HMC5983 | 4 Anchor and 1 Tag | - | - | Attached to a backpack setup carried by the subject | Attached to the subject’s foot | Distributed KF | Distance | Not rigidly attached |
| [65] | 2022 | DWM1001C | MPU6050 InvenSense, San Jose, CA, USA | 4 Anchor and 1 Tag | 100 | 10 | Attached to the subject’s foot | Attached to the subject’s foot | loosely coupled EKF | Position | Rigidly attached |
| [66] | 2023 | DW1000 | - | 4 Anchor and 1 Tag | - | - | Body worn; On-body location not mentioned | Body worn; On-body location not mentioned | KF | Position | - |
| Ref. No. | 2D/3D | LOS/NLOS | Exp. Activities | Integrated Accuracy [m] | Errors Around Each Axis [m] | Test Time [s] | |||
|---|---|---|---|---|---|---|---|---|---|
| RMSE | MAE | Min Error | Max Error | ||||||
| [37] | 2D | Combined LOS and NLOS | Walking | - | 0.4 | - | - | - | ~240 |
| [38] | 2D | LOS | Jumping task | - | <0.04 | - | - | <0.04 in x and y axis | 90 |
| [39] | 3D | LOS | Walking and Jumping | Walking: 0.068 * Jumping: 0.073 * | - | - | - | Walking: X-0.039 ± 0.016; Y-0.036 ± 0.015; Z-0.043 ± 0.017 Jumping: X-0.042 ± 0.019; Y-0.036 ± 0.015; Z-0.049 ± 0.023 | ~120 |
| [40] | 3D | LOS | Walking | 0.048 * | - | - | - | X-0.03; Y-0.03; Z-0.023 | 24 |
| [7] | 3D | LOS | Walking and Jumping | Waist: 0.075 * Feet: 0.067 * | - | - | - | Waist: X-0.043; Y-0.048; Z-0.038; Feet: X-0.039; Y-0.041; Z-0.035 | 100 |
| [41] | 3D | LOS | Walking and Dynamic (combining Running and Jumping) | Overall: 0.108 Walking: 0.092 Dynamic: 0.129 | - | - | - | Overall: X-0.074; Y-0.072; Z-0.030; Walking: X-0.063; Y-0.062; Z-0.026; Dynamic: X-0.086; Y-0.086; Z-0.04 | 75 |
| [42] | 2D | LOS | Walking at different speeds from 1–3 m/s | - | Overall: 0.15 Speed 1 m/s: 0.129 Speed 2 m/s: 0.155 Speed 3 m/s: 0.195 | 0.05 | 0.35 | - | 30 |
| [32] | 2D | Separate LOS and NLOS | Walking | - | LOS: 0.708 ± 0.660 NLOS: 0.726 ± 0.661 | - | - | ~24 to 58 | |
| [43] | 2D | Combined LOS and NLOS | Walking along two different routes | Route 1 (Less NLOS): 0.35 Route 2 (More NLOS): 0.45 | - | - | - | - | - |
| [31] | 2D | Separate LOS and NLOS | Walking along two different routes | - | LOS Route 1: 0.637 Route 2: 0.531 NLOS Route 1: 0.735 Route 2: 0.571 | LOS Route 1: 0.001 Route 2: 0.001 NLOS Route 1: 0.003 Route 2: 0.007 | LOS Route 1: 2.087 Route 2: 1.462 NLOS Route 1: 2.896 Route 2: 1.816 | - | ~390 to 420 |
| - | LOS Route 1: 0.685 Route 2: 0.505 NLOS Route 1: 0.624 Route 2: 0.527 | LOS Route 1: 0.003 Route 2: 0.009 NLOS Route 1: 0.003 Route 2: 0.008 | LOS Route 1: 2.576 Route 2: 1.356 NLOS Route 1: 2.576 Route 2: 1.524 | - | |||||
| [44] | 2D | Combined LOS and NLOS | Walking along three different routes | - | Route 1: 0.413 Route 2: 0.369 Route 3: 0.372 | - | - | - | ~100 to 180 |
| [45] | 2D | LOS | Walking | 0.576 * | - | - | - | X-0.36; Y-0.45 | 45 |
| [46] | 2D | LOS | Walking | 0.297 * | - | - | X-0.2; Y-0.22 | 60 | |
| [47] | 2D | LOS | Walking along two different routes | - | Route 1: 0.60 Route 2: 0.58 | - | - | - | 258.8 & 391.8 |
| [48] | 2D | LOS | Walking | 0.299 * | - | - | - | X-0.173 **; Y-0.245 ** | 30 |
| [49] | 2D | LOS | Walking along three different routes | Route 1: 0.391 * Route 2: 0.353 * Route 3: 0.700 * | - | - | Route 1: X-1.03; Y-1.21 Route 2: X-0.44; Y-1.20 Route 3: X-2.28; Y-2.20 | Route 1: X-0.25; Y-0.30 Route 2: X-0.15; Y-0.32 Route 3: X-0.50; Y-0.49 | 25 |
| [50] | 2D | Combined LOS and NLOS | Walking along two different routes | - | Route 1: 0.125 ± 0.059 Route 2: 0.164 ± 0.084 | - | - | - | 50 & 100 |
| [51] | 2D | Separate LOS and NLOS | Walking | - | LOS: less than 1.5 m for 99th percentile; NLOS: Less than 2 m for the 99th percentile | - | - | - | - |
| [52] | 2D | Combined LOS and NLOS | NA | - | ~0.4 | 0.05 | - | - | - |
| [53] | 2D | Combined LOS and NLOS | Walking along two different routes | - | Route 1: 7-anchor: 0.58 ± 0.22 3-Anchor: 0.62 ± 0.33 2-anchor: 0.63 ± 0.34 Route 2: 7-anchor: 0.59 ± 0.27 3-Anchor: 0.66 ± 0.32 2-anchor: 0.96 ± 0.47 | - | NA | 180 & 585 | |
| [33] | 2D | LOS | Walking | - | 0.076 | - | - | X-0.051; Y-0.055 | ~20 to 25 |
| [54] | 2D | Separate LOS and NLOS | Walking | - | LOS: 0.24 ± 0.26 NLOS: 0.35 ± 0.35 | - | LOS: 1.52 NLOS: 1.02 | LOS: X-0.30; Y-0.18 NLOS: X-0.43; Y-0.23 | ~20 to 40 |
| [55] | 2D | LOS | Walking | 0.788 * | - | - | - | X-0.364; Y-0.699 | ~20 to 25 |
| [56] | 2D | LOS | Walking | 0.264 * | - | - | - | X-0.173 **; Y-0.200 ** | ~270 |
| [57] | 2D | Combined LOS and NLOS | Walking along two different routes | - | Route 1: 0.87 ± 0.52 Route 2: 0.81 ± 0.39 | - | - | - | 323 & 447 |
| [58] | 2D | Combined LOS and NLOS | Walking | - | 2.09 ± 1.33 | - | - | - | ~479 |
| [57] | 2D | LOS | Walking | - | 2.48 | - | - | - | 334.1 & 329.9 |
| [35] | 2D | LOS | NA | < 0.2 | - | - | - | - | NA |
| <0.16 | - | - | - | - | |||||
| [34] | 2D | LOS | Walking | 0.132 | - | - | - | - | ~550 |
| [59] | 2D | Combined LOS and NLOS | Walking | - | 0.157 | - | 0.601 | - | ~50 |
| [60] | 2D | LOS | Walking | 0.305 * | - | - | - | X-0.20; Y-0.23 | 90 |
| [61] | 3D | LOS | Walking | - | 50% of the time below 0.39 | - | - | - | 325 |
| [62] | 2D | Combined LOS and NLOS | Walking along six different routes | Less NLOS Route 1: 0.234; Route 2: 0.39; Route 3: 0.556 More NLOS Route 4: 0.314; Route 5: 0.492; Route 6: 0.473 Average: 0.4266 | - | - | - | - | ~15 to 30 |
| [63] | 2D | Combined LOS and NLOS | Walking along two different routes | - | Route 1: 0.48 ± 0.37 Route 2: 0.62 Reduced no of Anchors: 4Anc: 0.36 ± 0.24; 3Anc: 0.51 ± 0.24 (Best combi) | - | - | - | 250 |
| [64] | 2D | LOS | Walking along two different routes | Route 1: 0.61 Route 2: 0.53 | - | - | - | - | 460 |
| [65] | 2D | Combined LOS and NLOS | Walking along two different routes | - | Route 1: 0.24 Route 2: 0.29 | - | Route 1: 0.47 Route 2: 0.66 | Route 1: X-0.18; Y-0.15 Route 2: X-0.18; Y-0.24 | ~10 to 20 |
| [66] | 2D | Separate LOS and NLOS | Walking along two different routes | NLOS: 0.128 LOS: 0.099 | - | - | - | - | ~5 to 10 |
Disclaimer/Publisher’s Note: The statements, opinions and data contained in all publications are solely those of the individual author(s) and contributor(s) and not of MDPI and/or the editor(s). MDPI and/or the editor(s) disclaim responsibility for any injury to people or property resulting from any ideas, methods, instructions or products referred to in the content. |
© 2023 by the authors. Licensee MDPI, Basel, Switzerland. This article is an open access article distributed under the terms and conditions of the Creative Commons Attribution (CC BY) license (https://creativecommons.org/licenses/by/4.0/).
Share and Cite
Yogesh, V.; Buurke, J.H.; Veltink, P.H.; Baten, C.T.M. Integrated UWB/MIMU Sensor System for Position Estimation towards an Accurate Analysis of Human Movement: A Technical Review. Sensors 2023, 23, 7277. https://doi.org/10.3390/s23167277
Yogesh V, Buurke JH, Veltink PH, Baten CTM. Integrated UWB/MIMU Sensor System for Position Estimation towards an Accurate Analysis of Human Movement: A Technical Review. Sensors. 2023; 23(16):7277. https://doi.org/10.3390/s23167277
Chicago/Turabian StyleYogesh, Vinish, Jaap H. Buurke, Peter H. Veltink, and Chris T. M. Baten. 2023. "Integrated UWB/MIMU Sensor System for Position Estimation towards an Accurate Analysis of Human Movement: A Technical Review" Sensors 23, no. 16: 7277. https://doi.org/10.3390/s23167277
APA StyleYogesh, V., Buurke, J. H., Veltink, P. H., & Baten, C. T. M. (2023). Integrated UWB/MIMU Sensor System for Position Estimation towards an Accurate Analysis of Human Movement: A Technical Review. Sensors, 23(16), 7277. https://doi.org/10.3390/s23167277

