Research on High Precision Stiffness Modeling Method of Redundant Over-Constrained Parallel Mechanism
Abstract
1. Introduction
2. High-Precision Stiffness Modeling Method of Redundant Over-Constrained PMs Considering Multiple Factors
2.1. High-Precision Stiffness Modeling Process of Redundant Over-Constrained PMs Considering Multiple Factors
- (1)
- According to the screw theory, the drive screw and constraint screw of a redundant branch and non-redundant branch are analyzed. Then, the drive Jacobian matrix and constraint Jacobian matrix are constructed.
- (2)
- The driving stiffness is analyzed from the perspective of material mechanics. The strain energy of each branch under the constraint force is calculated and the functional relationship between the strain energy of the branch and the constraint force of the branch is derived.
- (3)
- Based on Castigliano’s second theorem, the partial derivatives of the strain energy of each branch on the constraint force of the branch are calculated, respectively. The functional relationship between the deformation of the end of the branch and the constraint force of the branch is obtained, namely the flexibility matrix of the branch.
- (4)
- According to the deformation compatibility equation of the mechanism and virtual work principle, the stiffness matrix of the whole mechanism and the constraint force of each branch are solved and the end deformation caused by the driving stiffness and branch deformation is obtained.
- (5)
- Based on the constraints of each branch, the position distribution of the clearance joints and the contact area of the joints are predicted by the probability statistical model. It solves the problem of the modeling error caused by coupling constraints of over-constrained mechanisms. The deformation caused by the joint clearance and joint contact deformation along the constraint direction at the connection between each branch and the moving platform end is analyzed. Based on the principle of virtual work, the end deformation interval caused by joint clearance and joint contact deformation is obtained.
- (6)
- Assuming that there is no coupling between rigid body displacement and elastic deformation, the four factors are regarded as mutually independent and can be linearly superposed. A high-precision static stiffness model considering multiple factors is obtained.
2.2. General Equation of High-Precision Stiffness Model of Redundant Over-Constrained PMs Considering Multiple Factors
2.3. Stiffness Matrix Derivation and Restraint Force Analysis of Redundant PMs with Ideal Joints
2.4. Stiffness Modeling Method of Over-Constrained Redundant PMs Considering Joint Clearance and Joint Contact Deformation
- (1)
- Firstly, the drive force , constraint force and constraint couple of redundant and non-redundant branches are solved by using the system stiffness matrix of the ideal joint.
- (2)
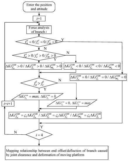
- It is assumed that the additional motion of the branch with clearance is in the same direction as the restraint force of the branch. According to the size and direction of the restraint force of each branch, the additional motion direction of the branch with gaps can be determined. The static stiffness modeling process of redundant over-constrained PMs when considering joint clearance is shown in Figure 1.
- (3)
- First, the coupling effect of the constraint and constraint couple is ignored and the constraint is considered as a pure force or a pure couple. In most working conditions, the drive force of each branch is much greater than the constraint force, so it is assumed that the clearance joint offset/deflection and joint contact area in the drive force direction reach the maximum. It is also assumed that the ratio of the drive force in the branch with clearance to the offset along the drive force direction and the ratio of the constraint force to the offset along the constraint direction are equal and regarded as constant (which can be approximately equivalent to a spring system with equal stiffness)
- (4)
- The offset/deflection of the end of each branch caused by the joint clearance and joint contact deformation is mapped to the deformation of the moving platform by the principle of virtual work. When the deviation of the restraint direction of the clearance joint does not reach the maximum value, the direction also does not reach the contact state and there is no contact deformation between the joints. The static stiffness modeling process of the redundant PM when considering the contact deformation of the joint is shown in Figure 2 ( represents the contact deformation caused by the constraint of branch i, represents the contact deformation caused by the driving force of branch i and represents the angular contact deformation caused by the constraint couple of branch i.).
- (5)
- In order to solve the uncertainty of the gap joint offset value and joint contact area caused by the branch-coupling force, a random method can be used to describe the variation characteristics of the gap and contact area. is the correction coefficient of random physical variables. Based on the maximum value of the clearance joint offset value and joint contact area, a specific probability distribution attribute is assigned. Using the Monte Carlo method, the probability distribution of the stiffness of the mechanism under a given position and attitude is obtained. The influence of joint clearance and joint contact deformation on the end stiffness is predicted through the probability statistical model, and the variation range of the end stiffness is approximately determined.
3. Example Analysis of 2UPR-RR-2RPU Redundant PM Stiffness Considering Multiple Factors
3.1. Configuration Analysis of 2UPR-RR-2RPU Redundant PM
3.2. Stiffness Analysis of 2UPR-RR-2RPU Over-Constrained Redundant PM with Ideal Joint
3.2.1. Full Jacobian Matrix Solution for 2UPR-RR-2RPU Redundant PM
3.2.2. Solution of Driving Stiffness Matrix of UPR-RR-2RPU Redundant PM Branch
3.2.3. Solution of Branch Restraint Stiffness Matrix of 2UPR-RR-2RPU Redundant PM
4. Stiffness Analysis of 2UPR-RR-2RPU Redundant PM Considering Joint Clearance and Joint Contact Deformation
- (a)
- The R pair shaft and the U pair cross shaft are regarded as rigid bodies, and the shaft is in complete contact with the inner wall of the outer cylinder of the rod.
- (b)
- The friction force of the joint, the gravity of the rod and the deformation of the branch are ignored. The branch is regarded as a two-force rod.
- (c)
- The clearance of the driving pair is not considered.
- (d)
- It is assumed that the linear/angular displacement of the joint reaches the maximum value under the action of the constraint force/couple.
- (e)
- The clearance at the end of the branch is approximately equal to the linear superposition of the linear/angular displacements of each joint in the branch caused by the constraint force/couple.
- (f)
- Without considering the coupling effects of the constraint force and constraint couple on the joint with clearance, the linear displacement/angular displacement of the joint with clearance under the pure force/pure couple is calculated independently, and then a statistical probability model is used to modify the simplified gap stiffness model.
5. Synthesis Example of Weakly Coupled Three-Translation PM
5.1. Global Stiffness Analysis of Ideal Joints
5.2. Comparison between Theoretical Model and Finite Element Model of Static Stiffness for Ideal Joint
5.3. Model Correction Considering Hinge Clearance and Hinge Contact Deformation Stiffness
5.4. Comparison between Theoretical Model and Finite Element Model Considering Joint Clearance and Joint Contact Deformation
5.5. Stiffness Model Analysis of 2UPR-RR-2RPU Redundant PM Considering Multiple Factors
6. Conclusions
Author Contributions
Funding
Institutional Review Board Statement
Informed Consent Statement
Data Availability Statement
Conflicts of Interest
References
- Xu, Y.D.; Yao, J.T.; Jin, L.G.; Zhao, Y.S. Method for force analysis of the over-constrained parallel mechanism considering the link’s spatial composite elastic deformations. J. Mech. Eng. 2015, 51, 53–60. [Google Scholar] [CrossRef]
- Lian, B.; Sun, T.; Song, Y.; Jin, Y.M. Price, Stiffness analysis and experiment of a novel 5-DOF parallel kinematic machine considering gravitational effects. Int. J. Mach. Tools Manuf. 2015, 95, 82–96. [Google Scholar] [CrossRef]
- Liu, H.; Huang, T.D.G.; Chetwynd, A. Kecskemethy, Stiffness modeling of parallel mechanisms at limb and joint/link levels. IEEE Trans. Robot. 2017, 33, 734–741. [Google Scholar] [CrossRef]
- Yang, C.Q.; Li, C.; Chen, Q.H.; Xu, L.M. Elastostatic stiffness modeling of over-constrained parallel manipulators. Mech. Mach. Theory 2018, 122, 58–74. [Google Scholar] [CrossRef]
- Yang, C.; Chen, Q.; Tong, J.; Li, Q.C. Elastostatic stiffness analysis of a 2PUR-PSR over-constrained PM. Int. J. Precis. Eng. Manuf. 2019, 20, 569–581. [Google Scholar] [CrossRef]
- Shen, N.Y.; Geng, L.; Li, J.; Ye, F.; Yu, Z.; Wang, Z. Improved stiffness modeling for an exechon-like parallel kinematic machine (PKM) and its application. Chin. J. Mech. Eng. 2020, 33, 40. [Google Scholar] [CrossRef]
- Rezaei, A.; Akbarzadeh, A.; Akbarzadeh-T, M.-R. An investigation on stiffness of a 3-PSP spatial pm with flexible moving platform using invariant form. Mech. Mach. Theory 2012, 51, 195–216. [Google Scholar] [CrossRef]
- Zhang, S.S.; Liu, Q.G. Stiffness analysis of one limited-DOF parallel mechanism. Mater. Des. 2014, 4, 178–181. [Google Scholar]
- Xie, Z.J.; Dong, A.S.; Xing, S.X.; Yao, M.; Qi, S. Static stiffness analysis of the 3 degree-of-freedom proper-constraint branch chain parallel mechanism. J. Mech. Des. 2018, 35, 42–46. [Google Scholar]
- Xu, D.T.; Sun, Z.L.; Yu, X.G. Stiffness characteristic analysis of modified delta parallel mechanism based on bars’ elastic deformation. First Trans. Chin. Soc. Agric. Mach. 2013, 44, 294–298. [Google Scholar]
- Wang, M.X.; Liu, H.T.; Huang, T.; Chetwynd, D.G. Compliance analysis of a 3-SPR PM with consideration of gravity. Mech. Mach. Theory 2015, 84, 99–112. [Google Scholar] [CrossRef]
- Cao, W.A.; Ding, H.F.; Zhu, W.G. Stiffness modeling of over-constrained PMs under considering gravity and external payloads. Mech. Mach. Theory 2018, 135, 1–16. [Google Scholar] [CrossRef]
- Sadjadian, H.; Taghirad, H.D. Kinematic, singularity and stiffness analysis of the hydraulic shoulder: A 3-DOF. redundant parallel manipulator. Adv. Robot. 2006, 20, 763–781. [Google Scholar] [CrossRef]
- Wu, J.; Wang, J.S.; Wang, L.P.; Li, T.N. Dexterity and stiffness analysis of a three-degree-of-freedom planar parallel manipulator with actuation redundancy. Proc. Inst. Mech. Eng. C J. Mech. Eng. Sci. Part C J. Mech. Eng. 2007, 221, 961–969. [Google Scholar] [CrossRef]
- Guo, J.Z.; Wang, D.; Fan, R.; Chen, W.Y. Stiffness characteristics distribution of 3PRS/UPS parallel manipulator with actuation redundancy. J. Beijing Univ. Aeronaut. Astronaut. 2014, 4, 500–506. [Google Scholar]
- Song, Z.M.; Zhai, X.D.; Sun, T.; Dong, G.; Lian, P.P. Stiffness analysis of a 3-DOF redundantly actuated parallel module. Trans. Tianjin Univ. 2015, 48, 25–32. [Google Scholar]
- Qu, H.B.; Liang, Y.H.; Fang, Y.F.; Zhou, Y.L. Statics and stiffness analysis of 4-RRS redundant spherical parallel mechanism. J. Mech. Eng. 2015, 51, 8–15. [Google Scholar] [CrossRef]
- Choi, J.H.; Lee, S.J. Stochastic linkage modeling for mechanical error analysis of planar mechanisms. Mech. Struct. Mach. 1998, 26, 257–276. [Google Scholar] [CrossRef]
- Frisoli, A.; Solazzi, M.; Pellegrinetti, D.; Bergamasco, M. A new screw theory method for the estimation of position accuracy in spatial parallel manipu-lators with revolute joint clearances. Mech. Mach. Theory 2011, 46, 1929–1949. [Google Scholar] [CrossRef]
- Wang, J.; Zhang, J.; Du, X. Hybrid dimension reduction for mechanism reliability analysis with random joint clearances. Mech. Mach. Theory 2011, 46, 1396–1410. [Google Scholar] [CrossRef]
- Yao, R.; Zhu, W.; Huang, P. Accuracy analysis of Stewart platform based on interval analysis method. Chin. J. Mech. Eng. 2013, 2, 29–34. [Google Scholar] [CrossRef]
- Chouaibi, Y.; Chebbi, A.H.; Affi, Z.; Romdhane, L. Analytical modeling and analysis of the clearance induced orientation error of the RAF translational parallel manipulator. Robotica 2014, 34, 1898–1921. [Google Scholar] [CrossRef]
- Zhang, X.; Zhang, X. Accuracy analysis of a 3-dof mechanism with joint clearances under different working modes. In Proceedings of the ASIAN MMS 2016 & CCMMS 2016, Guangzhou, China, 15–17 December 2016; Springer: Singapore; pp. 1199–1209. [Google Scholar]
- Cammarata, A. A novel method to determine position and orientation errors in clearance-affected overconstrained mechanisms. Mech. Mach. Theory 2017, 118, 247–264. [Google Scholar] [CrossRef]
- Ding, J.; Wang, C. Error modeling and singularity analysis of planar parallel mechanisms using optimized expression of joint clearances and link deformation. Proc. Inst. Mech. Eng. C J. Mech. Eng. Sci. Part C J. Mech. Eng. Sci. 2021, 235, 6219–6227. [Google Scholar] [CrossRef]



















| Posture | Method | /mm | /mm | /mm | /° | /° | /° |
|---|---|---|---|---|---|---|---|
| 1 | Theory value | 0.0232 | 0.1460 | −0.00036 | 0.00 72 | 0.0011 | 0.0652 |
| Simulation value | 0.0213 | 0.1387 | −0.00039 | 0.0075 | 0.0012 | 0.0932 | |
| error/% | 8.92 | 5.26 | 7.69 | 4.00 | 8.33 | 8.58 | |
| 2 | Theory value | −0.0920 | 0.1176 | 0.0184 | 0.0058 | −0.0058 | 0.0729 |
| Simulation value | −0.0968 | 0.1126 | 0.0170 | 0.0055 | −0.0061 | 0.0790 | |
| error/% | 4.96 | 4.44 | 8.23 | 5.45 | 4.92 | 7.72 |
| Load 1 | Load 2 | |||||
|---|---|---|---|---|---|---|
| x | y | z | x | y | z | |
| Maximum stiffness considering joint clearance/mm | 0.0226 | 0.0139 | −0.1120 | 0.1816 | 0.1819 | −0.0990 |
| Minimum stiffness considering joint clearance/mm | 0.0012 | 0.0128 | −0.1208 | 0.1237 | 0.1524 | −0.0844 |
| Range of interval/mm | 0.0214 | 0.0011 | 0.0088 | 0.0579 | 0.0295 | 0.0146 |
| Sample mean value/mm | 0.0130 | 0.0134 | −0.1170 | 0.1543 | 0.1689 | −0.0920 |
| Maximum stiffness considering joint contact/μm | 0.0493 | 0.0200 | −0.4207 | 0.0964 | 0.1442 | −0.0483 |
| Minimum stiffness considering joint contact/μm | −0.0298 | 0.0181 | −0.4636 | 0.0847 | 0.1337 | −0.0417 |
| Range of interval/μm | 0.0150 | 0.0194 | −0.4462 | 0.0117 | 0.0105 | 0.0066 |
| Sample mean value/μm | 0.0150 | 0.0194 | −0.4462 | 0.0908 | 0.1391 | −0.0447 |
| Finite element simulation/mm | 0.0129 | 0.0128 | −0.1106 | 0.1616 | 0.1706 | −0.0927 |
| Error/% | 0.78 | 4.69 | 5.79 | 4.51 | 0.99 | 0.75 |
Disclaimer/Publisher’s Note: The statements, opinions and data contained in all publications are solely those of the individual author(s) and contributor(s) and not of MDPI and/or the editor(s). MDPI and/or the editor(s) disclaim responsibility for any injury to people or property resulting from any ideas, methods, instructions or products referred to in the content. |
© 2023 by the authors. Licensee MDPI, Basel, Switzerland. This article is an open access article distributed under the terms and conditions of the Creative Commons Attribution (CC BY) license (https://creativecommons.org/licenses/by/4.0/).
Share and Cite
Wang, S.; Li, H.; Han, X.; Wei, J.; Zhang, T.; Li, S. Research on High Precision Stiffness Modeling Method of Redundant Over-Constrained Parallel Mechanism. Sensors 2023, 23, 5916. https://doi.org/10.3390/s23135916
Wang S, Li H, Han X, Wei J, Zhang T, Li S. Research on High Precision Stiffness Modeling Method of Redundant Over-Constrained Parallel Mechanism. Sensors. 2023; 23(13):5916. https://doi.org/10.3390/s23135916
Chicago/Turabian StyleWang, Sen, Haoran Li, Xueyan Han, Jiahao Wei, Tao Zhang, and Shihua Li. 2023. "Research on High Precision Stiffness Modeling Method of Redundant Over-Constrained Parallel Mechanism" Sensors 23, no. 13: 5916. https://doi.org/10.3390/s23135916
APA StyleWang, S., Li, H., Han, X., Wei, J., Zhang, T., & Li, S. (2023). Research on High Precision Stiffness Modeling Method of Redundant Over-Constrained Parallel Mechanism. Sensors, 23(13), 5916. https://doi.org/10.3390/s23135916

