A Deep Learning Model with Signal Decomposition and Informer Network for Equipment Vibration Trend Prediction
Abstract
1. Introduction
- We propose a novel and effective signal decomposition approach for equipment operation trend prediction. In order to solve the problem of difficulty in determining the number of signal decomposition algorithms, an improved sparrow search algorithm optimization decomposition algorithm was proposed.
- The fuzzy entropy scale of the signal after one decomposition is taken into account by us. A signal decomposition algorithm for VMD-ICEEMDAN quadratic decomposition was constructed by decomposing the component with the highest fuzzy entropy using ICEEMDAN.
- We innovatively combine the VMD-ICEEMDAN model and the Informer approach, and a novel equipment running trend prediction approach is proposed to improve the prediction results. Through a large number of comparative experiments, it has been proven that the method proposed in this paper is indeed efficient.
2. Related Work
- Deep learning models. In Guo et al. [15], a Recurrent Neural Network (RNN) based health indicator was proposed to predict the RUL of bearings. RNN can mine temporal and semantic information from time series. In Qin et al. [16], the root mean square at different times was used as the health indicator, and a new kind of gated recurrent unit (GRU) neural network with dual attention gates was used to predict the trend of achieving health indicators. Still, the error will gradually increase under transient (nonstationary) operating conditions. A novel feature-attention-based end-to-end approach was proposed for RUL prediction by Liu et al. [17]. Convolutional neural networks (CNN) are applied to capture local features from the output sequences of BGRU, but the prediction performance needs to be improved. Yang, et al. [18] introduced Informer into the time series forecasting of motor bearing vibration, which reduced the error accumulation in forecasting.
- The combination of signal decomposition and deep learning models. Nowadays, very few studies use only one of the linear, nonlinear, wavelet transform, or other mathematical models for trend prediction of equipment. The majority of research incorporates machine learning or deep learning models. In Wang et al. [19], a novel method of rubbing fault diagnosis based on variational mode decomposition (VMD) was proposed, which could non-recursively decompose a multi-component signal into a number of quasi-orthogonal intrinsic mode functions. The fault separation upon the principles of empirical mode decomposition (EMD), envelope analysis and the pseudo-fault signal was built by Singh, and Zhao [20], which solved the mode mixing problem inherent in EMD. Qiu et al. [21] used EMD to decompose the power load series to obtain a series of intrinsic mode functions and then used deep belief networks to predict the intrinsic mode functions. Liang et al. [22] used ICEEMDAN to decompose the original series into different levels of components and then used a network composed of short-term and short-term memory, convolutional neural networks, and convolutional attention modules (LSTM-CNN-CBAM) to predict all components, proving that the decomposed time series components are superior to the undissociated time series components in terms of model prediction accuracy.
3. Methodology
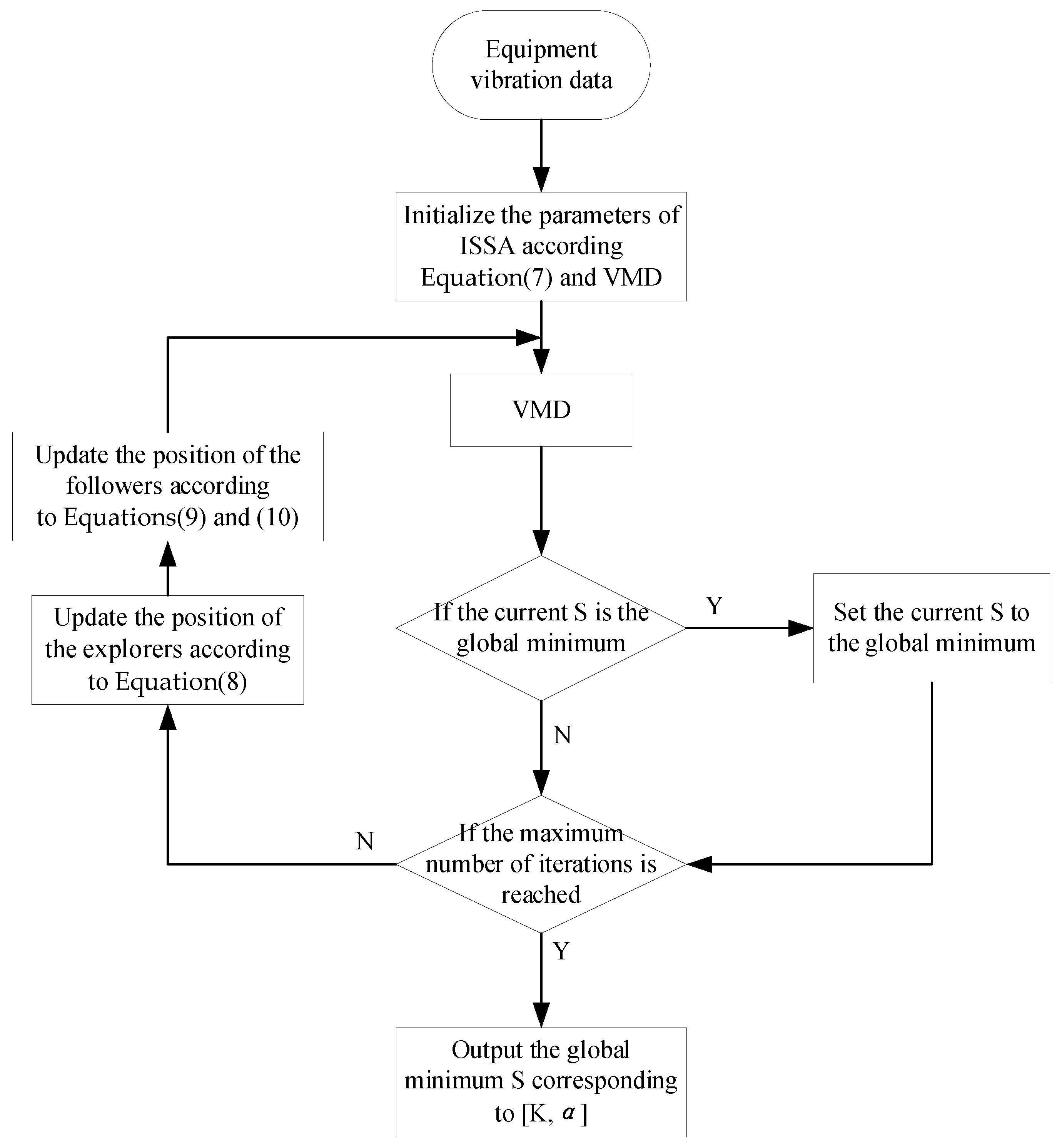
3.1. VMD and Its Improvement
| Algorithm 1: VMD |
| Initialize , , , |
| Repeat |
| For do Update for all : Update : end for Dual ascent for all : until convergence: |
3.2. ICEEMDAN
- Add a set of white noise to the original sequence, constructing a sequence , The first set of residuals is obtained: .
- Calculation of the first modal component: .
- Continue to add white noise and use local mean decomposition to calculate the second set of residuals . Define the second modal component d2.
- Calculate the Kth residual and modal component .
- Until the end of the computational decomposition, all modalities and residual numbers are obtained.
3.3. Informer
3.4. Deep VMD-ICEEMDAN-Informer Prediction Model
- Step 1
- The number of decompositions K and the penalty factor are obtained according to the ISSA optimized VMD algorithm proposed in Section 3.1. Decomposition of equipment operation process monitoring data into K subseries VMFs using the VMD decomposition algorithm.
- Step 2
- Calculate the fuzzy entropy of the VMF of the subseries decomposed in Step 1. The magnitude of the fuzzy entropy reflects the complexity of the signal; the higher the complexity of the signal, the larger the fuzzy entropy value.
- Step 3
- The subseries VMF_M with the highest fuzzy entropy is subjected to ICEEMDAN quadratic decomposition; the modal components obtained by quadratic decomposition often contain some pseudo-modal components, which are irrelevant and do not reflect the characteristics of IMF_M. Therefore, the pseudo-modal components need to be eliminated, and the number of interrelationships of the components from the ICEEMDAN secondary decomposition is calculated to eliminate the irrelevant components. Then the components are denoised in order to avoid the data failing to converge and the model training time being too long; the components are normalized.
- Step 4
- Informer prediction models are built and predicted for the subsequences generated by Step 2 and Step 3, respectively.
- Step 5
- The individual subsequence prediction results obtained from Step 4 are reconstructed to obtain the final results of the equipment operation trend prediction.
4. Experiments and Analysis
4.1. Experimental Data
4.2. Setup of the Parameters and Comparison
4.2.1. Parameters
4.2.2. Comparison
4.3. Experimental Results and Analysis
4.3.1. X-Axis Vibration Data from Inclination Sensor (Data 1)
4.3.2. Y-Axis Vibration Data from Inclination Sensor (Data 2)
4.3.3. X-Axis Vibration Data from Vibration Sensor (Data 3)
4.3.4. Y-Axis Vibration Data from Vibration Sensor (Data 4)
5. Discussion
6. Conclusions
- (1)
- The randomness and volatility of equipment operation trend data after VMD decomposition decreased. The ICEEMDAN secondary decomposition of components with excessive fuzzy entropy can obtain more characteristic information containing equipment operation trends, and the non-stationary nature of the sequence after the secondary decomposition is greatly reduced.
- (2)
- Using the Informer model to predict the decomposed sequence is different from traditional machine learning models. Informer’s parallel computing ability has been significantly improved, and the model’s running speed has been effectively improved.
Author Contributions
Funding
Institutional Review Board Statement
Informed Consent Statement
Data Availability Statement
Conflicts of Interest
References
- Dey, R.; Salem, F.M. Gate-variants of Gated Recurrent Unit (GRU) neural networks. In Proceedings of the 2017 IEEE 60th International Midwest Symposium on Circuits and Systems (MWSCAS), Boston, MA, USA, 6–9 August 2017; pp. 1597–1600. [Google Scholar]
- Gu, J.; Wang, Z.; Kuen, J.; Ma, L.; Shahroudy, A.; Shuai, B.; Liu, T.; Wang, X.; Wang, G.; Cai, J.; et al. Recent advances in convolutional neural networks. Pattern Recognit. J. Pattern Recognit. Soc. 2018, 77, 354–377. [Google Scholar] [CrossRef]
- Shi, X.; Chen, Z.; Wang, H.; Yeung, D.Y.; Wong, W.K.; Woo, W.C. Convolutional LSTM Network: A Machine Learning Approach for Precipitation Nowcasting; MIT Press: Cambridge, MA, USA, 2015. [Google Scholar]
- Figlus, T.; Liščák, Š.; Wilk, A.; Łazarz, B. Condition monitoring of engine timing system by using wavelet packet decomposition of a acoustic signal. J. Mech. Sci. Technol. 2014, 28, 1663–1671. [Google Scholar] [CrossRef]
- West, B.J. Auto Regressive Integrated Moving Average (ARIMA). In Physiology, Promiscuity and Prophecy at the Millennium: A Tale of Tails; World Scientific: Singapore, 1999. [Google Scholar]
- Han, J.; van der Baan, M. Empirical Mode Decomposition for Seismic Time-Frequency Analysis. Geophysics 2013, 78, O9–O19. [Google Scholar] [CrossRef]
- Che, C.; Wang, H.; Fu, Q.; Ni, X. Intelligent fault prediction of rolling bearing based on gate recurrent unit and hybrid autoencoder. Proc. Inst. Mech. Eng. Part C J. Mech. Eng. Sci. 2020, 235, 1106–1114. [Google Scholar] [CrossRef]
- Dragomiretskiy, K.; Zosso, D. Variational Mode Decomposition. IEEE Trans. Signal Process. 2014, 62, 531–544. [Google Scholar] [CrossRef]
- Torres, M.E.; Colominas, M.A.; Schlotthauer, G.; Flandrin, P. A complete ensemble empirical mode decomposition with adaptive noise. In Proceedings of the 2011 IEEE International Conference on Acoustics, Speech and Signal Processing (ICASSP), Prague, Czech Republic, 22–27 May 2011. [Google Scholar]
- Colominas, M.A.; Schlotthauer, G.; Torres, M.E. Improved complete ensemble EMD: A suitable tool for biomedical signal processing. Biomed. Signal Process. Control. 2014, 14, 19–29. [Google Scholar] [CrossRef]
- Lipton, Z.C.; Berkowitz, J.; Elkan, C. A Critical Review of Recurrent Neural Networks for Sequence Learning. arXiv 2015, arXiv:1506.00019. [Google Scholar]
- Vaswani, A.; Shazeer, N.; Parmar, N.; Uszkoreit, J.; Jones, L.; Gomez, A.N.; Kaiser, Ł.; Polosukhin, I. Attention Is All You Need. In Proceedings of the 31st International Conference on Neural Information Processing Systems (NIPS ’17), Long Beach, CA, USA, 4–9 December 2017; Volume 30. [Google Scholar]
- Tay, Y.; Dehghani, M.; Bahri, D.; Metzler, D. Efficient Transformers: A Survey. ACM Comput. Surv. 2022, 55, 1–28. [Google Scholar] [CrossRef]
- Zhou, H.; Zhang, S.; Peng, J.; Zhang, S.; Li, J.; Xiong, H.; Zhang, W. Informer: Beyond Efficient Transformer for Long Sequence Time-Series Forecasting. Proc. AAAI Conf. Artif. Intell. 2020, 35, 11106–11115. [Google Scholar] [CrossRef]
- Guo, L.; Li, N.; Jia, F.; Lei, Y.; Lin, J. A recurrent neural network based health indicator for remaining useful life prediction of bearings. Neurocomputing 2017, 240, 98–109. [Google Scholar] [CrossRef]
- Qin, Y.; Chen, D.; Xiang, S.; Zhu, C. Gated Dual Attention Unit Neural Networks for Remaining Useful Life Prediction of Rolling Bearings. IEEE Trans. Ind. Inform. 2020, 17, 6438–6447. [Google Scholar] [CrossRef]
- Liu, H.; Liu, Z.; Jia, W.; Lin, X. Remaining Useful Life Prediction Using a Novel Feature-Attention-Based End-to-End Approach. IEEE Trans. Ind. Inform. 2020, 17, 1197–1207. [Google Scholar] [CrossRef]
- Yang, Z.; Liu, L.; Li, N.; Tian, J. Time Series Forecasting of Motor Bearing Vibration Based on Informer. Sensors 2022, 22, 5858. [Google Scholar] [CrossRef]
- Wang, Y.; Markert, R.; Xiang, J.; Zheng, W. Research on variational mode decomposition and its application in detecting rub-impact fault of the rotor system. Mech. Syst. Signal Process. 2015, 60, 243–251. [Google Scholar] [CrossRef]
- Singh, D.S.; Zhao, Q. Pseudo-fault signal assisted EMD for fault detection and isolation in rotating machines. Mech. Syst. Signal Process. 2016, 81, 202–218. [Google Scholar] [CrossRef]
- Qiu, X.; Ren, Y.; Suganthan, P.N.; Amaratunga, G.A. Empirical Mode Decomposition based ensemble deep learning for load demand time series forecasting. Appl. Soft Comput. 2017, 54, 246–255. [Google Scholar] [CrossRef]
- Liang, Y.; Lin, Y.; Lu, Q. Forecasting gold price using a novel hybrid model with ICEEMDAN and LSTM-CNN-CBAM. Expert Syst. Appl. 2022, 206, 117847. [Google Scholar] [CrossRef]
- Lian, J.; Liu, Z.; Wang, H.; Dong, X. Adaptive variational mode decomposition method for signal processing based on mode characteristic. Mech. Syst. Signal Process. 2018, 107, 53–77. [Google Scholar] [CrossRef]
- Wang, Z.; He, G.; Du, W.; Zhou, J.; Han, X.; Wang, J.; He, H.; Guo, X.; Wang, J.; Kou, Y. Application of Parameter Optimized Variational Mode Decomposition Method in Fault Diagnosis of Gearbox. IEEE Access 2019, 7, 44871–44882. [Google Scholar] [CrossRef]
- Zhang, X.; Miao, Q.; Zhang, H.; Wang, L. A parameter-adaptive VMD method based on grasshopper optimization algorithm to analyze vibration signals from rotating machinery. Mech. Syst. Signal Process. 2018, 108, 58–72. [Google Scholar] [CrossRef]
- Saremi, S.; Mirjalili, S.; Lewis, A. Grasshopper Optimisation Algorithm: Theory and application. Adv. Eng. Softw. 2017, 105, 30–47. [Google Scholar] [CrossRef]
- Qin, J.; Peng, J.; Lv, Y. Short-term traffic flow prediction based on the combined model of SSA-VMD decomposition and IPSO-LSTM-ATTENTION. In Proceedings of the 2022 International Conference on Computers, Information Processing and Advanced Education (CIPAE), Ottawa, ON, Canada, 26–28 August 2022. [Google Scholar]
- Zair, C. Multi-fault diagnosis of rolling bearing using fuzzy entropy of empirical mode decomposition, principal component analysis, and SOM neural network. Proc. Inst. Mech. Eng. Part C J. Mech. Eng. Sci. 2019, 233, 3317–3328. [Google Scholar] [CrossRef]
- Ge, Q.; Guo, C.; Jiang, H.; Lu, Z.; Yao, G.; Zhang, J.; Hua, Q. Industrial Power Load Forecasting Method Based on Reinforcement Learning and PSO-LSSVM. IEEE Trans. Cybern. 2022, 52, 1–13. [Google Scholar] [CrossRef] [PubMed]
- Xue, J.; Shen, B. A novel swarm intelligence optimization approach: Sparrow search algorithm. Syst. Sci. Control. Eng. 2020, 8, 22–34. [Google Scholar] [CrossRef]














| Parameter | Value |
|---|---|
| Encoder layers | 2 |
| ProbSparse Attention | 8 |
| Decoder layers | 1 |
| Multi-head Attention | 2 |
| Learning rate | 0.00001 |
| Batch size | 32 |
| Maximum iterations | 200 |
| Dropout | 0.1 |
| Training data length | 720 |
| Predicted length | 168 |
| Method | MSE | MAE | RMSE | Running Time (s) |
|---|---|---|---|---|
| Informer | 0.1027 | 0.1098 | 0.1108 | 258 |
| VMD−Informer | 0.0733 | 0.0749 | 0.0951 | 243 |
| ICEEMEDAN−Informer | 0.1895 | 0.1918 | 0.2136 | 364 |
| VMD−ICEEMDAN−LSTM | 0.1907 | 0.1949 | 0.2278 | 598 |
| VMD−ICEEMDAN−GRU | 0.1854 | 0.1983 | 0.2262 | 525 |
| VMD−ICEEMDAN−CNN | 0.2752 | 0.3274 | 0.3515 | 794 |
| VIInformer | 0.0115 | 0.0262 | 0.0334 | 332 |
| Method | MSE | MAE | RMSE | Running Time (s) |
|---|---|---|---|---|
| Informer | 0.0925 | 0.0992 | 0.0988 | 262 |
| VMD−Informer | 0.0733 | 0.0879 | 0.0851 | 251 |
| ICEEMEDAN−Informer | 0.1115 | 0.1368 | 0.1416 | 375 |
| VMD−ICEEMDAN−LSTM | 0.0827 | 0.0984 | 0.0987 | 608 |
| VMD−ICEEMDAN−GRU | 0.0833 | 0.0897 | 0.0751 | 561 |
| VMD−ICEEMDAN−CNN | 0.1145 | 0.1318 | 0.1036 | 821 |
| VIInformer | 0.0532 | 0.0655 | 0.0634 | 344 |
| Method | MSE | MAE | RMSE | Running Time (s) |
|---|---|---|---|---|
| Informer | 6.271 × 10−5 | 6.645 × 10−3 | 7.188 × 10−3 | 288 |
| VMD−Informer | 6.303 × 10−5 | 6.214 × 10−3 | 7.041 × 10−3 | 269 |
| ICEEMEDAN−Informer | 9.805 × 10−5 | 7.804 × 10−3 | 8.436 × 10−3 | 385 |
| VMD−ICEEMDAN−LSTM | 4.783 × 10−5 | 5.949 × 10−3 | 7.397 × 10−3 | 614 |
| VMD−ICEEMDAN−GRU | 4.234 × 10−5 | 6.083 × 10−3 | 6.731 × 10−3 | 557 |
| VMD−ICEEMDAN−CNN | 6.395 × 10−5 | 7.138 × 10−3 | 8.246 × 10−3 | 847 |
| VIInformer | 2.807 × 10−5 | 3.054 × 10−3 | 4.643 × 10−3 | 371 |
| Method | MSE | MAE | RMSE | Running Time (s) |
|---|---|---|---|---|
| Informer | 0.0837 | 0.1004 | 0.1058 | 289 |
| VMD−Informer | 0.0639 | 0.0984 | 0.0901 | 260 |
| ICEEMEDAN−Informer | 0.1255 | 0.1274 | 0.1316 | 391 |
| VMD−ICEEMDAN−LSTM | 0.0976 | 0.0989 | 0.0987 | 599 |
| VMD−ICEEMDAN−GRU | 0.0933 | 0.0983 | 0.0971 | 521 |
| VMD−ICEEMDAN−CNN | 0.1395 | 0.1438 | 0.1446 | 834 |
| VIInformer | 0.00095 | 0.00262 | 0.00234 | 368 |
Disclaimer/Publisher’s Note: The statements, opinions and data contained in all publications are solely those of the individual author(s) and contributor(s) and not of MDPI and/or the editor(s). MDPI and/or the editor(s) disclaim responsibility for any injury to people or property resulting from any ideas, methods, instructions or products referred to in the content. |
© 2023 by the authors. Licensee MDPI, Basel, Switzerland. This article is an open access article distributed under the terms and conditions of the Creative Commons Attribution (CC BY) license (https://creativecommons.org/licenses/by/4.0/).
Share and Cite
Wang, H.; Guo, M.; Tian, L. A Deep Learning Model with Signal Decomposition and Informer Network for Equipment Vibration Trend Prediction. Sensors 2023, 23, 5819. https://doi.org/10.3390/s23135819
Wang H, Guo M, Tian L. A Deep Learning Model with Signal Decomposition and Informer Network for Equipment Vibration Trend Prediction. Sensors. 2023; 23(13):5819. https://doi.org/10.3390/s23135819
Chicago/Turabian StyleWang, Huiyun, Maozu Guo, and Le Tian. 2023. "A Deep Learning Model with Signal Decomposition and Informer Network for Equipment Vibration Trend Prediction" Sensors 23, no. 13: 5819. https://doi.org/10.3390/s23135819
APA StyleWang, H., Guo, M., & Tian, L. (2023). A Deep Learning Model with Signal Decomposition and Informer Network for Equipment Vibration Trend Prediction. Sensors, 23(13), 5819. https://doi.org/10.3390/s23135819
