Ionospheric Narrowband and Wideband HF Soundings for Communications Purposes: A Review
Abstract
1. Ionospheric Historical Context
2. Ionosphere Characteristics
2.1. The Regions of the Ionosphere in Terms of Latitude
- The high-latitude ionosphere is clearly dynamic.
- The Sun energy particles access easily to this region, and produce an additional ionization, most of the times affected also by sporadic events, worsening the polar radio propagation.
- The high-latitude region is also the auroral zone. This phenomena includes also electrojets and substorms, where the rate of ionization is greately increased due to the arrival of energetic electrons.
- A zone of lesser ionization can be formed between the auroral and the mid-latitude ionosphere, despite the mechanism of formation of the trough are not clear.
2.2. Ionosphere Layers: Day-Night and Latitude Dependencies
2.3. Ordinary and X-Ordinary Waves: Description and Latitude Dependencies
2.4. Technical Procedures and Metrics to Analyze the Ionospheric Variations
2.4.1. Oblique and Vertical Sounding
2.4.2. Narrowband and Wideband Techniques: SNR, Availability and Time and Frequency Dispersion
3. State of the Art of Sky Wave Sounding
3.1. Recommendation ITU-R P.845-3
- Measurement of sky-wave signal intensities above 1.6 MHz;
- HF field-strength measurement technique. Specifications for field-strength measurement campaign with the aim to improve future prediction methods.
3.1.1. Measurement of Sky-Wave Signal Intensities above 1.6 MHz
Transmitter
Receiver
3.1.2. HF Field-Strength Measurement Technique
- FSK preamble at 100 bit/s for 1 s, comprising signal reversals commencing on the mark frequency;
- A pause of 50 ms;
- An identification signal in Morse code on the higher frequency contained within a period not exceeding 3.3 s;
- A pause of 50 ms;
- A 256-bit complementary sequence transmitted at 1200 bit/s as follows: Sequence 1 = 111001000010100000010100110110000001101100101000111010111101100000011011110101 1100010100110110001110010011010111111010 11110110000001101111010111111010110010011 1000110110010100011101011110110001110010000101000111010110010011 111100100110101111110101111011000;
- A pause of 50 ms;
- A seconds 256-bit complementary sequence transmitted at 1200 bit/s as follows: Sequence 2 = 0001101111010111111010110010011111100100110101110001010000100111000110 1111010111000101001101100011100100110101111110101111011000111001000010 1000000101001101100011100100110101110001010000100111111001000010100011 1010110010011111100100110101111110101111011000;
- A pause of 50 ms;
- A series of FSK reversals, comprising 273 bits at 100 bit/s, commencing on the lower frequency;
- A 127 bit Gold code identifier sequence [32], at 100 bit/s, commencing on the lower frequency;
- a constant signal on the higher frequency for a duration of at least 3 s, which should continue until the total time for the sequence is 12 s.
- synthesizer control (10 Hz step);
- external bus available for computer control;
- frequency accuracy part in ;
- synthesizer noise sidebands: reciprocal mixing performance better than 70 dB in a bandwidth of 3 kHz at 20 kHz offset;
- sensitivity SSB 1.0 mV terminated for at least 10 dB (S + N) /N for a bandwidth of 3 kHz;
- unwanted spurious responses (e.g., image, IF) better than 70 dB;
- selectivity: approximately 3 kHz bandwidth, shape factor (−60 dB to −6 dB) 2:1;
- linearity: 3rd-order intercept point, 20 kHz spacing, +10 dBm;
- true average measuring capability within 4 s;
- timing accuracy within the receiver system should be maintained within 1 s.
3.2. GIRO
- Frequency scan range from 0.5 up to 30 MHz with a size step selectable to 1 kHz;
- Ionogram scan time from 2 up to 200 s;
- Fully digital frequency synthesis (frequency switching time <1 μs);
- Pulse repetition rate of 100 and 200 pps;
- 533 μs (16 chips of 33 μs) waveform with 30 kHz signal bandwidth;
- 2 transmit antenna connectors for turnstile transmit antennas;
- Dual RF MOSFET amplifiers for polarized transmission;
- A peak pulse power at each of the channels of 150 W.
- Frequency range from 0.5 up to 30 MHz;
- Bandwidth of 34 kHz;
- Noise figure of 11 dB at the receiver preamplifier;
- Receiver sensitivity down to −130 dBm;
- Instantaneous dynamic range of 90 dB;
- 4 receive antenna connectors for crossed magnetic dipole antennas
- Two Embedded Intel Core 2 Duo Dual Core processor SBCs;
- Selectable range of bins (256 or 512);
- Height range from 0 up to 1200 km;
- Height resolution of 2.5 km (500 m sample spacing if using differential phase technique);
- Processing pulse compression waveform of 16 chips provides 15 dB of processing gain;
- Integration of 4 to 128 waveform provides a processing gain up to 21 dB;
- Doppler range of ±3 Hz to ±50 Hz;
- Doppler resolution of 0.0125 Hz to 12.5 Hz;
- Amplitude resolution of <0.01 dB;
- Alternating transmission with O and X, synchronized receive antenna polarizations.
- IRI-based Real-time Assimilative Model (IRTAM), that builds and publishes every 15-min an updated “global weather” map of the peak density and height in the ionosphere, as well as a map of deviations from the classic IRI climate;
- Global Assimilative Model of Bottomside Ionosphere Timelines (GAMBIT) Database and Explorer holding 15 years worth of IRTAM computed maps at 15 min cadence;.
- More than 17 million ionograms and matching ionogram-derived records of URSI-standard ionospheric characteristics and vertical profiles of electron density;
- More than 10 million records of the Doppler Skymaps showing spatial distributions over the GIRO locations and plasma drifts;
- Data and software for Traveling Ionospheric Disturbance (TID) diagnostics;
- HR2006 ray tracing software mated to the “realistic” IRTAM ionosphere.
3.3. DAMSON
3.3.1. Scope and Objectives
3.3.2. System Deployment
- The Harstad-Tuentangen link is placed on a sub-auroral region, except for highly geomagnetically active periods.
- The Isford-Tuentangen link exhibits a multi-hop paths that may reflect from ionospheric regions inside the polar cap, in the auroral zone or below the auroral zone.
- The Isford-Kiruna path, 1150 km, falls almost completely in the auroral region, ensuring that reflection zones are in a highly disturbed region of the ionosphere.
3.3.3. Measurement Setup
- An IBM compatible personal computer (PC) which is used to carry out control functions.
- Configurable parameters such as frequency and transmit bandwidth are controlled by the PC and communicated to other modules using a serial communication interface (RS232).
- A DSP card plugged into the PC to perform both the real time processing and the digital to analogue conversion required to generate waveforms.
- An HF single-sideband (SSB) to modulate the output base band signal of the DSP card. The HF driver has a high stability frequency reference better than 1 ppm and a configurable SSB bandwidth up to 12 kHz.
- The HF output fed a wide band linear Power Amplifier, which feeds the antenna system with a maximum power between 500 and 1000 W.
- A GPS receiver plugged into the PC is used to obtain time synchronization between the transmitter and the receiver.
- An IBM compatible personal computer (PC) which is used to carry out control functions, data storage, data analysis and display.
- Configurable parameters such as frequency and transmit bandwidth are controlled by the PC and communicated to other modules using a serial communication interface (RS232).
- A DSP card plugged into the PC to perform both sampling the received signal with an on board analog to digital converter (ADC), and the real time processing to detect and process received signal.
- An HF single-sideband (SSB) to demodulate the received signal obtaining a base band signal to feed the DSP card. The HF driver has a high stability frequency reference better than 1 ppm. The HF SSB can operate in automatic gain control (AGC) mode or in a manual (controlled by the PC) gain mode.
- A GPS receiver plugged into the PC is used to obtain time synchronization between the transmitter and the receiver.
3.3.4. Measurement Techniques: Waveforms
3.3.5. Results and Conclusions
3.4. WHISPER
3.4.1. Scope and Objectives
3.4.2. System Deployment
3.4.3. Measurement Setup
- A PCI interface allow the transceiver to be installed on a host PC.
- A digital Transceiver Bus Arbitration based on a CPLD from Altera. It manages the interface to the local bus side of the PCI interface device, manages the bus interface to the DSP sub-system and allows software configuration of a processing FPGA.
- A Digital Signal Processing (DSP) sub-system. It is mainly composed of a dual Super Harvard Architecture (SHARC) processor (ADSP-21060) from Analog Devices module with a 2 Mbyte × 48 bit wide shared SRAM. This module undertakes all tasks related to the digital transceiver application and benefits from specific capabilities of SHARC processors: internal architecture able to process 80 million floating operation points per second (MFLOPS), high speed link port interfaces, high speed serial ports and optimised multi-processor cluster computing.
- A 100k gates FPGA is used to perform high speed or time critical processing in hardware and also allows data path to be configured as required for any particular application.
- 4-channel digital HF receiver and 4 channel digital HF transmitter exciter.
- Digital interfaces including synchronous and asynchronous serial data interfaces
- Front-End Protection and Antialiasing filter. It is a 13th order double stage elliptical low pass filter (LPF) with a 28 MHz cutoff frequency and with 120 dB selectivity well beyond 500 MHz.
- An RF switch allows the receiver to be switched between a number of sources.
- A digitally controlled attenuator (AT65-0223) and a fixed 20.5 dB gain RF amplifier(SNA-586) with a noise figure of 5.5 dB and an input −1 dB compression point of +19 dBm.
- A 5th order Chebychev harmonic LPF with a 30 MHz cutoff frequency reduces the level of internally generated out-of-band signals reaching the ADC.
- A 14b ADC from Analog Devices (AD6644) sampling at 62.208 Msps combined with a narrowband dither source reaches a Spurious Free Dynamic Range (SFDR) higher than 110 dB. It allows a Blocking Dynamic Range (BDR) of 114 dB inside a 3 kHz bandwidth.
- A Digital Down Converter (DDC), from Graychip GC4014 DDC, composed of a digital mixer and several decimation filters selects and downconverts the channel of interest.This front-end architecture allows to reach the following receiver characteristics: sensitivity of −113 dBm, input 3rd order interception point of +19 dBm, input 2nd order interception point of +27 dBm, blocking dynamic range within a 3 kHz bandwidth of +110 dBm and a noise figure of +17 dB.
3.4.4. Measurement Techniques: Waveforms
3.4.5. Results and Conclusions
Study Case 1: 3.9 MHz
Study Case 2: 5.7 MHz
Study Case 3: 6.7 MHz
3.5. Antarctica Project
3.5.1. Scope and Objectives
3.5.2. System Deployment
3.5.3. Measurement Setup
- An embedded PC is used to control the entire system and storage data.
- A Virtex-4 XtremeDSP development platform from Xilinx, with three FPGAs that conduct all the signal processing operations needed, including the up and down conversion of the signal to be transmitted and received. This card is provided with 2xADC and 2xDAC of 14-bits. This systems is plugged to the embedded PC through PCI bus.
- A GPS unit was installed with the PPS signal, to obtain a time synchronization with an accuracy of up to 1 s, since the absolute propagation time of the wave is a possible measurement in the receiver.
- A 100 MHz Oven Controlled Crystal Oscillator (OCXO) was installed in both the transmitter and the receiver side. The frequency stability in temperature of this oscillator is ±0.1 ppb.
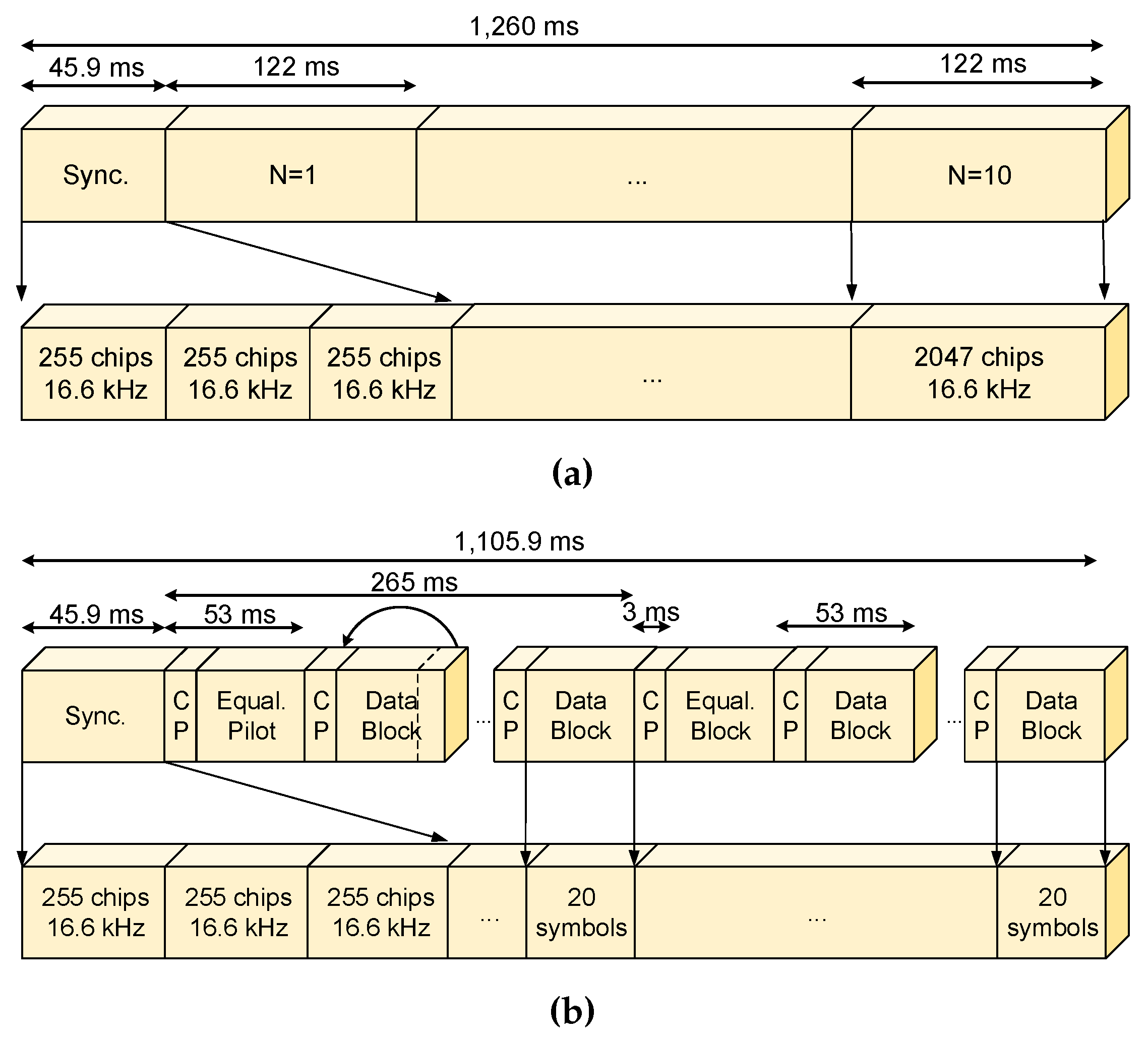
3.5.4. Measurement Techniques: Waveforms Used
3.5.5. Results and Conclusions
4. Conclusions
Author Contributions
Funding
Acknowledgments
Conflicts of Interest
Abbreviations
| ADC | Analog to Digital Converter | 
| AGC | Automatic Gain Control | 
| ARCS | Automatic Radio Control System | 
| ASAPS | Advanced Stand Alone Prediction System | 
| BDR | Blocking Dynamic Range | 
| BLOS | Beyond line-of-sight | 
| BPSK | Bi-Phase Shift Keyed | 
| CW | Continuous Waveform | 
| CRC | Communications Research Centre | 
| DAC | Digital to Analog Converter | 
| DD | Delay Doppler | 
| DDC | Digital Down Converter | 
| DERA | Defence Evaluation Research Agency | 
| DSP | Digital Signal Processing | 
| EO | Ebro Observatory | 
| FFI | Forsvarets Forskningsinstitutt | 
| FOA | Försvarets Forskningsanstalt | 
| FOT | Frequency of Optimum Transmission | 
| FPGA | Field Programmable Gate Array | 
| GAMBIT | Global Assimilative Model of Bottomside Ionosphere Timelines | 
| GPS | Global Positioning System | 
| HF | High Frequency | 
| ICEPAC | Ionospheric Communications Enhanced Profile Analysis and Circuit Prediction Program | 
| INTERMAGNET | INTErnational Real-time MAGnetic observatory NETwork | 
| IONCAP | Ionospheric Communications Analysis and Prediction Program | 
| INAG | Ionosonde Network Advisory Group | 
| ITU-R | The Radiocommunications section of International Telecommunications Union | 
| IRE | Institute of Electronic Engineers | 
| LGDC | Lowell GIRO Data Center | 
| LOS | Line-of-Sight | 
| MFLOPS | Million Floating Operation Points Per Second | 
| NVIS | Near Vertical Incidence Sounding | 
| OCXO | Oven Controlled Crystal Oscillator | 
| PC | Personal Computer | 
| PLD | Programmable Logic Device | 
| PPS | Pulse per Second | 
| SFDR | Spurious Free Dynamic Range | 
| SHARC | Super Harvard Architecture | 
| SNR | Signal to Noise Ratio | 
| SSB | Single-Sideband | 
| TID | Traveling Ionospheric Disturbance | 
| TOF | Time of Flight | 
| VOACAP | Voice of America Coverage Analysis Program | 
References
- Maxwell, J. A Treatise on Electricity and Magnetism; Clarendon Press: Oxford, UK, 1881; Volume 1. [Google Scholar]
- Simons, R. Guglielmo Marconi and early systems of wireless communication. GEC Rev. 1996, 11, 37–55. [Google Scholar]
- Appleton, E.; Barnett, M. On some direct evidence for downward atmospheric reflection of electric rays. Proc. R. Soc. Lond. Ser. A 1925, 109, 621–641. [Google Scholar]
- McElroy, M. Ionosphere and magnetosphere. In Encyclopædia Britannica; Encyclopædia Britannica, Inc.: Edinburgh, UK, 2012. [Google Scholar]
- Engineers, I.R. Standards on wave propagation, definition of terms. Proc. IRE 1950, 1264–1268. [Google Scholar] [CrossRef]
- Vogt, G. Earth’s Outer Atmosphere: Bordering Space; Twenty-First Century Books: New York, NY, USA, 2006. [Google Scholar]
- Kelley, M.C. The Earth’s Ionosphere: Plasma Physics and Electrodynamics; Academic Press: Cambridge, MA, USA, 2009; Volume 96. [Google Scholar]
- Davies, K. Ionospheric Radio; Number 31 in Electromagnetics and Radar; IET: London, UK, 1990. [Google Scholar]
- Teters, L.R.; Lloyd, J.L.; Haydon, G.W.; Lucas, D. Estimating the performance of telecommunication systems using the ionospheric transmission channel. In NTIA REPORT; University of Michigan Library: Ann Arbor, MI, USA, 1983; pp. 83–127. [Google Scholar]
- McNamara, L. Advanced Stand Alone Prediction System for HF Radio Communications. 1992. Available online: https://www.sws.bom.gov.au/Products_and_Services/1/2 (accessed on 26 April 2020).
- Hunsucker, R.D.; Hargreaves, J.K. The High-Latitude Ionosphere and Its Effects on Radio Propagation; Cambridge University Press: Cambridge, UK, 2007. [Google Scholar]
- Ionospheric propagation data and prediction methods required for the design of satellite services and systems. In Recomendation ITU-R P. 531-7; Radio Communication Study Group 3: Geneva, Switzerland, 2003.
- Belrose, J.S. HF communications and remote sensing in the high latitude region. In AGARD, Media Effects on Electronic Systems in the High Latitude Region 42 p (SEE N89-11931 03-32); Communications Research Centre: Ottawa, ON, Canada, 1988. [Google Scholar]
- Shapley, A.; Beynon, W. ‘Winter anomaly’ in ionospheric absorption and stratospheric warmings. Nature 1965, 206, 1242. [Google Scholar] [CrossRef]
- Appleton, E.V. Two anomalies in the ionosphere. Nature 1946, 157, 691. [Google Scholar] [CrossRef]
- Forbes, J.M. The equatorial electrojet. Rev. Geophys. 1981, 19, 469–504. [Google Scholar] [CrossRef]
- Johnson, F. Satellite Environment Handbook; Stanford University Press: Stanford, CA, USA, 1961. [Google Scholar]
- Woodman, R.; La Hoz, C. Radar observations of F region equatorial irregularities. J. Geophys. Res. 1976, 81, 5447–5466. [Google Scholar] [CrossRef]
- Schwabe, M. Sonnenbeobachtungen im Jahre 1843. Von Herrn Hofrath Schwabe in Dessau. Astron. Nachr. 1844, 21, 233. [Google Scholar]
- Hargreaves, J. The Solar-Terrestrial Environment: An Introduction to Geospace—The Science of the Terrestrial Upper Atmosphere, Ionosphere, and Magnetosphere; Cambridge University Press: Cambridge, UK, 1992. [Google Scholar]
- Grubor, D.; Sulic, D.; Zigman, V. Influence of solar X-ray flares on the Earth-ionosphere waveguide. Serbian Astron. J. 2005, 171, 29–35. [Google Scholar] [CrossRef]
- Appleton, E.; Lyon, A. Studies of the E-layer of the ionosphere—II: Electromagnetic perturbations and other anomalies. J. Atmos. Terr. Phys. 1961, 21, 73–99. [Google Scholar] [CrossRef]
- Mathews, J. Sporadic E: current views and recent progress. J. Atmos. Sol. Terr. Phys. 1998, 60, 413–435. [Google Scholar] [CrossRef]
- Ratcliffe, J.A. The Magneto-Ionic Theory and Its Applications to the Ionosphere; Cambridge University Press: Cambridge, UK, 1959. [Google Scholar]
- Radiocommunication Bureau. Handbook—The Ionosphere and Its Effects on Radiowave Propagation; International Telecommunication Union: Geneva, Switzerland, 1998. [Google Scholar]
- Hervás, M.; Alsina-Pagès, R.; Orga, F.; Altadill, D.; Pijoan, J.; Badia, D. Narrowband and wideband channel sounding of an Antarctica to Spain ionospheric radio link. Remote Sens. 2015, 7, 11712–11730. [Google Scholar] [CrossRef]
- Salous, S. Radio Propagation Measurement and Channel Modelling; Wiley: New York, NY, USA, 2013. [Google Scholar]
- Davies, N.; Willink, T.; Angling, M.; Cannon, P. Initial results from WHISPER; A Wideband HF IONOSPHERIC Sounder for Propagation Environment Research; Department of Electronic & Electrical Engineering: Bath, UK, 2004. [Google Scholar]
- Davies, N.; Cannon, P.; Maundrell, M. DAMSON—A system to measure multipath dispersion, Doppler spread and Doppler shift on HF communications channels. In Proceedings of the IEE Colloquium on High Latitude Ionospheric Propagation, Leicester, UK, 29–29 April 1992. [Google Scholar]
- Roux, Y.; Menard, J.; Jolivet, J.; Davy, P.; Bourdillon, A. SCIPION: A flexible ionospheric digital sounder. Illustration of its capabilities for spatial coherence studies of Es and F regions. In Proceedings of the International Conference on HF Radio Systems and Techniques, Nottingham, UK, 7–10 July 1997. [Google Scholar]
- HF Field Strength Measurement. Recomendation ITU-R PI. 845-1; Radio Communication Study Group 3: Geneva, Switzerland, 1997. [Google Scholar]
- Golomb, S. Shift Register Sequences Holden-Day; Holden-Day, Inc.: San Francisco, CA, USA, 1967. [Google Scholar]
- Reinisch, B.; Galkin, I. Global Ionospheric Radio Observatory (GIRO). Earth Planet 2011, 63, 377–381. [Google Scholar] [CrossRef]
- Davies, N.C.; Cannon, P.S. DAMSON—A System to Measure Multipath Disperson, Doppler Spread and Doppler Shift on Multi-Mechanism Communications Channels. AGARD CONFERENCE PROCEEDINGS AGARD CP. AGARD. 1993; 36. [Google Scholar]
- Cannon, P.; Davies, N.; Angling, M.; Jodalen, V.; Moreland, K.; Lundborg, B. Initial results from DAMSON— A system to measure multipath, Doppler spread and Doppler shift on disturbed HF channels. In Proceedings of the 1995 Ninth International Conference on Antennas and Propagation, ICAP ’95 (Conf. Publ. No. 407), Eindhoven, The Netherlands, 4–7 April 1995; pp. 2–104. [Google Scholar]
- Angling, M.; Cannon, P.; Davies, N.; Willink, T.; Jodalen, V.; Lundborg, B. Measurements of Doppler and multipath spread on oblique high-latitude HF paths and their use in characterizing data modem performance. Radio Sci. 1998, 33, 97–107. [Google Scholar] [CrossRef]
- Angling, M.; Cannon, P.; Davies, N.; Lundborg, B.; Jodalen, V.; Moreland, K. Measurements of Doppler spread on high latitude HF paths. In Proceedings of the AGARD Sensor and Propagation Panel Symposium on Digital Communications Systems: Propagation Effects, Technical Solutions, Systems Designs, Athens, Greece, 18–21 September 1995. [Google Scholar]
- Cannon, P.S.; Angling, M.J.; Willink, T.; Moreland, W.; Davies, N.C.; Lundborg, B.; Jodalen, V.; Bromss, M. Requirements on channel probes for automatic channel selection. In Proceedings of the IEE Colloquium on Frequency Selection and Management Techniques for HF Communications, London, UK, 7–8 February 1996; pp. 24/1–24/6. [Google Scholar]
- Bröms, M.; Lundborg, B.; Jodalen, V.; Bergsvik, T. Doppler Effects on High Latitude of HF Paths during an Ionospheric Disturbance. In Proceedings of the International Conference on HF Radio Systems and Techniques, Nottingham, UK, 7–10 July 1997. [Google Scholar]
- Jacobsen, B.; Jodalen, V.; Cannon, P.S.; Angling, M.J. HF radio propagation at high latitudes under quiet and disturbed geomagnetic conditions. In Proceedings of the 2000 Eighth International Conference on HF Radio Systems and Techniques, Guildford, UK, 10–13 July 2000; pp. 187–191. [Google Scholar]
- Jodalen, V.; Bergsvik, T.; Cannon, P.S.; Arthur, P.C. Performance of HF modems on high-latitude paths using multiple frequencies. Radio Sci. 2001, 36, 1687–1698. [Google Scholar] [CrossRef]
- Warrington, E.M.; Jackson, C.A. Some observations of the directions of arrival of an ionospherically reflected HF radio signal on a very high latitude path. In Proceedings of the Seventh International Conference on HF Radio Systems and Techniques, Nottingham, UK, 7–10 July 1997; pp. 65–69. [Google Scholar]
- Warrington, E. Observations of the directional characteristics of ionospherically propagated HF radio channel sounding signals over two high latitude paths. IEE Proc. Microw. Antennas Propag. 1998, 145, 379–385. [Google Scholar] [CrossRef]
- Warrington, E.; Jackson, C.; Lundborg, B. Directional diversity of HF signals received over high latitude paths and the possibility of improved data throughput by means of spatial filtering. IEE Proc. Microw. Antennas Propag. 2000, 147, 487–494. [Google Scholar] [CrossRef]
- Warrington, E.; Stocker, A.; Zaalov, N. The influence of high latitude off-great circle propagation effects on HF communication systems and radiolocation. Acta Geod. Geophys. Hung. 2002, 37, 239–251. [Google Scholar] [CrossRef]
- Warrington, E.M.; Jackson, C.A.; Lundborg, B. The directional diversity of HF signals received over high latitude paths and the possibility of improved data throughput by means of spatial filtering. In Proceedings of the 2001 Eleventh International Conference on Antennas and Propagation, (IEE Conf. Publ. No. 480), Manchester, UK, 17–20 April 2001; Volume 1, pp. 378–382. [Google Scholar]
- Jackson, C.A.; Warrington, E.M. An efficient means of implementing spatial filtering of HF signals propagated over high latitude HF communication paths for the purposes of improving data throughput. In Proceedings of the 2003 Ninth International Conference on HF Radio Systems and Techniques, Bath, UK, 23–26 June 2003; pp. 271–277. [Google Scholar]
- Warrington, E.M.; Stocker, A.; Siddle, D. Measurement and modeling of HF channel directional spread characteristics for northerly paths. Radio Sci. 2006, 41, 1–13. [Google Scholar] [CrossRef]
- MIL-STD-188-110A. Interoperability and Performance Standards for Data Modems; Technical Report; Department of Defense, USA: Arlington, VA, USA, 1991. [Google Scholar]
- MIL-STD-188-110B. Interoperability and Performance Standards for Data Modems; Technical Report; Department of Defense, USA: Arlington, VA, USA, 2000. [Google Scholar]
- Standardization Agreement 4539. Technical Standards for Non-Hopping HF Communications Waveforms; Technical Report; North Atlantic Treaty Organization: Washington, DC, USA, 2000. [Google Scholar]
- Watterson, C.C.; Juroshek, J.; Bensema, W.D. Experimental Confirmation of an HF Channel Model. IEEE Trans. Commun. 1970, 18, 792–803. [Google Scholar] [CrossRef]
- Jorgenson, M.B.; Moreland, K.W. HF Serial-Tone Waveform Design. AGARD RTO IST Symposium on “Tactical Mobile Communications”. NATO. 1999, pp. 33/1–33/10. Available online: http://hflink.com/standards/HF_modems_explained_stanag.pdf (accessed on 26 April 2020).
- Evyl, S. High Data Rate Communications over HF Channels. In Proceedings of the Nordic Shortwave Conference, Faro, Sweden, 11–13 August 1998. [Google Scholar]
- Proakis, J. Digital Communications, 5th ed.; McGraw Hill: New York, NY, USA, 2007. [Google Scholar]
- Davies, N.C. Digital Radio and Its Applications in the HF (2–30 MHz) Band. Ph.D. Thesis, University of Leeds, Leeds, UK, 2004. [Google Scholar]
- Pijoan, J.; Altadill, D.; Torta, J.; Alsina-Pagès, R.; Marsal, S.; Badia, D. Remote geophysical observatory in Antarctica with HF data transmission: A review. Remote Sens. 2014, 6, 7233–7259. [Google Scholar] [CrossRef]
- Ads, A.; Bergadà, P.; Vilella, C.; Regué, J.; Pijoan, J.; Bardají, R.; Mauricio, J. A comprehensive sounding of the ionospheric HF radio link from Antarctica to Spain. Radio Sci. 2013, 48, 1–12. [Google Scholar] [CrossRef]
- Orga, F.; Hervas, M.; Alsina-Pages, R. Flexible Low-Cost SDR Platform for HF Communications: Near vertical incidence skywave preliminary results. IEEE Antennas Propag. Mag. 2016, 58, 49–56. [Google Scholar] [CrossRef]
- Vilella, C.; Socoro, J.C.; Pijoan, J.L.; Gutierrez, I.; Altadill, D. An antarctica to Spain HF Link. Oblique sounding results. In Proceedings of the 2006 10th IET International Conference on Ionospheric Radio Systems and Techniques (IRST 2006), London, UK, 18–21 July 2006; pp. 91–94. [Google Scholar]
- Vilella, C.; Miralles, D.; Pijoan, J. An Antarctica-to-Spain HF ionospheric radio link: Sounding results. Radio Sci. 2008, 43. [Google Scholar] [CrossRef]
- Vilella, C.; Miralles, D.; Altadill, D.; Acosta, F.; Solé, J.; Torta, J.; Pijoan, J. Vertical and oblique ionospheric soundings over a very long multihop HF radio link from polar to midlatitudes: Results and relationships. Radio Sci. 2009, 44. [Google Scholar] [CrossRef]
- Ads, A.G.; Bergadà, P.; Regué, J.R.; Alsina-Pagès, R.M.; Pijoan, J.L.; Altadill, D.; Badia, D.; Graells, S. Vertical and oblique ionospheric soundings over the long haul HF link between Antarctica and Spain. Radio Sci. 2015, 50, 916–930. [Google Scholar] [CrossRef]
- Bergadà, P.; Alsina-Pagès, R.; Hervás, M. Polarization diversity in a long-haul transequatorial HF link from Antarctica to Spain. Radio Sci. 2017, 52, 105–117. [Google Scholar] [CrossRef]
- Alsina-Pagès, R.; Hervás, M.; Orga, F.; Pijoan, J.; Badia, D.; Altadill, D. Physical layer definition for a long-haul HF Antarctica to Spain radio link. Remote Sens. 2016, 8, 380. [Google Scholar] [CrossRef]













| Delay | Number | Doppler | Doppler | Integration | 
|---|---|---|---|---|
| Range | of Frames | Range | Resolution | Period | 
| (ms) | (Hz) | (Hz) | (s) | |
| 5 | 64 | 3.125 | 0.32 | |
| 5 | 128 | 1.563 | 0.64 | |
| 5 | 256 | 0.782 | 1.28 | |
| 5 | 512 | 0.391 | 2.56 | |
| 10 | 64 | 1.563 | 0.64 | |
| 10 | 128 | 0.782 | 1.28 | |
| 10 | 256 | 0.391 | 2.56 | |
| 10 | 512 | 0.195 | 5.12 | |
| 15 | 64 | 1.042 | 0.96 | |
| 15 | 128 | 0.521 | 1.92 | |
| 15 | 256 | 0.260 | 3.84 | 
| Waveform | Chip-Rate | Delay | Multipath | Doppler | No. of | Doppler | Measure | Processing | 
|---|---|---|---|---|---|---|---|---|
| BPSK | (kchip/s) | (ms) | Res. () | (Hz) | CIRs | Res. (Hz) | Time (s) | Gain (dB) | 
| PN-1023 | 81 | 12.6 | 8192 | 0.01 | 103 | 70 | ||
| PN-1023 | 61.4 | 16.6 | 8192 | 0.008 | 136 | 70 | ||
| PN-511 | 40.8 | 12.5 | 8192 | 0.01 | 102 | 67 | ||
| Barker-13 | 2.4 | 12.5 | 128 | 0.06 | 1.6 | 32 | 
| Survey | Start | End | # | 
|---|---|---|---|
| Date | Date | Days | |
| 2009/2010 | 01/01/2010 | 02/02/2010 | 33 | 
| 2010/2011 | 22/01/2011 | 01/03/2011 | 39 | 
| 2011/2012 | 13/02/2012 | 25/02/2012 | 13 | 
| 2012/2013 | 05/01/2013 | 24/02/2013 | 51 | 
| 2013/2014 | 24/01/2014 | 18/02/2014 | 26 | 
| Waveform | Chip-rate | Delay | Multipath | Doppler | No. of | Doppler | Measure | Processing | 
|---|---|---|---|---|---|---|---|---|
| BPSK | (kchip/s) | (ms) | Res. () | (Hz) | CIRs | Res. (Hz) | Time (s) | Gain (dB) | 
| 255 m-sequence | 10 | 25.5 | ∼100 | 200 | 0.196 | 5.1 | 47 | 
| Zone | Interval (UTC) | Usable Frequencies [MHz] | 
|---|---|---|
| Dawn | 07–09 | Increases from 6–15 to 20–30 | 
| Day | 10–17 | 20–30 | 
| Dusk | 18–20 | Falls from 20–30 to 10–20 | 
| Night | 21–06 | 06–15 | 
© 2020 by the authors. Licensee MDPI, Basel, Switzerland. This article is an open access article distributed under the terms and conditions of the Creative Commons Attribution (CC BY) license (http://creativecommons.org/licenses/by/4.0/).
Share and Cite
Hervás, M.; Bergadà, P.; Alsina-Pagès, R.M. Ionospheric Narrowband and Wideband HF Soundings for Communications Purposes: A Review. Sensors 2020, 20, 2486. https://doi.org/10.3390/s20092486
Hervás M, Bergadà P, Alsina-Pagès RM. Ionospheric Narrowband and Wideband HF Soundings for Communications Purposes: A Review. Sensors. 2020; 20(9):2486. https://doi.org/10.3390/s20092486
Chicago/Turabian StyleHervás, Marcos, Pau Bergadà, and Rosa Ma Alsina-Pagès. 2020. "Ionospheric Narrowband and Wideband HF Soundings for Communications Purposes: A Review" Sensors 20, no. 9: 2486. https://doi.org/10.3390/s20092486
APA StyleHervás, M., Bergadà, P., & Alsina-Pagès, R. M. (2020). Ionospheric Narrowband and Wideband HF Soundings for Communications Purposes: A Review. Sensors, 20(9), 2486. https://doi.org/10.3390/s20092486
 
        


 
       