Cascade AOA Estimation Algorithm Based on Flexible Massive Antenna Array
Abstract
1. Introduction
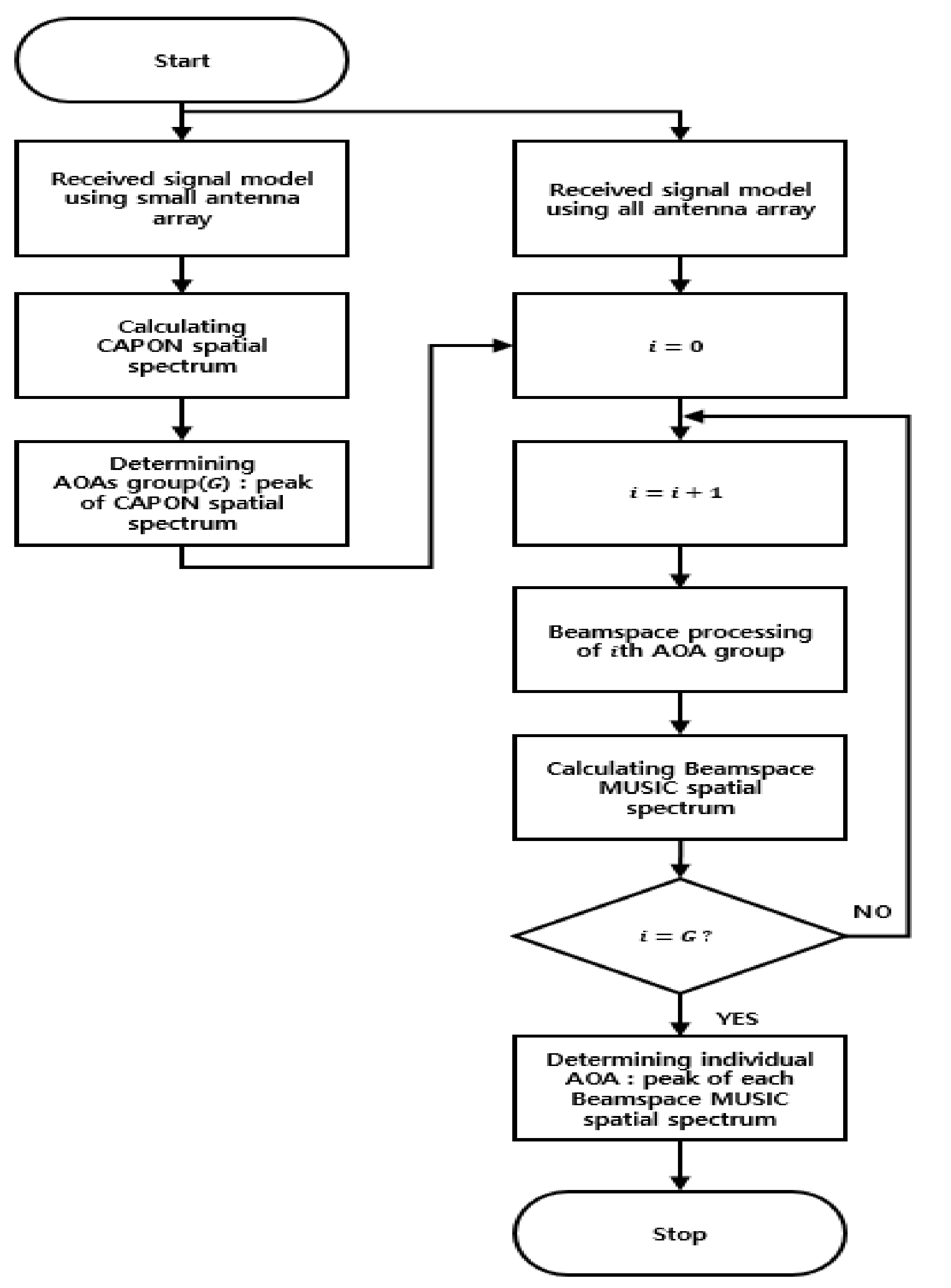
- Step 1: Find searching ranges employing CAPON, with a small number (small proportion) of array elements.
- Step 2: Estimate detail AOAs in the estimated ranges employing Beamspace MUSIC, with the entire number of array elements.
2. Received Signal Model
2.1. Signal Model
2.2. Flexible Massive Antenna Model
3. Cascade AOA Estimation Algorithm Based on Flexible Massive Antenna Array
3.1. CAPON for Estimating AOA Range Based on Small Number of Antenna Element
3.2. Beamspace MUSIC for Estimating Signal AOA Based on Entire Antenna Element
4. Computer Simulation
- The first scenario: three AOA groups (the first AOA group includes one CW, one FM, and one WB noise adjacent signals; the second AOA group includes one AM, one FM adjacent signals; and the third AOA group includes one FM and one AM adjacent signals).
- The second scenario: two AOA groups (the first AOA group includes two CW, one WB noise adjacent signals; and the second AOA group includes one AM, two WB noise adjacent signals).
- The third scenario: one AOA group (including two AM, two FM, and one WB noise adjacent signals).
- The fourth scenario: three AOA groups (the first AOA group includes one CW and one FM signal; the second AOA group includes one AM signal; and the third AOA group includes one FM and one AM adjacent signals).
5. Computational Complexity
- With the exception of a step of Equation (8), the computational complexity for the generation of the covariance matrix of Beamspace MUSIC, , is lower than that of the MUSIC algorithm, , because the size of is smaller than that of .
- The computational complexity of an eigenvalue decomposition processing for is lower than that of , because the size of is smaller than that of .
- The computational complexity of eigenvalue decomposition processing for Beamspace MUSIC in the proposed cascade algorithm is lower than or equal to that for the only Beamspace MUSIC algorithm, because the considered search range of the proposed cascade algorithm is smaller than or equal to that of the only Beamspace MUSIC algorithm.
- The computational complexity for the generation of the covariance matrix of Beamspace MUSIC is higher than that of the general covariance matrix with the same size, due to Equations (8) and (10).
- We must consider multiple covariance matrices and eigenvalue decompositions of Beamspace MUSIC because we estimate multiple AOA groups in the proposed cascade algorithm and the only Beamspace MUSIC algorithm.
- The computational complexity for the generation of the covariance matrix of CAPON, , is significantly lower than that of , because the size of is significantly smaller than that of .
6. Conclusions
Author Contributions
Funding
Conflicts of Interest
References
- Li, J.; Halder, B.; Stoica, P.; Viberg, M. Computationally efficient angle estimation for signals with known waveforms. IEEE Trans. Signal Process. 1995, 43, 2154–2163. [Google Scholar] [CrossRef]
- Tuncer, E.; Friedlander, B. Classical and Modern Direction-of-Arrival Estimation; Academic Press: Cambridge, MA, USA, 2009. [Google Scholar]
- Krim, H.; Viberg, M. Two decades of array signal processing research: Parametric approach. IEEE Signal Process. Mag. 1996, 13, 67–94. [Google Scholar] [CrossRef]
- Shu, F.; Qin, Y.; Liu, T.; Gui, L.; Zhang, Y.; Li, J.; Han, Z. Low-complexity and high-resolution DOA estimation for hybrid analog and digital massive MIMO receive array. IEEE Trans. Commun. 2018, 66, 2487–2501. [Google Scholar] [CrossRef]
- Godara, L.C. Smart Antennas; CRC Press: Boca Raton, FL, USA, 2004. [Google Scholar]
- Steinwandt, J.; De Lamare, R.C.; Haardt, M. Beamspace direction finding based on the conjugate gradient and the auxiliary vector filtering algorithms. Signal Process. 2013, 93, 641–651. [Google Scholar] [CrossRef]
- Foutz, J.; Spanias, A.; Banavar, M.K. Narrowband Direction of Arriaval Estimation for Antenna Arrays; Morgan & Claypool: San Rafael, CA, USA, 2008. [Google Scholar]
- Van Trees, H.L. Optimum Array Processing Part. IV of Detection, Estimation and Modulation Theory; John Wiley and Sons: Hoboken, NJ, USA, 2002. [Google Scholar]
- Gross, F. Smart Antennas for Wireless Communications with Matlab; McGraw-Hill: New York, NY, USA, 2005. [Google Scholar]
- Akbari, F.; Moghaddam, S.S.; Vakili, V.T. MUSIC and MVDR DOA Estimation algorithms with higher resolution and accuracy. In Proceedings of the 2010 5th International Symposium on Telecommunications, Tehran, Iran, 4–6 December 2010; pp. 76–81. [Google Scholar]
- Aouina, K.; Benazzouz, D. 2D-DOA Estimation using split vertical linear and circular arrays. IEEJ Trans. Electr. Electron. Eng. 2016, 11, 480–487. [Google Scholar] [CrossRef]
- Liberti, J.C.; Rappaport, T.S. Smart Antennas for Wireless Communications: IS-95 and Third Generation CDMA Applications; Prentice Hall PTR: Upper Saddle River, NJ, USA, 1999. [Google Scholar]
- Wang, N.; Agathoklis, P.; Antoniou, A. A new DOA estimation technique based on subarray beamforming. IEEE Trans. Signal Process. 2006, 54, 3279–3290. [Google Scholar] [CrossRef]
- Chen, Z.; Gokeda, G.; Yu, Y. Introduction to Direction of Arrival Estimation; Artech House: Norwood, MA, USA, 2010. [Google Scholar]
- Adam, I.A.H.; Islam, M.R. Performance study of Direction of Arrival (DOA) estimation algorithms for linear array antenna. In Proceedings of the 2009 International Conference on Signal Processing Systems, Singapore, 15–17 May 2009; pp. 268–271. [Google Scholar]
- Lavate, T.B.; Kokate, V.K.; Sapkal, A.M. Performance analysis of MUSIC and ESPRIT DOA Estimation algorithms for adaptive array smart antenna in mobile communication. In Proceedings of the 2010 2nd International Conference on Computer and Network Technology, Bangkok, Thailand, 23–25 April 2010; pp. 308–311. [Google Scholar]
- Waweru, N.P.; Konditi, D.B.O.; Langat, P.K. Performance analysis of MUSIC, root-MUSIC and ESPRIT DOA estimation algorithm. World Acad. Sci. Eng. Technol. 2014, 8, 209–216. [Google Scholar] [CrossRef]
- EL-Barbary, K.A.; Mohamed, T.S.; Melad, M.S. High resolution direction of arrival estimation (coherent signal source DOA estimation). Int. J. Eng. Res. Appl. 2013, 3, 132–139. [Google Scholar]
- Weber, R.J.; Huang, Y. Analysis for Capon and MUSIC DOA estimation algorithms. In Proceedings of the 2009 IEEE Antennas and Propagation Society International Symposium, Charleston, SC, USA, 1–5 June 2009; pp. 1–4. [Google Scholar]
- Li, F.; Liu, H.; Vaccaro, R.J. Performance analysis for DOA estimation algorithms: Unification, simplification, and observations. IEEE Trans. Aerosp. Electron. Syst. 1993, 29, 1170–1184. [Google Scholar] [CrossRef]
- McCloud, M.L.; Scharf, L.L. A new subspace identification algorithm for high-resolution DOA estimation. IEEE Trans. Antennas Propag. 2002, 50, 1382–1390. [Google Scholar] [CrossRef]
- Li, F.; Vaccaro, R.J. Sensitivity analysis of DOA estimation algorithms to sensor errors. IEEE Trans. Aerosp. Electron. Syst. 1992, 28, 708–717. [Google Scholar] [CrossRef]
- Rao, B.D.; Hari, K.V.S. Performance analysis of root-MUSIC. IEEE Trans. Acoust. Speech Signal Process. 1989, 37, 1939–1949. [Google Scholar] [CrossRef]
- Baig, N.A.; Malik, M.B. Comparison of Direction of Arrival (DOA) estimation techniques for closely spaced targets. Int. J. Future Comput. Commun. 2013, 2, 654–659. [Google Scholar] [CrossRef]
- Haardt, M.; Zoltowski, M.D.; Mathews, C.P.; Nossek, J. 2D Unitary ESPRIT for efficient 2D parameter estimation. In Proceedings of the 1995 International Conference on Acoustics, Speech, and Signal Processing, Detroit, MI, USA, 9–12 May 1995; pp. 2096–2099. [Google Scholar]
- Yan, F.; Jin, M.; Qiao, X. Low-complexity DOA estimation based on compressed MUSIC and its performance analysis. IEEE Trans. Signal Process. 2013, 61, 1915–1930. [Google Scholar] [CrossRef]
- Lee, H.B.; Wengrovitz, M.S. Resolution threshold of beamspace MUSIC for two closely spaced emitters. IEEE Trans. Acoust. Speech Signal Process. 1990, 38, 1545–1559. [Google Scholar] [CrossRef]
- Buckely, K.; Xu, X.-L. Spatial-spectrum estimation in a location sector. IEEE Trans. Acoust. Speech Signal Process. 1990, 38, 1842–1852. [Google Scholar] [CrossRef]
- Cao, R.; Liu, B.; Gao, F.; Zhang, X. A Low-Complex One-Snapshot DOA Estimation Algorithm with Massive ULA. IEEE Commun. Lett. 2017, 21, 1071–1074. [Google Scholar] [CrossRef]
- Wang, A.; Liu, L.; Zhang, J. Low complexity Direction of Arrival (DoA) estimation for 2D massive MIMO systems. In Proceedings of the 2012 IEEE Globecom Workshop, Anaheim, CA, USA, 3–7 December 2012; pp. 703–707. [Google Scholar]
- Fukuda, W.; Abiko, T.; Nishimura, T.; Ohgane, T.; Ogawa, Y.; Ohwatari, Y.; Kishiyama, Y. Low-complexity detection based on belief propagation in a massive MIMO system. In Proceedings of the IEEE 77th Vehicular Technology Conference, Dresden, Germany, 2–5 June 2013; pp. 1–5. [Google Scholar]
- Haghighatshoar, S.; Caire, G. Low-complexity massive MIMO subspace estimation and tracking from low-dimensional projections. IEEE Trans. Signal Process. 2018, 66, 1832–1844. [Google Scholar] [CrossRef]
- Prabhu, H.; Edfors, O.; Rodrigues, J.; Liu, L.; Rusek, R. A low-complex peak-to-average power reduction scheme for OFDM based massive MIMO systems. In Proceedings of the 2014 6th International Symposium on Communications, Control and Signal Processing (ISCCSP), Athens, Greece, 21–23 May 2014; pp. 114–117. [Google Scholar]
- Shi, W.; Huang, J.; Zhang, L.; Hou, Y. The Beamspace Conjugate MUSIC for Non-circular sources. In Proceedings of the 2009 4th IEEE Conference on Industrial Electronics and Application, Xi’an, China, 25–27 May 2009; pp. 2995–2998. [Google Scholar]
- Capon, J. High resolution frequency-wavenumber spectrum analysis. Proc. IEEE 1969, 57, 1408–1418. [Google Scholar] [CrossRef]
- Kiong, T.S.; Salem, S.B.; Paw, J.K.S.; Sankar, K.P.; Darzi, S. Minimum variance distortionless response beamformer with enhanced nulling level control via dynamic mutated artificial immune system. Sci. World J. 2014, 2014, 1–9. [Google Scholar] [CrossRef]
- Odachi, N.; Shoki, H.; Suzuki, Y. High-speed DOA estimation using beamspace MUSIC. In Proceedings of the 2000 IEEE 51st Vehicular Technology Conference Proceedings, Tokyo, Japan, 15–18 May 2000; pp. 1050–1054. [Google Scholar]
- Mayhan, J.; Niro, L. Spatial spectral estimation using multiple beam antennas. IEEE Trans. Antennas Propag. 1987, AP-35, 897–906. [Google Scholar] [CrossRef]
- Zoltowski, M.D.; Kautz, G.M.; Silverstein, S.D. Beamspace Root-MUSIC. IEEE Trans. Signal Process. 1933, 41, 344–364. [Google Scholar] [CrossRef]
- Xu, G.; Silverstein, S.D.; Roy, R.H.; Kailath, T. Beamspace ESPRIT. IEEE Trans. Signal Process. 1994, 42, 349–356. [Google Scholar] [CrossRef]
- Yeom, D.; Park, S.; Kim, J.; Lee, M. Performance analysis of beamspace MUSIC with beamforming angle. In Proceedings of the 2014 8th International Conference on Signal Processing and Communication Systems, Gold Coast, QLD, Australia, 15–17 December 2014; pp. 1–5. [Google Scholar]
- Weiss, A.J.; Friedlander, B. Preprocessing for direction finding with minimal variance degradation. IEEE Trans. Signal Process. 1994, 42, 1478–1485. [Google Scholar] [CrossRef]
- Yuri, N.; Ilia, P. Performance study of beamspace processing DOA estimation by MUSIC and capon methods. In Proceedings of the 2015 International Siberian Conference on Control and Communications, Omsk, Russia, 21–23 May 2015; pp. 1–6. [Google Scholar]
- Zhao, H.; Zhang, N.; Shen, Y. Beamspace direct localization for large-scale antenna array systems. IEEE Trans. Signal Process. 2002, 68, 3529–3544. [Google Scholar] [CrossRef]


























|
| Signal | Center Frequency | ||
|---|---|---|---|
| CW | 50 | −120 | 0.3 |
| FM | 50, 50, 50 | −117, 34, 130 | 0.25, 0.35, 0.4 |
| AM | 50, 50 | 30, 135 | 0.13, 0.44 |
| WB | 50 | −114 | 0.06 |
| Signal | Center Frequency | ||
|---|---|---|---|
| CW | −20, −20 | −52, −42 | 0.1, 0.4 |
| AM | −20 | 60 | 0.3 |
| WB | −20, −20, −20 | −47, 50, 55 | 0.05, 0.18, 0.45 |
| Signal | Center Frequency | ||
|---|---|---|---|
| AM | −40, −40 | −75, −71 | 0.13, 0.33 |
| WB | −40 | −67 | 0.25 |
| FM | −40, −40 | −83, −79 | 0.04, 0.45 |
| Signal | Center Frequency | ||
|---|---|---|---|
| AM | 50, −25 | 39, 65 | 0.05, 0.13 |
| CW | −40 | −55 | 0.3 |
| FM | −40, 50 | −50 35, | 0.22, 0.35 |
| CAPON | ||
|---|---|---|
| mul/div | ||
| add/sub | ||
| mul/div | ||
| add/sub | ||
| Beamspace MUSIC | ||
| mul/div | ||
| add/sub | ||
| mul/div | ||
| add/sub | ||
| mul/div | ||
| add/sub | ||
| MUSIC | ||
| mul/div | ||
| add/sub | ||
| mul/div | ||
| add/sub | ||
| CASE 1 | CASE 2 | |
|---|---|---|
| The number of total signals () | 6 | 8 |
| The number of AOA groups () | 2 | 4 |
| The number of signals in AOA group () | 3 | 2 |
| Size of | 9 | |
| Search range (CAPON) | 360° | 360° |
| Search range (Beamspace MUSIC of proposed cascade algorithm) | ||
| Search range (Only Beamspace MUSIC) | ||
| Search range (MUSIC) | ||
| Step-size (CAPON) | ||
| Step-size (Beamspace MUSIC of proposed cascade algorithm) | ||
| Step-size (Only Beamspace MUSIC) | ||
| Step-size (MUSIC) | ||
Publisher’s Note: MDPI stays neutral with regard to jurisdictional claims in published maps and institutional affiliations. |
© 2020 by the authors. Licensee MDPI, Basel, Switzerland. This article is an open access article distributed under the terms and conditions of the Creative Commons Attribution (CC BY) license (http://creativecommons.org/licenses/by/4.0/).
Share and Cite
Kim, T.-y.; Hwang, S.-s. Cascade AOA Estimation Algorithm Based on Flexible Massive Antenna Array. Sensors 2020, 20, 6797. https://doi.org/10.3390/s20236797
Kim T-y, Hwang S-s. Cascade AOA Estimation Algorithm Based on Flexible Massive Antenna Array. Sensors. 2020; 20(23):6797. https://doi.org/10.3390/s20236797
Chicago/Turabian StyleKim, Tae-yun, and Suk-seung Hwang. 2020. "Cascade AOA Estimation Algorithm Based on Flexible Massive Antenna Array" Sensors 20, no. 23: 6797. https://doi.org/10.3390/s20236797
APA StyleKim, T.-y., & Hwang, S.-s. (2020). Cascade AOA Estimation Algorithm Based on Flexible Massive Antenna Array. Sensors, 20(23), 6797. https://doi.org/10.3390/s20236797

