Reinforcement Learning-Based Data Association for Multiple Target Tracking in Clutter
Abstract
1. Introduction
- The RL is embedded into the traditional JPDA method to obtain the relationship between the measurement distribution and its associated probability at the presence of dense measurement clutters;
- The motion characteristics of the targets is considered to improve the accuracy of data association.
2. Problem Formulation
2.1. The Target Model
2.2. Joint Probabilistic Data Association Method
- Each measurement is assigned to one target uniquely.
- Each target has one measurement at most.
2.3. Reinforcement Learning
| Algorithm 1. The Q-learning method pseudocode. |
| Initialize Set the state and the action For each state and action Set End For Randomly choose an initial state While the terminal condition is not reached do Choose the best action from the current state from Q-table Execute action , then get the immediate reward Find out the new state Acquire the corresponding maximum Q-value of Update the Q-table by (19) Update the state End While |
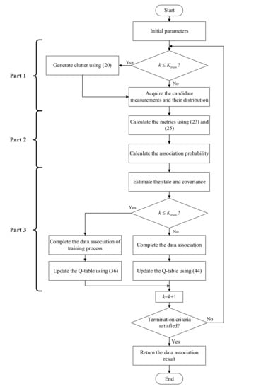
3. The Proposed RL-JPDA Method
3.1. RL-JPDA Development and Implementation
| Algorithm 2. The pseudocode for the RL-JPDA method. |
| Initialize Set the basic parameters Set the state s ={s1, s2, s3, s4, s5, s6, s7, s8}and action a ={a1, a2, a3} Set the initial Q-table: Qt(s, a) = 0 Acquire the real measurements of the training process Set = 1 While do Calculating candidate measurements If Generate clutter by (20) End If Acquire the candidate measurements Acquire the distribution of all candidate measurements Calculating association probability Calculate the metric by the (25) For each candidate measurement Choose the best a for the current s from Q-table Switch action Case 1: increase Set the RL parameter w a big value Case 2: decrease Set the RL parameter w a small value Case 3: maintain Set the RL parameter w = 1 End Switch End For Calculate the metric by (23) Calculate the association probability by (29) Data association and Q-table update Estimate the state and covariance by (30) and (9) If Estimate the state by (31) Complete the data association of training process with Calculate the cost value by (32) Calculate the reward by (33) Update the Q-table by (34) Else Complete the data association with Calculate the cost value by (39) Calculate the reward by (40) Update the Q-table by (41) End If End While Return results Terminate |
3.1.1. Calculating Candidate Measurements
3.1.2. Calculating Association Probability
- Increase action: It takes place as a result of agent lack of self-confidence. This action commonly happens when the agent finds itself fail in some scan. This failure is defined that the agent obtains a cost value defined in (23) at scan k that is worse than its value at scan k − 1. This decreases its own confidence and hence increases its RL parameter.
- Decrease action: Agent’s success may motivate such action and it reflects right decision taken by the agent, and hence, it should increase its confidence.
- Maintain action: The current RL parameter maintains the present status as there is no motivation for neither increasing nor decreasing it.
3.1.3. Data Association and Q-table Update
3.2. Computing Complexity
4. The Experiments and Results
4.1. Scenario of Two Targets with Constant Velocity
4.2. Scenario of Three Targets with Constant Acceleration
4.3. Scenario of Reentry Vehicle
4.4. Analysis of RL-JPDA Control Parameters
5. Conclusions
Author Contributions
Funding
Conflicts of Interest
References
- He, Z.; Cui, Y.; Wang, H.; You, X.; Chen, C.L.P. One global optimization method in network flow model for multiple object tracking. Knowl. Based Syst. 2015, 86, 21–32. [Google Scholar] [CrossRef]
- Memon, S.A.; Song, T.L.; Memon, K.H.; Ullah, I.; Khan, U. Modified smoothing data association for target tracking in clutter. Expert Syst. Appl. 2019, 141, 112969. [Google Scholar] [CrossRef]
- Chen, Y.M. Information fusion in data association applications. Appl. Soft Comput. 2006, 6, 394–405. [Google Scholar] [CrossRef]
- Tian, M.C.; Bo, Y.M.; Chen, Z.; Wu, P.; Yue, C. Multi-target tracking method based on improved firefly algorithm optimized particle filter. Neurocomputing 2019, 359, 438–448. [Google Scholar] [CrossRef]
- Guo, Y.; Li, Y.; Tharmarasa, R.; Kirubarajan, T.; Efe, M.; Sarikaya, B. GP-PDA filter for extended target tracking with measurement origin uncertainty. IEEE Trans. Aerosp. Electron. Syst. 2019, 55, 1725–1742. [Google Scholar] [CrossRef]
- De Freitas, A.; Mihaylova, L.; Gning, A.; Schikora, M.; Ulmke, M.; Angelova, D.; Koch, W. A box particle filter method for tracking multiple extended objects. IEEE Trans. Aerosp. Electron. Syst. 2019, 55, 1640–1655. [Google Scholar] [CrossRef]
- Yicong, T.; Afshin, D.; Mubarak, S. On detection, data association and segmentation for multi-target tracking. IEEE Trans. Pattern Anal. Mach. Intell. 2019, 41, 2146–2160. [Google Scholar]
- Singer, R.; Sea, R. New results in optimizing surveillance system tracking and data correlation performance in dense multitarget environments. IEEE Trans. Autom. Control 1973, 18, 571–582. [Google Scholar] [CrossRef]
- Aziz, A.M. A new nearest-neighbor association approach based on fuzzy clustering. Aerosp. Sci. Technol. 2013, 26, 87–97. [Google Scholar] [CrossRef]
- Bar-Shalom, Y.; Jaffer, A.G. Adaptive nonlinear filtering for tracking with measurements of uncertain origin. In Proceedings of the 1972 IEEE Conference on Decision and Control and 11th Symposium on Adaptive Processes, New Orleans, LA, USA, 13–15 December 1972. [Google Scholar]
- Song, T.L.; Lee, D.G. A probabilistic nearest neighbor filter algorithm form validated measurements. IEEE Trans. Signal Process. 2006, 54, 2797–2802. [Google Scholar] [CrossRef]
- Gruyer, D.; Demmel, S.; Magnier, V.; Belaroussi, R. Multi-Hypotheses Tracking using the Dempster-Shafer Theory. Application to ambiguous road context. Inf. Fusion 2016, 29, 40–56. [Google Scholar] [CrossRef]
- Sathyan, T.; Chin, T.J.; Arulampalam, S.; Suter, D. A multiple hypothesis tracker for multitarget tracking with multiple simultaneous measurements. IEEE J. Sel. Top. Signal Process. 2013, 7, 448–460. [Google Scholar] [CrossRef]
- Formann, T.; Bar-Shalom, Y.; Scheffe, M. Multi-target tracking using joint probabilistic data association. In Proceedings of the Conference on Decision and Control Including the Symposium on Adaptive Processes, Albuquerque, NM, USA, 10–12 December 1980. [Google Scholar]
- Chang, K.-C.; BarShalom, Y. Joint probabilistic data association for multitarget tracking with possibly unresolved measurements and maneuvers. IEEE Trans. Autom. Control 1984, 29, 585–594. [Google Scholar] [CrossRef]
- Panta, K.; Vo, B.-T.; Singh, S. Novel data association schemes for the probability hypothesis density filter. IEEE Trans. Aerosp. Electron. Syst. 2007, 43, 556–570. [Google Scholar] [CrossRef]
- Garcia-Fernandez, A.F.; Svensson, L. Trajectory PHD and CPHD Filters. IEEE Trans. Signal Process. 2019, 67, 5702–5714. [Google Scholar] [CrossRef]
- Vo, B.T.; Vo, B.N. Labeled Random Finite Sets and Multi-Object Conjugate Priors. IEEE Trans. Signal Process. 2013, 61, 3460–3475. [Google Scholar] [CrossRef]
- Bryant, D.S.; Vo, B.T.; Jones, B.A. A Generalized Labeled Multi-Bernoulli Filter with Object Spawning. IEEE Trans. Signal Process. 2018, 66, 6177–6189. [Google Scholar] [CrossRef]
- Magnier, V.; Gruyer, D.; Godelle, J. Multi-criteria Similarity Operator based on the Belief Theory:Management of Similarity, Dissimilarity, Conflict and Ambiguities. In Proceedings of the 2017 IEEE Intelligent Vehicles Symposium (IV), Los Angeles, CA, USA, 11–14 June 2017. [Google Scholar]
- Dallil, A.; Oussalah, M.; Ouldali, A. Sensor Fusion and Target Tracking Using Evidential Data Association. IEEE Sens. J. 2013, 13, 285–293. [Google Scholar] [CrossRef]
- Magnier, V.; Gruyer, D. Dual Multi-Targets Tracking for Ambiguities’ Identification and Solving. In Proceedings of the 2014 IEEE Intelligent Vehicles Symposium, Dearborn, MI, USA, 8–12 June 2014. [Google Scholar]
- Liangqun, L.; Weixin, X. Intuitionistic fuzzy joint probabilistic data association filter and its application to multitarget tracking. Signal Process. 2014, 96, 433–444. [Google Scholar] [CrossRef]
- He, S.; Shin, H.S.; Tsourdos, A. Multi-sensor multi-target tracking using domain knowledge and clustering. IEEE Sens. J. 2018, 18, 8074–8084. [Google Scholar] [CrossRef]
- Gnane, S.S.; Pathipati, S. Soft and evolutionary computation based data association approaches for tracking multiple targets in the presence of ECM. Expert Syst. Appl. 2017, 77, 83–104. [Google Scholar]
- Turkmen, I.; Guney, K. Cheap Joint Probabilistic Data Association with Adaptive Neuro-Fuzzy Inference System State Filter for Tracking Multiple Targets in Cluttered Environment. AEU Int. J. Electron. Commun. 2004, 58, 349–357. [Google Scholar] [CrossRef]
- Kober, J.; Bagnell, J.A.; Peters, J. Reinforcement learning in robotics: A survey. Int. J. Robot. Res. 2013, 32, 1238–1274. [Google Scholar] [CrossRef]
- Grondman, I.; Busoniu, L.; Lopes, G.; Babuska, R. A survey of actor-critic reinforcement learning: Standard and natural policy gradients. IEEE Trans. Syst. Man Cybern. Part C 2012, 42, 1291–1307. [Google Scholar] [CrossRef]
- Kiumarsi, B.; Vamvoudakis, K.G.; Modares, H.; Lewis, F. Optimal and autonomous control using reinforcement learning: A survey. IEEE Trans. Neural Netw. Learn. Syst. 2018, 29, 2042–2062. [Google Scholar] [CrossRef]
- Konar, A.; Chakraborty, I.G.; Singh, S.J.; Jain, L.C.; Nagar, A.K. A deterministic improved Q-learning for path planning of a mobile robot. IEEE Trans. Syst. Man Cybern. Syst. 2013, 43, 1141–1153. [Google Scholar] [CrossRef]
- Wang, J.; Su, X.; Zhao, L.; Zhang, J. Deep Reinforcement Learning for Data Association in Cell Tracking. Front. Bioeng. Biotechnol. 2020, 8, 298. [Google Scholar] [CrossRef]
- Wei, M.G.; Wang, S.; Zheng, J.F.; Chen, D. UGV navigation optimization aided by reinforcement learning-based path tracking. IEEE Access 2018, 6, 57814–57825. [Google Scholar] [CrossRef]
- Carlucho, I.; Paula, M.D.; Wang, S.; Petillot, Y.; Acosta, G.G. Adaptive low-level control of autonomous underwater vehicles using deep reinforcement learning. Robot. Auton. Syst. 2018, 107, 71–86. [Google Scholar] [CrossRef]
- Li, W.; Li, Y.P.; Feng, X.S. Improved integrated probabilistic data association algorithm based on amplitude information. Robot 2015, 37, 513–521. [Google Scholar]
- Sinha, A.; Ding, Z.; Kirubarajan, T.; Farooq, M. Track Quality Based Multitarget Tracking Approach for Global Nearest-Neighbor Association. IEEE Trans. Aerosp. Electron. Syst. 2012, 48, 1179–1191. [Google Scholar] [CrossRef]
- Aziz Ashraf, M. A new multitarget tracking approach based on a non-iterative fuzzy clustering means algorithm. In Proceedings of the IEEE Aerospace Conference, Big Sky, MT, USA, 7–14 March 2015. [Google Scholar]
- Gehly, S.; Jones, B.; Axelrad, P. An AEGIS-CPHD Filter to Maintain Custody of GEO Space Objects with Limited Tracking Data. In Proceedings of the Advanced Maui Optical and Space Surveillance Technologies Conference, Maui, HI, USA, 9–12 September 2014. [Google Scholar]
- Julier, S.J.; Uhlmann, J.K. Unscented filtering and nonlinear estimation. Proc. IEEE 2004, 92, 401–422. [Google Scholar] [CrossRef]



























| Method | ||||||
|---|---|---|---|---|---|---|
| Time (s) | Target1 (m) | Target2 (m) | Time (s) | Target1 (m) | Target2 (m) | |
| GNN | 0.41 | 46.18 | 49.71 | 0.85 | 50.05 | 62.02 |
| JPDA | 1.93 | 40.65 | 43.40 | \ | \ | \ |
| EDA | 0.38 | 27.15 | 27.78 | 0.42 | 39.68 | 33.51 |
| FOMJPDA | 0.42 | 34.42 | 27.67 | 0.59 | 38.37 | 35.54 |
| IFJPDA1 | 0.64 | 21.39 | 30.47 | 0.87 | 37.49 | 38.09 |
| IFJPDA2 | 0.70 | 25.74 | 20.27 | 1.34 | 33.91 | 31.73 |
| RL-JPDA | 0.46 | 16.74 | 17.21 | 0.63 | 24.90 | 26.60 |
| Method | ||||||||
|---|---|---|---|---|---|---|---|---|
| Time (s) | Target1 (m) | Target2 (m) | Target3 (m) | Time (s) | Target1 (m) | Target2 (m) | Target3 (m) | |
| GNN | 0.70 | 181.82 | 99.57 | 147.61 | 4.35 | 202.35 | 285.72 | 191.61 |
| JPDA | 4.91 | 83.42 | 65.61 | 86.81 | \ | \ | \ | \ |
| EDA | 0.57 | 235.34 | 141.45 | 155.17 | 0.69 | 255.36 | 175.94 | 229.21 |
| FOMJPDA | 0.58 | 159.09 | 93.88 | 102.53 | 0.82 | 211.05 | 114.57 | 188.30 |
| IFJPDA1 | 1.18 | 85.25 | 103.61 | 85.95 | 1.32 | 166.26 | 170.68 | 160.86 |
| IFJPDA2 | 1.43 | 103.01 | 85.80 | 117.36 | 10.45 | 129.10 | 124.53 | 115.94 |
| RL-JPDA | 0.72 | 44.48 | 57.21 | 61.94 | 0.92 | 84.99 | 44.56 | 79.65 |
| Method | ||||||||
|---|---|---|---|---|---|---|---|---|
| Time (s) | Target1 (m) | Target2 (m) | Target3 (m) | Time (s) | Target1 (m) | Target2 (m) | Target3 (m) | |
| GNN | 1.32 | 144.65 | 190.73 | 229.48 | 1.54 | 175.49 | 139.41 | 268.45 |
| JPDA | 2.82 | 149.73 | 119.44 | 164.71 | 5.71 | 235.49 | 139.66 | 213.64 |
| EDA | 1.13 | 113.04 | 149.83 | 111.97 | 1.18 | 101.62 | 133.98 | 96.57 |
| FOMJPDA | 1.42 | 102.50 | 88.32 | 101.38 | 1.45 | 117.89 | 105.78 | 50.99 |
| IFJPDA1 | 1.35 | 85.63 | 68.90 | 54.51 | 1.28 | 87.08 | 134.43 | 174.84 |
| IFJPDA2 | 1.81 | 60.95 | 41.42 | 55.04 | 2.34 | 62.56 | 77.48 | 142.42 |
| RL-JPDA | 1.30 | 34.90 | 32.69 | 32.19 | 1.32 | 45.01 | 58.61 | 28.41 |
Publisher’s Note: MDPI stays neutral with regard to jurisdictional claims in published maps and institutional affiliations. |
© 2020 by the authors. Licensee MDPI, Basel, Switzerland. This article is an open access article distributed under the terms and conditions of the Creative Commons Attribution (CC BY) license (http://creativecommons.org/licenses/by/4.0/).
Share and Cite
Qu, C.; Zhang, Y.; Zhang, X.; Yang, Y. Reinforcement Learning-Based Data Association for Multiple Target Tracking in Clutter. Sensors 2020, 20, 6595. https://doi.org/10.3390/s20226595
Qu C, Zhang Y, Zhang X, Yang Y. Reinforcement Learning-Based Data Association for Multiple Target Tracking in Clutter. Sensors. 2020; 20(22):6595. https://doi.org/10.3390/s20226595
Chicago/Turabian StyleQu, Chengzhi, Yan Zhang, Xin Zhang, and Yang Yang. 2020. "Reinforcement Learning-Based Data Association for Multiple Target Tracking in Clutter" Sensors 20, no. 22: 6595. https://doi.org/10.3390/s20226595
APA StyleQu, C., Zhang, Y., Zhang, X., & Yang, Y. (2020). Reinforcement Learning-Based Data Association for Multiple Target Tracking in Clutter. Sensors, 20(22), 6595. https://doi.org/10.3390/s20226595

