Remotely Sensed Data Fusion for Spatiotemporal Geostatistical Analysis of Forest Fire Hazard
Abstract
1. Introduction
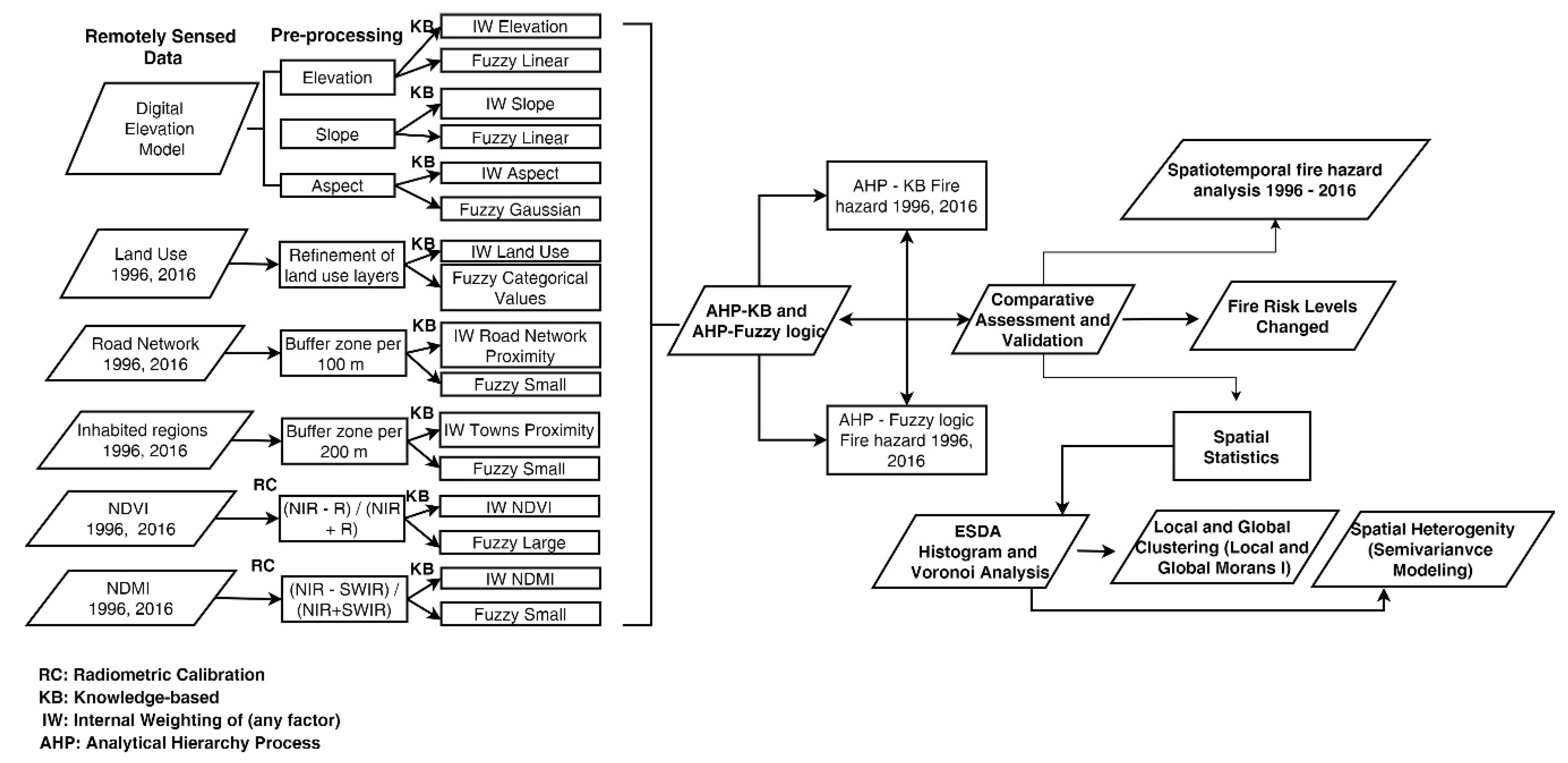
2. Materials and Methods
2.1. Study Area
2.2. Data and Pre-Processing
2.3. Methodology
2.3.1. Classification of Critical Factors—Analytical Hierarchy Process (AHP) for Knowledge-Based and Fuzzy Logic Models for Remote Sensing Data Fusion
2.3.2. Comparative Assessment and Validation
2.3.3. Spatiotemporal Analysis and Spatial Statistics
3. Results
3.1. Fire Hazard Maps of AHP-Knowledge-Based and AHP-Fuzzy Logic Models for 1996 and 2016
3.2. Comparative Assessment and Validation—Selection of the Most Representative Technique
3.3. Spatiotemporal Analysis
3.4. Geostatistical Analysis
4. Discussion
5. Conclusions
Author Contributions
Funding
Acknowledgments
Conflicts of Interest
Appendix A
| Slope (Degrees) ([10], Adapted) | Weight | Fire Hazard | Aspect ([57,58], Adapted) | Weight | Fire Hazard |
| 0–5 | 1 | Very low | Smooth ground | 1 | Null |
| 5–15 | 3 | Low | North | 2 | Very low |
| 15–25 | 5 | Moderate | Northeast | 3 | Low |
| 25–35 | 7 | High | Northwest | 4 | Lower than mean |
| 35–45 | 9 | Very high | East | 5 | Moderate |
| >45 | 10 | Extremely high | Southeast | 6 | Higher than mean |
| West | 4 | Lower than mean | |||
| Southwest | 8 | Very high | |||
| South | 10 | Extremely high | |||
| Elevation (Meters) | Weight | Fire Hazard | Distance from Roads (Meters) ([11], Adapted) | Weight | Fire Hazard |
| 0–100 | 10 | Extremely high | 400–500 | 2 | Low |
| 100–200 | 8 | Very high | 300–400 | 5 | Moderate |
| 200–300 | 5 | Moderate | 200–300 | 7 | High |
| >300 | 2 | Low | 100–200 | 8 | Very high |
| 0–100 | 10 | Extremely high | |||
| Land Uses ([37,59], Adapted) | Weight | Fire Hazard | Distance from Towns (Meters) ([57,58], Adapted) | Weight | Fire Hazard |
| Airports; Discontinuous urban fabric | 1 | Very low | 800–1000 | 2 | Very low |
| Land principally occupied by agriculture, with significant areas of natural vegetation; Olive groves; Complex cultivation patterns; Sparsely vegetated areas | 3 | Low | 600–800 | 3 | Low |
| Broad-leaved forest | 5 | Moderate | 400–600 | 5 | Moderate |
| Coniferous forest | 7 | High | 200–400 | 7 | High |
| Mixed forest | 8 | Very high | 0–200 | 8 | Very high |
| Natural grasslands | 9 | Very high | |||
| Sclerophyllous vegetation; Transitional woodland-shrub | 10 | Extremely high | |||
| NDVI (Values) [41] | Weight | Fire Hazard | NDMI (Values) [65] | Weight | Fire Hazard |
| −0.33–0.2 | 0 | Null | >0.3 | 1 | Very low |
| 0.2–0.5 | 5 | Moderate | 0.15–0.3 | 4 | Moderate |
| >0.5 | 7 | High | 0–0.15 | 7 | High |
| −0.22–0 | 9 | Very high | |||
| Factor | Fuzzification Process (Fuzzy Membership) | Properties * |
|---|---|---|
| Elevation | Fuzzy Linear | As the elevation increases the possibility of being a member decreases |
| Slope | Fuzzy Linear | As the slope increases the possibility of being a member increases |
| Aspect | Fuzzy Gaussian: Threshold = 180; Spread = 0.01 | As aspect deviates from South (the Midpoint) in any direction, the possibility of being a member diminishes |
| Land Uses | Fuzzy—Division | The fuzzification process involves the division of the categorical value by 10 |
| Distance from roads | Fuzzy Small—Euclidean Distance from roads: Threshold = 200; Spread = 5 | The emphasis is given on the area close to roads, especially within 200 m. After this threshold, the possibility of being a member is drastically decreased. |
| Distance from towns | Fuzzy Small—Euclidean Distance from towns: Threshold = 500; Spread = 5 | The emphasis is given on the area close to inhabited regions, especially within 500 m. After this threshold, the possibility of being a member is drastically decreased. |
| NDVI | Fuzzy Large: Threshold = 0.35; Spread = 0.1 | The emphasis is given on the most susceptible regions which include shrubs and pure forests. Below this threshold, the possibility of being a member is drastically decreased. |
| NDMI | Fuzzy Small: Threshold = 0.2; Spread = 0.1 | The emphasis is given on the most susceptible regions which include the driest territory. Above this threshold, the possibility of being a member is drastically decreased. |
| Ha (% of the Total) | Low | Moderate | High | Very High |
|---|---|---|---|---|
| Fire hazard 1996 AHP-KB | 12.5 (2.1%) | 408.6 (69.3%) | 166 (28.1%) | 3 (0.5%) |
| Fire hazard 1996 Fuzzy AHP | 39.3 (6.7%) | 501.9 (85.1%) | 49 (8.3%) | 0 (0.0%) |
| Fire hazard 2016 AHP-KB | 5 (0.9%) | 384.8 (65.2%) | 195.8 (33.2%) | 3.9 (0.7%) |
| Fire hazard 2016 Fuzzy AHP | 13 (2.2%) | 502 (85.1%) | 75 (12.7%) | 0 (0.0%) |


Analytical Hierarchy Process Stages
References
- Cohen, J.D. Preventing disaster: Home ignitability in the wildland-urban interface. J. For. 2000, 98, 15–21. [Google Scholar]
- Pausas, J.G.; Llovet, J.; Rodrigo, A.; Vallejo, R. Are wildfires a disaster in the Mediterranean basin?—A review. Int. J. Wildl. Fire 2008, 17, 713. [Google Scholar] [CrossRef]
- Parisien, M.-A. Science can map a solution to a fast-burning problem. Nature 2016, 534, 297. [Google Scholar] [CrossRef] [PubMed]
- Sakellariou, S.; Tampekis, S.; Samara, F.; Sfougaris, A.; Christopoulou, O. Review of state-of-the-art decision support systems (DSSs) for prevention and suppression of forest fires. J. For. Res. 2017, 28, 1107–1117. [Google Scholar] [CrossRef]
- NIFA Total Wildland Fires and Acres. Available online: https://www.nifc.gov/fireInfo/fireInfo_stats_totalFires.html (accessed on 10 October 2019).
- NIFA Federal Firefighting Costs (Suppression Only). Available online: https://www.nifc.gov/fireInfo/fireInfo_documents/SuppCosts.pdf (accessed on 10 October 2019).
- San-Miguel-Ayanz, J.; Durrant, T.; Boca, R.; Libertà, G.; Branco, A.; de Rigo, D.; Ferrari, D.; Pieralberto, M.; Tomàs Artés, V.; Duarte, O.; et al. Forest Fires in Europe, Middle East and North Africa 2018. Available online: https://ec.europa.eu/jrc/en/publication/forest-fires-europe-middle-east-and-north-africa-2018 (accessed on 10 October 2019).
- European Environment Agency Forest Fires. Available online: https://www.eea.europa.eu/data-and-maps/indicators/forest-fire-danger-3/assessment (accessed on 10 February 2020).
- Thompson, M.P.; Calkin, D.E. Uncertainty and risk in wildland fire management: A review. J. Environ. Manage. 2011, 92, 1895–1909. [Google Scholar] [CrossRef]
- Eugenio, F.C.; dos Santos, A.R.; Fiedler, N.C.; Ribeiro, G.A.; da Silva, A.G.; dos Santos, Á.B.; Paneto, G.G.; Schettino, V.R. Applying GIS to develop a model for forest fire risk: A case study in Espírito Santo, Brazil. J. Environ. Manag. 2016, 173, 65–71. [Google Scholar] [CrossRef]
- Sivrikaya, F.; Saǧlam, B.; Akay, A.E.; Bozali, N. Evaluation of forest fire risk with GIS. Polish J. Environ. Stud. 2014, 23, 187–194. [Google Scholar]
- Vadrevu, K.P.; Eaturu, A.; Badarinath, K.V.S. Fire risk evaluation using multicriteria analysis—A case study. Environ. Monit. Assess. 2010, 166, 223–239. [Google Scholar] [CrossRef]
- Amalina, P.; Prasetyo, L.B.; Rushayati, S.B. Forest Fire Vulnerability Mapping in Way Kambas National Park. Procedia Environ. Sci. 2016, 33, 239–252. [Google Scholar] [CrossRef]
- Sakellariou, S.; Tampekis, S.; Samara, F.; Flannigan, M.; Jaeger, D.; Christopoulou, O.; Sfougaris, A. Determination of fire risk to assist fire management for insular areas: The case of a small Greek island. J. For. Res. 2019, 30, 589–601. [Google Scholar] [CrossRef]
- Eskandari, S. A new approach for forest fire risk modeling using fuzzy AHP and GIS in Hyrcanian forests of Iran. Arab. J. Geosci. 2017, 10, 190. [Google Scholar] [CrossRef]
- Pourghasemi, H.R.; Beheshtirad, M.; Pradhan, B. A comparative assessment of prediction capabilities of modified analytical hierarchy process (M-AHP) and Mamdani fuzzy logic models using Netcad-GIS for forest fire susceptibility mapping. Geomat. Nat. Hazards Risk 2016, 7, 861–885. [Google Scholar] [CrossRef]
- Castillo Soto, M.E. The identification and assessment of areas at risk of forest fire using fuzzy methodology. Appl. Geogr. 2012, 35, 199–207. [Google Scholar] [CrossRef]
- Pradhan, B.; Dini Hairi Bin Suliman, M.; Arshad Bin Awang, M. Forest fire susceptibility and risk mapping using remote sensing and geographical information systems (GIS). Disaster Prev. Manag. An Int. J. 2007, 16, 344–352. [Google Scholar] [CrossRef]
- Gabban, A.; San-Miguel-Ayanz, J.; Barbosa, P.; Libertà, G. Analysis of NOAA-AVHRR NDVI inter-annual variability for forest fire risk estimation. Int. J. Remote Sens. 2006, 27, 1725–1732. [Google Scholar] [CrossRef]
- Pourghasemi, H.R. GIS-based forest fire susceptibility mapping in Iran: A comparison between evidential belief function and binary logistic regression models. Scand. J. For. Res. 2016, 31, 80–98. [Google Scholar] [CrossRef]
- European Environment Agency CORINE Land Cover. Available online: https://land.copernicus.eu/pan-european/corine-land-cover (accessed on 11 October 2017).
- NOA Diachronic inventory of Forest Fires. Available online: http://ocean.space.noa.gr/diachronic_bsm/ (accessed on 3 October 2017).
- Hellenic Statistical Authority. Available online: http://www.statistics.gr/en/home/ (accessed on 3 October 2017).
- SETE The Greek Tourism Confederation: Statistics. Available online: https://sete.gr/el/statistika-vivliothiki/statistika/?c=43476&cat=43477&key= (accessed on 1 November 2019).
- Meteorological Portal—Data derived from National Observatory of Athens. Meteorological Database. Available online: http://meteosearch.meteo.gr/default.asp (accessed on 4 October 2017).
- Chaparro, D.; Piles, M.; Vall-llossera, M.; Camps, A. Surface moisture and temperature trends anticipate drought conditions linked to wildfire activity in the Iberian Peninsula. Eur. J. Remote Sens. 2016, 49, 955–971. [Google Scholar] [CrossRef]
- Hellenic Cadastre. Available online: http://www.ktimatologio.gr/sites/en/Pages/Default.aspx (accessed on 5 December 2017).
- Samara, F. Sustainable spatial Development Model in small Islands: The Case of Skiathos Island. Ph.D. Thesis, Department of Planning and Regional Development, University of Thessaly, Volos, Greece, 2016. [Google Scholar]
- Geofabrik OpenStreetMap Data Extracts Official Website. Available online: http://download.geofabrik.de/ (accessed on 23 November 2016).
- USGS Earth Explorer. Available online: https://earthexplorer.usgs.gov/ (accessed on 21 October 2017).
- USGS Global Visualization Viewer (GloVis). Available online: https://glovis.usgs.gov/ (accessed on 10 October 2017).
- USGS Using the USGS Landsat Level-1 Data Product. Available online: https://www.usgs.gov/land-resources/nli/landsat/us (accessed on 5 December 2017).
- Carlson, T.N.; Ripley, D.A. On the relation between NDVI, fractional vegetation cover, and leaf area index. Remote Sens. Environ. 1997, 62, 241–252. [Google Scholar] [CrossRef]
- Wilson, E.H.; Sader, S.A. Detection of forest harvest type using multiple dates of Landsat TM imagery. Remote Sens. Environ. 2002, 80, 385–396. [Google Scholar] [CrossRef]
- Environmental Systems Research Institute. ESRI ArcGIS Desktop: Release 10; Environmental Systems Research Institute: Redlands, CA, USA, 2013. [Google Scholar]
- Finney, M.A.; McHugh, C.W.; Grenfell, I.C.; Riley, K.L.; Short, K.C. A simulation of probabilistic wildfire risk components for the continental United States. Stoch. Environ. Res. Risk Assess. 2011, 25, 973–1000. [Google Scholar] [CrossRef]
- Vasilakos, C.; Kalabokidis, K.; Hatzopoulos, J.; Matsinos, I. Identifying wildland fire ignition factors through sensitivity analysis of a neural network. Nat. Hazards 2009, 50, 125–143. [Google Scholar] [CrossRef]
- Pereira, M.G.; Aranha, J.; Amraoui, M. Land cover fire proneness in Europe. For. Syst. 2014, 23, 598. [Google Scholar] [CrossRef]
- Raymond Hunt, E.; Wang, L.; Qu, J.J.; Hao, X. Remote sensing of fuel moisture content from canopy water indices and normalized dry matter index. J. Appl. Remote Sens. 2012. [Google Scholar] [CrossRef]
- Dennison, P.E.; Roberts, D.A.; Peterson, S.H.; Rechel, J. Use of Normalized Difference Water Index for monitoring live fuel moisture. Int. J. Remote Sens. 2005, 26, 1035–1042. [Google Scholar] [CrossRef]
- Chuvieco, E.; Cocero, D.; Riaño, D.; Martin, P.; Martínez-Vega, J.; de la Riva, J.; Pérez, F. Combining NDVI and surface temperature for the estimation of live fuel moisture content in forest fire danger rating. Remote Sens. Environ. 2004, 92, 322–331. [Google Scholar] [CrossRef]
- USGS NDVI, the Foundation for Remote Sensing Phenology. Available online: https://phenology.cr.usgs.gov/ndvi_foundation.php (accessed on 21 October 2017).
- Cohen, J.D. The wildland-urban interface fire problem. Fremontia 2010, 38, 16–22. [Google Scholar]
- Martell, D.L. Forest Fire Management. In Handbook Of Operations Research In Natural Resources; Springer: Boston, MA, USA, 2007; pp. 489–509. [Google Scholar]
- Kayacan, E.; Khanesar, M.A. Fundamentals of Type-1 Fuzzy Logic Theory. In Fuzzy Neural Networks for Real Time Control Applications; Elsevier: Amsterdam, The Netherlands, 2016; pp. 13–24. [Google Scholar]
- Saaty, T.L. How to make a decision: The analytic hierarchy process. Eur. J. Oper. Res. 1990, 48, 9–26. [Google Scholar] [CrossRef]
- Anselin, L. Local Indicators of Spatial Association-LISA. Geogr. Anal. 2010, 27, 93–115. [Google Scholar] [CrossRef]
- Yuan, Y.; Cave, M.; Zhang, C. Using Local Moran’s I to identify contamination hotspots of rare earth elements in urban soils of London. Appl. Geochemistry 2018, 88, 167–178. [Google Scholar] [CrossRef]
- Zhang, C.; Luo, L.; Xu, W.; Ledwith, V. Use of local Moran’s I and GIS to identify pollution hotspots of Pb in urban soils of Galway, Ireland. Sci. Total Environ. 2008, 398, 212–221. [Google Scholar] [CrossRef]
- Moran, P.A.P. The Interpretation of Statistical Maps. J. R. Stat. Soc. Ser. B 1948, 10, 243–251. [Google Scholar] [CrossRef]
- Cliff, A.D.; Ord, J.K. Spatial Autocorrelation; Pion Ltd.: London, UK, 1973. [Google Scholar]
- Cliff, A.D.; Ord, J.K. Spatial Processes Models and Applications; Pion Ltd.: London, UK, 1981. [Google Scholar]
- Zhang, T.; Lin, G. A decomposition of Moran’s I for clustering detection. Comput. Stat. Data Anal. 2007, 51, 6123–6137. [Google Scholar] [CrossRef]
- Fu, W.J.; Jiang, P.K.; Zhou, G.M.; Zhao, K.L. Using Moran’s I and GIS to study the spatial pattern of forest litter carbon density in a subtropical region of southeastern China. Biogeosciences 2014, 11, 2401–2409. [Google Scholar] [CrossRef]
- Webster, R.; Oliver, M.A. Geostatistics for Environmental Scientists; Statistics in Practice; John Wiley & Sons, Ltd.: Chichester, UK, 2007; ISBN 9780470517277. [Google Scholar]
- Kalabokidis, K.; Athanasis, N.; Gagliardi, F.; Karayiannis, F.; Palaiologou, P.; Parastatidis, S.; Vasilakos, C. Virtual Fire: A web-based GIS platform for forest fire control. Ecol. Inform. 2013, 16, 62–69. [Google Scholar] [CrossRef]
- Roberto Barbosa, M.; Carlos Sícoli Seoane, J.; Guimarães Buratto, M.; Santana de Oliveira Dias, L.; Paulo Carvalho Raivel, J.; Lobos Martins, F. Forest Fire Alert System: A Geo Web GIS prioritization model considering land susceptibility and hotspots—A case study in the Carajás National Forest, Brazilian Amazon. Int. J. Geogr. Inf. Sci. 2010, 24, 873–901. [Google Scholar] [CrossRef]
- Saglam, B.; Bilgili, E.; Dincdurmaz, B.; Kadiogulari, A.; Kücük, Ö. Spatio-Temporal Analysis of Forest Fire Risk and Danger Using LANDSAT Imagery. Sensors 2008, 8, 3970–3987. [Google Scholar] [CrossRef]
- Kant Sharma, L.; Kanga, S.; Singh Nathawat, M.; Sinha, S.; Chandra Pandey, P. Fuzzy AHP for forest fire risk modeling. Disaster Prev. Manag. An Int. J. 2012, 21, 160–171. [Google Scholar] [CrossRef]
- You, W.; Lin, L.; Wu, L.; Ji, Z.; Yu, J.; Zhu, J.; Fan, Y.; He, D. Geographical information system-based forest fire risk assessment integrating national forest inventory data and analysis of its spatiotemporal variability. Ecol. Indic. 2017, 77, 176–184. [Google Scholar] [CrossRef]
- Massad, E.; Ortega, N.R.S.; de Barros, L.C.; Struchiner, C.J. Basic Concepts of Fuzzy Sets Theory. In Studies in Fuzziness and Soft Computing; SPRINGER: Berlin/Heidelberg, Germay, 2008; pp. 11–40. ISBN 9783540690924. [Google Scholar]
- Klobučar, D.; Pernar, R. Geostatistical approach to spatial analysis of forest damage. Period. Biol. 2012, 114, 103–110. [Google Scholar]
- Eugenio, F.C.; Rosa dos Santos, A.; Fiedler, N.C.; Ribeiro, G.A.; da Silva, A.G.; Juvanhol, R.S.; Schettino, V.R.; Marcatti, G.E.; Domingues, G.F.; Alves dos Santos, G.M.A.D.; et al. GIS applied to location of fires detection towers in domain area of tropical forest. Sci. Total Environ. 2016, 562, 542–549. [Google Scholar] [CrossRef]
- Sakellariou, S.; Samara, F.; Tampekis, S.; Sfougaris, A.; Christopoulou, O. Development of a Spatial Decision Support System (SDSS) for the active forest-urban fires management through location planning of mobile fire units. Environ. Hazards 2020, 19, 131–151. [Google Scholar] [CrossRef]
- Sakellariou, S.; Parisien, M.-A.; Flannigan, M.; Wang, X.; de Groot, B.; Tampekis, S.; Samara, F.; Sfougaris, A.; Christopoulou, O. Spatial planning of fire-agency stations as a function of wildfire likelihood in Thasos, Greece. Sci. Total Environ. 2020, 729, 139004. [Google Scholar] [CrossRef]







| Type of Data | Spatial Resolution | Purpose | Source |
|---|---|---|---|
| Digital Elevation Model | 5 m | Generating Elevation, Slope, and Aspect grids | [27] |
| Land uses 1990 | 100 m | Flammability characterization | [21] |
| Land uses 2012 | 100 m | Flammability characterization | [21] |
| Road network 1996 | Digitized, based on 5 m orthophoto image—Rasterized data of 5 m | Development of zones (buffers) adjacent to road network—Increased vulnerability | Digitization |
| Road network 2016 | Rasterized data of 5 m | Development of zones (buffers) adjacent to road network—Increased vulnerability | [29] |
| Inhabited regions—Artificial structures 1996 | Digitized, based on 5 m orthophoto image—Rasterized data of 5 m | Development of zones (buffers) adjacent to human settlements network—Increased vulnerability (Wildland Urban Interface) | [27] |
| Inhabited regions—Artificial structures 2016 | Digitized, based on Google Earth images Rasterized data of 5 m | Development of zones (buffers) adjacent to human settlements network—Increased vulnerability (Wildland Urban Interface) | Google Earth |
| NDVI 1996 | 30 m | Characterization of vegetation health status in relation to fire hazard | USGS |
| NDVI 2016 | 30 m | Characterization of vegetation health status in relation to fire hazard | USGS |
| NDMI 1996 | 30 m | Vegetation water content—Drought conditions | USGS |
| NDMI 2016 | 30 m | Vegetation water content—Drought conditions | USGS |
| Factor | Weight |
|---|---|
| Elevation | 0.02 |
| Slope | 0.07 |
| Aspect | 0.12 |
| Land Uses | 0.25 |
| Distance from roads | 0.09 |
| Distance from towns | 0.04 |
| NDVI | 0.14 |
| NDMI | 0.26 |
| Model 1996 | Nugget | Partial Sill | Sill | Major Range | R2 (GWR) | R2 (OLS) | RSS | Sigma |
| Stable | 0 | 0.0075 | 0.0075 | 3096 | 0.9661 | 0.8910 | 0.6708 | 0.0127 |
| Spherical | 0.0053 | 0.0018 | 0.0071 | 2666 | 0.8947 | 0.5170 | 1.3899 | 0.0183 |
| Exponential | 0.0044 | 0.0027 | 0.0072 | 2437 | 0.9050 | 0.5840 | 1.3225 | 0.0178 |
| Gaussian | 0.0056 | 0.0015 | 0.0071 | 2241 | 0.8902 | 0.4864 | 1.4226 | 0.0185 |
| Model 2016 | Nugget | Partial Sill | Sill | Major Range | R2 (GWR) | R2 (OLS) | RSS | Sigma |
| Stable | 0 | 0.0071 | 0.0071 | 1626 | 0.9686 | 0.9181 | 0.6148 | 0.0121 |
| Spherical | 0.0048 | 0.0019 | 0.0068 | 1741 | 0.8778 | 0.5066 | 1.4379 | 0.0186 |
| Exponential | 0.0035 | 0.0032 | 0.0068 | 1364 | 0.8979 | 0.6552 | 1.3715 | 0.0181 |
| Gaussian | 0.0048 | 0.0019 | 0.0068 | 1122 | 0.8705 | 0.4687 | 1.4874 | 0.0189 |
© 2020 by the authors. Licensee MDPI, Basel, Switzerland. This article is an open access article distributed under the terms and conditions of the Creative Commons Attribution (CC BY) license (http://creativecommons.org/licenses/by/4.0/).
Share and Cite
Sakellariou, S.; Cabral, P.; Caetano, M.; Pla, F.; Painho, M.; Christopoulou, O.; Sfougaris, A.; Dalezios, N.; Vasilakos, C. Remotely Sensed Data Fusion for Spatiotemporal Geostatistical Analysis of Forest Fire Hazard. Sensors 2020, 20, 5014. https://doi.org/10.3390/s20175014
Sakellariou S, Cabral P, Caetano M, Pla F, Painho M, Christopoulou O, Sfougaris A, Dalezios N, Vasilakos C. Remotely Sensed Data Fusion for Spatiotemporal Geostatistical Analysis of Forest Fire Hazard. Sensors. 2020; 20(17):5014. https://doi.org/10.3390/s20175014
Chicago/Turabian StyleSakellariou, Stavros, Pedro Cabral, Mário Caetano, Filiberto Pla, Marco Painho, Olga Christopoulou, Athanassios Sfougaris, Nicolas Dalezios, and Christos Vasilakos. 2020. "Remotely Sensed Data Fusion for Spatiotemporal Geostatistical Analysis of Forest Fire Hazard" Sensors 20, no. 17: 5014. https://doi.org/10.3390/s20175014
APA StyleSakellariou, S., Cabral, P., Caetano, M., Pla, F., Painho, M., Christopoulou, O., Sfougaris, A., Dalezios, N., & Vasilakos, C. (2020). Remotely Sensed Data Fusion for Spatiotemporal Geostatistical Analysis of Forest Fire Hazard. Sensors, 20(17), 5014. https://doi.org/10.3390/s20175014

