ARES: Automated Risk Estimation in Smart Sensor Environments
Abstract
1. Introduction
2. Background
2.1. Risk Assessment
- (1)
- A risk model, which defines the risk factors, their relationships used in calculating the level of risk. Some examples of risk factors include threats, vulnerabilities, the impact of a threat, the likelihood of a threat, and predisposing conditions. In order for a risk model to use these risk factors, they should be estimated first. To estimate the risk factors, different approaches have been proposed, such as using the rate of occurrences of a threat [17] or formal distributions [25] to estimate the likelihood of a threat.
- (2)
- An analysis approach, which defines how the risk factors are identified and analyzed. An analysis approach can be asset/impact-oriented, threat-oriented, or vulnerability-oriented. The main difference between analysis approaches is their starting point. An asset/impact-oriented approach starts with the identification of impacts and critical assets. A threat-oriented approach starts with the identification of threat sources or threat events. On the other hand, a vulnerability-oriented approach begins with the identification of exploitable weaknesses in the information systems. However, all of them should first identify the assets that need protection. In a threat-oriented approach, there is no way to identify threats without knowing the assets that need protection against them, neither in a vulnerability-oriented approach nor in an asset-oriented.
- (3)
- An assessment approach, which specifies the range of the values of the risk. An assessment approach can be quantitative, qualitative, or semi-qualitative. A quantitative approach uses numbers, a qualitative approach uses non-numerical categories or levels (e.g., very low, low, moderate, high, very high), and a semi-qualitative uses predefined value scales (e.g., 0–5, 7–8 or 8–10).
- (4)
- A risk assessment process, which includes the activities for preparing the risk assessment, conducting risk assessment, communicating the results and maintaining the assessment. The risk assessment is conducted using an analysis approach to identify the risk factors and to evaluate them, and a risk model is to estimate risks according to an assessment approach.
2.2. Common Security Standards
- (1)
- Common Platform Enumeration (CPE) Scheme [26,27,28]: CPE is an abstract structured naming scheme for describing and identifying applications, operating systems, software, and hardware, including industrial control systems, such as supervisory control and data acquisition (SCADA) The logical construct of a CPE is called “Well-Formed CPE Name (WFN)”. Figure 2 depicts the WFN format and provides an example of a CPE [28].The CPE scheme, however, cannot describe and identify specific instances of products (e.g., using serial numbers, particular licenses, or physically discernible products) [28]. For instance, CPE can describe the XYZ Visualizer Enterprise Suite 4.2.3, XYZ Visualizer Enterprise Suite (all versions), or XYZ Visualizer (all variations) but not the XYZ Visualizer Enterprise Suite 4.2.3 with the serial number Q472B987P113 [28].
- (2)
- Common Vulnerabilities and Exposures (CVE) [29,30]: A CVE is a known weakness found in specific software or hardware that can be exploited and result in an impact on Confidentiality, Integrity or Availability (CIA) attributes. Each CVE includes a unique identification number, a description, one public reference, a reference to the software or hardware that is affected (using CPE), a reference to a weakness (described in the next bullet), and its severity (described in Section 2.3).
- (3)
- Common Weakness Enumeration (CWE) [31]: CWEs represent flaws in software architecture, design, or code before fielding that can lead to a specific CVE in an application. A CWE list is a set of weaknesses, each associated with some CVEs. For example, CVE-2019-1675 “Cisco Aironet Active Sensor Static Credentials Vulnerability” existing in the Cisco Aironet active sensor is a manifestation of the CWE-798 “Use of Hard-coded Credentials”. Therefore, it can be assumed that CVEs are “known knowns” (things we are aware of and understand) or specific vulnerabilities, while CWEs are “unknown knowns” (things we understand but are not aware of) or generic vulnerability types.
- (4)
- Common Attack Pattern Enumeration and Classification (CAPEC) [32]: CAPEC is a comprehensive dictionary and classification taxonomy of known security threats. Each CAPEC describes the common characteristics of a cyber threat (aka attack-pattern), helping to explain how applications and other cyber-enabled capabilities are likely to be attacked. CAPEC also provides the likelihood that the attack pattern can occur and its impact. CAPEC utilizes a qualitative approach rating both likelihood and impact in a five-step value scale ranging from very low to very high. Finally, each CAPEC records the weaknesses (CWEs) that the attack pattern can exploit.
2.3. Common Vulnerability Scoring System
- (1)
- The Base Metrics that reflect the intrinsic characteristics of a CVE. These characteristics are constant, and they are categorized into the following two groups:
- (a)
- The exploitability metrics that represent “the ease and technical means by which the vulnerability can be exploited”, and
- (b)
- The impact metrics that represent the impact of the CVE on each CIA attribute. The values of the impact metrics can be “None”, “Low” or “High”, depending on whether there is no loss, some loss, or total loss of the CIA attribute.
- (2)
- The Temporal Metrics that adjust the Base Metrics based on factors that can change over time, such as the availability of exploits that take advantage of the CVE.
- (3)
- The Environmental Metrics that adjust the Base and Temporal Metrics to a specific environment considering more specific factors such as the presence of mitigations (countermeasures) that exist in that environment.
2.4. Business Process Cataloging and Classification System
3. Related Work
3.1. Utilizing MITRE’s Common Security Standards to Identify Threats and Assess IS-Related Risk
3.2. Integrating Risk and Business Process Management
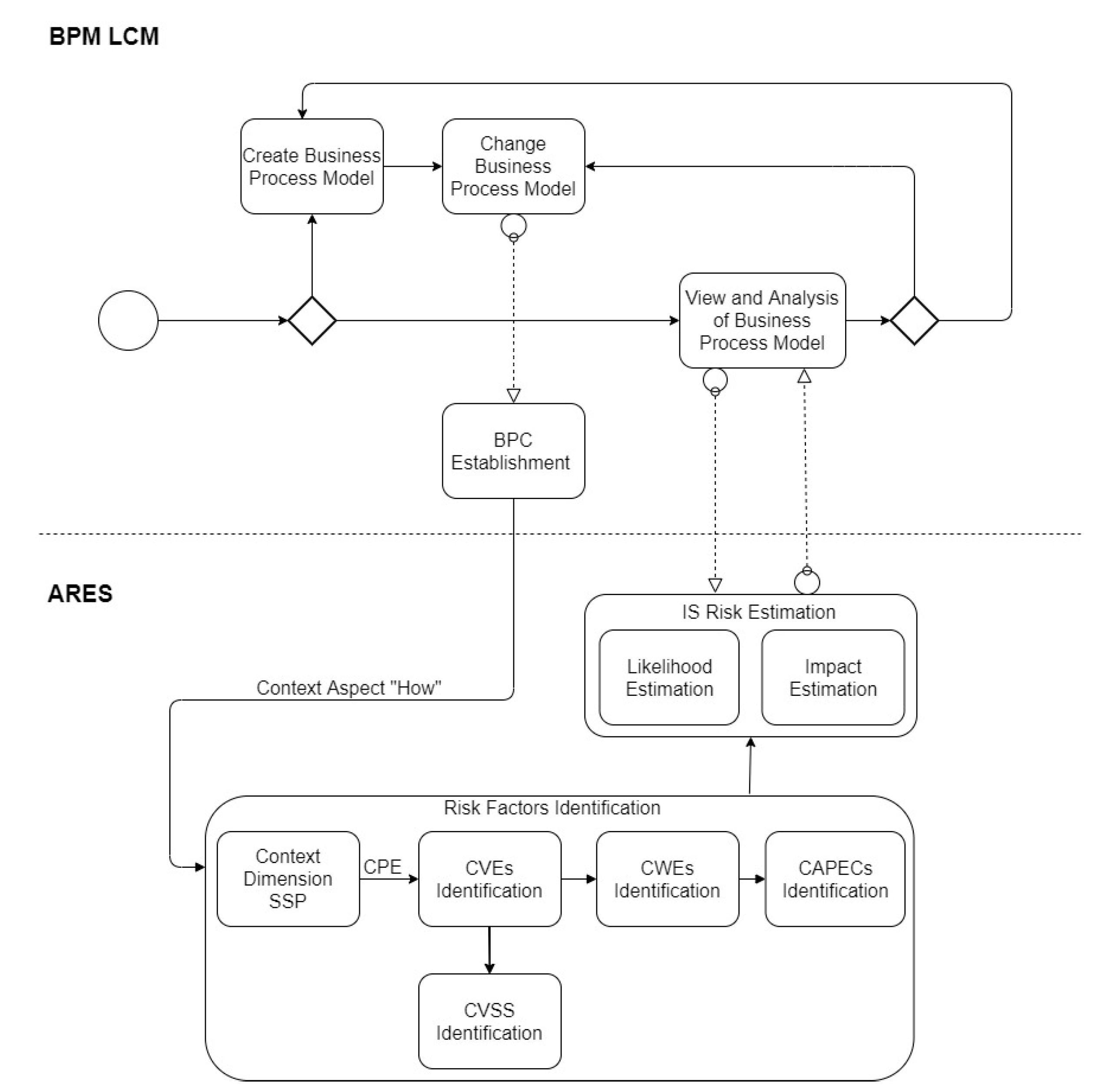
4. The Proposed ARES Approach
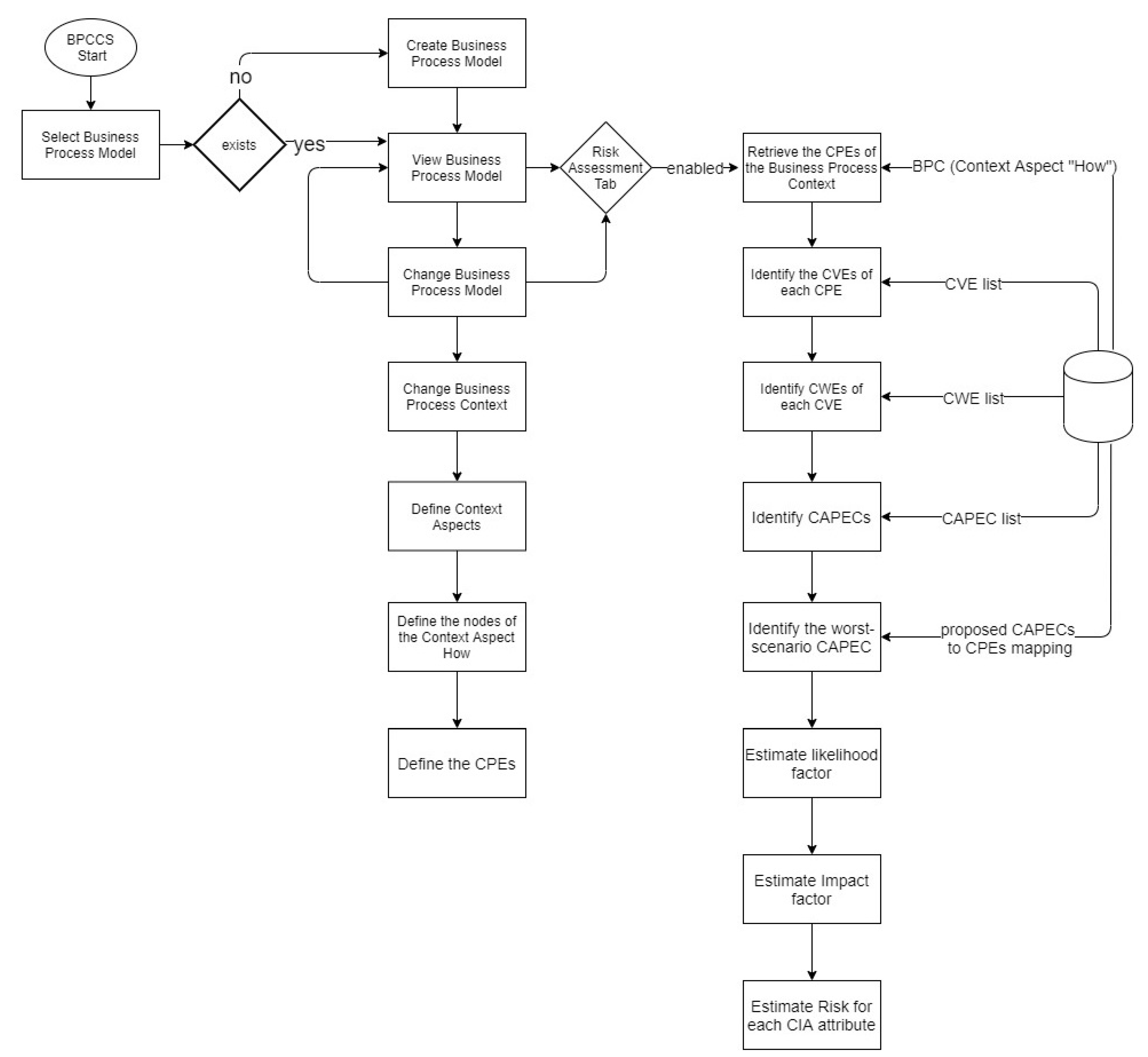
5. Utilizing BPCCS in Applying the ARES Approach
6. Attack Patterns-To-Platforms Mapping
7. Discussion
8. Conclusions
Author Contributions
Funding
Conflicts of Interest
Disclaimer
References
- Alcácer, V.; Cruz-Machado, V. Scanning the Industry 4.0: A Literature Review on Technologies for Manufacturing Systems. Eng. Sci. Technol. Int. J. 2019, 22, 899–919. [Google Scholar] [CrossRef]
- Pereira, A.C.; Romero, F. A review of the meanings and the implications of the Industry 4.0 concept. Procedia Manuf. 2017, 13, 1206–1214. [Google Scholar] [CrossRef]
- Ivezic, N.; Ljubicic, M.; Kulvatunyou, S.; Nieman, S.; Leiva, C.; Marjanovic, Z. Towards Business Process Catalog for Cloud-Enabled Service Oriented Architectures; American Society of Mechanical Engineers Digital Collection: Blacksburg, Virginia, USA, 2016. [Google Scholar]
- Lee, Y.; Kulvatunyou, B.; Lee, M.; Peng, Y.; Ivezic, N. A graph-based automatic services composition based on cost estimation heuristic. Int. J. Serv. Oper. Inform. 2019, 10, 145–180. [Google Scholar] [CrossRef]
- Zhong, R.Y.; Xu, X.; Klotz, E.; Newman, S.T. Intelligent Manufacturing in the Context of Industry 4.0: A Review. Engineering 2017, 3, 616–630. [Google Scholar] [CrossRef]
- The Industrial Internet of Things Volume G2: Key System Concerns, Industrial Internet Consortium. 2018. IIC:PUB:G2:V1.0:PB:20180807. Available online: https://www.iiconsortium.org/pdf/Industrial_Internet_of_Things_Volume_G2-Key_System_Concerns_2018_08_07.pdf (accessed on 6 July 2020).
- Lin, S.-W.; Miller, B. Industrial Internet: Towards Interoperability and Composability, Technical Report, Industrial Internet Consortium, June 2016. Available online: https://www.iiconsortium.org/news/joi-articles/2016-June-Industrial-Internet-Towards-Interoperability-and-Composability.pdf (accessed on 6 July 2020).
- Good Practices for Security of Internet of Things in the Context of Smart Manufacturing, ENISA, 19 November 2018. Available online: https://www.enisa.europa.eu/publications/good-practices-for-security-of-iot (accessed on 6 July 2020). [CrossRef]
- Jelisic, E.; Ivezic, N.; Kulvatunyou, B.; Anicic, N.; Marjanovic, Z. A Business-Context-Based Approach for Message Standards Use-A Validation Study. In Proceedings of the European Conference on Advances in Databases and Information Systems, Bled, Slovenia, 8–11 September 2019; pp. 337–349. [Google Scholar]
- Ivezic, N.; Ljubicic, M.; Jankovic, M.; Kulvatunyou, B.; Nieman, S.; Minakawa, G. Business Process Context for Message Standards. In Proceedings of the BPM (Industry Track), Barcelona, Spain, 8–15 September 2017; pp. 100–111. [Google Scholar]
- Ivezic, N.; Srinivasan, V. On architecting and composing engineering information services to enable smart manufacturing. J. Comput. Inf. Sci. Eng. 2016, 16, 031002. [Google Scholar] [CrossRef]
- Oh, H.; Ivezic, N.; Nieman, S.T. Standards-based semantic integration of manufacturing information: Past, present, and future. J. Manuf. Syst. 2019, 52, 184–197. [Google Scholar]
- Framework for Improving Critical Infrastructure Cybersecurity; Version 1.1; National Institute of Standards and Technology: Gaithersburg, MD, USA, 2018.
- Risk Management Framework for Information Systems and Organizations: A System Life Cycle Approach for Security and Privacy; National Institute of Standards and Technology: Gaithersburg, MD, USA, 2018.
- Gritzalis, D.; Iseppi, G.; Mylonas, A.; Stavrou, V. Exiting the Risk Assessment Maze: A Meta-Survey. ACM Comput. Surv. 2018, 51, 1–30. [Google Scholar] [CrossRef]
- Alberts, C.J.; Behrens, S.G.; Pethia, R.D.; Wilson, W.R. Operationally Critical Threat, Asset, and Vulnerability Evaluation (OCTAVE) Framework; Version 1.0 1999; Software Engineering Institute: Pittsburgh, PA, USA, June 1999. [Google Scholar] [CrossRef]
- Amutio, M.A.; Candau, J.; Mañas, J. Magerit-Version 3, Methodology for Information Systems Risk Analysis and Management, Book I- Method; Ministry of Finance and Public Administration Technical Secretariat Information, Documentation and Publications Unit Publications Center: Madrid, Spain, 2014.
- Stergiopoulos, G.; Kouktzoglou, V.; Theocharidou, M.; Gritzalis, D. A process-based dependency risk analysis methodology for critical infrastructures. Int. J. Crit. Infrastruct. 2017, 13, 184. [Google Scholar] [CrossRef]
- Suriadi, S.; Weiß, B.; Winkelmann, A.; ter Hofstede, A.H.; Adams, M.; Conforti, R.; Fidge, C.; La Rosa, M.; Ouyang, C.; Pika, A. Current research in risk-aware business process management—Overview, comparison, and gap analysis. Commun. Assoc. Inf. Syst. 2014, 34, 52. [Google Scholar] [CrossRef]
- Sienou, A.; Lamine, E.; Karduck, A.; Pingaud, H. Conceptual model of risk: Towards a risk modelling language. In Proceedings of the International Conference on Web Information Systems Engineering, Nancy, France, 3–7 December 2007; pp. 118–129. [Google Scholar]
- MITRE Standards. Available online: https://www.mitre.org/capabilities/cybersecurity/overview/cybersecurity-resources/standards (accessed on 6 July 2020).
- FIRST Common Vulnerability Scoring System Version 3.1, Forum of Incident Response and Security Teams. Available online: https://www.first.org/cvss/v3-1/cvss-v31-specification_r1.pdf (accessed on 6 July 2020).
- Joint Task Force Transformation Initiative. Managing Information Security Risk: Organization, Mission, and Information System View; National Institute of Standards and Technology: Gaithersburg, MD, USA, 2011; p. NIST SP 800-39. [Google Scholar]
- Joint Task Force Transformation Initiative. Guide for Conducting Risk Assessments; National Institute of Standards and Technology: Gaithersburg, MD, USA, 2012; p. NIST SP 800-30r1. [Google Scholar]
- Stergiopoulos, G.; Gritzalis, D.; Kouktzoglou, V. Using formal distributions for threat likelihood estimation in cloud-enabled IT risk assessment. Comput. Netw. 2018, 134, 23–45. [Google Scholar] [CrossRef]
- MITRE CPE—Common Platform Enumeration. Available online: https://cpe.mitre.org/ (accessed on 6 July 2020).
- National Vulnerability Database Official Common Platform Enumeration (CPE) Dictionary. Available online: https://nvd.nist.gov/products/cpe (accessed on 6 July 2020).
- Parmelee, M.C.; Booth, H.; Waltermire, D.; Scarfone, K. Common Platform Enumeration: Name Matching Specification Version 2.3; National Institute of Standards and Technology: Gaithersburg, MD, USA, 2011; p. 28. [Google Scholar]
- National Vulnerability Database NVD—Vulnerabilities. Available online: https://nvd.nist.gov/vuln/full-listing (accessed on 6 July 2020).
- MITRE CVE List Home. Available online: https://cve.mitre.org/cve/ (accessed on 6 July 2020).
- MITRE CWE—Common Weakness Enumeration. Available online: https://cwe.mitre.org/ (accessed on 6 July 2020).
- MITRE CAPEC—Common Attack Pattern Enumeration and Classification (CAPEC). Available online: https://capec.mitre.org/ (accessed on 6 July 2020).
- Wang, W.; Jiang, R.; Jia, Y.; Li, A.; Chen, Y. KGBIAC: Knowledge graph based intelligent alert correlation framework. In Proceedings of the International Symposium on Cyberspace Safety and Security, Xi’an, China, 23–25 October 2017; pp. 523–530. [Google Scholar]
- Kotenko, I.; Doynikova, E. The CAPEC based generator of attack scenarios for network security evaluation. In Proceedings of the 2015 IEEE 8th International Conference on Intelligent Data Acquisition and Advanced Computing Systems: Technology and Applications (IDAACS), Warsaw, Poland, 24–26 September 2015; Volume 1, pp. 436–441. [Google Scholar]
- Chatzipoulidis, A.; Michalopoulos, D.; Mavridis, I. Information infrastructure risk prediction through platform vulnerability analysis. J. Syst. Softw. 2015, 106, 28–41. [Google Scholar] [CrossRef]
- Rongrat, K.; Senivongse, T. Assessing Risk of Security Non-compliance of Banking Security Requirements Based on Attack Patterns. Int. J. Networked Distrib. Comput. 2017, 6, 1–10. [Google Scholar] [CrossRef]
- Tjoa, S.; Jakoubi, S.; Quirchmayr, G. Enhancing Business Impact Analysis and Risk Assessment Applying a Risk-Aware Business Process Modeling and Simulation Methodology. In Proceedings of the 2008 Third International Conference on Availability, Reliability and Security, Barcelona, Spain, 4–7 March 2008; pp. 179–186. [Google Scholar]
- Goluch, G.; Ekelhart, A.; Fenz, S.; Jakoubi, S.; Tjoa, S.; Muck, T. Integration of an Ontological Information Security Concept in Risk Aware Business Process Management. In Proceedings of the 41st Annual Hawaii International Conference on System Sciences (HICSS 2008), Waikoloa, HI, USA, 7–10 January 2008; p. 377. [Google Scholar]
- Jakoubi, S.; Tjoa, S.; Quirchmayr, G. Rope: A methodology for enabling the risk-aware modelling and simulation of business processes. In Proceedings of the Fifteenth European Conference on Information Systems, St. Gallen, Switzerland, 7–9 June 2007; pp. 1596–1607. [Google Scholar]
- Sienou, A.; Lamine, E.; Pingaud, H. A Method for Integrated Management of Processrisk. Proc. GRCIS 2008, 339, 17–30. [Google Scholar]
- Kim, J.; Lee, J.; Lee, J.; Choi, I. An Integrated Process-Related Risk Management Approach to Proactive Threat and Opportunity Handling: A Framework and Rule Language. Knowl. Process Manag. 2017, 24, 23–37. [Google Scholar] [CrossRef]
- Ben-Dor, A.; Chor, B.; Karp, R.; Yakhini, Z. Discovering local structure in gene expression data: The order-preserving submatrix problem. In Proceedings of the Sixth Annual International Conference on Computational Biology, Baton Rouge, LA, USA, 6–7 April 2018; Association for Computing Machinery: Washington, DC, USA, 2002; pp. 49–57. [Google Scholar]
- Agrawal, R.; Gehrke, J.; Gunopulos, D.; Raghavan, P. Automatic subspace clustering of high dimensional data for data mining applications. In Proceedings of the 1998 ACM SIGMOD international conference on Management of data, Seattle, WA, USA, 1–4 June 1998; pp. 94–105. [Google Scholar]
- MITRE Common Attack Pattern Enumeration and Classification (CAPEC) Schema Description, 15 January 2008. Available online: https://capec.mitre.org/documents/documentation/CAPEC_Schema_Description_v1.3.pdf (accessed on 11 July 2020).
- Forward, A.; Lethbridge, T.C. A taxonomy of software types to facilitate search and evidence-based software engineering. In Proceedings of the 2008 Conference of the Center for Advanced Studies on Collaborative Research: Meeting of Minds, Richmond Hill, ON, Canada, 27–30 October 2008; Association for Computing Machinery: Richmond Hill, ON, Canada, 2008; pp. 179–191. [Google Scholar]
- Flores, J.L.; Inza, I.; Larrañaga, P.; Calvo, B. A new measure for gene expression biclustering based on non-parametric correlation. Comput. Methods Programs Biomed. 2013, 112, 367–397. [Google Scholar] [CrossRef] [PubMed]
- González, C.; Lozano, J.A.; Larrañaga, P. Mathematical modelling of UMDAc algorithm with tournament selection. Behaviour on linear and quadratic functions. Int. J. Approx. Reason. 2002, 31, 313–340. [Google Scholar] [CrossRef]
- Madeira, S.C.; Oliveira, A.L. Biclustering algorithms for biological data analysis: A survey. IEEE/ACM Trans. Comput. Biol. Bioinform. 2004, 1, 24–45. [Google Scholar] [CrossRef] [PubMed]
- Armañanzas, R.; Inza, I.; Santana, R.; Saeys, Y.; Flores, J.L.; Lozano, J.A.; Peer, Y.V.d.; Blanco, R.; Robles, V.; Bielza, C.; et al. A review of estimation of distribution algorithms in bioinformatics. BioData Min. 2008, 1, 6. [Google Scholar] [CrossRef] [PubMed]
- Larrañaga, P.; Lozano, J.A. Estimation of Distribution Algorithms: A New Tool for Evolutionary Computation; Springer Science & Business Media: Berlin/Heidelberg, Germany, 2001. [Google Scholar]













| Impact | None | Very Low | Low | Medium | High | Very High | |
|---|---|---|---|---|---|---|---|
| Likelihood | |||||||
| Low | None | Low | Low | Medium | Medium | High | |
| Medium | None | Low | Medium | Medium | High | High | |
| High | None | Low | Medium | High | High | Very High | |
| CAPEC | - | Very Low | Low | Medium | High | Very High | |
|---|---|---|---|---|---|---|---|
| CVSS | |||||||
| - | [Parent CAPEC] | Very Low | Low | Medium | High | Very High | |
| None | None | None | None | None | None | None | |
| Low | Low | Very Low | Low | Low | Low | Low | |
| High | High | Very Low | Low | Medium | High | High | |
| CVE | CWE | CAPEC |
|---|---|---|
| 2019-5620 | 306 | 12, 36, 62, 166 |
| CVE | CAPEC-36 Impact on | CAPEC-36 Likelihood | Risk on | ||||
|---|---|---|---|---|---|---|---|
| C | I | A | C | I | A | ||
| 2019-5620 | High | High | High | Medium | High | High | High |
© 2020 by the authors. Licensee MDPI, Basel, Switzerland. This article is an open access article distributed under the terms and conditions of the Creative Commons Attribution (CC BY) license (http://creativecommons.org/licenses/by/4.0/).
Share and Cite
Dimitriadis, A.; Flores, J.L.; Kulvatunyou, B.; Ivezic, N.; Mavridis, I. ARES: Automated Risk Estimation in Smart Sensor Environments. Sensors 2020, 20, 4617. https://doi.org/10.3390/s20164617
Dimitriadis A, Flores JL, Kulvatunyou B, Ivezic N, Mavridis I. ARES: Automated Risk Estimation in Smart Sensor Environments. Sensors. 2020; 20(16):4617. https://doi.org/10.3390/s20164617
Chicago/Turabian StyleDimitriadis, Athanasios, Jose Luis Flores, Boonserm Kulvatunyou, Nenad Ivezic, and Ioannis Mavridis. 2020. "ARES: Automated Risk Estimation in Smart Sensor Environments" Sensors 20, no. 16: 4617. https://doi.org/10.3390/s20164617
APA StyleDimitriadis, A., Flores, J. L., Kulvatunyou, B., Ivezic, N., & Mavridis, I. (2020). ARES: Automated Risk Estimation in Smart Sensor Environments. Sensors, 20(16), 4617. https://doi.org/10.3390/s20164617

