Accurate Indoor-Positioning Model Based on People Effect and Ray-Tracing Propagation
Abstract
1. Introduction
2. Related Works
2.1. Radio Map Construction
2.2. People Presence Effect
3. Materials and Methods
3.1. The Development of a Manual Radio Map (MRM)
3.2. The Development of an Automatic Radio Map Using Ray Tracing (ARM-RT)
| Algorithm 1: Automatic Radio Map Ray-Tracing (ARM-RT) Generation | |
| Input: | |
| Output: | |
| 1: | |
| 2: | |
| 3: | |
| 4: | |
| 5: | |
| 6: | |
| 7: | |
| 8: | |
| 9: | |
| 10: | |
| 11: | |
| 12: | |
| 13: | |
| 14: | |
| 15: | |
| 16: | |
| 17: | |
| 18: | |
| 19: | |
| 20: | |
| 21: | |
| 22: | |
| 23: | |
| 24: | |
| 25: | |
| 26: | |
| 27: | |
| 28: | |
| 29: | |
| 30: | |
| 31: | |
| 32: | |
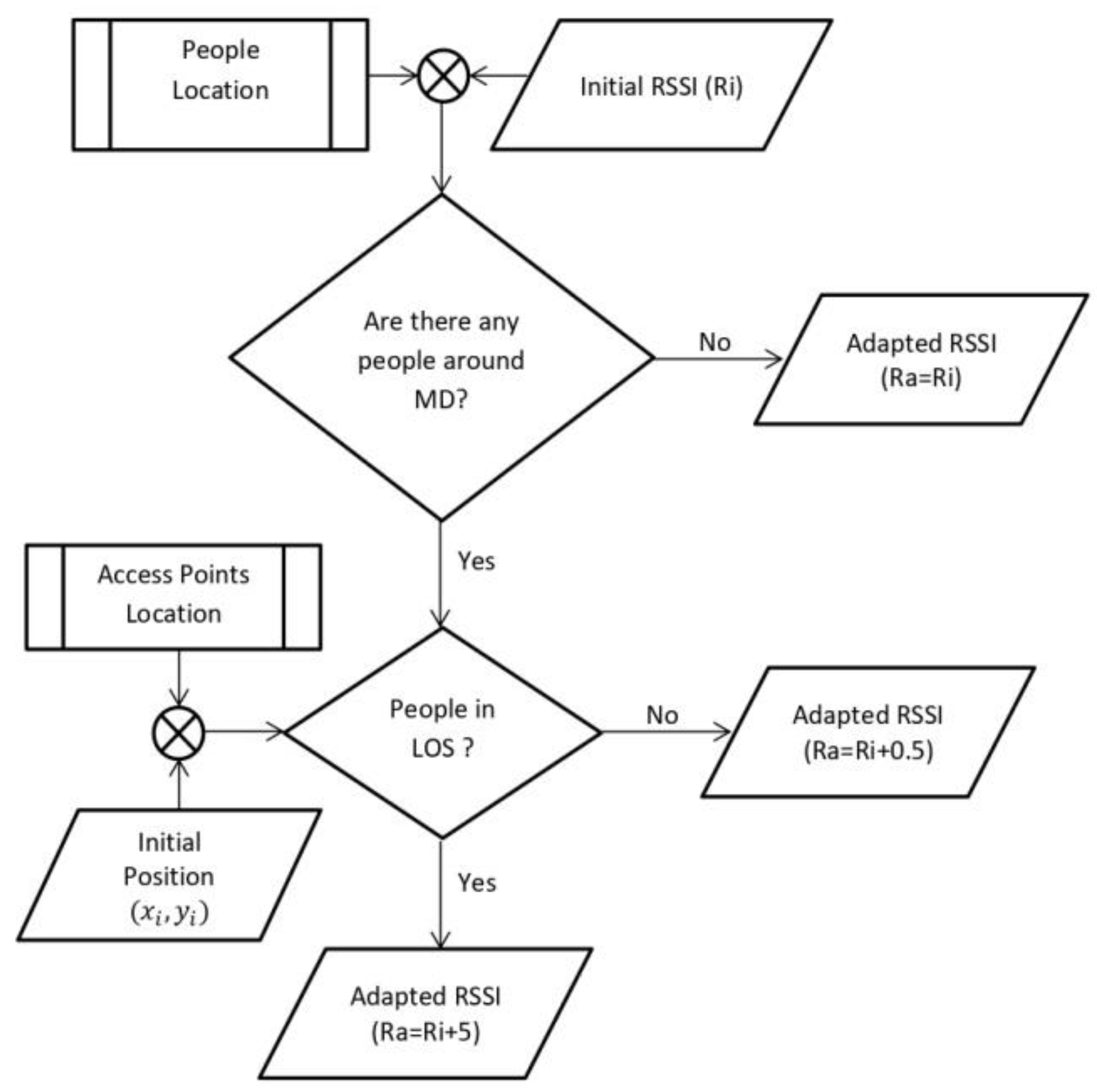
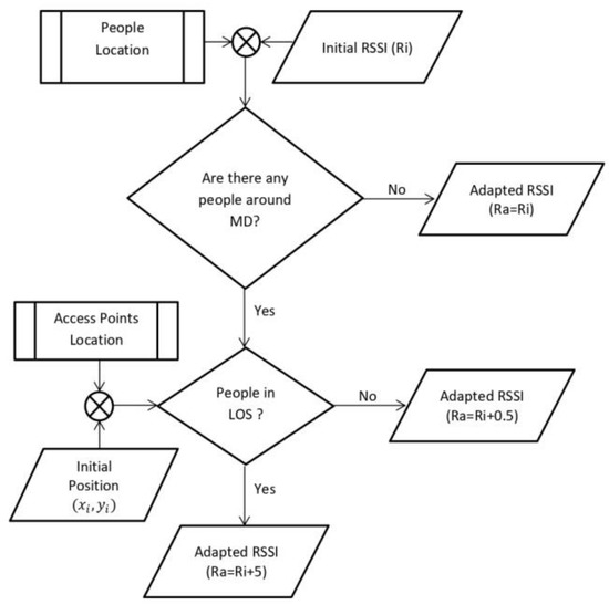
3.3. The Development of Received Signal Strength Indicator (RSSI) Adaptation
3.4. The Development of an Accurate Indoor-Positioning System (IPS) Based on People Effect and Ray-Tracing (AIRY)
- If there are people in the NLOS position between the AP position and the initial position, then, the RSSI is added with an “NLOS PPE constant”.
- If the people are in the LOS position between the AP position and the initial position, then the RSSI is added with a “LOS PPE constant”.
- Then, if there are no people, the RSSI value does not change.
3.5. Validating the Proposed Method
4. Results and Discussion
4.1. The Development of a Manual Radio Map
4.2. The Development of an Automatic Radio Map Using Ray-Tracing
4.3. The Development of RSSI Adaptation
- If there are people in the NLOS position between the AP position and the initial position, then 0.5 dBm is added to the RSSI.
- If the people are in the LOS position between the AP position and the initial position, then 5 dBm is added to the RSSI.
- Then, if there are no people, the RSSI value does not change.
| Algorithm 2: RSSI adaptation | |
| Input: | |
| Output: | |
| 1: | |
| 2: | |
| 3: | |
| 4: | |
| 5: | |
| 6: | |
| 7: | |
| 8: | |
| 9: | |
| 10: | |
| 11: | |
| 12: | |
| 13: | |
4.4. The Development of an Accurate IPS Based on People Effect and Ray-Tracing (AIRY)
4.4.1. The Accuracy of IPS without the Influence of People
4.4.2. The Accuracy of IPS Considering the People Presence around the User
4.4.3. The Accuracy of the Proposed Model (AIRY)
5. Conclusions
Author Contributions
Funding
Conflicts of Interest
References
- ABI Research. Retail Indoor Location Market Breaks US$10 Billion in 2020; ABI Research: New York, NY, USA, 2015. [Google Scholar]
- Indoor Positioning and Navigation—Global Market Outlook (2017–2026). Available online: https://www.researchandmarkets.com/reports/4765038/indoor-positioning-and-navigation-global-market (accessed on 11 August 2019).
- Mier, J.; Jaramillo-Alcázar, A.; Freire, J.J. At a Glance: Indoor Positioning Systems Technologies and Their Applications Areas. In Information Technology and Systems; Springer: Cham, Switzerland, 2019; pp. 483–493. [Google Scholar]
- Shu, Y.; Bo, C.; Shen, G.; Zhao, C.; Li, L.; Zhao, F. Magicol: Indoor Localization Using Pervasive Magnetic Field and Opportunistic WiFi Sensing. IEEE J. Sel. Areas Commun. 2015, 33, 1443–1457. [Google Scholar] [CrossRef]
- Lu, G.; Yan, Y.; Ren, L.; Saponaro, P.; Sebe, N.; Kambhamettu, C. Where am i in the dark: Exploring active transfer learning on the use of indoor localization based on thermal imaging. Neurocomputing 2016, 173, 83–92. [Google Scholar] [CrossRef]
- Mautz, R.; Tilch, S. Survey of optical indoor positioning systems. In Proceedings of the 2011 International Conference on Indoor Positioning and Indoor Navigation, Guimaraes, Portugal, 21–23 September 2011; pp. 1–7. [Google Scholar]
- Han, D.; Jung, S.; Lee, S. A sensor fusion method for Wi-Fi-based indoor positioning. ICT Express 2016, 2, 71–74. [Google Scholar] [CrossRef]
- Zourmand, A.; Sheng, N.W.; Hing, A.L.K.; AbdulRehman, M. Human Counting and Indoor Positioning System Using WiFi Technology. In Proceedings of the 2018 IEEE International Conference on Automatic Control and Intelligent Systems (I2CACIS), Shah Alam, Malaysia, 20 October 2018; pp. 142–147. [Google Scholar]
- Hsieh, H.-Y.; Prakosa, S.W.; Leu, J.-S. Towards the Implementation of Recurrent Neural Network Schemes for WiFi Fingerprint-Based Indoor Positioning. In Proceedings of the 2018 IEEE 88th Vehicular Technology Conference (VTC-Fall), Chicago, IL, USA, 27–30 August 2018; pp. 1–5. [Google Scholar]
- Faragher, R.; Harle, R. Location Fingerprinting with Bluetooth Low Energy Beacons. IEEE J. Sel. Areas Commun. 2015, 33, 2418–2428. [Google Scholar] [CrossRef]
- Dong, Z.Y.; Xu, W.M.; Zhuang, H. Research on ZigBee Indoor Technology Positioning Based on RSSI. Procedia Comput. Sci. 2019, 154, 424–429. [Google Scholar] [CrossRef]
- Tsirmpas, C.; Rompas, A.; Fokou, O.; Koutsouris, D. An indoor navigation system for visually impaired and elderly people based on Radio Frequency Identification (RFID). Inf. Sci. 2015, 320, 288–305. [Google Scholar] [CrossRef]
- Popleteev, A. Improving ambient FM indoor localization using multipath-induced amplitude modulation effect: A year-long experiment. Pervasive Mob. Comput. 2019, 58, 101022. [Google Scholar] [CrossRef]
- Witrisal, K.; Hinteregger, S.; Kulmer, J.; Leitinger, E.; Meissner, P. High-accuracy positioning for indoor applications: RFID, UWB, 5G, and beyond. In Proceedings of the 2016 IEEE International Conference on RFID (RFID), Orlando, FL, USA, 3–5 May 2016; pp. 1–7. [Google Scholar]
- Konings, D.; Alam, F.; Noble, F.; Lai, E.M. Device-Free Localization Systems Utilizing Wireless RSSI: A Comparative Practical Investigation. IEEE Sens. J. 2018, 19, 2747–2757. [Google Scholar] [CrossRef]
- Pecoraro, G.; Di Domenico, S.; Cianca, E.; De Sanctis, M. LTE signal fingerprinting localization based on CSI. In Proceedings of the 2017 IEEE 13th International Conference on Wireless and Mobile Computing, Networking and Communications (WiMob), Rome, Italy, 9–11 October 2017; pp. 1–8. [Google Scholar]
- Yang, C.; Shao, H.-R. WiFi-based indoor positioning. IEEE Commun. Mag. 2015, 53, 150–157. [Google Scholar] [CrossRef]
- Farid, Z.; Nordin, R.; Ismail, M. Recent advances in wireless indoor localization techniques and system. J. Comput. Netw. Commun. 2013, 2013, 185138. [Google Scholar] [CrossRef]
- He, S.; Chan, S.-H.G. Wi-Fi fingerprint-based indoor positioning: Recent advances and comparisons. IEEE Commun. Surv. Tutor. 2016, 18, 466–490. [Google Scholar] [CrossRef]
- Ubom, E.A.; Akpanobong, A.C.; Abraham, I.I. Characterization of Indoor Propagation Properties and Performance Evaluation for 2.4 Ghz Band Wi-Fi. Int. J. Wirel. Mob. Netw. 2019, 11, 27–37. [Google Scholar] [CrossRef]
- Saito, K.; Omiya, M. A Computational Study of Indoor-to-Outdoor Propagation in Office Environment at 2.4 GHz and 5.2 GHz Bands. In Proceedings of the 2018 IEEE International Workshop on Electromagnetics: Applications and Student Innovation Competition (iWEM), Nagoya, Japan, 29–31 August 2018; pp. 1–2. [Google Scholar]
- Santana, J.A.; Macías, E.; Suárez, Á.; Marrero, D.; Mena, V. Adaptive estimation of WiFi RSSI and its impact over advanced wireless services. Mob. Netw. Appl. 2017, 22, 1100–1112. [Google Scholar] [CrossRef]
- Alabish, A.; Kara, A.; Dalveren, Y. An Experimental Study towards Examining Human Body Movements in Indoor Wave Propagation at 18–22 GHz. In Proceedings of the 2018 International Symposium on Networks, Computers and Communications (ISNCC), Rome, Italy, 19–21 June 2018; pp. 1–4. [Google Scholar]
- Alshami, I.H.; Ahmad, N.A.; Sahibuddin, S. People effects on WLAN-Based IPS’ accuracy experimental preliminary results. In Proceedings of the 2014 8th Malaysian Software Engineering Conference (MySEC) 2014, Langkawi, Malaysia, 23–24 September 2014; pp. 206–209. [Google Scholar]
- Slezak, C.; Semkin, V.; Andreev, S.; Koucheryavy, Y.; Rangan, S. Empirical effects of dynamic human-body blockage in 60 GHz communications. IEEE Commun. Mag. 2018, 56, 60–66. [Google Scholar] [CrossRef]
- Booranawong, A.; Sengchuai, K.; Jindapetch, N. Implementation and test of an RSSI-based indoor target localization system: Human movement effects on the accuracy. Measurement 2019, 133, 370–382. [Google Scholar] [CrossRef]
- Booranawong, A.; Jindapetch, N.; Saito, H. A system for detection and tracking of human movements using RSSI signals. IEEE Sens. J. 2018, 18, 2531–2544. [Google Scholar] [CrossRef]
- Alshami, I.H.; Ahmad, N.A.; Sahibuddin, S. People’s Presence Effect on WLAN-Based IPS Accuracy. J. Teknol. 2015, 77. [Google Scholar]
- Trogh, J.; Joseph, W.; Martens, L.; Plets, D. An unsupervised learning technique to optimize radio maps for indoor localization. Sensors 2019, 19, 752. [Google Scholar] [CrossRef]
- Meneses, F.; Moreira, A.; Costa, A.; Nicolau, M.J. Radio Maps for Fingerprinting in Indoor Positioning. In Geographical and Fingerprinting Data to Create Systems for Indoor Positioning and Indoor/Outdoor Navigation; Elsevier: Amsterdam, The Netherlands, 2019; pp. 69–95. [Google Scholar]
- Alshami, I.H.M.; Salleh, N.A.; Sahibuddin, S. Automatic WLAN fingerprint radio map generation for accurate indoor positioning based on signal path loss model. ARPN J. Eng. Appl. Sci. 2015, 10, 17930–17936. [Google Scholar]
- Du, Y.; Yang, D.; Xiu, C. A Novel Method for Constructing a WIFI Positioning System with Efficient Manpower. Sensors 2015, 15, 8358–8381. [Google Scholar] [CrossRef]
- Lin, K.-S.; Wong, A.K.-S.; Wong, T.-L.; Lea, C.-T. Adaptive WiFi Positioning System with Unsupervised Map Construction. In Proceedings of the 17th International Conference on Artificial Intelligence, Las Vegas, NV, USA, 27–30 July 2015; p. 636. [Google Scholar]
- Ferris, B.; Fox, D.; Lawrence, N.D. Wifi-slam using gaussian process latent variable models. In Proceedings of the 20th International Joint Conference on Artifical Intelligence, Hyderabad, India, 6–12 January 2007; Volume 7, pp. 2480–2485. [Google Scholar]
- Shen, G.; Chen, Z.; Zhang, P.; Moscibroda, T.; Zhang, Y. Walkie-Markie: Indoor pathway mapping made easy. In Proceedings of the 10th USENIX Conference on Networked Systems Design and Implementation, Lombard, IL, USA, 2–5 April 2013; pp. 85–98. [Google Scholar]
- Kim, Y.; Shin, H.; Chon, Y.; Cha, H. Crowdsensing-based Wi-Fi radio map management using a lightweight site survey. Comput. Commun. 2015, 60, 86–96. [Google Scholar] [CrossRef]
- He, S.; Shin, K.G. Steering crowdsourced signal map construction via Bayesian compressive sensing. In Proceedings of the IEEE INFOCOM 2018-IEEE Conference on Computer Communications, Honolulu, HI, USA, 16–19 April 2018; pp. 1016–1024. [Google Scholar]
- Zhuang, Y.; Syed, Z.; Georgy, J.; El-Sheimy, N. Autonomous smartphone-based WiFi positioning system by using access points localization and crowdsourcing. Pervasive Mob. Comput. 2015, 18, 118–136. [Google Scholar] [CrossRef]
- Gu, Z.; Chen, Z.; Zhang, Y.; Zhu, Y.; Lu, M.; Chen, A. Reducing fingerprint collection for indoor localization. Comput. Commun. 2016, 83, 56–63. [Google Scholar] [CrossRef]
- Bi, J.; Wang, Y.; Li, Z.; Xu, S.; Zhou, J.; Sun, M.; Si, M. Fast radio map construction by using adaptive path loss model interpolation in large-scale building. Sensors 2019, 19, 712. [Google Scholar] [CrossRef]
- Bahl, P.; Padmanabhan, V.N. RADAR: An in-building RF-based user location and tracking system. In Proceedings of the INFOCOM 2000, Nineteenth Annual Joint Conference of the IEEE Computer and Communications Societies, Tel Aviv, Israel, 26–30 March 2000; Volume 2, pp. 775–784. [Google Scholar]
- Schauer, L.; Marcus, P.; Linnhoff-Popien, C. Towards feasible Wi-Fi based indoor tracking systems using probabilistic methods. In Proceedings of the 2016 International Conference on Indoor Positioning and Indoor Navigation (IPIN), Sapporo, Japan, 18–21 September 2017; pp. 1–8. [Google Scholar]
- Yadav, R.K.; Bhattarai, B.; Gang, H.-S.; Pyun, J.-Y. Trusted K Nearest Bayesian Estimation for Indoor Positioning System. IEEE Access 2019, 7, 51484–51498. [Google Scholar] [CrossRef]
- Hu, J.; Liu, D.; Yan, Z.; Liu, H. Experimental Analysis on Weight K-Nearest Neighbor Indoor Fingerprint Positioning. IEEE Internet Things J. 2018, 6, 891–897. [Google Scholar] [CrossRef]
- Garcia-Villalonga, S.; Perez-Navarro, A. Influence of human absorption of Wi-Fi signal in indoor positioning with Wi-Fi fingerprinting. In Proceedings of the 2015 International Conference on Indoor Positioning and Indoor Navigation (IPIN), Banff, AB, Canada, 13–16 October 2015; pp. 1–10. [Google Scholar]
- Koda, Y.; Yamamoto, K.; Nishio, T.; Morikura, M. Measurement method of temporal attenuation by human body in off-the-shelf 60 GHz WLAN with HMM-based transmission state estimation. Wirel. Commun. Mob. Comput. 2018, 2018, 7846936. [Google Scholar] [CrossRef]
- Alshami, I.H.; Ahmad, N.A.; Sahibuddin, S.; Yusof, Y.M. The effect of people presence on WLAN RSS is governed by influence distance. In Proceedings of the 2016 3rd International Conference on Computer and Information Sciences (ICCOINS), Kuala Lumpur, Malaysia, 15–17 August 2016; pp. 197–202. [Google Scholar]
- Alshami, I.H.; Ahmad, N.A.; Sahibuddin, S.; Firdaus, F. Adaptive Indoor Positioning Model Based on WLAN-Fingerprinting for Dynamic and Multi-Floor Environments. Sensors 2017, 17, 1789. [Google Scholar] [CrossRef]
- Yun, Z.; Iskander, M.F. Ray tracing for radio propagation modeling: Principles and applications. IEEE Access 2015, 3, 1089–1100. [Google Scholar] [CrossRef]
- Felsen, L.B.; Marcuvitz, N. Radiation and Scattering of Waves; John Wiley & Sons: Hoboken, NJ, USA, 1994; ISBN 978-0-7803-1088-9. [Google Scholar]
- Kouyoumjian, R.G.; Pathak, P.H. A uniform geometrical theory of diffraction for an edge in a perfectly conducting surface. Proc. IEEE 1974, 62, 1448–1461. [Google Scholar] [CrossRef]
- McKown, J.W.; Hamilton, R.L. Ray tracing as a design tool for radio networks. IEEE Netw. 1991, 5, 27–30. [Google Scholar] [CrossRef]
- Rossi, J.P.; Bic, J.C.; Levy, A.J.; Gabillett, Y.; Rosen, M. A ray launching method for radio-mobile propagation in urban area. In Proceedings of the Antennas and Propagation Society Symposium 1991 Digest, London, ON, Canada, 24–28 June 1991; pp. 1540–1543. [Google Scholar]
- Seidel, S.Y.; Rappaport, T.S. A ray tracing technique to predict path loss and delay spread inside buildings. In Proceedings of the GLOBECOM’92-Communications for Global Users, Orlando, FL, USA, 6–9 December 1992; pp. 649–653. [Google Scholar]
- He, J.; Li, S.; Pahlavan, K.; Wang, Q. A realtime testbed for performance evaluation of indoor TOA location system. In Proceedings of the 2012 IEEE International Conference on Communications (ICC), Ottawa, ON, Canada, 10–15 June 2012; pp. 482–486. [Google Scholar]
- Saeidi, C.; Kamyab, M.; Fard, A. Fast Ray Tracing Propagation Prediction Model for Indoor Environments. In Proceedings of the 7th International Symposium on Antennas, Propagation & EM Theory (ISAPE’06), Guilin, China, 26–29 October 2006; pp. 1–4. [Google Scholar]
- El-Kafrawy, K.; Youssef, M.; El-Keyi, A.; Naguib, A. Propagation modeling for accurate indoor WLAN RSS-based localization. In Proceedings of the 2010 IEEE 72nd Vehicular Technology Conference—Fall, Ottawa, ON, Canada, 6–9 September 2010; pp. 1–5. [Google Scholar]
- Fuschini, F.; Vitucci, E.M.; Barbiroli, M.; Falciasecca, G.; Degli-Esposti, V. Ray tracing propagation modeling for future small-cell and indoor applications: A review of current techniques. Radio Sci. 2015, 50, 469–485. [Google Scholar] [CrossRef]
- Hosseinzadeh, S.; Larijani, H.; Curtis, K.; Wixted, A.; Amini, A. Empirical propagation performance evaluation of LoRa for indoor environment. In Proceedings of the 2017 IEEE 15th International Conference on Industrial Informatics (INDIN), Emden, Germany, 24–26 July 2017; pp. 26–31. [Google Scholar]
- Liu, H.; Darabi, H.; Banerjee, P.; Liu, J. Survey of wireless indoor positioning techniques and systems. IEEE Trans. Syst. ManCybern. Part C 2007, 37, 1067–1080. [Google Scholar] [CrossRef]
- Dardari, D.; Closas, P.; Djuric, P.M. Indoor Tracking: Theory, Methods, and Technologies. IEEE Trans. Veh. Technol. 2015, 64, 1263–1278. [Google Scholar] [CrossRef]
- Zafari, F.; Gkelias, A.; Leung, K.K. A survey of indoor localization systems and technologies. IEEE Commun. Surv. Tutor. 2019, 21, 2568–2599. [Google Scholar] [CrossRef]
- Brena, R.F.; García-Vázquez, J.P.; Galván-Tejada, C.E.; Muñoz-Rodriguez, D.; Vargas-Rosales, C.; Fangmeyer, J. Evolution of indoor positioning technologies: A survey. J. Sens. 2017, 2017, 2630413. [Google Scholar] [CrossRef]
- Hossain, F.; Geok, T.; Rahman, T.; Hindia, M.; Dimyati, K.; Abdaziz, A. Indoor Millimeter-Wave Propagation Prediction by Measurement and Ray Tracing Simulation at 38 GHz. Symmetry 2018, 10, 464. [Google Scholar] [CrossRef]
- Azpilicueta, L.; Falcone, F.; Janaswamy, R. A Hybrid Ray Launching-Diffusion Equation Approach for Propagation Prediction in Complex Indoor Environments. IEEE Antennas Wirel. Propag. Lett. 2017, 16, 214–217. [Google Scholar] [CrossRef]
- Casino, F.; Azpilicueta, L.; Lopez-Iturri, P.; Aguirre, E.; Falcone, F.; Solanas, A. Optimized Wireless Channel Characterization in Large Complex Environments by Hybrid Ray Launching-Collaborative Filtering Approach. IEEE Antennas Wirel. Propag. Lett. 2017, 16, 780–783. [Google Scholar] [CrossRef]
- Ji, Y.; Player, R. A 3-D indoor radio propagation model for WiFi and RFID. In Proceedings of the 9th ACM International Symposium on Mobility Management and Wireless Access, Miami, FL, USA, 31 October–4 November 2011; pp. 27–34. [Google Scholar]
- Chizhik, D.; Valenzuela, R.A.; Rodriguez, M.; Feick, R. Propagation into buildings: Theory vs. measurements. In Proceedings of the 2016 IEEE International Symposium on Antennas and Propagation (APSURSI), Fajardo, Puerto Rico, 26 June–1 July 2016; pp. 1455–1456. [Google Scholar]
- Salem, M.; Ismail, M.; Misran, N. Validation of Three-Dimensional Ray-Tracing Algorithm for Indoor Wireless Propagations. Available online: https://www.hindawi.com/journals/isrn/2011/324758/ (accessed on 12 December 2018).
- Liu, H.-H.; Yang, Y.-N. WiFi-based indoor positioning for multi-floor environment. In Proceedings of the 2011 IEEE Region 10 Conference (TENCON 2011), Bali, Indonesia, 21–24 November 2011; pp. 597–601. [Google Scholar]
- Vahidnia, M.H.; Malek, M.R.; Mohammadi, N.; Alesheikh, A.A. A hierarchical signal-space partitioning technique for indoor positioning with WLAN to support location-awareness in mobile map services. Wirel. Pers. Commun. 2013, 69, 689–719. [Google Scholar] [CrossRef]
- Sun, L.; Zheng, Z.; He, T.; Li, F. Multifloor Wi-Fi localization system with floor identification. Int. J. Distrib. Sens. Netw. 2015, 11, 131523. [Google Scholar] [CrossRef]




















| Material | Relative Permittivity |
|---|---|
| Brick wall | 5.86 |
| Reinforced concrete | 7.00 |
| Wooden door | 2.58 |
| Window | 6.38 |
| Wooden floor | 2.58 |
| Ceiling | 5.86 |
| Walls | Material |
|---|---|
| 1, 3, 5, 10, 12, 18–20, 27–28, 40 | Brick |
| 2, 4, 6–8, 22–23, 41 | Glass |
| 9, 11, 13–17, 21, 24–26, 29–39 | Particleboard |
| Parameters | Value |
|---|---|
| Frequency | 2.4 GHz |
| Method | Image Method |
| Multipath | Transmission, 1st and 2nd Reflections |
| Transmit power | −30 dBm |
| Parameter | Value |
|---|---|
| Number of access points (APs) | 3 |
| Height of APs | 2.9 m |
| Relative Permittivity of glass | 6.38 |
| Relative Permittivity of the brick wall | 5.86 |
| Relative Permittivity of the particleboard | 2.70 |
| Number of walls | 41 |
| Number of rooms | 20 |
| People Position in the First Ring | ||||
|---|---|---|---|---|
| 2 people | 3 people | 4 people | 6 people | |
| • 1b, 1f • 1a, 1g • 1c, 1e • 1b, 1d | • 1d, 1f • 1c, 1g • 1a, 1e | • 1a, 1d, 1g • 1b, 1d, 1f • 1a, 1b, 1c • 1c, 1d, 1e • 1e, 1f, 1g | • 1a, 1c, 1e, 1g • 1a, 1b, 1f, 1g • 1b, 1c, 1e, 1f | • 1a, 1b, 1c, 1e, 1f, 1g 7 people • 1a, 1b, 1c, 1d, 1e, 1f, 1g |
| People Position in the Second Ring | |||
|---|---|---|---|
| 2 people | 3 people | 5 people | 9 people |
| • 2d, 2l • 2b, 2n • 2f, 2j • 2d, 2h • 2h, 2l • 2f, 2n • 2b, 2j | • 2b, 2h, 2n • 2d, 2h, 2l • 2c, 2d, 2e • 2g, 2h, 2i • 2k, 2l, 2m 4 people • 2b, 2f, 2j, 2n | • 2b, 2c, 2d, 2e, 2f • 2j, 2k, 2l, 2m, 2n • 2f, 2g, 2h, 2i, 2j 6 people • 2b, 2c, 2d, 2l, 2m, 2n • 2d, 2e, 2f, 2j, 2k, 2l | • 2b, 2c, 2d, 2e, 2f, 2g, 2h, 2i, 2j • 2f, 2g, 2h, 2i, 2j, 2k, 2l, 2m, 2n 10 people • 2b, 2c, 2d, 2e, 2f, 2j, 2k, 2l, 2m, 2n |
| People Position in the Third Ring | ||||
|---|---|---|---|---|
| 2 people | 3 people | 4 people | 13 people | |
| • 3f, 3r • 3c, 3u • 3i, 3o • 3f, 3l • 3l, 3r | • 3i, 3u • 3c, 3o | • 3c, 3l, 3u • 3f, 3l, 3r • 3e, 3f, 3g • 3k, 3l, 3m • 3q, 3r, 3s | • 3c, 3i, 3o, 3u 7 people • 3c, 3d, 3e, 3f, 3g, 3h, 3i • 3i, 3j, 3k, 3l, 3m, 3n, 3o • 3o, 3p, 3q, 3r, 3s, 3t, 3u | • 3c to 3o • 3i to 3u |
| RMSE | MAE | ||
|---|---|---|---|
| RT | MW | RT | MW |
| 3.7 | 8.6 | 2.9 | 6.3 |
| People Position | Δ RSSI | ||
|---|---|---|---|
| AP1 | AP2 | AP3 | |
| 1st Ring | −0.51 | −0.42 | −0.45 |
| 2nd Ring | −0.35 | −0.39 | −0.38 |
| 3rd Ring | −0.27 | −0.35 | −0.30 |
| No. | People Position from AP and MD | ||
|---|---|---|---|
| AP1 | AP2 | AP3 | |
| 1 | NLOS | NLOS | NLOS |
| 2 | NLOS | NLOS | LOS |
| 3 | NLOS | LOS | NLOS |
| 4 | NLOS | LOS | LOS |
| 5 | LOS | NLOS | NLOS |
| 6 | LOS | NLOS | LOS |
| 7 | LOS | LOS | NLOS |
| 8 | LOS | LOS | LOS |
| Research | Method Used | Accuracy |
|---|---|---|
| Bahl [41] | Manual Radio Map + KNN | 2.5 m |
| Hung-Huan [70] | Path Loss model + Triangulation | 1.6 m |
| Vahidnia [71] | Manual Radio Map + BPM | 1.4 m |
| Sun [72] | Manual Radio Map + WKNN | 1.2 m |
| DIPS [48] | Path Loss Model + KNN | 1.2 m |
| AIRY | Ray-tracing + KNN | 0.57 m |
© 2019 by the authors. Licensee MDPI, Basel, Switzerland. This article is an open access article distributed under the terms and conditions of the Creative Commons Attribution (CC BY) license (http://creativecommons.org/licenses/by/4.0/).
Share and Cite
Firdaus, F.; Ahmad, N.A.; Sahibuddin, S. Accurate Indoor-Positioning Model Based on People Effect and Ray-Tracing Propagation. Sensors 2019, 19, 5546. https://doi.org/10.3390/s19245546
Firdaus F, Ahmad NA, Sahibuddin S. Accurate Indoor-Positioning Model Based on People Effect and Ray-Tracing Propagation. Sensors. 2019; 19(24):5546. https://doi.org/10.3390/s19245546
Chicago/Turabian StyleFirdaus, Firdaus, Noor Azurati Ahmad, and Shamsul Sahibuddin. 2019. "Accurate Indoor-Positioning Model Based on People Effect and Ray-Tracing Propagation" Sensors 19, no. 24: 5546. https://doi.org/10.3390/s19245546
APA StyleFirdaus, F., Ahmad, N. A., & Sahibuddin, S. (2019). Accurate Indoor-Positioning Model Based on People Effect and Ray-Tracing Propagation. Sensors, 19(24), 5546. https://doi.org/10.3390/s19245546

