Sensitivity Analysis of Geometrical Parameters on the Aerodynamic Performance of Closed-Box Girder Bridges
Abstract
1. Introduction
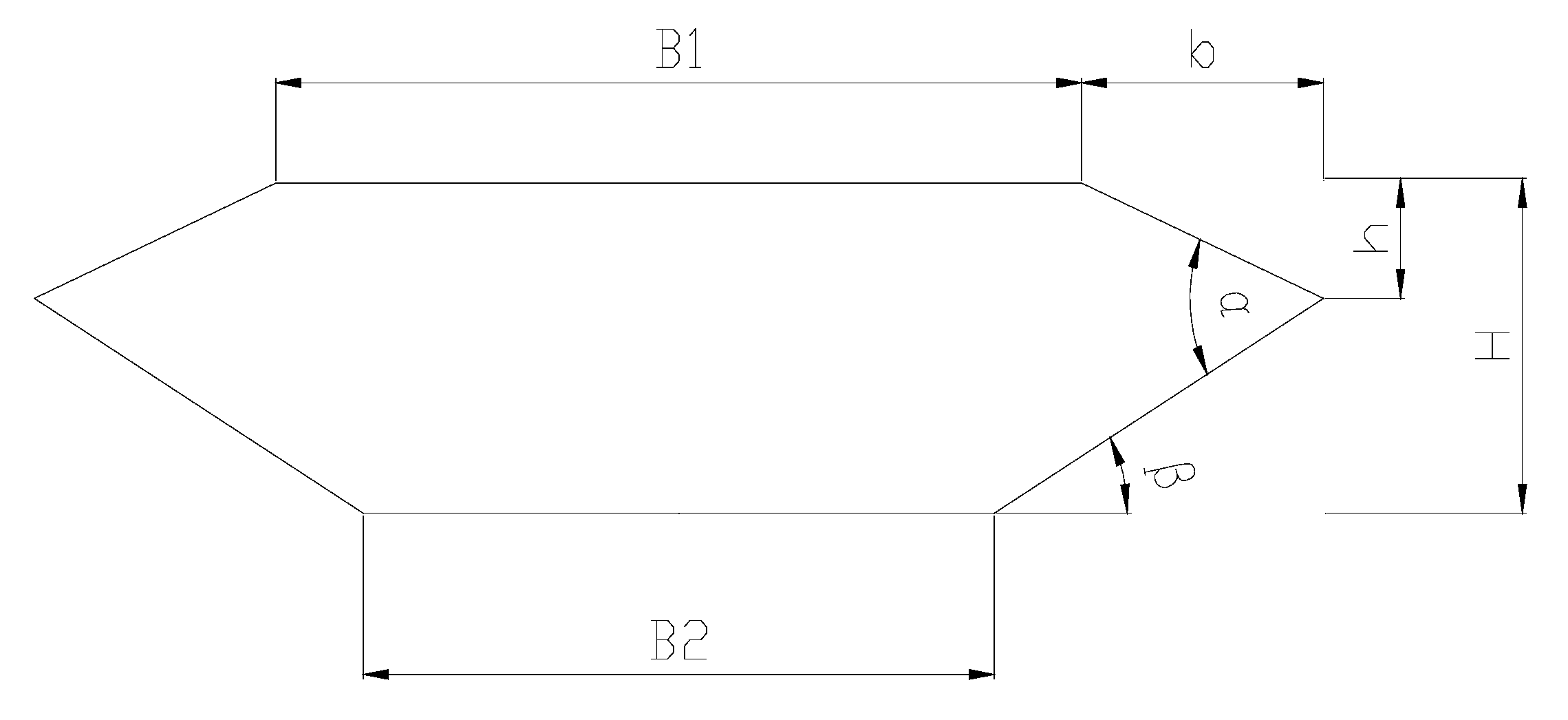
2. Experimental Setup of Closed-Box Girders with Various Shapes
3. Flutter Performance Comparison
3.1. Comparison of Critical Flutter Wind Speeds
3.2. Comparison of Flutter Derivatives
3.3. Comparison of Aerodynamic Damping and Flutter Modality
3.4. Flutter Instability Evaluation of Closed-Box Girders Bridges
4. PIV Tests of Closed-Box Girders with Various Shapes
4.1. 3D PIV System
4.2. Comparison of Velocity Fields
4.3. Comparion of the Characteristics of Vortices
5. Comparison of VIV Performance
6. Conclusions
- For a particular inclined web angle β, a closed-box girder with a sharper wind fairing angle of α = 50° has better flutter and VIV performance than that with α = 60°. Among the six inclined web angles of β = 10°, 12°, 14°, 16°, 18°, and 20°, an inclined web angle of β = 14° produces the best VIV performance.
- Based on the 2D-3DOF analysis, the absolute values of Part A (with the reference of flutter derivative A2*) and Part D (with the reference of A1*H3*) generally decrease with the increase of the lower inclined web angle. In addition, the change of the participation level of heaving DOF in the torsion-dominated coupled flutter initially increases, reaches its peak, and then decreases with the increase of β.
- The results of the PIV tests indicate that the sharper wind fairing angle of α = 50° induces single vortex structures together with a balanced distribution of high strength vorticity in the upper and lower parts of the wake region, consequently producing a better flutter performance than that of α = 60°. Moreover, the inclined web angle β has a great influence on the pattern and intensive interaction of the vortices in the wake region of closed-box girders.
Author Contributions
Funding
Acknowledgments
Conflicts of Interest
References
- Larsen, A.; Wall, A. Shaping of bridge box girders to avoid vortex shedding response. J. Wind Eng. Ind. Aerodyn. 2012, 104, 159–165. [Google Scholar] [CrossRef]
- Tao, T.Y.; Wang, H.; Yao, C.Y.; He, X.H. Parametric Sensitivity Analysis on the Buffeting Control of a Long-Span Triple-Tower Suspension Bridge with MTMD. Sensors 2017, 17, 395. [Google Scholar] [CrossRef]
- He, X.H.; Qin, H.X.; Tao, T.Y.; Liu, W.; Wang, H. Measurement of Non-Stationary Characteristics of a Landfall Typhoon at the Jiangyin Bridge Site. Sensors 2017, 17, 2186. [Google Scholar] [CrossRef] [PubMed]
- Miyata, T. Historical View of Long-span Bridge Aerodynamics. J. Wind Eng. Ind. Aerodyn. 2003, 91, 1393–1410. [Google Scholar] [CrossRef]
- Larsen, A.; Laroseb, G.L. Dynamic wind effects on suspension and cable-stayed bridges. J. Sound Vib. 2015, 334, 2–28. [Google Scholar] [CrossRef]
- Larsen, A. Advances in aeroelastic analyses of suspension and cable-stayed bridges. J. Wind Eng. Ind. Aerodyn. 1998, 74–76, 73–90. [Google Scholar] [CrossRef]
- Zhou, R.; Yang, Y.X.; Ge, Y.J.; Mendis, P.; Mohotti, D. Practical countermeasures for the aerodynamic performance of long span cable-stayed bridge with open deck. Wind Struct. 2015, 21, 223–229. [Google Scholar] [CrossRef]
- Chen, Z.S.; Zhang, C.; Wang, X.; Ma, C.M. Wind Tunnel Measurements for Flutter of a Long-Afterbody Bridge Deck. Sensors 2017, 17, 335. [Google Scholar] [CrossRef] [PubMed]
- Nagao, F.; Utsunomiya, H.; Oryu, T.; Manabea, S. Aerodynamic efficiency of triangular fairing on box girder bridge. J. Wind Eng. Ind. Aerodyn. 1993, 149, 565–574. [Google Scholar] [CrossRef]
- Sarwar, M.W.; Ishihara, T.; Shimada, K.; Yamasaki, Y.; Ikeda, T. Prediction of aerodynamic characteristics of a box girder bridge section using the les turbulence model. J. Wind Eng. Ind. Aerodyn. 2008, 96, 1895–1911. [Google Scholar] [CrossRef]
- Ito, Y.; Shirato, H.; Matsumoto, M. Coherence characteristics of fluctuating lift forces for rectangular shape with various fairing decks. J. Wind Eng. Ind. Aerodyn. 2014, 135, 34–45. [Google Scholar] [CrossRef]
- Yang, Y.X.; Zhou, R.; Ge, Y.J.; Zhang, L.H. Experimental studies on VIV performance and countermeasures for twin-box girder bridges with various slot width ratios. J. Fluids Struct. 2016, 66, 476–489. [Google Scholar] [CrossRef]
- Bruno, L.; Khris, S.; Marcillat, J. Numerical simulation of the effect of section details and partial streamlining on the aerodynamics of bridge decks. Wind Struct. 2001, 4, 315–332. [Google Scholar] [CrossRef]
- Bienkiewicz, B. Wind-tunnel study of effects of geometry modification on aerodynamics of a cable-stayed bridge deck. J. Wind Eng. Ind. Aerodyn. 1987, 26, 325–339. [Google Scholar] [CrossRef]
- Ricciardelli, F.; de Grenet, E.T.; Hangan, H. Pressure distribution, aerodynamic forces and dynamic response of box bridge sections. J. Wind Eng. Ind. Aerodyn. 2002, 90, 1135–1150. [Google Scholar] [CrossRef]
- He, X.H.; Li, H.; Wang, F.; Fang, D.; Liu, M. Effects of geometrical parameters on the aerodynamic characteristics of a streamlined flat box girder. J. Wind Eng. Ind. Aerodyn. 2017, 170, 56–67. [Google Scholar] [CrossRef]
- Wang, Q.; Liao, H.L.; Li, M.S.; Ma, C.M. Influence of Aerodynamic Shape of Streamline Box Girder on Bridge Flutter and Vortex-induced Vibration. J. Highw. Transp. Res. Dev. 2012, 29, 44–50. (In Chinese) [Google Scholar]
- Wang, Q.; Liao, H.L.; Li, M.S.; Ma, C.M. Influence of aerodynamic configuration of a streamline box girder on bridge flutter and vortex-induced vibration. J. Mod. Transp. 2011, 19, 261–267. [Google Scholar] [CrossRef]
- Yang, Y.X.; Wu, T.; Ge, Y.J.; Kareem, A. Aerodynamic stabilization mechanism of a twin-box girder with various slot widths. J. Bridge Eng. 2015, 20, 04014067. [Google Scholar] [CrossRef]
- Yang, Y.X.; Zhou, R.; Ge, Y.J.; Mohotti, D.; Mendis, P. Aerodynamic instability performance of twin-box girder for long-span bridges. J. Wind Eng. Ind. Aerodyn. 2015, 145, 196–208. [Google Scholar] [CrossRef]
- Haque, M.N.; Katsuchi, H.; Yamada, H.; Nishio, M. Investigation of edge fairing shaping effects on aerodynamic response of long-span bridge deck by unsteady rans. Arch. Civ. Mech. Eng. 2016, 16, 888–900. [Google Scholar] [CrossRef]
- Scanlan, R.H.; Tomko, J.J. Airfoil and bridge deck flutter derivatives. J. Eng. Mech. 1971, 97, 1717–1737. [Google Scholar]
- Yang, Y.X.; Zhou, R.; Ge, Y.J.; Zhang, L.H. Flutter characteristics of thin plate sections for aerodynamic bridges. J. Bridge Eng. 2018, 23, 04017121. [Google Scholar] [CrossRef]
- Ministry of Communications of the People’s Republic of China. JTG/T D60-01-2004 Wind-Resistant Design Specification for Highway Bridge; China Communications Press: Beijing, China, 2004; pp. 23–26.
- Liu, S.L.; Yang, Y.Y.; Ni, Z.Y.; Guo, X.; Luo, L.; Tu, J.; Zhang, D.; Zhang, J. Investigation into the Effect of Acoustic Radiation Force and Acoustic Streaming on Particle Patterning in Acoustic Standing Wave Fields. Sensors 2017, 17, 1664. [Google Scholar] [CrossRef] [PubMed]











| Properties | α = 50° | α = 60° | |
|---|---|---|---|
| β = 10°~20° | β = 10°~20° | ||
| Width (B), (m) | 0.517~0.548 | 0.511~0.533 | |
| Depth (D), (m) | 0.051 | 0.051 | |
| Mass (M), (kg/m) | 5.241 | 5.241 | |
| Mass Moment of Inertia (I), (kg·m2/m) | 0.110 | 0.110 | |
| Damping Ratio, (ζ), (%) | 0.5 | 0.5 | |
| Flutter Tests | Vertical frequency (fv), (Hz) | 2.055 | 2.055 |
| Torsional frequency (ft), (Hz) | 5.429 | 5.429 | |
| Vortex-Induced Vibration (VIV) Tests | Vertical frequency (fv), (Hz) | 5.480 | 5.480 |
| Torsional frequency (ft), (Hz) | 14.477 | 14.477 | |
| Case | Angle of Wind Fairing | Angle of Web Plate | Height h (m) | Length L (m) | Width B (m) | Wind Attack Angle (°) |
|---|---|---|---|---|---|---|
| 1 | α = 50° | 10 | 0.051 | 1.74 | 0.548 | 0, ±3 |
| 2 | 12 | 0.051 | 1.74 | 0.543 | 0, ±3 | |
| 3 | 14 | 0.051 | 1.74 | 0.537 | 0, ±3 | |
| 4 | 16 | 0.051 | 1.74 | 0.531 | 0, ±3 | |
| 5 | 18 | 0.051 | 1.74 | 0.524 | 0, ±3 | |
| 6 | 20 | 0.051 | 1.74 | 0.517 | 0, ±3 | |
| 1 | α = 60° | 10 | 0.051 | 1.74 | 0.533 | 0, ±3 |
| 2 | 12 | 0.051 | 1.74 | 0.530 | 0, ±3 | |
| 3 | 14 | 0.051 | 1.74 | 0.526 | 0, ±3 | |
| 4 | 16 | 0.051 | 1.74 | 0.521 | 0, ±3 | |
| 5 | 18 | 0.051 | 1.74 | 0.516 | 0, ±3 | |
| 6 | 20 | 0.051 | 1.74 | 0.511 | 0, ±3 |
| Long-Span Bridges | Length of Main Span (m) | Geometrical Parameters | ft (Hz) | λft | λv | Ucrs (m/s) | [Ucr] (m/s) | ||
|---|---|---|---|---|---|---|---|---|---|
| Α (°) | β (°) | α = 50° | α = 60° | ||||||
| Great Belt Bridge | 1624 | 53.1 | 26.6 | 0.278 | 19.529 | 0.279 | 58.42~64.78 | 52.73~59.45 | 57.96 |
| Runyang Yangtze River Bridge | 1490 | 61.6 | 16.7 | 0.225 | 24.129 | 0.345 | 47.25~52.39 | 42.64~48.08 | 45.36 |
| 4th Nanjing Yangtze River Bridge | 1418 | 50.8 | 16.0 | 0.263 | 20.643 | 0.295 | 55.25~61.27 | 49.87~56.23 | 51.07 |
| Jiangyin Yangtze River Bridge | 1385 | 52.6 | 20.1 | 0.258 | 21.043 | 0.301 | 54.15~60.05 | 48.88~55.11 | 56.36 |
| Sutong Bridge | 1088 | 55.4 | 11.0 | 0.231 | 23.502 | 0.336 | 48.51~53.79 | 43.79~49.37 | 60.14 |
| 3rd Nanjing Yangtze River Bridge | 648 | 54.9 | 16.6 | 0.621 | 8.749 | 0.125 | 130.39~144.58 | 117.71~132.71 | 41.99 |
| VIV Responses | β (°) | α = 50° | α = 60° | ||||||
|---|---|---|---|---|---|---|---|---|---|
| Lock-In Wind Speed Region (m/s) | Maximum Amplitude (m/°) | Peaking Wind Speed (m/s) | St | Lock-In Wind Speed Region (m/s) | Maximum Amplitude (m/°) | Peaking Wind Speed (m/s) | St | ||
| Vertical | 14 | / | / | / | / | 1.56–1.80 | 0.035 | 1.77 | 0.108 |
| 16 | 1.62–2.03 | 0.023 | 1.75 | 0.102 | 1.65–1.96 | 0.038 | 1.82 | 0.106 | |
| 18 | 1.46–1.95 | 0.032 | 1.67 | 0.107 | 1.46–1.88 | 0.036 | 1.74 | 0.109 | |
| Torsional | 14 | / | / | / | / | 0.85–1.00 | 0.068 | 0.95 | 0.161 |
| 16 | 0.87–1.03 | 0.077 | 0.95 | 0.144 | 0.88–1.01 | 0.067 | 0.96 | 0.161 | |
| 18 | 0.82–0.98 | 0.072 | 0.94 | 0.150 | 0.87–1.05 | 0.040 | 0.92 | 0.170 | |
| VIV Responses | β (°) | α = 50° | α = 60° | ||||||
|---|---|---|---|---|---|---|---|---|---|
| Lock-In Wind Speed Region (m/s) | Maximum Amplitude (m/°) | Peaking Wind Speed (m/s) | St | Lock-In Wind Speed Region (m/s) | Maximum Amplitude (m/°) | Peaking Wind Speed (m/s) | St | ||
| Vertical | 14 | / | / | / | / | / | / | / | / |
| 16 | / | / | / | / | / | / | / | / | |
| 18 | / | / | / | / | / | / | / | / | |
| Torsional | 14 | / | / | / | / | 0.90–1.08 | 0.072 | 1.00 | 0.153 |
| 16 | 1.14–1.30 | 0.086 | 1.25 | 0.114 | 1.17–1.33 | 0.073 | 1.25 | 0.124 | |
| 18 | / | / | / | / | 1.05–1.20 | 0.104 | 1.16 | 0.135 | |
© 2018 by the authors. Licensee MDPI, Basel, Switzerland. This article is an open access article distributed under the terms and conditions of the Creative Commons Attribution (CC BY) license (http://creativecommons.org/licenses/by/4.0/).
Share and Cite
Yang, Y.; Zhou, R.; Ge, Y.; Du, Y.; Zhang, L. Sensitivity Analysis of Geometrical Parameters on the Aerodynamic Performance of Closed-Box Girder Bridges. Sensors 2018, 18, 2053. https://doi.org/10.3390/s18072053
Yang Y, Zhou R, Ge Y, Du Y, Zhang L. Sensitivity Analysis of Geometrical Parameters on the Aerodynamic Performance of Closed-Box Girder Bridges. Sensors. 2018; 18(7):2053. https://doi.org/10.3390/s18072053
Chicago/Turabian StyleYang, Yongxin, Rui Zhou, Yaojun Ge, Yanliang Du, and Lihai Zhang. 2018. "Sensitivity Analysis of Geometrical Parameters on the Aerodynamic Performance of Closed-Box Girder Bridges" Sensors 18, no. 7: 2053. https://doi.org/10.3390/s18072053
APA StyleYang, Y., Zhou, R., Ge, Y., Du, Y., & Zhang, L. (2018). Sensitivity Analysis of Geometrical Parameters on the Aerodynamic Performance of Closed-Box Girder Bridges. Sensors, 18(7), 2053. https://doi.org/10.3390/s18072053

