A Novel Antioxidant Phenyl Disaccharide from Populus tremula Knotwood
Abstract
:Introduction
Results and Discussion





Conclusions
Experimental
General
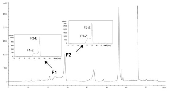
Plant material and purification of compounds.
HPLC-DAD-MS and MS/MS analyses.
+ 76.9º (EtOH, c 0.01), [21]. UV-vis λmax EtOH nm (log ε): 315 (4.45); IR, νmax cm-1: 3414 (-OH), 1712 (>C=O, unsaturated ester), 1631, 1604, 1515, 1450, 1380, 1260, 1204, 1170, 1067, 833; 1H-NMR: F2-E, δ 7.73 (1H, d, J=16Hz; H-3), 7.48 (2H, d, J=8Hz; H-5,-9), 6.81 (2H, d, J=8Hz; H-6,-8); 6.37 (1H, d, J=16Hz; H-2), 5.55 (1H, d, J=7.7Hz; H-1´), 4.72 (2H, multiplet s, H-1´´ in E/Z), 3.96-3.85 (4H, “multiplet” signals, H-6´ in E/Z), next overlapping signal for H-2´,-3´,-4´,-5´ and H-2”,-3”,-4”, 5” in E/Z isomers, 3.72- 3.63 (m), 3.55-3.54 (m), 3.49-3.31(m) total integration 16 H, and 1.26 ppm (6H, d, J=7.6 Hz, Me-Rha in E/Z); F1-Z, δ 7.71 (2H, d, J=8Hz; H-5,-9), 6.94 (1H, d, J=12Hz; H-3), 6.77 (2H, d, J=8Hz; H-6,-8), 5.84 (1H, d, J=12Hz; H-2), 5.52 (1H, d, J=8.2Hz; H-1´), 4.72 (2H, multiplet s, H-1´´ in E/Z), 3.96-3.85 (4H, “multiplet” signals, H-6´ in E/Z), next overlapping signal for H-2´,-3´,-4´,-5´ and H-2”,-3”,-4”, 5” in E/Z isomers, 3.72-3.63 (m), 3.55-3.54 (m), 3.49-3.31(m) total integration 16 H, and 1.26 ppm (6H, d, J=7.6 Hz, Me-Rha in E/Z), see Table 1; ESI/MS (negative mode) m/z 471.0 [M-H]- of F1 and F2; MS/MS, m/z (rel. int.) F1-(Z): 411 (21.4), 309.1 (5.2), 204.7 (3), 186.7 (12.7), 162.7 (100), 144.7 (11.2) and F2-(E): 411 (2.3), 204.7 (3), 186.8 (26), 162.7 (100), 144.7 (5). CG-MS TMSi, m/z obtained 904.3964 (calculated for C39H76O12Si6, 904.395249).| δ in ppm*; 1H | Assignment | δ in ppm; 13C | Assignment | HSQC$ |
|---|---|---|---|---|
| 7.73 (d, 1H) | Ar-C
H=CH-CO2 Isomer (E) | 167.5; 166.4 | 2x C1; –CO2-Sugar | 2 x Q |
| 7.71 (d, 2H) | H5/H9 (Z) | |||
| 7.48 (d, 2H) | H5/H9 (E) | 161.5, 160.4 | 2xC7; p-coumaric | 2 x Q |
| 6.94 (d, 1H) | Ar-C
H=CH-CO2 Isomer (Z) | |||
| 6.81 (d, 2H);
6.77 (d, 2H) | H6/H8 (Z)/(E) | 148.0 | 2xC3; -CH=CH-CO2 | (E)-C3 |
| 147.1 | (Z)-C3 | |||
| 6.37 (d, 1H) | Ar-CH=C
H-CO2 Isomer (E) | 134.2 | C5/C9; in isomer (Z) of p-coumarin | (Z)-C5 |
| 5.84 (d, 1H) | Ar-CH=C
H-CO2 Isomer (Z) | 131.4 | C5/C9; in isomer (E) of p-coumarin | (E)-C5 |
| 5.55 (d, 1H);
5.52 (d, 1H) | H anomerics | 127.3; 127.0 | 2xC4; p-coumaroyl | 2 x Q |
| 4.72 (multiplet s, 2H) | H anomeric | 116.9; 115.9 | 2x C6/C8; p-coumaroyl | |
| 3.96 -3.85 (4H “multiplet” signals),
3.72-3.63 (m), 3.55-3.54 (m), 3.49-3.31(m), [total 16H]. | Glucosides | |||
| 115.4 | 2xC2 -CH=CH-CO2 | (Z)-C2 | ||
| 114.4 | (E)-C2 | |||
| 102.2 | C1´´ anomeric (Rha) | |||
| 95.7, 95.5 | 2 x C1´ anomeric (Glu) | |||
| 78.0, 77.9, 77.7, 74.0, 73.9, 72.3, 72.1, 71.1, 70.0, 69.9, 67.8, 67.7 | Glucosides
(Rha and Glu) | |||
| 1.26 (d, 6H) | Me-Rha | 18.0 | C6´´ (Rha) |
Antioxidative capacity determinations: Inhibition of lipid peroxidation assay.
Trapping of peroxyl radicals assay.
ORAC (oxygen radical absorbance capacity) assay.
Acknowledgments
References
- Heuser, E; Broetz, A. The chemical nature of deciduos trees. Papierfabrikant 1925, 23, 69–88. [Google Scholar]
- Pearl, I.A. Water Extractives of American Populus Pulpwood Species Barks – a Review. Tappi 1969, 52, 428–431. [Google Scholar]
- Pearl, I.A.; Harrocks, J.A. Studies on Chemistry of Aspenwood. 10. Neutral Materials from Benzene Extractives of Populus Tremuloides. J. Org. Chem. 1961, 26, 1578–1583. [Google Scholar]
- Pietarinen, S.P.; Willför, S.M.; Sjöholm, R.E.; Holmbom, B.R. Bioactive phenolic substances in important tree species. Part 3: Knots and stemwood of Acacia crassicarpa and A-mangium. Holzforschung 2005, 59, 94–101. [Google Scholar]
- Neacsu, M.; Eklund, P.; Sjöholm, R.; Pietarinen, S.; Ahotupa, M.; Holmbom, B.; Willför, S.M. Antioxidant flavonoids from knotwood of Jack pine and European aspen. Holz Roh- Werks. 2007, 65, 1–6. [Google Scholar]
- Willför, S.M.; Ahotupa, M.O.; Hemming, J.E.; Reunanen, M.H.; Eklund, P.C.; Sjöholm, R.E.; Eckerman, C.S.; Pohjamo, S.P.; Holmbom, B.R. Antioxidant activity of knotwood extractives and phenolic compounds of selected tree species. J. Agr. Food Chem. 2003, 51, 7600–7606. [Google Scholar]
- Holmbom, B.R.; Eckerman, C.; Eklund, P.; Hemming, J.; Nisula, L.; Reunanen, M.; Sjöholm, R.E.; Sundberg, A.; Sundberg, K.; Willför, S.M. Knots in trees: A new rich source of lignans. Phytochem. Rev. 2004, 2, 331–340. [Google Scholar]
- Baderschneider, B.; Winterhalter, P. Isolation and characterization of novel benzoates, cinnamates, flavonoids, and lignans from Riesling wine and screening for antioxidant activity. J. Agr. Food Chem. 2001, 49, 2788–2798. [Google Scholar] [CrossRef]
- Socrates, G. Infrared and Raman Characteric Group Frequencies; John Wiley & Sons: Chichester, U.K, 2004. [Google Scholar]
- Yi, J.H.; Zhang, G.L.; Li, B.G.; Chen, Y.Z. Phenylpropanoid glycosides from Lamiophlomis rotata. Phytochemistry 1999, 51, 825–828. [Google Scholar] [CrossRef]
- Sun, X.F.; Sun, R.C.; Fowler, P.; Baird, M.S. Physicochemical characterization of liginin isolated with high yield purity from wheat straw. Int. J. Polym. Anal. Ch. 2004, 9, 317–337. [Google Scholar] [CrossRef]
- McNally, D.J.; Wurms, K.V.; Labbe, C.; Quideau, S.; Belanger, R.R. Complex C-glycosyl flavonoid phytoalexins from Cucumis sativus. Journal of Natural Products 2003, 66, 1280–1283. [Google Scholar] [CrossRef]
- Mun, S.P.; Ku, C.S. Characterization of low molecular weight polyphenols from pine (Pinus radiata) bark. Food Sci. Biotech. 2006, 15, 424–430. [Google Scholar]
- Cogne, A.L.; Queiroz, E.F.; Wolfender, J.L.; Marston, A.; Mavi, S.; Hostettmann, K. On-line identification of unstable catalpol derivatives from Jamesbrittenia fodina by LC-MS and LC-NMR. Phytochem. Anal. 2003, 14, 67–73. [Google Scholar] [CrossRef]
- Bergman, M.; Varshavsky, L.; Gottlieb, H.E.; Grossman, S. The antioxidant activity of aqueous spinach extract: chemical identification of active fractions. Phytochemistry 2001, 58, 143–152. [Google Scholar] [CrossRef]
- Bedir, E.; Tatli, I.I.; Khan, R.A.; Zhao, J.P.; Takamatsu, S.; Walker, L.A.; Goldman, P.; Khan, I.A. Biologically active secondary metabolites from Ginkgo biloba. J. Agr. Food Chem. 2002, 50, 3150–3155. [Google Scholar]
- Norbaek, R.; Nielsen, J.K.; Kondo, T. Flavonoids from flowers of two Crocus chrysanthus-biflorus cultivars: "Eye-catcher" and "Spring Pearl" (Iridaceae). Phytochemistry 1999, 51, 1139–1146. [Google Scholar] [CrossRef]
- Davalos, A.; Gomez-Cordoves, C.; Bartolome, B. Extending applicability of the oxygen radical absorbance capacity (ORAC-fluorescein) assay. J. Agr. Food Chem. 2004, 52, 48–54. [Google Scholar] [CrossRef]
- Ou, B.X.; Hampsch-Woodill, M.; Prior, R.L. Development and validation of an improved oxygen radical absorbance capacity assay using fluorescein as the fluorescent probe. J. Agr. Food Chem. 2001, 49, 4619–4626. [Google Scholar] [CrossRef]
- Villano, D.; Fernandez-Pachon, M.S.; Troncoso, A.M.; Garcia-Parrilla, M.C. Comparison of antioxidant activity of wine phenolic compounds and metabolites in vitro. Anal. Chim. Acta 2005, 538, 391–398. [Google Scholar] [CrossRef]
- Li, Y.M.; Jiang, S.H.; Gao, W.Y.; Zhu, D.Y. Phenylpropanoid glycosides from Scrophularia ningpoensis. Phytochemistry 2000, 54, 923–925. [Google Scholar] [CrossRef]
- Ahotupa, M.; Mantyla, E.; Kangas, L. Antioxidant properties of the triphenylethylene antiestrogen drug toremifene. Naunyn-Schmiedebergs Arch. Pharmacol. 1997, 356, 297–302. [Google Scholar]
- Sample availability: Contact the authors.
© 2007 by MDPI (http://www.mdpi.org). Reproduction is permitted for noncommercial purposes.
Share and Cite
Neacsu, M.; Micol, V.; Pérez-Fons, L.; Willför, S.; Holmbom, B.; Mallavia, R. A Novel Antioxidant Phenyl Disaccharide from Populus tremula Knotwood. Molecules 2007, 12, 205-217. https://doi.org/10.3390/12020205
Neacsu M, Micol V, Pérez-Fons L, Willför S, Holmbom B, Mallavia R. A Novel Antioxidant Phenyl Disaccharide from Populus tremula Knotwood. Molecules. 2007; 12(2):205-217. https://doi.org/10.3390/12020205
Chicago/Turabian StyleNeacsu, Madalina, Vicente Micol, Laura Pérez-Fons, Stefan Willför, Bjarne Holmbom, and Ricardo Mallavia. 2007. "A Novel Antioxidant Phenyl Disaccharide from Populus tremula Knotwood" Molecules 12, no. 2: 205-217. https://doi.org/10.3390/12020205
APA StyleNeacsu, M., Micol, V., Pérez-Fons, L., Willför, S., Holmbom, B., & Mallavia, R. (2007). A Novel Antioxidant Phenyl Disaccharide from Populus tremula Knotwood. Molecules, 12(2), 205-217. https://doi.org/10.3390/12020205

