Spatio-Temporal Context, Correlation Filter and Measurement Estimation Collaboration Based Visual Object Tracking
Abstract
1. Introduction
1.1. Related Work
1.1.1. Tracking by STC
1.1.2. Tracking by Correlation Filter
1.1.3. Tracking by Kalman Filter
1.2. Our Contributions
- (1)
- We propose a scale correlation filter-based pyramid representation mechanism to accurately extract the target without accumulating the scale model’s error. We use a combination of spatio-temporal context and scale correlation filter to achieve accurate object tracking.
- (2)
- We introduce an effective method in which the object can be tracked accurately by utilizing extended Kalman filter (EKF) detection for nonlinear target motion. We also use the response map’s peak value to measure the reliability of the current estimated position. If the tracking result is unreliable, this method can regain the target position to continue tracking.
- (3)
- We propose an adaptive learning rate mechanism based on the average peak to correlation energy (APCE) based on the target appearance model. This method can effectively prevent the tracking model from the wrong appearance.
- (4)
1.3. Paper Outline
2. Spatio-Temporal Context Tracking
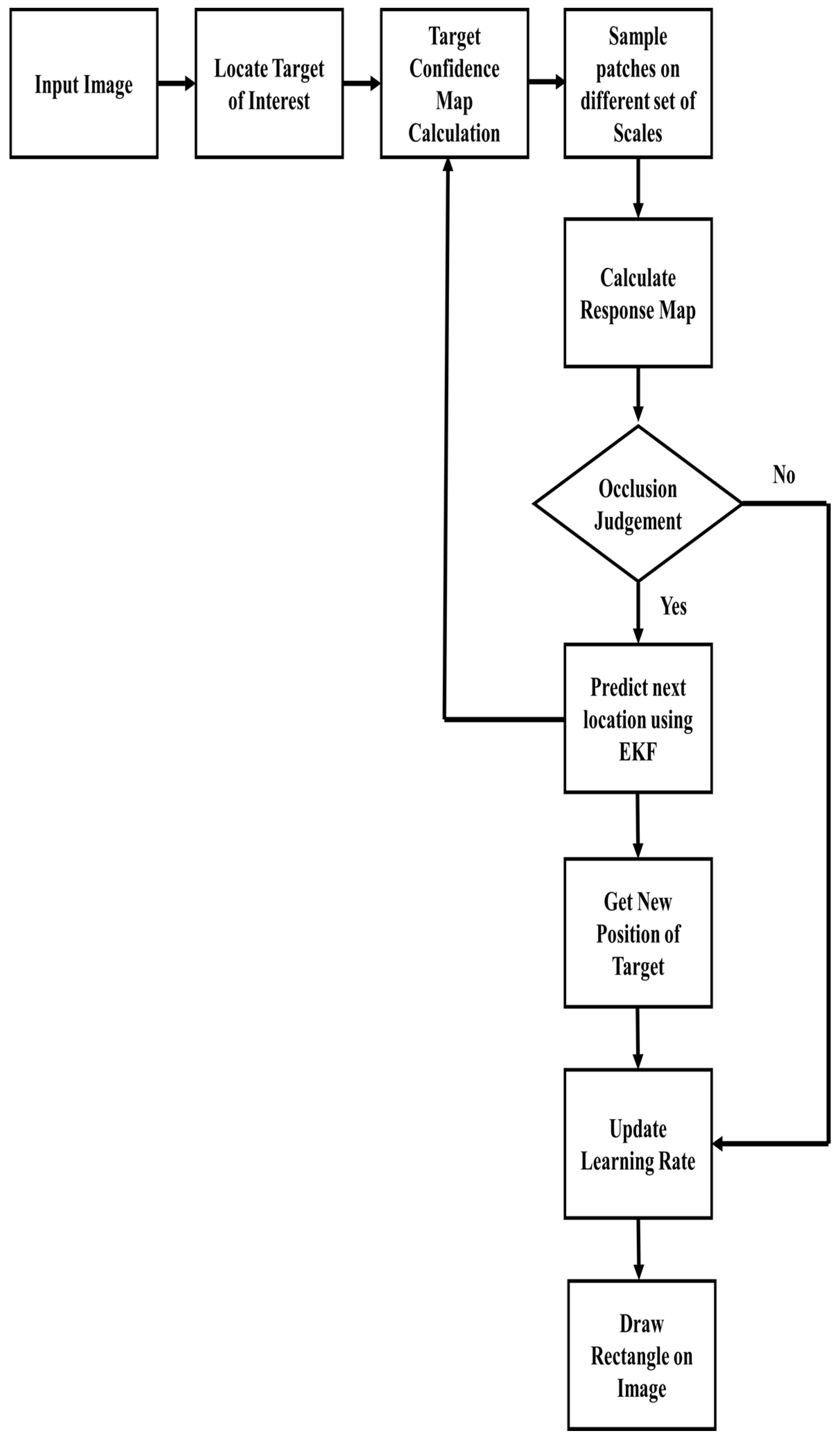
3. Proposed Tracker
3.1. Scale Space Tracking
3.2. Extended Kalman Filter
3.3. Occlusion Detection
3.4. Adaptive Learning Rate
| Algorithm 1: Proposed Tracker at time step t |
| Input: Image Sequence of n Frames. Position of Target at First Frame. Output: Target Position for each frame in Image Sequence. for frame 1 to n frames.
|
4. Experiments
4.1. Evaluation Criteria
4.2. Parameter Settings
5. Performance Analysis
5.1. Quantitative Analysis
5.2. Qualitative Analysis
6. Discussion
7. Conclusions
Author Contributions
Funding
Institutional Review Board Statement
Informed Consent Statement
Data Availability Statement
Conflicts of Interest
References
- Yao, L.; Liu, Y.; Huang, S. Spatio-temporal information for human action recognition. Eurasip J. Image Video Process. 2016, 39, 1–9. [Google Scholar] [CrossRef]
- Wang, X.; Chen, D.; Yang, T.; Hu, B.; Zhang, J. Action recognition based on object tracking and dense trajectories. In Proceedings of the International Conference on Automatica (ICA-ACCA), Curico, Chile, 19–21 October 2016; pp. 1–5. [Google Scholar]
- Aggarwal, J.K.; Xia, L. Human activity recognition from 3d data: A review. Pattern Recognit. Lett. 2014, 48, 70–80. [Google Scholar] [CrossRef]
- Hui, Z.; Yaohua, X.; Lu, M.; Jiansheng, F. Vision-based real-time traffic accident detection. In Proceedings of the 11th World Congress on Intelligent Control and Automation (WCICA), Shenyang, China, 29 June–4 July 2014; pp. 1035–1038. [Google Scholar]
- Tian, B.; Yao, Q.; Gu, Y.; Wang, K.; Li, Y. Video processing techniques for traffic flow monitoring: A survey. In Proceedings of the 14th International IEEE Conference on Intelligent Transportation Systems (ITSC), Washington, DC, USA, 5–7 October 2011; pp. 1103–1108. [Google Scholar]
- Li, J.; Zie, J.; Hu, W.; Wang, L.; Yang, A. Research on the improvement of vision target tracking algorithm for Internet of things technology and Simple extended application in pellet ore phase. Future Gener. Comput. Syst. 2020, 110, 233–242. [Google Scholar] [CrossRef]
- Zhang, H.; Zhang, Z.; Zhang, L.; Yang, Y.; Kang, Q.; Sun, D. Object Tracking for a Smart City Using IoT and Edge Computing. Sensors 2019, 19, 1987. [Google Scholar] [CrossRef] [PubMed]
- Gong, X.; Le, Z.; Wang, H.; Wu, Y. Study on the Moving Target Tracking Based on Vision DSP. Sensors 2020, 20, 6494. [Google Scholar] [CrossRef]
- Oh, S.H.; Javed, S.; Jung, S.K. Foreground Object Detection and Tracking for Visual Surveillance System: A Hybrid Approach. In Proceedings of the 11th International Conference on Frontiers of Information Technology, Islamabad, Pakistan, 16–18 December 2013; pp. 13–18. [Google Scholar]
- Staniszewski, M.; Foszner, P.; Kostorz, K.; Michalczuk, A.; Wereszczyński, K.; Cogiel, M.; Golba, D.; Wojciechowski, K.; Polański, A. Application of Crowd Simulations in the Evaluation of Tracking Algorithms. Sensors 2020, 20, 4960. [Google Scholar] [CrossRef] [PubMed]
- Ali, A.; Kausar, H.; Muhammad, I.K. Automatic visual tracking and firing system for anti-aircraft machine gun. In Proceedings of the 6th International Bhurban Conference on Applied Sciences & Technology (IBCAST), Islamabad, Pakistan, 19–22 January 2009; pp. 253–257. [Google Scholar]
- Vasconcelos, M.J.M.; Ventura, S.M.R.; Freitas, D.R.S.; Tavares, J.M.R.S. Towards the automatic study of the vocal tract from magnetic resonance images. J. Voice Off. J. Voice Found. 2011, 25, 732–742. [Google Scholar] [CrossRef]
- Zhou, W.; Wu, C.; Yu, X.; Gao, Y.; Du, W. Automatic fovea center localization in retinal images using saliency-guided object discovery and feature extraction. J. Med. Imaging Health Inf. 2017, 7, 1070–1077. [Google Scholar] [CrossRef]
- Ali, A.; Jalil, A.; Niu, J.; Zhao, X.; Rathore, S.; Ahmed, J.; Iftikhar, M.A. Visual object tracking—classical and contemporary approaches. Front. Comput. Sci. 2016, 10, 167–188. [Google Scholar] [CrossRef]
- Yoon, G.-J.; Hwang, H.J.; Yoon, S.M. Visual Object Tracking Using Structured Sparse PCA-Based Appearance Representation and Online Learning. Sensors 2018, 18, 3513. [Google Scholar] [CrossRef]
- Fiaz, M.; Mahmood, A.; Javed, S.; Jung, S.K. Handcrafted and deep trackers: Recent visual object tracking approaches and trends. ACM Comput. Surv. 2019, 52, 1–44. [Google Scholar] [CrossRef]
- Mei, X.; Ling, H. Robust Visual Tracking and Vehicle Classification via Sparse Representation. IEEE Trans. Pattern Anal. Mach. Intell. 2011, 33, 2259–2272. [Google Scholar]
- Hare, S.; Saffari, A.; Torr, P.H.S. Struck: Structured output tracking with kernels. In Proceedings of the International Conference on Computer Vision (ICCV), Barcelona, Spain, 6–13 November 2011; pp. 263–270. [Google Scholar]
- Zhang, K.; Zhang, L.; Liu, Q.; Zhang, D.; Yang, M.H. Fast visual tracking via dense spatio-temporal context learning. In Proceedings of the European Conference on Computer Vision (ECCV), Zurich, Switzerland, 6–7 September 2014; pp. 127–141. [Google Scholar]
- Zhang, Y.; Wang, L.; Qin, J. Adaptive spatio-temporal context learning for visual tracking. Imaging Sci. J. 2019, 67, 136–147. [Google Scholar] [CrossRef]
- Wang, H.; Liu, P.; Du, Y.; Liu, X. Online convolution network tracking via spatio-temporal context. Multimed. Tools Appl. 2019, 78, 257–270. [Google Scholar] [CrossRef]
- Wan, H.; Li, W.; Ye, G. An improved spatio-temporal context tracking algorithm. In Proceedings of the 13th IEEE Conference on Industrial Electronics and Applications (ICIEA), Wuhan, China, 31 May–2 June 2018; pp. 1320–1325. [Google Scholar]
- Li, W.G.; Wan, H. An improved spatio-temporal context tracking algorithm based on scale correlation filter. Adv. Mech. Eng. 2019, 11, 1–11. [Google Scholar] [CrossRef]
- Henriques, J.F.; Caseiro, R.; Martins, P.; Batista, J. High-speed tracking with kernelized correlation filters. IEEE Trans. Pattern Anal. Mach. Intell. 2014, 37, 583–596. [Google Scholar] [CrossRef]
- Ahmed, J.; Ali, A.; Khan, A. Stabilized active camera tracking system. J. Real-Time Image Proc. 2016, 11, 315–334. [Google Scholar] [CrossRef]
- Mueller, M.; Smith, N.; Ghanem, B. Context-Aware Correlation Filter Tracking. In Proceedings of the IEEE Conference on Computer Vision and Pattern Recognition (CVPR), Honolulu, HI, USA, 21–26 July 2017; pp. 1387–1395. [Google Scholar]
- Ali, A.; Jalil, A.; Ahmed, J. A new template updating method for correlation tracking. In Proceedings of the International Conference on Image and Vision Computing (IVCNZ), Palmerston North, New Zealand, 21–22 November 2016; pp. 1–6. [Google Scholar]
- Shin, J.; Kim, H.; Kim, D.; Paik, J. Fast and Robust Object Tracking Using Tracking Failure Detection in Kernelized Correlation Filter. Appl. Sci. 2020, 10, 713. [Google Scholar] [CrossRef]
- Danelljan, M.; Hager, G.; Khan, F.S.; Felsberg, M. Accurate scale estimation for robust visual tracking. In Proceedings of the British Machine Vision Conference (BMVC), Nottingham, UK, 9 February 2014; pp. 1–11. [Google Scholar]
- Danelljan, M.; Hager, G.; Khan, F.S.; Felsberg, M. Discriminative Scale Space Tracking. IEEE Trans. Pattern Anal. Mach. Intell. 2016, 39, 1561–1575. [Google Scholar] [CrossRef] [PubMed]
- Zhang, Y.; Yang, Y.; Zhou, W.; Shi, L.; Li, D. Motion-Aware Correlation Filters for Online Visual Tracking. Sensors 2018, 18, 3937. [Google Scholar] [CrossRef]
- Ma, H.; Lin, Z.; Acton, S.T. FAST: Fast and Accurate Scale Estimation for Tracking. IEEE Signal Process. Lett. 2020, 27, 161–165. [Google Scholar] [CrossRef]
- Li, Y.; Zhu, J. A scale adaptive kernel correlation filter tracker with feature integration. In Proceedings of the European Conference on Computer Vision (ECCV), Zurich, Switzerland, 6–7 September 2014; pp. 254–265. [Google Scholar]
- Panqiao, C.; Mengzhao, Y. STC Tracking Algorithm Based on Kalman Filter. In Proceedings of the 4th International Conference on Machinery, Materials and Computing Technology, Hangzhou, China, 23–24 January 2016; pp. 1916–1920. [Google Scholar]
- Munir, F.; Minhas, F.; Jalil, A.; Jeon, M. Real time eye tracking using Kalman extended spatio-temporal context learning. In Proceedings of the Second International Workshop on Pattern Recognition, Singapore, 1–3 May 2017; p. 104431. [Google Scholar]
- Zhang, J.; Liu, Y.; Liu, H.; Wang, J. Learning Local–Global Multiple Correlation Filters for Robust Visual Tracking with Kalman Filter Redetection. Sensors 2021, 21, 1129. [Google Scholar]
- Khalkhali, M.; Vahedian, A.; Yazdi, H.S. Vehicle tracking with Kalman filter using online situation assessment. Robot. Auton. Syst. 2020, 131, 103596. [Google Scholar] [CrossRef]
- Ali, A.; Jalil, A.; Ahmed, J.; Iftikhar, M.A.; Hussain, M. Correlation, Kalman filter and adaptive fast mean shift based heuristic approach for robust visual tracking. Signal Image Video Process. 2015, 9, 1567–1585. [Google Scholar] [CrossRef]
- Yang, H.; Wang, J.; Miao, Y.; Yang, Y.; Zhao, Z.; Wang, Z.; Sun, Q.; Wu, D.O. Combining Spatio-Temporal Context and Kalman Filtering for Visual Tracking. Mathematicsc 2019, 7, 1059. [Google Scholar] [CrossRef]
- Mehmood, K.; Jalil, A.; Ali, A.; Khan, B.; Murad, M.; Khan, W.U.; He, Y. Context-Aware and Occlusion Handling Mechanism for Online Visual Object Tracking. Electronics 2021, 10, 43. [Google Scholar] [CrossRef]
- Khan, B.; Ali, A.; Jalil, A.; Mehmood, K.; Murad, M.; Awan, H. AFAM-PEC: Adaptive Failure Avoidance Tracking Mechanism Using Prediction-Estimation Collaboration. IEEE Access. 2020, 8, 149077–149092. [Google Scholar] [CrossRef]
- Zekavat, R.; Buehrer, R.M. An Introduction to Kalman Filtering Implementation for Localization and Tracking Applications. In Handbook of Position Location: Theory, Practice, and Advances, 2nd ed.; Wiley Online Library: Hoboken, NJ, USA, 2018; pp. 143–195. [Google Scholar]
- Wang, M.; Liu, Y.; Huang, Z. Large Margin Object Tracking with Circulant Feature Maps. In Proceedings of the IEEE Conference on Computer Vision and Pattern Recognition (CVPR), Honolulu, HI, USA, 21–26 July 2017; pp. 4800–4808. [Google Scholar]
- Liang, P.; Blasch, E.; Ling, H. Encoding color information for visual tracking: Algorithms and benchmark. IEEE Trans. Image Process. 2015, 24, 5630–5644. [Google Scholar] [CrossRef] [PubMed]
- Wu, Y.; Lim, J.; Yang, M.H. Online object tracking: A benchmark. In Proceedings of the IEEE Conference on Computer Vision and Pattern Recognition, Portland, OR, USA, 23–28 June 2013; pp. 2411–2418. [Google Scholar]
- Wu, Y.; Lim, J.; Yang, M.H. Object tracking benchmark. IEEE Trans. Pattern Anal. Mach. Intell. 2015, 37, 1834–1848. [Google Scholar] [CrossRef]
- Mueller, M.; Smith, N.; Ghanem, B. A Benchmark and Simulator for UAV Tracking. In Computer Vision—ECCV 2016. Lecture Notes in Computer Science; Leibe, B., Matas, J., Sebe, N., Welling, M., Eds.; Springer: Cham, Switzerland, 2016; Volume 9905. [Google Scholar]












| Symbol | Note |
|---|---|
| 1-dimensional HOG feature extracted from the sample | |
| Correlation filter at tth frame | |
| The numerator of correlation filter at tth frame | |
| The denominator of correlation filter at tth frame | |
| 2-dimensional Gaussian function | |
| Response map of correlation filter | |
| Predicted state at tth frame | |
| Updated error covariance at tth frame |
| Sequence | Proposed | Modified KCF | Modified STC | STC | AFAM-PEC | MACF | DCFCA |
|---|---|---|---|---|---|---|---|
| Baby_ce | 1 | 0.591 | 0.591 | 0.699 | 0.456 | 1 | 0.997 |
| Bike3 | 0.206 | 0.166 | 0.296 | 0.275 | 0.124 | 0.275 | 0.262 |
| Building3 | 1 | 1 | 1 | 1 | 1 | 1 | 1 |
| Busstation_ce2 | 0.238 | 0.889 | 0.878 | 0.194 | 0.927 | 1 | 0.886 |
| Car4 | 0.997 | 0.998 | 0.452 | 0.991 | 0.98 | 1 | 0.998 |
| Car9 | 0.988 | 0.362 | 0.976 | 0.201 | 0.917 | 0.988 | 0.424 |
| Carchasing_ce3 | 1 | 1 | 1 | 1 | 1 | 1 | 1 |
| Carchasing_ce4 | 1 | 0.400 | 0.556 | 0.995 | 0.199 | 1 | 0.717 |
| Cardark | 1 | 1 | 1 | 1 | 1 | 1 | 1 |
| Crossing | 1 | 1 | 0.575 | 0.533 | 1 | 1 | 1 |
| Cup | 1 | 1 | 1 | 1 | 1 | 1 | 1 |
| Girl2 | 0.830 | 0.591 | 0.372 | 0.262 | 0.940 | 0.097 | 0.071 |
| Guitar_ce2 | 0.568 | 0.505 | 0.108 | 0.524 | 0.524 | 0.524 | 0.581 |
| Human3 | 0.302 | 0.006 | 0.018 | 0.088 | 0.795 | 0.005 | 0.006 |
| Jogging 1 | 0.879 | 0.993 | 0.996 | 0.228 | 0.973 | 0.231 | 0.231 |
| Jogging 2 | 0.980 | 0.945 | 0.228 | 0.185 | 0.990 | 0.166 | 0.160 |
| Juice | 1 | 1 | 1 | 1 | 1 | 1 | 1 |
| Man | 1 | 1 | 1 | 1 | 1 | 1 | 1 |
| Plate_ce2 | 1 | 1 | 1 | 1 | 1 | 1 | 1 |
| Ring_ce | 1 | 0.905 | 0.129 | 1 | 1 | 1 | 1 |
| Singer1 | 1 | 0.815 | 1 | 1 | 1 | 1 | 0.843 |
| Skating2 | 0.074 | 0.302 | 0.076 | 0.023 | 0 | 0.014 | 0.423 |
| Sunshade | 1 | 1 | 0.228 | 1 | 1 | 1 | 1 |
| Tennis_ce2 | 1 | 0.656 | 0.101 | 0.652 | 1 | 1 | 1 |
| Tennis_ce3 | 1 | 0.098 | 0.186 | 0.691 | 0.108 | 0.107 | 0.108 |
| Walking2 | 0.694 | 0.408 | 0.934 | 0.442 | 0.722 | 1 | 0.564 |
| Mean Precision | 0.837 | 0.717 | 0.604 | 0.653 | 0.794 | 0.746 | 0.703 |
| Sequence | Proposed | Modified KCF | Modified STC | STC | AFAM-PEC | MACF | DCFCA |
|---|---|---|---|---|---|---|---|
| Baby_ce | 3.93 | 81.38 | 37.25 | 12.02 | 40.42 | 4.89 | 8.67 |
| Bike3 | 131.33 | 123.70 | 86.37 | 81.97 | 75.20 | 83.58 | 87.73 |
| Building3 | 2.02 | 1.96 | 1.79 | 1.50 | 1.97 | 3.76 | 2.02 |
| Busstation_ce2 | 79.33 | 10.74 | 10.86 | 78.25 | 6.2 | 3.58 | 9.71 |
| Car4 | 2.83 | 2.93 | 229.81 | 4.28 | 5.04 | 3.08 | 2.66 |
| Car9 | 5.94 | 210.36 | 13.69 | 205.7 | 3.48 | 3.08 | 255.42 |
| Carchasing_ce3 | 2.68 | 3.04 | 3.90 | 3.55 | 2.52 | 2.39 | 3.05 |
| Carchasing_ce4 | 2.06 | 26.73 | 112.99 | 2.92 | 140 | 2.24 | 16.68 |
| Cardark | 1.03 | 6.04 | 3.21 | 2.83 | 3.35 | 1.67 | 5.11 |
| Crossing | 1.23 | 2.24 | 27.05 | 34.06 | 4.71 | 1.64 | 2.20 |
| Cup | 2.82 | 4.02 | 4.63 | 4.84 | 2.48 | 3.11 | 3.85 |
| Girl2 | 30.79 | 98.93 | 101.77 | 200.5 | 9.32 | 137.62 | 356.78 |
| Guitar_ce2 | 19.20 | 59.91 | 168.93 | 29.72 | 19.12 | 19.03 | 16.06 |
| Human3 | 66.31 | 249.60 | 348.38 | 210.8 | 15.2 | 308.41 | 257.99 |
| Jogging 1 | 18.34 | 3.72 | 8.40 | 5010 | 3.87 | 94.93 | 89.44 |
| Jogging 2 | 5.46 | 4.74 | 43.04 | 104.02 | 5.09 | 148.98 | 148.33 |
| Juice | 2.16 | 1.96 | 4.63 | 5.08 | 2.42 | 0.91 | 1.92 |
| Man | 2.00 | 2.36 | 1.32 | 1.49 | 2.20 | 1.73 | 2.23 |
| Plate_ce2 | 1.23 | 1.79 | 2.58 | 2.34 | 1.21 | 1.62 | 1.83 |
| Ring_ce | 1.56 | 5.21 | 69.55 | 1.30 | 1.71 | 1.80 | 1.68 |
| Singer1 | 2.50 | 12.84 | 6.58 | 5.76 | 7.22 | 3.34 | 12.65 |
| Skating2 | 142.18 | 78.67 | 69.79 | 106.33 | 200.4 | 277.60 | 46.90 |
| Sunshade | 4.91 | 4.54 | 68.68 | 4.99 | 4.57 | 4.20 | 4.84 |
| Tennis_ce2 | 5.51 | 31.21 | 133.69 | 16.92 | 5.66 | 5.74 | 5.69 |
| Tennis_ce3 | 5.78 | 97.29 | 79.58 | 40.73 | 91.1 | 90.95 | 90.72 |
| Walking2 | 45.15 | 32.09 | 11.94 | 13.83 | 46.34 | 4.81 | 22.33 |
| Average Error | 22.63 | 44.54 | 63.48 | 237.91 | 26.95 | 46.72 | 56.02 |
| Sequence | Proposed | Modified KCF | Modified STC | STC | AFAM-PEC | MACF | DCFCA |
|---|---|---|---|---|---|---|---|
| Baby_ce | 14.35 | 101.87 | 34.68 | 93.20 | 27.98 | 59.2 | 100.77 |
| Bike3 | 15.12 | 194.80 | 15.83 | 22.83 | 33.14 | 102.0 | 229.93 |
| Building3 | 13.80 | 99.79 | 13.24 | 22.89 | 14.60 | 73.8 | 72.16 |
| Busstation_ce2 | 9.14 | 56.57 | 10.07 | 38.67 | 30.08 | 32.4 | 47.50 |
| Car4 | 7.13 | 97.91 | 11.15 | 23.16 | 13.01 | 58.6 | 76.33 |
| Car9 | 2.40 | 15.77 | 4.59 | 29.23 | 10.44 | 14.1 | 19.39 |
| Carchasing_ce3 | 26.47 | 165.00 | 54.62 | 139.47 | 36.88 | 78.3 | 125.51 |
| Carchasing_ce4 | 7.33 | 4.77 | 11.51 | 60.62 | 11.53 | 32.6 | 16.40 |
| Cardark | 24.13 | 144.27 | 49.02 | 140.69 | 24.37 | 57.0 | 92.73 |
| Crossing | 19.01 | 72.64 | 47.80 | 112.10 | 39.69 | 34.5 | 38.44 |
| Cup | 10.23 | 33.67 | 22.24 | 76.77 | 15.98 | 47.6 | 16.57 |
| Girl2 | 5.06 | 18.70 | 11.77 | 12.50 | 15.62 | 23.7 | 15.31 |
| Guitar_ce2 | 0.92 | 3.70 | 1.83 | 12.10 | 5.16 | 4.68 | 10.60 |
| Human3 | 10.49 | 14.54 | 19.48 | 131.02 | 21.18 | 38.6 | 46.84 |
| Jogging 1 | 10.30 | 12.28 | 28.28 | 34.37 | 27.89 | 25.8 | 49.30 |
| Jogging 2 | 7.32 | 23.31 | 16.81 | 38.23 | 22.51 | 30.0 | 14.97 |
| Juice | 9.96 | 39.36 | 19.99 | 99.70 | 20.24 | 38.6 | 38.78 |
| Man | 24.37 | 54.06 | 41.99 | 127.54 | 15.55 | 45.6 | 63.92 |
| Plate_ce2 | 12.91 | 166.83 | 6.07 | 25.09 | 22.90 | 69.0 | 179.17 |
| Ring_ce | 19.18 | 126.04 | 33.45 | 67.68 | 15.99 | 65.1 | 125.46 |
| Singer1 | 1.57 | 16.40 | 3.12 | 20.62 | 13.47 | 9.56 | 15.59 |
| Skating2 | 1.13 | 10.94 | 2.69 | 58.00 | 15.28 | 8.05 | 16.18 |
| Sunshade | 10.81 | 41.02 | 30.97 | 75.39 | 25.98 | 40.1 | 36.15 |
| Tennis_ce2 | 3.57 | 14.73 | 8.74 | 25.11 | 13.94 | 28.9 | 18.60 |
| Tennis_ce3 | 6.70 | 19.81 | 12.44 | 28.72 | 22.99 | 58.2 | 48.47 |
| Walking2 | 6.69 | 24.45 | 20.75 | 34.68 | 24.65 | 44.0 | 22.94 |
Publisher’s Note: MDPI stays neutral with regard to jurisdictional claims in published maps and institutional affiliations. |
© 2021 by the authors. Licensee MDPI, Basel, Switzerland. This article is an open access article distributed under the terms and conditions of the Creative Commons Attribution (CC BY) license (https://creativecommons.org/licenses/by/4.0/).
Share and Cite
Mehmood, K.; Jalil, A.; Ali, A.; Khan, B.; Murad, M.; Cheema, K.M.; Milyani, A.H. Spatio-Temporal Context, Correlation Filter and Measurement Estimation Collaboration Based Visual Object Tracking. Sensors 2021, 21, 2841. https://doi.org/10.3390/s21082841
Mehmood K, Jalil A, Ali A, Khan B, Murad M, Cheema KM, Milyani AH. Spatio-Temporal Context, Correlation Filter and Measurement Estimation Collaboration Based Visual Object Tracking. Sensors. 2021; 21(8):2841. https://doi.org/10.3390/s21082841
Chicago/Turabian StyleMehmood, Khizer, Abdul Jalil, Ahmad Ali, Baber Khan, Maria Murad, Khalid Mehmood Cheema, and Ahmad H. Milyani. 2021. "Spatio-Temporal Context, Correlation Filter and Measurement Estimation Collaboration Based Visual Object Tracking" Sensors 21, no. 8: 2841. https://doi.org/10.3390/s21082841
APA StyleMehmood, K., Jalil, A., Ali, A., Khan, B., Murad, M., Cheema, K. M., & Milyani, A. H. (2021). Spatio-Temporal Context, Correlation Filter and Measurement Estimation Collaboration Based Visual Object Tracking. Sensors, 21(8), 2841. https://doi.org/10.3390/s21082841

