Critical Angle Refractometry for Lossy Media with a Priori Known Extinction Coefficient
Abstract
:1. Introduction
2. Background Theory and Initial Observations
3. Method’s Application with a Priori Known Extinction Coefficient
3.1. Main Concept
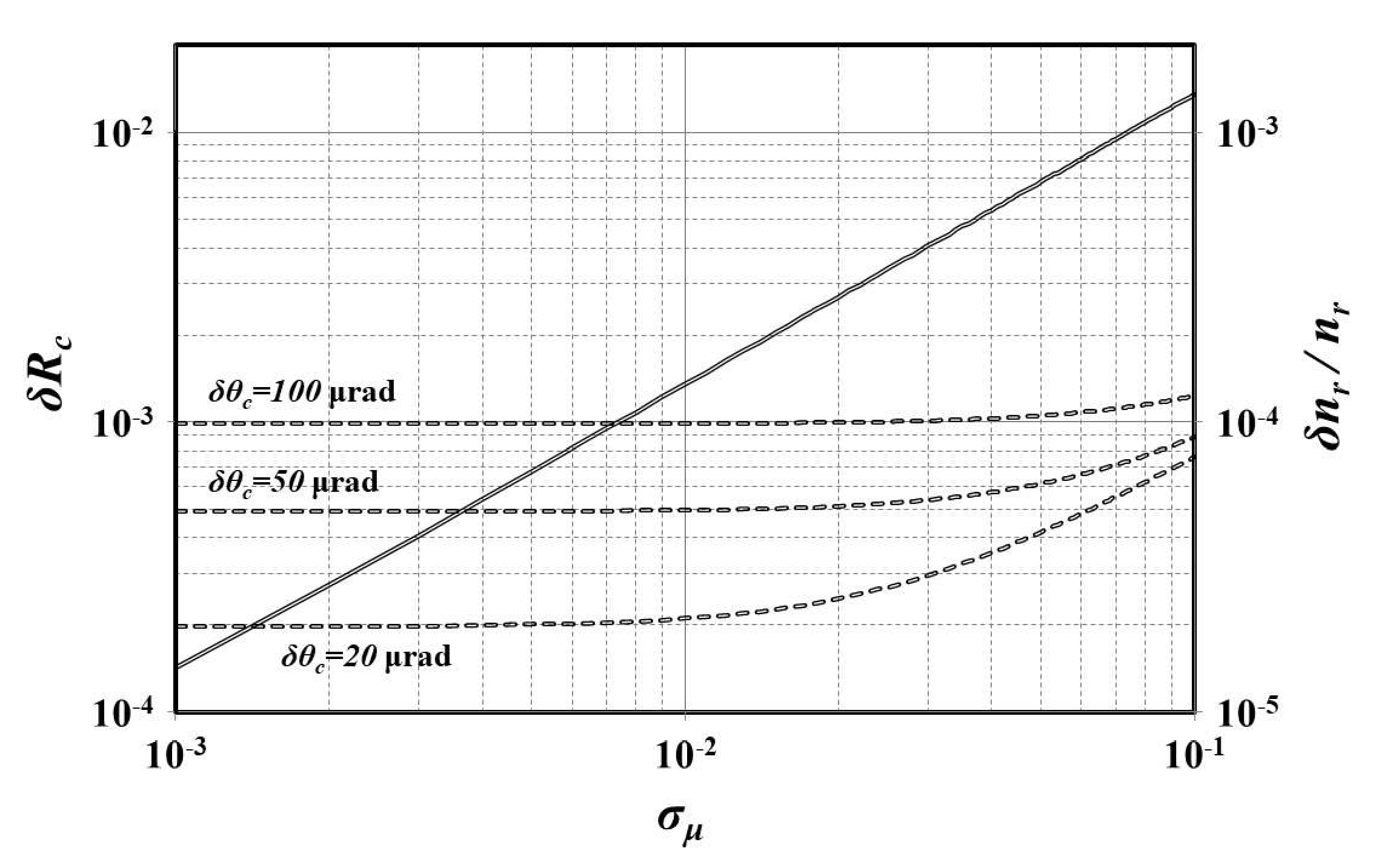
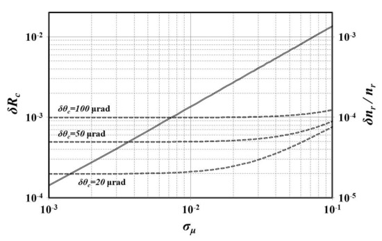
3.2. Critical Reflectance Error
3.3. Real Index Error
3.4. Comments on Implementation Issues
4. Conclusions
Author Contributions
Funding
Data Availability Statement
Conflicts of Interest
References
- Castrejón-Pita, J.R.; Morales, A.; Castrejón-García, R. Critical angle laser refractometer. Rev. Sci. Instrum. 2006, 77, 035101. [Google Scholar] [CrossRef]
- Moutzouris, K.; Hloupis, G.; Stavrakas, I.; Triantis, D.; Chou, M.H. Temperature-dependent visible to near-infrared optical properties of 8 mol% Mg-doped lithium tantalate. Opt. Mater. Express 2011, 1, 458. [Google Scholar] [CrossRef]
- Moutzouris, K.; Stavrakas, I.; Triantis, D.; Enculescu, M. Temperature-dependent refractive index of potassium acid phthalate (KAP) in the visible and near-infrared. Opt. Mater. 2011, 33, 812–816. [Google Scholar] [CrossRef]
- Moutzouris, K.; Papamichael, M.; Betsis, S.C.; Stavrakas, I.; Hloupis, G.; Triantis, D. Refractive, dispersive and thermo-optic properties of twelve organic solvents in the visible and near-infrared. Appl. Phys. B 2013, 116, 617–622. [Google Scholar] [CrossRef]
- Dongare, M.; Buchade, P.; Shaligram, A. Refractive index based optical Brix measurement technique with equilateral angle prism for sugar and Allied Industries. Optik 2015, 126, 2383–2385. [Google Scholar] [CrossRef]
- Chiappe, C.; Margari, P.; Mezzetta, A.; Pomelli, C.S.; Koutsoumpos, S.; Papamichael, M.; Giannios, P.; Moutzouris, K. Temperature effects on the viscosity and the wavelength-dependent refractive index of imidazolium-based ionic liquids with a phosphorus-containing anion. Phys. Chem. Chem. Phys. 2017, 19, 8201–8209. [Google Scholar] [CrossRef] [PubMed]
- Chen, J.Y.; Xie, Z.H.; Li, W.N.; Lin, S.B.; Zhang, L.L.; Liu, C.X. Construction and investigation of a planar waveguide in photo-thermal-refractive glass by proton implantation. Optik 2020, 207, 164461. [Google Scholar] [CrossRef]
- Revathi, V.; Rajendran, V. Investigation about nonlinear optics and antibacterial activity of pyrrolidine-2-carboxylic acid cadmium chloride hydrate single crystal. Optik 2018, 154, 234–241. [Google Scholar] [CrossRef]
- Liu, C.X.; Shen, X.L.; Guo, H.T.; Li, W.N.; Wei, W. Proton-implanted optical waveguides fabricated in Er3+-doped phosphate glasses. Optik 2017, 131, 132–137. [Google Scholar] [CrossRef]
- Koutsoumpos, S.; Giannios, P.; Moutzouris, K. Extended derivative method of critical-angle refractometry for attenuating media: Error analysis. Meas. Sci. Technol. 2021, 32, 105007. [Google Scholar] [CrossRef]
- Zeng, H.; Wang, J.; Ye, Q.; Deng, Z.; Mei, J.; Zhou, W.; Zhang, C.; Tian, J. Study on the refractive index matching effect of ultrasound on optical clearing of bio-tissues based on the derivative total reflection method. Biomed. Opt. Express 2014, 5, 3482. [Google Scholar] [CrossRef] [Green Version]
- Sun, T.Q.; Ye, Q.; Wang, X.W.; Wang, J.; Deng, Z.C.; Mei, J.C.; Zhou, W.Y.; Zhang, C.P.; Tian, J.G. Scanning focused refractive-index microscopy. Sci. Rep. 2014, 4, 5647. [Google Scholar] [CrossRef] [Green Version]
- Meeten, G.H.; North, A.N.; Willmouth, F.M. Errors in critical-angle measurement of refractive index of optically absorbing materials. J. Phys. E Sci. Instrum. 1984, 17, 642–643. [Google Scholar] [CrossRef]
- Goyal, K.G.; Dong, M.L.; Kane, D.G.; Makkar, S.S.; Worth, B.W.; Bali, L.M.; Bali, S. Note: Refractive index sensing of turbid media by differentiation of the reflectance profile: Does error-correction work? Rev. Sci. Instrum. 2012, 83, 086107. [Google Scholar] [CrossRef] [Green Version]
- Morales-Luna, G.; García-Valenzuela, A. Viability and fundamental limits of critical-angle refractometry of turbid colloids. Meas. Sci. Technol. 2017, 28, 125203. [Google Scholar] [CrossRef] [Green Version]
- Giannios, P.; Toutouzas, K.G.; Matiatou, M.; Stasinos, K.; Konstadoulakis, M.M.; Zografos, G.C.; Moutzouris, K. Visible to near-infrared refractive properties of freshly-excised human-liver tissues: Marking hepatic malignancies. Sci. Rep. 2016, 6, 27910. [Google Scholar] [CrossRef] [Green Version]
- Giannios, P.; Koutsoumpos, S.; Toutouzas, K.G.; Matiatou, M.; Zografos, G.C.; Moutzouris, K. Complex refractive index of normal and malignant human colorectal tissue in the visible and near-infrared. J. Biophotonics 2016, 10, 303–310. [Google Scholar] [CrossRef] [PubMed]
- Räty, J.; Pääkkönen, P.; Peiponen, K.E. Assessment of wavelength dependent complex refractive index of strongly light absorbing liquids. Opt. Express 2012, 20, 2835. [Google Scholar] [CrossRef] [PubMed]
- Koutsoumpos, S.; Giannios, P.; Stavrakas, I.; Moutzouris, K. The derivative method of critical-angle refractometry for attenuating media. J. Opt. 2020, 22, 075601. [Google Scholar] [CrossRef]
- Meeten, G.H. Refractive index errors in the critical-angle and the Brewster-angle methods applied to absorbing and heterogeneous materials. Meas. Sci. Technol. 1997, 8, 728–733. [Google Scholar] [CrossRef]
- Kedenburg, S.; Vieweg, M.; Gissibl, T.; Giessen, H. Linear refractive index and absorption measurements of nonlinear optical liquids in the visible and near-infrared spectral region. Opt. Mater. Express 2012, 2, 1588. [Google Scholar] [CrossRef]
- Ninni, P.D.; Martelli, F.; Zaccanti, G. Intralipid: Towards a diffusive reference standard for optical tissue phantoms. Phys. Med. Biol. 2010, 56, N21–N28. [Google Scholar] [CrossRef] [PubMed]
- Zhao, Y.; Qiu, L.; Sun, Y.; Huang, C.; Li, T. Optimal hemoglobin extinction coefficient data set for near-infrared spectroscopy. Biomed. Opt. Express 2017, 8, 5151. [Google Scholar] [CrossRef] [PubMed] [Green Version]
- Zhao, D.; Zhang, G.; Zhang, X.; Li, D. Optical properties of paraffin at temperature range from 40 to 80 ∘C. Optik 2018, 157, 184–189. [Google Scholar] [CrossRef] [Green Version]
- Forouhi, A.R.; Bloomer, I. Optical properties of crystalline semiconductors and dielectrics. Phys. Rev. B 1988, 38, 1865–1874. [Google Scholar] [CrossRef]
- Li, X.; Zhao, J.M.; Wang, C.C.; Liu, L.H. Improved transmission method for measuring the optical extinction coefficient of micro/nano particle suspensions. Appl. Opt. 2016, 55, 8171. [Google Scholar] [CrossRef] [Green Version]
- Ninni, P.D.; Martelli, F.; Zaccanti, G. Effect of dependent scattering on the optical properties of Intralipid tissue phantoms. Biomed. Opt. Express 2011, 2, 2265. [Google Scholar] [CrossRef] [Green Version]
- Feder, I.; Duadi, H.; Fixler, D. Single wavelength measurements of absorption coefficients based on iso-pathlength point. Biomed. Opt. Express 2020, 11, 5760. [Google Scholar] [CrossRef]
- Marchesini, R.; Bertoni, A.; Andreola, S.; Melloni, E.; Sichirollo, A.E. Extinction and absorption coefficients and scattering phase functions of human tissues in vitro. Appl. Opt. 1989, 28, 2318. [Google Scholar] [CrossRef] [PubMed]
- Ogusu, K.; Suzuki, K.; Nishio, H. Simple and accurate measurement of the absorption coefficient of an absorbing plate by use of the Brewster angle. Opt. Lett. 2006, 31, 909. [Google Scholar] [CrossRef]
- Wu, S.; Lian, J.; Song, P.; Gao, S.; Wang, X.; Ma, Z.; Wang, Y.; Guan, W. Optical properties of Sr3NbGa3Si2O14 crystal. Opt. Int. J. Light Electron Opt. 2013, 124, 686–688. [Google Scholar] [CrossRef]
- Zhou, W.; Zhou, Y.; Albert, J. A true fiber optic refractometer. Laser Photonics Rev. 2017, 11, 1600157. [Google Scholar] [CrossRef]




Publisher’s Note: MDPI stays neutral with regard to jurisdictional claims in published maps and institutional affiliations. |
© 2021 by the authors. Licensee MDPI, Basel, Switzerland. This article is an open access article distributed under the terms and conditions of the Creative Commons Attribution (CC BY) license (https://creativecommons.org/licenses/by/4.0/).
Share and Cite
Koutsoumpos, S.; Giannios, P.; Moutzouris, K. Critical Angle Refractometry for Lossy Media with a Priori Known Extinction Coefficient. Physics 2021, 3, 569-578. https://doi.org/10.3390/physics3030036
Koutsoumpos S, Giannios P, Moutzouris K. Critical Angle Refractometry for Lossy Media with a Priori Known Extinction Coefficient. Physics. 2021; 3(3):569-578. https://doi.org/10.3390/physics3030036
Chicago/Turabian StyleKoutsoumpos, Spyridon, Panagiotis Giannios, and Konstantinos Moutzouris. 2021. "Critical Angle Refractometry for Lossy Media with a Priori Known Extinction Coefficient" Physics 3, no. 3: 569-578. https://doi.org/10.3390/physics3030036
APA StyleKoutsoumpos, S., Giannios, P., & Moutzouris, K. (2021). Critical Angle Refractometry for Lossy Media with a Priori Known Extinction Coefficient. Physics, 3(3), 569-578. https://doi.org/10.3390/physics3030036

