Solar Technology and Heritage Conservation in the Andes: Feasibility of Using Handcrafted Photovoltaic Roof Tiles in the Historic Center of Cuenca, Ecuador
Abstract
1. Introduction
2. Materials and Methods
2.1. Data Collection
2.1.1. Study Area
2.1.2. Location of Educational Institutions
2.1.3. Electricity Demand of Educational Institutions
2.1.4. Available Roof Area for Photovoltaic Installation
2.2. Development of a Handcrafted Photovoltaic Roof Tile Prototype
- Design: The physical and electrical properties of the photovoltaic cells were analyzed, along with their compatibility with the materials and dimensions of traditional roof tiles.
- Sketching: The photovoltaic system was integrated into the roof tile design through geometric adaptation and by allocating the space required to accommodate the cells.
- Testing: The electrical performance of each roof tile was evaluated both individually and on a standardized surface of 1 m2.
2.2.1. Physical and Electrical Design of Photovoltaic Roof Tiles
- Analysis of the geometric and electrical properties of photovoltaic cells;
- Assessment of available roof tile area for cell installation;
- Design of the photovoltaic system integrated into the roof tile structure;
- Calculation of the power output of each tile;
- Design proposal for a roof composed of modular photovoltaic tiles.
- Analysis of the geometric and electrical properties of the photovoltaic cells
- Assessment of available roof tile area for cell installation
- Design of the photovoltaic system integrated into the roof tile structure
- Calculation of the power output of each tile
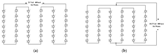
- Series interconnection
- 2.
- Mixed series–parallel interconnection
- Design proposal for a roof composed of modular photovoltaic tiles
- Removal of the usable area required for integrating photovoltaic cells into the handcrafted tile.
- Step-by-step description of the process for mounting and assembling the photovoltaic panel inside the tile structure.
- Integration of the photovoltaic module into the handcrafted tile using appropriate assembly techniques.
- Projected energy calculation per square meter of roof surface.
2.2.2. Sketching
- Epoxy resin was poured into a 38 cm × 18 cm mold, forming a 2 mm thick layer.
- After 24 h of curing, a solid epoxy resin plate was obtained.
- Figure 9b shows the circuit to be assembled on top of the resin plate. The adopted configuration for the circuit was a mixed series–parallel interconnection.
- The photovoltaic cells, with their respective connections and solder joints, were placed in the mold together with the plate, which provided protection for the back of the panel.
- Epoxy resin was poured into the mold again, forming another 2 mm thick layer, and left to cure for 24 h. This resulted in a photovoltaic plate protected on both surfaces.
- The upper surface was polished to achieve a transparent finish.
2.3. Photovoltaic System Sizing
- Selection of educational institutions: Only those institutions with roofs made of handcrafted clay tiles were selected, as this condition was essential for implementing the proposed photovoltaic system.
- Estimation of electricity consumption: The annual, monthly, and daily electricity consumption of each educational institution was estimated based on actual consumption data provided by the local electric utility.
- Assessment of available solar radiation: Through a literature review, a conservative solar radiation value of 3.92 kWh/m2/day was adopted, corresponding to the month with the lowest insolation (June), as a safety margin in the design.
- Calculation of required handcrafted photovoltaic roof tiles: The number of photovoltaic roof tiles required to meet the daily electricity consumption of each educational institution was determined, based on the previously calculated generation capacity per square meter (88.42 W/m2).
- Selection of the inverter: Lastly, the appropriate inverter was selected according to the electrical power required by each building and the characteristics of the existing electrical system, ensuring both operational efficiency and technical compatibility.
2.3.1. Selection of Educational Institutions
2.3.2. Estimation of Energy Consumption
- Annual consumption (kWh/year);
- Average monthly consumption (kWh/month);
- Estimated daily consumption, expressed both in kWh/day and Wh/day, to facilitate photovoltaic system sizing.
2.3.3. Assessment of Available Solar Radiation
2.3.4. Calculation of Required Handcrafted Photovoltaic Roof Tiles
2.3.5. Selection of the Inverter
- The electrical power required by the selected heritage building is derived from its daily energy consumption and the total power generated by the photovoltaic system.
- The characteristics of the existing electrical system in the building include the type of connection (single-phase or three-phase), voltage levels, and compatibility with control and protection equipment.
2.4. Analysis of the Fifth Façade
2.5. Analysis of Performance Loss in Handcrafted Photovoltaic Tiles
3. Results
4. Discussion
5. Conclusions
- Promote the implementation of handcrafted photovoltaic roof tiles in heritage buildings, particularly in educational and public institutions located in historic centers.
- Establish economic incentives and regulatory frameworks that support the integration of solar technologies while safeguarding the aesthetic and structural values of built heritage.
- Incorporate energy sustainability criteria from the earliest stages of architectural planning, both in new constructions and in restoration or rehabilitation processes.
- Provide training for technicians, architects, and construction professionals in methodologies for the design, installation, and maintenance of non-invasive solar roofs.
- Promote public policies that encourage on-site electricity generation in historic urban environments, using the educational sector as a platform for demonstration and scalability.
- Explore mechanisms that allow surplus energy to be fed into the grid, fostering distributed generation and greater efficiency in the use of urban energy resources.
Author Contributions
Funding
Data Availability Statement
Acknowledgments
Conflicts of Interest
| 1 | 
References
- Naciones Unidas. Paris Agreement; United Nations: New York, NY, USA, 2015. (In Spanish) [Google Scholar]
- Domínguez, R.; León, M.; Samaniego, J.; Sunkel, O. Desarrollo Sostenible Recursos Naturales, Medio Ambiente y Sostenibilidad 70 Años de Pensamiento de La CEPAL; Naciones Unidas: Santiago, Chile, 2019; 289p. [Google Scholar]
- Berrío, L.H.; Zuluaga, C. Smart Grid y La Energía Solar Fotovoltaica Para La Generación Distribuida: Unarevisión En El Contexto Energético Mundial. Ing. Desarro. 2014, 32, 369–396. [Google Scholar] [CrossRef]
- Borja Block, A.; Escarre Palou, J.; Courtant, M.; Virtuani, A.; Cattaneo, G.; Roten, M.; Li, H.Y.; Despeisse, M.; Hessler-Wyser, A.; Desai, U.; et al. Colouring Solutions for Building Integrated Photovoltaic Modules: A Review. Energy Build. 2024, 314, 114253. [Google Scholar] [CrossRef]
- Novak, E.; Vcelak, J. Building Integrated Photovoltaics (BIPV) in Line with Historic Buildings and Their Heritage Protection. IOP Conf. Ser. Earth Environ. Sci. 2019, 290, 012157. [Google Scholar] [CrossRef]
- Ponce-Jara, M.A.; Castro, M.; Pelaez-Samaniego, M.R.; Espinoza-Abad, J.L.; Ruiz, E. Electricity Sector in Ecuador: An Overview of the 2007–2017 Decade. Energy Policy 2018, 113, 513–522. [Google Scholar] [CrossRef]
- Tapia, M.; Ramos, L.; Heinemann, D.; Zondervan, E. Evaluación del Potencial Fotovoltaico en Tejados en el Cantón Quito. Perfiles 2023, 1, 47–56. [Google Scholar] [CrossRef]
- Idrovo Macancela, A.H.; Velecela Zhindón, M.V. Evaluación Basada en GIS del Potencial Solar Fotovoltaico en Techos de Edificios de Áreas Urbanas: Caso de Estudio Santa Isabel-Ecuador. Master’s Thesis, Universidad Politécnica Salesiana, Cuenca, Ecuador, 2024. [Google Scholar]
- Zalamea-León, E.; Barragán-Escandón, A.; Mendez-Santos, P. Assessment of Photovoltaic Potential on Sloped Roofs on Ecuatorial-Andean Housing Typology. In Proceedings of the 2018 IEEE ANDESCON, Santiago de Cali, Colombia, 22–24 August 2018. [Google Scholar] [CrossRef]
- Rojas Asuero, H. En 8 Años, Ecuador Pasó de Consumir 43% de Energía de Origen Fósil al 93% de Hidroeléctrica. Dialoguemos. 2 March 2018. Available online: https://dialoguemos.ec/2018/03/en-8-anos-ecuador-paso-de-consumir-43-de-energia-de-origen-fosil-al-93-de-hidroelectrica/ (accessed on 10 July 2025).
- Gaussuin, B. Eugène Viollet-Le-Duc: Une Oeuvre Entre Restauration et Création. Apuntes 2017, 30, 60–71. [Google Scholar] [CrossRef]
- Sotamba-Chimbo, E.A.; Cobos-Torres, J.C.; Buestán-Andrade, P.A.; Andrade-Mena, G.I. Proyecto Académico de Electromovilidad Neta Cero Para Docentes de La Universidad Católica de Cuenca, a Través de ABP. Conrado 2023, 19, 109–124. [Google Scholar]
- Aoshike Micro Mini Solar Cell User Manual. Model: 4332695008. Available online: https://manuals.plus/asin/B01NCQRCQR (accessed on 13 October 2025).
- Pachari Bravo, D. La Teja Sobrevive Como Elemento Tradicional en el Paisaje Urbano de Cuenca. El Mercurio. 17 April 2023. Available online: https://elmercurio.com.ec/actualidad/2023/04/17/teja-elemento-identidad-cuenca/ (accessed on 20 September 2025).
- Brent, A.; Rix, A.J.; Rivas-Villa, M.-G.; Flores-Vázquez, C.; Álvarez-Vera, M.; Cobos-Torres, J.-C. Toward Sustainable Urban Transport: Integrating Solar Energy into an Andean Tram Route. Energies 2025, 18, 5143. [Google Scholar] [CrossRef]
- Muñoz-Vizhñay, J.P.; Rojas-Moncayo, M.V.; Barreto-Calle, C.R. Incentivo a La Generación Distribuida En El Ecuador. Ingenius 2018, 19, 60–68. [Google Scholar] [CrossRef]
- Zalamea-León, E.F.; Mena-Campos, J.D.; Moscoso-Cordero, M.S.; Barragán-Escandón, E.A.; Méndez-Santos, P. Perspectivas de Cubiertas Fotovoltaicas y Arquitectura En Contextos Urbanos Patrimoniales. ACE Archit. City Environ. 2018, 13, 185–210. [Google Scholar] [CrossRef]
- Valentino, C. Tejas Solares Fotovoltaicas para Centros Históricos-Ecosolar. Available online: https://www.ecosolaresp.com/ (accessed on 9 July 2025).
- Giaccone, G. Integración de Módulos Fotovoltaicos En La Rehabilitación de Edificios de La Primera Mitad Del Siglo XX: Intervenciones Para Mejorar El Aprovechamiento Energético Solar En El Patrimonio Inmobiliario Con Interés Arquitectónico Del Ensanche de Barcelona. Master’s Thesis, Universitat Politècnica de Catalunya, Barcelona, Spain, 2014. [Google Scholar]
- Ahmed, W.; Sheikh, J.A.; Kerekes, T.; Mahmud, M.A.P. Solar Roof Tiles: Unleashing Technical Advantages and Contribution to Sustainable Society. Sci. Total Environ. 2024, 954, 176818. [Google Scholar] [CrossRef] [PubMed]
- Molinero García, I.; Faubel, I.O.; Ausina, I.T. Eficiencia Energética En Edificios Patrimoniales: Estado de La Cuestión. Available online: https://riunet.upv.es/handle/10251/48809 (accessed on 13 July 2025).
- de Berardinis, P.; Rotilio, M.; Capannolo, L. Energy and Sustainable Strategies in the Renovation of Existing Buildings: An Italian Case Study. Sustainability 2017, 9, 1472. [Google Scholar] [CrossRef]
- Gran Ginebra Bern Área Neuchâtel Equipa Los Edificios Patrimoniales con Innovadoras Tejas Solares. Available online: https://ggba.swiss/en/neuchatel-equips-heritage-buildings-with-innovative-solar-roof-tiles/?utm_source=chatgpt.com (accessed on 10 July 2025).
- López Huerta, C. Tejas árabes fotovoltaicas para llevar las renovables a los Cascos Históricos. Sociedad, Cadena SER. Available online: https://cadenaser.com/castillalamancha/2025/04/09/tejas-arabes-fotovoltaicas-para-llevar-las-renovables-a-los-cascos-historicos-ser-toledo/ (accessed on 10 July 2025).
- Rivera, C. Tejas Solares Fotovoltaicas: Integración Arquitectónica. Available online: https://casaverdehub.net/energia-solar/tejas-solares-fotovoltaicas-integracion-perfecta-arquitectura-tradicional/?utm_source=chatgpt.com (accessed on 8 June 2025).



















| Item | Meter ID | Address | Educational Institution | Roof Type | 
|---|---|---|---|---|
| 1 | 520214490 | Presidente Borrero 4-65, Cuenca 010150 | Unidad Educativa Misioneros (Religiosos Oblatos)—school and college | Tiled roof | 
| 2 | 2013204195 | Paseo Tres de Noviembre, Cuenca 010107 | Escuela Fiscomisional Sagrado Corazón—Todos Santos (Religiosas Oblatas)—school | Tiled roof | 
| 3 | 2015023268 | Honorato Vásquez y Tomás Ordóñez, Cuenca 010101 | Unidad Educativa Corazón de María (Religiosos Oblatas)—school and college | Tiled roof | 
| 4 | 2857588 | Simón Bolívar y Vargas Machuca, Cuenca 010107 | Unidad Educativa Salesiana María Auxiliadora (Religiosas Salesianas)—school and college | Fiber cement roofing sheets | 
| 5 | 14631539 | Mariscal Sucre 6-23, Cuenca, 010208 | Unidad Educativa Luisa de Jesús Cordero—school and college | Tiled roof | 
| 6 | 5006735 | Benigno Malo y Gaspar Sangurima, 010101 | Unidad Educativa Particular Santa Mariana de Jesús—school and college | Tiled roof | 
| 7 | 2412006685 | Mariscal Lamar y General Torres, Cuenca 010104 | Unidad Educativa Particular Dominicana “San Luis Beltrán”—school and college | Tiled roof | 
| 8 | 272867 | Hermano Miguel y Rafael María Arizaga, Cuenca 010101 | Escuela de Educación Básica Julio María Matovelle—school | Fiber cement roofing sheets | 
| 9 | 5209104 | Tomás Ordóñez 3-18 y Luis Cordero, Cuenca 010101 | Colegio de Contadores del Azuay—association | Tiled roof | 
| 10 | 33040921 | Vargas Machuca y Juan Jaramillo, Cuenca 010101 | Facultad de Derecho, Universidad Católica de Cuenca—university | Tiled roof | 
| 11 | 33040922 | Vargas Machuca y Juan Jaramillo, Cuenca 010101 | Facultad de Ingeniería en Sistemas, Universidad Católica de Cuenca—university | Tiled roof | 
| 12 | 33040934 | Simón Bolívar y Tomás Ordóñez, Cuenca 010101 | Unidad Académica de Administración, Universidad Católica de Cuenca—university | Tiled roof | 
| 13 | 211246 | Tomás Ordóñez y Mariscal Lamar, Cuenca 010101 | Escuela Paulo VI—school | Fiber cement roofing sheets | 
| 14 | 2857696 | Pío Bravo y Manuel Vega, Cuenca 010150 | Asociación de Escuelas de Psicología Clínica—association | Tiled roof | 
| 15 | 707180076 | Calle de la Merced 16-36, Cuenca 010102 | Unidad Educativa Zoila Esperanza Palacio—school and college | Concrete | 
| 16 | 5206804 | Presidente Borrero 13-96 y Pío Bravo, Cuenca 010101 | Centro de Idiomas, Universidad Católica—university | Fiber cement roofing sheets | 
| 17 | 209455 | Pío Bravo y Luis Cordero, Cuenca 010101 | Francisca Dávila y Colegio Nacional Nocturno Francisco Tamariz V.—school and college | Concrete | 
| 18 | 14631534 | Tarqui y Rafael María Arizaga, Cuenca 010101 | Escuela Carlos Crespi—school | Fiber cement roofing sheets | 
| 19 | 4782639 | Tarqui y Antonio Vega Muñoz, Cuenca 010101 | Campus Centro Histórico de la Universidad de Cuenca—university | Fiber cement roofing sheets | 
| 20 | 3793004 | Mariscal Lamar y General Torres, Cuenca 010101 | Escuela Santo Domingo de Guzmán—school | Fiber cement roofing sheets | 
| 21 | 4782123 | Gaspar Sangurima y Juan Montalvo, Cuenca 010101 | Centro de Educación Inicial Ciudad de Cuenca—school | Fiber cement roofing sheets | 
| 22 | 4578735 | Tarqui y Mariscal Lamar, Cuenca 010101 | Colegio San Francisco—college | Tiled roof | 
| 23 | 87232 | Honorato Vázquez y Tomás Ordóñez, Cuenca 010101 | Escuela Luis Cordero Crespo—school | Concrete | 
| Item | Meter ID | Educational Institution | Monthly Energy Consumption (kWh/Month) | |||||||||||||
|---|---|---|---|---|---|---|---|---|---|---|---|---|---|---|---|---|
| October | November | December | January | February | March | April | May | June | July | August | September | Annual Energy Consumption (kWh/Year) | Average Monthly Energy Consumption (kWh/Month) | |||
| 1 | 520214490 | Unidad Educativa Misioneros (Religiosos Oblatos) | 441.98 | 478.53 | 512.51 | 626.57 | 466.79 | 529.20 | 524.44 | 511.88 | 442.55 | 486.87 | 474.36 | 521.18 | 6016.86 | 501.40 | 
| 2 | 2013204195 | Escuela Fiscomisional Sagrado Corazón—Todos Santos (Religiosas Oblatas) | 650.58 | 620.34 | 700.65 | 700.12 | 556.56 | 680.34 | 734.56 | 860.53 | 800.23 | 995.45 | 750.56 | 683.40 | 8733.32 | 727.78 | 
| 3 | 2015023268 | Unidad Educativa Corazón de María (Religiosos Oblatas) | 180.67 | 183.37 | 211.14 | 251.46 | 372.03 | 357.17 | 347.32 | 475.42 | 618.54 | 616.23 | 593.86 | 521.30 | 4728.51 | 394.04 | 
| 4 | 2857588 | Unidad Educativa Salesiana María Auxiliadora (Religiosas Salesianas) | 4980.45 | 6995.45 | 6876.56 | 7103.21 | 6505.89 | 4876.89 | 3876.78 | 6578.44 | 6601.12 | 6501.34 | 6497.56 | 6258.45 | 73,652.14 | 6137.68 | 
| 5 | 14631539 | Unidad Educativa Luisa De Jesús Cordero | 3211.32 | 1544.49 | 1987.96 | 2263.22 | 1590.37 | 1666.83 | 2813.73 | 2538.47 | 3303.07 | 2890.19 | 2324.38 | 2385.55 | 28,519.58 | 2376.63 | 
| 6 | 5006735 | Unidad Educativa Particular Santa Mariana de Jesús | 52.05 | 15.31 | 64.30 | 45.01 | 75.63 | 64.30 | 67.67 | 58.18 | 25.72 | 6.12 | 46.24 | 520.54 | 43.38 | |
| 7 | 2412006685 | Unidad Educativa Particular Dominicana “San Luis Beltrán” | 11.06 | 11.13 | 10.06 | 10.20 | 11.04 | 13.09 | 16.21 | 16.06 | 13.23 | 15.05 | 13.29 | 18.09 | 158.52 | 13.21 | 
| 8 | 272867 | Escuela de Educación Básica Julio María Matovelle | 78.20 | 78.78 | 79.45 | 80.00 | 80.40 | 80.90 | 81.47 | 82.14 | 82.69 | 82.26 | 83.85 | 84.40 | 974.54 | 81.21 | 
| 9 | 5209104 | Colegio de Contadores del Azuay | 456.67 | 484.06 | 443.18 | 443.80 | 470.73 | 410.11 | 482.99 | 446.44 | 541.20 | 541.90 | 522.87 | 488.49 | 5732.44 | 477.70 | 
| 10 | 33040921 | Facultad de Derecho, Universidad Católica de Cuenca | 2387.50 | 3342.60 | 4001.00 | 4775.00 | 3800.00 | 5252.00 | 3702.00 | 3700.00 | 5284.00 | 5256.50 | 3920.00 | 5489.00 | 50,909.60 | 4242.47 | 
| 11 | 33040922 | Facultad de Ingeniería en Sistemas, Universidad Católica de Cuenca | 1987.50 | 3380.98 | 3410.43 | 3980.23 | 4378.67 | 4498.21 | 3980.32 | 3345.12 | 4512.29 | 3521.10 | 3248.60 | 4496.53 | 44,739.98 | 3728.33 | 
| 12 | 33040934 | Unidad Académica de Administración, Universidad Católica de Cuenca | 2086.00 | 2560.00 | 2100.00 | 2029.00 | 2050.67 | 2945.54 | 2496.12 | 1896.81 | 4532.15 | 4639.09 | 4031.74 | 5752.47 | 37,119.59 | 3093.30 | 
| 13 | 211246 | Escuela Paulo VI | 86.65 | 87.14 | 87.57 | 88.08 | 88.55 | 89.09 | 89.60 | 90.06 | 90.55 | 91.22 | 91.79 | 92.46 | 1072.76 | 89.40 | 
| 14 | 2857696 | Asociación de Escuelas de Psicología Clínica | 20,451.78 | 21,979.92 | 21,080.59 | 20,776.44 | 17,995.87 | 17,493.09 | 19,763.24 | 20,350.49 | 23,511.61 | 19,541.69 | 21,216.95 | 19,429.11 | 24,3590.80 | 20,299.23 | 
| 15 | 707180076 | Unidad Educativa Zoila Esperanza Palacio | 269.70 | 376.32 | 344.96 | 282.24 | 664.83 | 1122.69 | 1110.14 | 1279.49 | 1110.14 | 752.64 | 395.14 | 972.16 | 8680.45 | 723.37 | 
| 16 | 5206804 | Centro de Idiomas, Universidad Católica | 463.64 | 465.77 | 467.92 | 470.98 | 472.66 | 475.55 | 477.71 | 480.37 | 483.15 | 485.74 | 487.89 | 490.29 | 5721.67 | 476.81 | 
| 17 | 209455 | Francisca Dávila y Colegio Nacional Nocturno Francisco Tamariz V. | 174.42 | 221.76 | 388.18 | 173.54 | 554.26 | 883.37 | 879.10 | 858.95 | 922.19 | 560.70 | 417.53 | 869.68 | 6903.67 | 575.31 | 
| 18 | 14631534 | Escuela Carlos Crespi | 3016.72 | 3420.73 | 3881.49 | 4038.58 | 2774.48 | 3557.63 | 4131.57 | 3568.91 | 4181.50 | 3315.07 | 2506.14 | 1734.26 | 40,127.06 | 3343.92 | 
| 19 | 4782639 | Campus Centro Histórico de la Universidad de Cuenca | 258.06 | 253.35 | 261.83 | 248.73 | 257.21 | 247.71 | 276.60 | 262.29 | 251.59 | 258.87 | 258.96 | 259.06 | 3094.26 | 257.85 | 
| 20 | 3793004 | Escuela Santo Domingo de Guzmán | 578.90 | 539.76 | 527.36 | 460.95 | 461.99 | 1433.50 | 1562.57 | 1529.90 | 1571.34 | 1275.88 | 912.94 | 886.99 | 11,742.08 | 978.51 | 
| 21 | 4782123 | Centro de Educación Inicial Ciudad de Cuenca | 370.98 | 398.65 | 375.76 | 361.25 | 383.33 | 436.34 | 649.68 | 691.41 | 654.41 | 353.09 | 378.00 | 352.22 | 5405.13 | 450.43 | 
| 22 | 4578735 | Colegio San Francisco | 657.95 | 531.54 | 477.84 | 318.79 | 1131.92 | 1758.47 | 1939.65 | 1886.24 | 1775.91 | 1001.28 | 380.71 | 1428.59 | 13,288.89 | 1107.41 | 
| 23 | 87232 | Escuela Luis Cordero Crespo | 1920.21 | 3024.34 | 3100.00 | 3088.09 | 2786.45 | 2488.09 | 2128.41 | 3120.91 | 3425.60 | 3115.02 | 3401.00 | 3582.76 | 35,180.88 | 2931.74 | 
| Item | Educational Institution | Roof Type | Available Area | Unit | 
|---|---|---|---|---|
| 1 | Unidad Educativa Misioneros (Religiosos Oblatos) | Tiled roof | 1011.43 | m2 | 
| 2 | Escuela Fiscomisional Sagrado Corazón—Todos Santos (Religiosas Oblatas) | Tiled roof | 807.84 | m2 | 
| 3 | Unidad Educativa Corazón de María (Religiosos Oblatas) | Tiled roof | 314.23 | m2 | 
| 4 | Unidad Educativa Luisa De Jesús Cordero | Tiled roof | 804.50 | m2 | 
| 5 | Unidad Educativa Particular Santa Mariana de Jesús | Tiled roof | 669.20 | m2 | 
| 6 | Unidad Educativa Particular Dominicana “San Luis Beltrán” | Tiled roof | 1142.93 | m2 | 
| 7 | Colegio de Contadores del Azuay | Tiled roof | 140.00 | m2 | 
| 8 | Facultad de Derecho, Universidad Católica de Cuenca | Tiled roof | 697.22 | m2 | 
| 9 | Facultad de Ingeniería en Sistemas, Universidad Católica de Cuenca | Tiled roof | 734.25 | m2 | 
| 10 | Unidad Académica de Administración, Universidad Católica de Cuenca | Tiled roof | 328.67 | m2 | 
| 11 | Asociación de Escuelas de Psicología Clínica | Tiled roof | 526.24 | m2 | 
| 12 | Colegio San Francisco | Tiled roof | 510.89 | m2 | 
| Parameter | Area | 
|---|---|
| Available area on the roof tile | 0.047 m2 | 
| Area occupied by one cell | 0.00098 m2 | 
| 47 cells | |
| Safety margin applied (10%) | −5 cells | 
| Total number of photovoltaic cells | 42 | 
| Item | Meter ID | Educational Institution | Annual Energy Consumption (kWh/Year) | Average Monthly Energy Consumption (kWh/Month) | Daily Energy Consumption (kWh/Day) | Daily Energy Consumption (Wh/Day) | 
|---|---|---|---|---|---|---|
| 1 | 520214490 | Unidad Educativa Misioneros (Religiosos Oblatos) | 6016.86 | 501.40 | 16.48 | 16,484.54 | 
| 2 | 2013204195 | Escuela Fiscomisional Sagrado Corazón—Todos Santos (Religiosas Oblatas) | 8733.32 | 727.78 | 23.93 | 23,926.90 | 
| 3 | 2015023268 | Unidad Educativa Corazón de María (Religiosos Oblatas) | 4728.51 | 394.04 | 12.95 | 12,954.83 | 
| 4 | 14631539 | Unidad Educativa Luisa De Jesús Cordero | 28,519.58 | 2376.63 | 78.14 | 78,135.84 | 
| 5 | 5006735 | Unidad Educativa Particular Santa Mariana de Jesús | 587.21 | 48.93 | 1.61 | 1608.80 | 
| 6 | 2412006685 | Unidad Educativa Particular Dominicana “San Luis Beltrán” | 158.52 | 13.21 | 0.43 | 434.30 | 
| 7 | 5209104 | Colegio de Contadores del Azuay | 5732.44 | 477.70 | 15.71 | 15,705.32 | 
| 8 | 33040921 | Facultad de Derecho, Universidad Católica de Cuenca | 50,909.60 | 4242.47 | 139.48 | 139,478.36 | 
| 9 | 33040922 | Facultad de Ingeniería en Sistemas, Universidad Católica de Cuenca | 44,739.98 | 3728.33 | 122.58 | 122,575.29 | 
| 10 | 33040934 | Unidad Académica de Administración, Universidad Católica de Cuenca | 37,119.59 | 3093.30 | 101.70 | 101,697.51 | 
| 11 | 2857696 | Asociación de Escuelas de Psicología Clínica | 243,590.80 | 20,299.23 | 667.37 | 667,372.06 | 
| 12 | 4578735 | Colegio San Francisco | 13,288.89 | 1107.41 | 36.41 | 36,407.92 | 
| Item | Meter ID | Educational Institution | Annual Energy Consumption (kWh/Year) | Daily Energy Consumption (Wh/Day) | Safety Factor | Peak Sun Hours (PSH) | Tile Capacity (Wh) | Required Area (m2) | 
|---|---|---|---|---|---|---|---|---|
| 1 | 520214490 | Unidad Educativa Misioneros (Religiosos Oblatos) | 6016.86 | 16,484.54 | 1.30 | 3.92 | 88.42 | 63 | 
| 2 | 2013204195 | Escuela Fiscomisional Sagrado Corazón—Todos Santos (Religiosas Oblatas) | 8733.32 | 23,926.90 | 1.30 | 3.92 | 88.42 | 91 | 
| 3 | 2015023268 | Unidad Educativa Corazón de María (Religiosos Oblatas) | 4728.51 | 12,954.83 | 1.30 | 3.92 | 88.42 | 49 | 
| 4 | 14631539 | Unidad Educativa Luisa De Jesús Cordero | 28,519.58 | 78,135.84 | 1.30 | 3.92 | 88.42 | 295 | 
| 5 | 5006735 | Unidad Educativa Particular Santa Mariana de Jesús | 587.21 | 1608.80 | 1.30 | 3.92 | 88.42 | 7 | 
| 6 | 2412006685 | Unidad Educativa Particular Dominicana “San Luis Beltrán” | 158.52 | 434.30 | 1.30 | 3.92 | 88.42 | 2 | 
| 7 | 5209104 | Colegio de Contadores del Azuay | 5732.44 | 15,705.32 | 1.30 | 3.92 | 88.42 | 60 | 
| 8 | 33040921 | Facultad de Derecho, Universidad Católica de Cuenca | 50,909.60 | 139,478.36 | 1.30 | 3.92 | 88.42 | 526 | 
| 9 | 33040922 | Facultad de Ingeniería en Sistemas, Universidad Católica de Cuenca | 44,739.98 | 122,575.29 | 1.30 | 3.92 | 88.42 | 463 | 
| 10 | 33040934 | Unidad Académica de Administración, Universidad Católica de Cuenca | 37,119.59 | 101,697.51 | 1.30 | 3.92 | 88.42 | 384 | 
| 11 | 2857696 | Asociación de Escuelas de Psicología Clínica | 243,590.80 | 667,372.06 | 1.30 | 3.92 | 88.42 | 2516 | 
| 12 | 4578735 | Colegio San Francisco | 13,288.89 | 36,407.92 | 1.30 | 3.92 | 88.42 | 138 | 
| Criterion | Commercial Photovoltaic Tiles | Handcrafted Photovoltaic Tiles | 
|---|---|---|
| Aesthetic adaptation to traditional roofs | ✔ | ✔ | 
| Architectural integration with historic settings | ✔ | ✔ | 
| Compatibility with cultural heritage regulations (ICOMOS Charters) | ✘ | ✔ | 
| Contribution to local employment and artisanal knowledge transfer (SDG 8) | ✘ | ✔ (supports traditional craftsmanship and new green skills) | 
| Promotion of sustainable production and innovation (SDG 9, SDG 12) | ✔ | ✔ | 
| Support for affordable and clean energy (SDG 7) | ✔ | ✔ | 
| Community engagement and cultural identity reinforcement (SDG 11) | ✘ | ✔ | 
| Long-term energy and cost savings | ✔ | ✔ | 
| Potential to meet 100% of the electricity demand | ✔ | ✔ | 
| Ability to sell surplus energy | ✔ (where permitted by law) | ✔ (subject to local regulations) | 
| Solar battery storage | ✔ | ✔ | 
| Modular replacement in case of individual damage | ✔ | ✔ | 
| Installation on pitched or suboptimally oriented roofs | ✔ | ✔ | 
| Installation allowed in heritage buildings | ✘ | ✔ | 
| High technology cost | ✔ | ✔ (but lower with local production) | 
| High upfront investment | ✔ | ✔ | 
| Greater difficulty in cleaning and maintenance | ✔ | ✔ | 
| Fixed orientation reduces efficiency compared to mobile solutions | ✔ | ✔ | 
| Regulatory restrictions on heritage sites | ✔ (complies with local ordinances) | ✘ | 
| Component | Description | Quantity | Unit Cost (USD) | Total Cost (USD) | 
|---|---|---|---|---|
| Clay (handcrafted tile) | Locally produced in Racar sector | 1 unit | 0.20 | 0.20 | 
| Photovoltaic cells | Polycrystalline, 156 × 156 mm | 42 unit | 0.025 | 1.05 | 
| Epoxy resin | Translucent encapsulant | 0.10 kg | 0.05 | 0.05 | 
| Conductive cables and connectors | Copper wiring and terminals | — | 0.20 | 0.20 | 
| Miscellaneous materials | Adhesives, Acrylic 3 mm | — | 0.25 | 0.25 | 
| Labor | Tile cutting, assembly and welding of cells. | 1 unit | 0.75 | 0.75 | 
| Total | 2.50 | |||
| Disclaimer/Publisher’s Note: The statements, opinions and data contained in all publications are solely those of the individual author(s) and contributor(s) and not of MDPI and/or the editor(s). MDPI and/or the editor(s) disclaim responsibility for any injury to people or property resulting from any ideas, methods, instructions or products referred to in the content. | 
© 2025 by the authors. Licensee MDPI, Basel, Switzerland. This article is an open access article distributed under the terms and conditions of the Creative Commons Attribution (CC BY) license (https://creativecommons.org/licenses/by/4.0/).
Share and Cite
Yuquilima-Heras, P.; Cobos-Torres, J.-C. Solar Technology and Heritage Conservation in the Andes: Feasibility of Using Handcrafted Photovoltaic Roof Tiles in the Historic Center of Cuenca, Ecuador. Heritage 2025, 8, 454. https://doi.org/10.3390/heritage8110454
Yuquilima-Heras P, Cobos-Torres J-C. Solar Technology and Heritage Conservation in the Andes: Feasibility of Using Handcrafted Photovoltaic Roof Tiles in the Historic Center of Cuenca, Ecuador. Heritage. 2025; 8(11):454. https://doi.org/10.3390/heritage8110454
Chicago/Turabian StyleYuquilima-Heras, Paul, and Juan-Carlos Cobos-Torres. 2025. "Solar Technology and Heritage Conservation in the Andes: Feasibility of Using Handcrafted Photovoltaic Roof Tiles in the Historic Center of Cuenca, Ecuador" Heritage 8, no. 11: 454. https://doi.org/10.3390/heritage8110454
APA StyleYuquilima-Heras, P., & Cobos-Torres, J.-C. (2025). Solar Technology and Heritage Conservation in the Andes: Feasibility of Using Handcrafted Photovoltaic Roof Tiles in the Historic Center of Cuenca, Ecuador. Heritage, 8(11), 454. https://doi.org/10.3390/heritage8110454
 
        



 
       