Papier-Mâché Puppets’ Characterization by Infrared Imaging Techniques
Abstract
1. Introduction
2. The Puppets
2.1. Papier-Mâché Support
2.2. The Studied Puppets
3. Mid-Wave Infrared Imaging Techniques
4. Results and Discussion
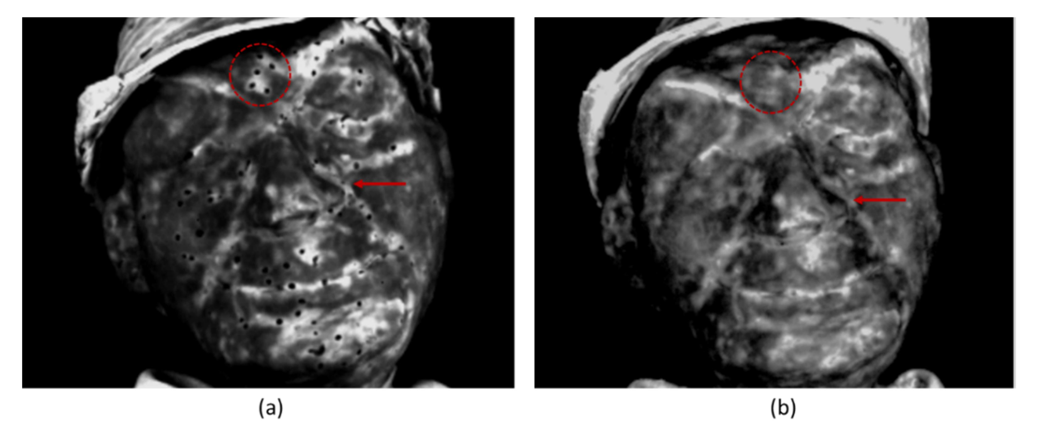
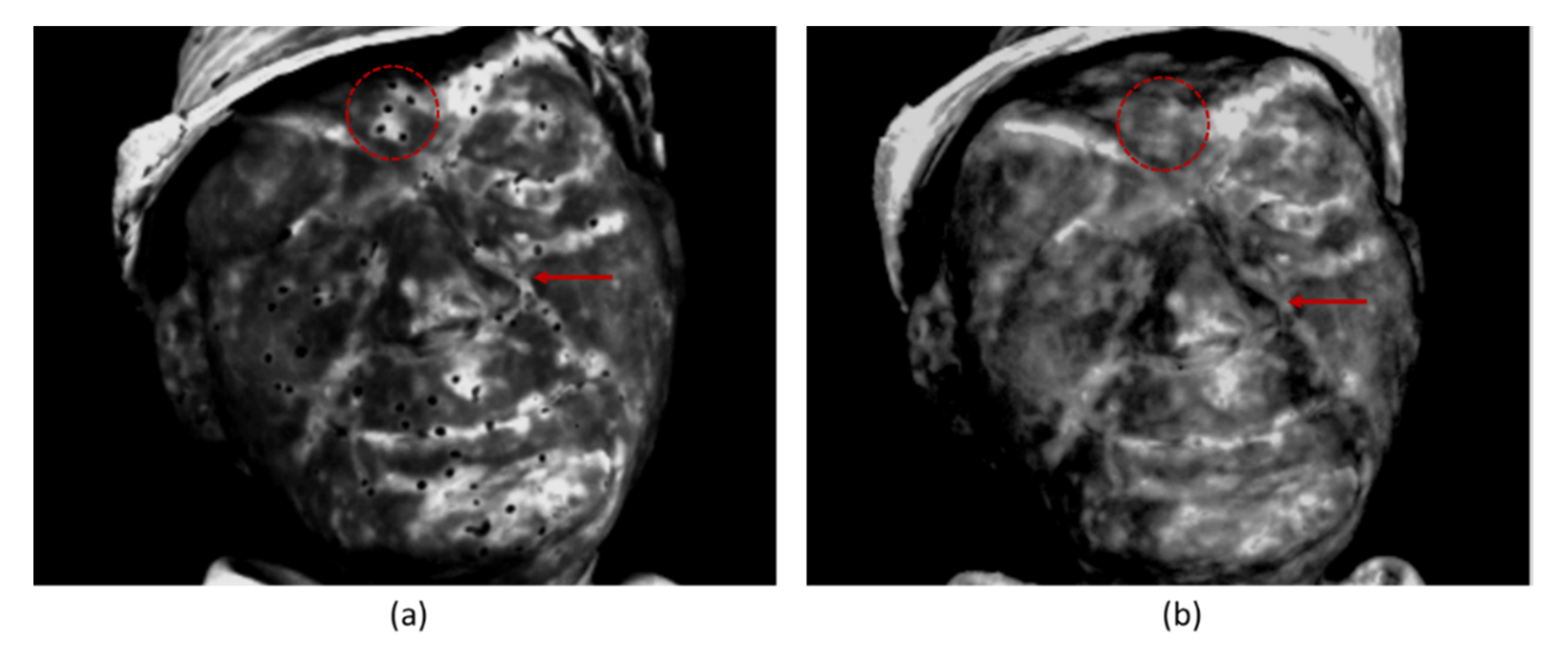
4.1. Pre-Restoration Survey
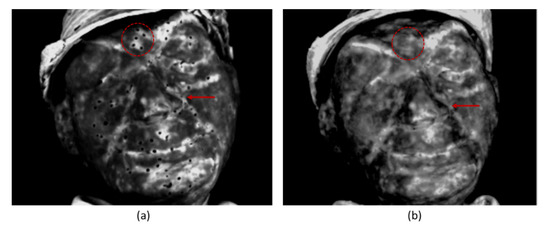
4.2. Restoration and Evaluation of the Conservation Treatments
5. Conclusions
Author Contributions
Funding
Institutional Review Board Statement
Informed Consent Statement
Data Availability Statement
Acknowledgments
Conflicts of Interest
References
- Schiavetti, A. Burattini & Marionette. II Meraviglioso Mondo del Teatro di Figura; Bandecchi & Vivaldi: Pontedera, Italy, 2011. [Google Scholar]
- Allegri, L. Per una Storia del Teatro Come Spettacolo: Il Teatro di Burattini e di Marionette; Centro Studi e Archivio della Comunicazione: Parma, Italy, 1978. [Google Scholar]
- Giufrè, M. Maria Signorelli: Teatro, Marionette e Burattini; Joshua Libri: Sestri Levante, Italy, 2000. [Google Scholar]
- Currell, D. The Complete Book of Puppetry; Plays: Boston, MA, USA, 1976. [Google Scholar]
- Van der Reyden, D.; Williams, D. The Technology and Conservation Treatment of a 19th Century “Papier-Mâché Chair. In Preprints of the American Institute for Conservation, 14th Annual Meeting, Chicago; The American Institute for Conservation of Historic and Artistic Works: Washington, DC, USA, 1986; pp. 125–142. [Google Scholar]
- Copedè, M. La Carta e Il Suo Degrado; Nardini Editore: Firenze, Italy, 2003. [Google Scholar]
- Thornton, J. The History, Technology, and Conservation of Architectural Papier Mâch. J. Am. Inst. Conserv. 1993, 32, 165–176. [Google Scholar] [CrossRef]
- Jablonsky, M.; Jozef, Š. Oxidative degradation of paper–A minireview. J. Cul. Herit. 2021, 48, 269–276. [Google Scholar] [CrossRef]
- Peters, D. An alternative to foxing. Pap. Restaur. 2000, 1, 801–806. [Google Scholar]
- Krstić, D.; Zdravko, S. Characterization of Foxing Stains on Eighteenth Century Books. HDKBR Info Mag. 2013, 3, 32–39. [Google Scholar]
- Daniels, V. Oxidative damage and the preservation of organic artefacts. Free. Radic. Res. Commun. 1989, 5, 213–220. [Google Scholar] [CrossRef]
- Trematerra, P.; David, P. Museum Pests—Cultural Heritage Pests. In Recent Advances in Stored Product Protection; Springer: Berlin, Germany, 2018; pp. 229–260. [Google Scholar] [CrossRef]
- Moşneagu, M.; Ardelean, E.; Mustaţă, M. Low temperature treatment of pest infected paper documents. Eur. J. Sci. Theol. 2011, 7, 35–46. [Google Scholar]
- Mecklenburg, M.F. Micro climates and moisture induced damage to paintings. In Proceedings of the Conference on Micro Climates in Museums, Copenhagen, Denmark, 19–23 November 2007. [Google Scholar]
- Manso, M.; Bidarra, A.; Longelin, S.; Pessanha, S.; Ferreira, A.; Guerra, M.; Coroado, J.; Carvalho, L. Micro-Analytical study of a rare papier-mâché sculpture. Microsc. Microanal. 2015, 21, 56–62. [Google Scholar] [CrossRef][Green Version]
- Lanteri, L.; Agresti, G. Ultraviolet fluorescence 3D models for diagnostics of cultural heritage. Eur. J. Sci. Theol 2017, 13, 35–40. [Google Scholar]
- Rocco, F. A multisciplinary approach to the study and conservation of the contemporary Sarah Lucas’ papier-maché sculpture Love Me. CeROArt Conserv. Expo. Restaur. D’objets D’art 2017, EGG 6. [Google Scholar] [CrossRef]
- Zammit, U.; Marinelli, M.; Mercuri, F.; Paoloni, S. Effect of confinement and strain on the specific heat and latent heat over the nematic-isotropic phase transition of 8CB liquid crystal. J. Physic. Chem. B 2009, 113, 14315–14322. [Google Scholar] [CrossRef]
- Paoloni, S.; Mercuri, F.; Marinelli, M.; Zammit, U.; Neamtu, C.; Dadarlat, D. Simultaneous characterization of optical and thermal parameters of liquid-crystal nanocolloids with high-temperature resolution. Phys. Rev. E 2008, 78, 042701. [Google Scholar] [CrossRef] [PubMed]
- Blessley, K.; Young Christina, R.T.; Nunn, J.; Coddington, J.; Shepard, S.M. The feasibility of flash thermography for the examination and conservation of works of art. Stud. Conserv. 2014, 55, 107–120. [Google Scholar] [CrossRef]
- Gavrilov, D.; Maev, R.G.; Almond, D.P. A review of imaging methods in analysis of works of art: Thermographic imaging method in art analysis. Can. J. Phys. 2014, 92, 341–364. [Google Scholar] [CrossRef]
- Sfarra, S.; Regi, M. Wavelet analysis applied to thermographic data for the detection of sub-superficial flaws in mosaics. Eur. Phys. J. Appl. Phys. 2016, 73, 31001. [Google Scholar] [CrossRef]
- Krankenhagen, R.; Maierhofer, C. Pulse phase thermography for characterising large historical building façades after solar heating and shadow cast—A case study. Quant. InfraRed Thermogr. J. 2014, 11, 10–28. [Google Scholar] [CrossRef]
- Carlomagno, G.M.; Di Maio, R.; Meola, C.; Roberti, N. Infrared thermography and geophysical techniques in cultural heritage conservation. Quant. InfraRed Thermogr. J. 2005, 2, 5–24. [Google Scholar] [CrossRef]
- Bodnar, J.L.; Nicolas, J.L.; Mouhoubi, K.; Detalle, V. Stimulated infrared thermography applied to thermophysical characterization of cultural heritage mural paintings. Eur. Phys. J. Appl. Phys. 2012, 60, 21003. [Google Scholar] [CrossRef]
- Mercuri, F.; Caruso, G.; Orazi, N.; Zammit, U.; Cicero, C.; Colacicchi Alessandri, O.; Ferretti, M.; Paoloni, S. Interface thermal conductance characterization by infrared thermography: A tool for the study of insertions in bronze ancient Statuary. Infrared Phys. Technol. 2018, 90, 31–39. [Google Scholar] [CrossRef]
- Mercuri, F.; Paoloni, S.; Orazi, N.; Cicero, C.; Zammit, U. Pulsed infrared thermography applied to quantitative characterization of the structure and the casting faults of the Capitoline She Wolf. Appl. Phys. A 2017, 123, 327. [Google Scholar] [CrossRef]
- Mercuri, F.; Orazi, N.; Zammit, U.; Giuffredi, A.; Salerno, C.S.; Cicero, C.; Paoloni, S. The manufacturing process of the Capitoline She Wolf: A thermographic method for the investigation of repairs and casting faults. J. Archaeol. Sci. Rep. 2017, 14, 199–207. [Google Scholar] [CrossRef]
- Orazi, N.; Mercuri, F.; Zammit, U.; Paoloni, S.; Marinelli, M.; Giuffredi, A.; Salerno, C.S. Thermographic analysis of bronze sculptures. Stud. Conserv. 2016, 61, 236–244. [Google Scholar] [CrossRef]
- Tao, N.; Wang, C.; Cunlin Zhang, C.; Sun, J. Quantitative measurement of cast metal relics by pulsed thermal imaging. Quant. InfraRed Thermogr. J. 2022, 19. [Google Scholar] [CrossRef]
- Mercuri, F.; Paoloni, S.; Cicero, C.; Zammit, U.; Orazi, N. Infrared emission contrast for the visualization of subsurface graphical features in artworks. Infrared Phys. Technol. 2018, 89, 223–230. [Google Scholar] [CrossRef]
- Caruso, G.; Paoloni, S.; Orazi, N.; Cicero, C.; Zammit, U.; Mercuri, F. Quantitative evaluations by infrared thermography in optically semi-transparent paper-based artefacts. Measurement 2019, 143, 258–266. [Google Scholar] [CrossRef]
- Laureti, S.; Sfarra, S.; Malekmohammadi, H.; Burrascano, P.; Hutchins, D.A.; Senni, L.; Ricci, M. The use of pulse-compression thermography for detecting defects in paintings. NDT E Int. 2018, 98, 147–154. [Google Scholar] [CrossRef]
- Daffara, C.; Ambrosini, D.; Pezzati, L.; Paoletti, D. Thermal quasi-reflectography: A new imaging tool in art conservation. Opt. Express 2012, 20, 14746–14753. [Google Scholar] [CrossRef]
- Ambrosini, D.; Daffara, C.; Di Biase, R.; Paoletti, D.; Pezzati, L.; Bellucci, R.; Bettini, F. Integrated reflectography and thermography for wooden paintings diagnostics. J. Cult. Herit. 2010, 11, 196–204. [Google Scholar] [CrossRef]
- Liu, K.; Huang, K.; Sfarra, S.; Yang, J.; Liu, Y.; Yao, Y. Factor analysis thermography for defect detection of panel paintings. Quant. InfraRed Thermogr. J. 2021. [Google Scholar] [CrossRef]
- Orazi, N. Mid-wave Infrared Reflectography and Thermography for the Study of Ancient Books: A Review. Stud. Conserv. 2020, 65, 437–449. [Google Scholar] [CrossRef]
- Tortora, M.; Sfarra, S.; Casieri, C. NMR Relaxometry and IR Thermography to Study Ancient Cotton Paper Bookbinding. Appl. Sci. 2019, 9, 3406. [Google Scholar] [CrossRef]
- Sfarra, S.; Regi, M.; Tortora, M.; Casieri, C.; Perilli, S.; Paoletti, D. A multi-technique nondestructive approach for characterizing the state of conservation of ancient bookbindings. J. Therm. Anal. Calorim. 2018, 132, 1367–1387. [Google Scholar] [CrossRef]
- Mercuri, F.; Bonora, P.b.; Cicero, C.; Helas, P.; Manzari, F.; Marinelli, M.; Paoloni, S.; Pasqualucci, A.; Pinzari, F.; Romani, M.; et al. Metastructure of illuminations by infrared thermography. J. Cult. Herit. 2018, 31, 53–62. [Google Scholar] [CrossRef]
- Doni, G.; Orazi, N.; Mercuri, F.; Cicero, C.; Zammit, U.; Paoloni, S.; Marinelli, M. Thermographic study of the illuminations of a 15th century antiphonary. J. Cult. Herit. 2014, 15, 692–697. [Google Scholar] [CrossRef]
- Mercuri, F.; Ceccarelli, S.; Orazi, N.; Cicero, C.; Paoloni, S.; Felici, A.C.; Zammit, U. Combined use of infrared imaging techniques for the study of underlying features in the Santa Maria in Cosmedin altarpiece. Archaeometry 2021, 63, 1009–1023. [Google Scholar] [CrossRef]
- Ceccarelli, S.; Guarneri, M.; Orazi, N.; Francucci, M.; Ciaffi, M.; Mercuri, F.; Petrucci, F. Remote and contactless infrared imaging techniques for stratigraphical investigations in paintings on canvas. Appl. Phys. B 2021, 127, 106. [Google Scholar] [CrossRef]
- Basanoff, A. Itinerario Della Carta—Dall’oriente All’occidente e la Sua Diffusione in Europa; II Polifilo: Milan, Italy, 1965. [Google Scholar]
- Casciaro, R. La Scultura in Cartapesta—Sansovino, Bernini e i Maestri Leccesi Tra Tecnica e Artificio; Editore Silvana: Milan, Italy, 2008. [Google Scholar]
- Flammia, E. Storia Dell’arte Della Cartapesta; Dino Audino Editore: Roma, Italy, 2017. [Google Scholar]
- Casciaro, R. Cartapesta e Scultura Polimaterica; Congedo Editore: Lecce, Italy, 2012. [Google Scholar]
- Flammia, E. Fare Cartapesta e Scultura di Stoffa; Dino Audino Editore: Roma, Italy, 2014. [Google Scholar]
- Maldague, X. Theory and Practice of Infrared Technology for Nondestructive Testing; Wiley: New York, NY, USA, 2001. [Google Scholar]
- Balageas, D.L. Defense and illustration of time-resolved pulsedthermography for NDE. Quant. InfRared Therm. J. 2012, 9, 3–32. [Google Scholar] [CrossRef]
- Ibarra-Castanedo, C.; González, D.; Klein, M.; Pilla, M.; Vallerand, S.; Maldague, X. Infrared image processing and data analysis. Infrared Phys. Technol. 2004, 46, 75–83. [Google Scholar] [CrossRef]
- Khodayar, F.; Sojasi, S.; Maldague, X. Infrared thermography and NDT: 2050 horizon. Quant. InfraRed Thermogr. J. 2016, 13, 210–231. [Google Scholar] [CrossRef]
- Parker, J.R. Algorithms for Image Processing and Computer Vision; John Wiley & Sons, Inc.: New York, NY, USA, 1997; pp. 23–29. [Google Scholar]
- Shoa, P.; Hemmat, A.; Amirfattahi, R.; Gheysari, M. Automatic extraction of canopy and artificial reference temperatures for determination of crop water stress indices by using thermal imaging technique and a fuzzy-based image-processing algorithm. Quant. InfraRed Thermogr. J. 2022, 19, 85–96. [Google Scholar] [CrossRef]
- Selle, J.J.; Shenbagavalli, A.; Sriraam, N.; Venkatraman, B.; Jayashree, M.; Menaka, M. Automated recognition of ROIs for breast thermograms of lateral view-a pilot study. Quant. InfraRed Thermogr. J. 2018, 15, 194–213. [Google Scholar] [CrossRef]
- Picker-Freyer, K.M.; Dürig, T. Physical mechanical and tablet formation properties of hydroxypropylcellulose: In pure form and in mixtures. AAPS PharmSciTech 2007, 8, 82–90. [Google Scholar] [CrossRef] [PubMed]











| Publisher’s Note: MDPI stays neutral with regard to jurisdictional claims in published maps and institutional affiliations. | 
© 2022 by the authors. Licensee MDPI, Basel, Switzerland. This article is an open access article distributed under the terms and conditions of the Creative Commons Attribution (CC BY) license (https://creativecommons.org/licenses/by/4.0/).
Share and Cite
Ceccarelli, S.; Cao, E.; Orazi, N.; Cicero, C.; Mercuri, F.; Zammit, U.; Terrei, A.; Paoloni, S. Papier-Mâché Puppets’ Characterization by Infrared Imaging Techniques. Heritage 2022, 5, 1419-1432. https://doi.org/10.3390/heritage5030074
Ceccarelli S, Cao E, Orazi N, Cicero C, Mercuri F, Zammit U, Terrei A, Paoloni S. Papier-Mâché Puppets’ Characterization by Infrared Imaging Techniques. Heritage. 2022; 5(3):1419-1432. https://doi.org/10.3390/heritage5030074
Chicago/Turabian StyleCeccarelli, Sofia, Erika Cao, Noemi Orazi, Cristina Cicero, Fulvio Mercuri, Ugo Zammit, Alessandra Terrei, and Stefano Paoloni. 2022. "Papier-Mâché Puppets’ Characterization by Infrared Imaging Techniques" Heritage 5, no. 3: 1419-1432. https://doi.org/10.3390/heritage5030074
APA StyleCeccarelli, S., Cao, E., Orazi, N., Cicero, C., Mercuri, F., Zammit, U., Terrei, A., & Paoloni, S. (2022). Papier-Mâché Puppets’ Characterization by Infrared Imaging Techniques. Heritage, 5(3), 1419-1432. https://doi.org/10.3390/heritage5030074
 
         
                                                





