New Approach to High-Speed Multi-Coordinate Milling Based on Kinematic Cutting Parameters and Acoustic Signals
Abstract
1. Introduction
2. Materials and Methods
2.1. Methods of Determining Cutting Mechanisms
2.2. Methods for Determining the Chip Thickness in Trochoidal Milling
2.3. Methods of Monitoring High-Speed Machining
3. Mathematical Modeling of Chip Formation During High-Speed Milling
3.1. Analytical Model for Calculating Chip Thickness
3.2. Determining the Kinematic Parameters of the Cutter–Workpiece Contact During Trochoidal High-Speed Milling
3.3. Identification of Cutting Mechanisms, Uncut Chip Thickness and Geometry of the Cutter Blade in the Cutting Zone
4. Experimental Validation
4.1. Experimental Setup
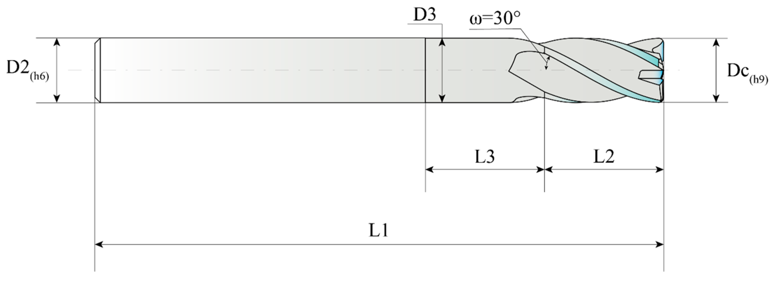
4.2. Milling Cutter and Coating
4.3. Coating of the Cutting Part of the Cutter
4.4. Cutting Edge Rounding Radii Measurement
4.5. Cutting Modes
4.6. Monitoring of Vibroacoustic Emission
5. Results and Discussion
5.1. Roughness of the Machined Surface of the Slot Walls in High-Speed Milling
5.2. Wear Results of Experimental Milling Cutter Samples
5.3. Shape and Size of Chip Elements
5.4. Results of Evaluation of Vibroacoustic Characteristics During Cast Iron Machining by Traditional and Trochoidal Milling with Coated and Uncoated Cutters
6. Conclusions
Author Contributions
Funding
Data Availability Statement
Conflicts of Interest
Correction Statement
References
- Jain, A.; Bajpai, V. Introduction to High-Speed Machining (HSM). In High Speed Machining; Elsevier: Amsterdam, The Netherlands, 2020; pp. 1–25. ISBN 978-0-12-815020-7. [Google Scholar]
- Stepan, G.; Szalai, R.; Mann, B.P.; Bayly, P.V.; Insperger, T.; Gradisek, J.; Govekar, E. Nonlinear Dynamics of High-Speed Milling—Analyses, Numerics, and Experiments. J. Vib. Acoust. 2005, 127, 197–203. [Google Scholar] [CrossRef]
- De Souza, A.M., Jr.; Sales, W.F.; Santos, S.C.; Machado, A.R. Performance of Single Si3N4 and Mixed Si3N4+PCBN Wiper Cutting Tools Applied to High Speed Face Milling of Cast Iron. Int. J. Mach. Tools Manuf. 2005, 45, 335–344. [Google Scholar] [CrossRef]
- Akhavan Niaki, F.; Pleta, A.; Mears, L. Trochoidal Milling: Investigation of a New Approach on Uncut Chip Thickness Modeling and Cutting Force Simulation in an Alternative Path Planning Strategy. Int. J. Adv. Manuf. Technol. 2018, 97, 641–656. [Google Scholar] [CrossRef]
- Chang, C.-H.; Huang, M.; Yau, H.-T. A Double-NURBS Approach to the Generation of Trochoidal Tool Path. Int. J. Adv. Manuf. Technol. 2023, 125, 1757–1776. [Google Scholar] [CrossRef]
- Gao, S.; Duan, X.; Zhu, K.; Zhang, Y. Influence of Tool Flank Wear Considering Tool Edge Radius on Instantaneous Uncut Chip Thickness and Cutting Force in Micro-End Milling. Int. J. Adv. Manuf. Technol. 2024, 133, 1639–1650. [Google Scholar] [CrossRef]
- Bissacco, G.; Hansen, H.N.; Slunsky, J. Modelling the Cutting Edge Radius Size Effect for Force Prediction in Micro Milling. CIRP Ann. 2008, 57, 113–116. [Google Scholar] [CrossRef]
- Li, T.; Peng, B.; Wu, W.; Wang, P.; Wang, Z.; Zhu, Y. Minimum Cutting Thickness Prediction Model for Micro-Milling Machining and Experimental Study of FeCoNiCrMn High-Entropy Alloy Machining. Precis. Eng. 2024, 89, 338–348. [Google Scholar] [CrossRef]
- Zhou, L.; Peng, F.Y.; Yan, R.; Yao, P.F.; Yang, C.C.; Li, B. Analytical Modeling and Experimental Validation of Micro End-Milling Cutting Forces Considering Edge Radius and Material Strengthening Effects. Int. J. Mach. Tools Manuf. 2015, 97, 29–41. [Google Scholar] [CrossRef]
- Hojati, F.; Baraheni, M.; Azarhoushang, B. Research on Ploughing to Shearing Transition in Micro Milling of Titanium Alloy Using Gramian Angular Field and Machine Learning Methods. Arab. J. Sci. Eng. 2024, 2024, 1–13. [Google Scholar] [CrossRef]
- Ullah, N.; Rehan, M.; Farooq, M.U.; Li, H.; Yip, W.S.; To, S.S. A Comprehensive Review of Micro-Milling: Fundamental Mechanics, Challenges, and Future Prospective. Int. J. Adv. Manuf. Technol. 2025, 137, 4309–4351. [Google Scholar] [CrossRef]
- Li, P.; Chang, Z. A Hybrid Model for Turning Force Based on Shear and Extrusion Deformation Considering Cutting-Edge Radius. J. Manuf. Process. 2022, 84, 134–148. [Google Scholar] [CrossRef]
- Tchórz, A.; Korona, K.; Krzak, I.; Bitka, A.; Książek, M.; Jaśkowiec, K.; Małysza, M.; Głowacki, M.; Wilk-Kołodziejczyk, D. Development of a CT Image Analysis Model for Cast Iron Products Based on Artificial Intelligence Methods. Materials 2022, 15, 8254. [Google Scholar] [CrossRef] [PubMed]
- Alexander, I.; Vladimir, G.; Petr, P.; Mihail, K.; Yuriy, I.; Andrey, V. Machining of Thin-Walled Parts Produced by Additive Manufacturing Technologies. Procedia CIRP 2016, 41, 1023–1026. [Google Scholar] [CrossRef]
- Ma, J.; Qi, X.; Gui, C.; Liu, Z.; Liu, W. A Non-Singular Five-Axis Trochoidal Milling Process Method for 3D Curved Slots. Int. J. Adv. Manuf. Technol. 2024, 130, 253–266. [Google Scholar] [CrossRef]
- Zhang, Z.; Cai, Y.; Wang, H.; Zhao, M.; Mei, J. A Flexible Five-Axis Trochoidal Milling Method for Machining Complex 3D Slots. Int. J. Adv. Manuf. Technol. 2024, 134, 4609–4624. [Google Scholar] [CrossRef]
- Akhavan Niaki, F.; Pleta, A.; Mears, L.; Potthoff, N.; Bergmann, J.A.; Wiederkehr, P. Trochoidal Milling: Investigation of Dynamic Stability and Time Domain Simulation in an Alternative Path Planning Strategy. Int. J. Adv. Manuf. Technol. 2019, 102, 1405–1419. [Google Scholar] [CrossRef]
- Otkur, M.; Lazoglu, I. Trochoidal Milling. Int. J. Mach. Tools Manuf. 2007, 47, 1324–1332. [Google Scholar] [CrossRef]
- Zhou, X.; Zhou, J.; Qi, Q.; Zhang, C.; Zhang, D. Effects of Toolpath Parameters on Engagement Angle and Cutting Force in Ellipse-Based Trochoidal Milling of Titanium Alloy Ti-6Al-4V. Appl. Sci. 2023, 13, 6550. [Google Scholar] [CrossRef]
- Pleta, A.; Niaki, F.A.; Mears, L. Investigation of Chip Thickness and Force Modelling of Trochoidal Milling. Procedia Manuf. 2017, 10, 612–621. [Google Scholar] [CrossRef]
- Wu, S.; Wei, M.; Bin, L.; Wang, C. Trochoidal Machining for the High-Speed Milling of Pockets. J. Mater. Process. Technol. 2016, 233, 29–43. [Google Scholar] [CrossRef]
- Huang, X.; Wu, S.; Liang, L.; Li, X.; Huang, N. Efficient Trochoidal Milling Based on Medial Axis Transformation and Inscribed Ellipse. Int. J. Adv. Manuf. Technol. 2020, 111, 1069–1076. [Google Scholar] [CrossRef]
- Li, H.Z.; Liu, K.; Li, X.P. A New Method for Determining the Undeformed Chip Thickness in Milling. J. Mater. Process. Technol. 2001, 113, 378–384. [Google Scholar] [CrossRef]
- Serje, D.; Pacheco, J.; Diez, E. Micromilling Research: Current Trends and Future Prospects. Int. J. Adv. Manuf. Technol. 2020, 111, 1889–1916. [Google Scholar] [CrossRef]
- Saï, L.; Bouzid, W.; Zghal, A. Determination of the Undeformed Milling Chip Thickness by Circular Interpolation. Mater. Technol. 2006, 21, 35–40. [Google Scholar] [CrossRef]
- Zhang, X.; Arif, M.; Liu, K.; Kumar, A.S.; Rahman, M. A Model to Predict the Critical Undeformed Chip Thickness in Vibration-Assisted Machining of Brittle Materials. Int. J. Mach. Tools Manuf. 2013, 69, 57–66. [Google Scholar] [CrossRef]
- Garcia-Llamas, E.; Ramirez, G.; Fuentes, M.; Vidales, E.; Pujante, J. Exploring Post-Machining Alternatives Under Dry Conditions for Thin-Walled Additive Manufacturing Components Aided by Infrared Thermography. Processes 2025, 13, 717. [Google Scholar] [CrossRef]
- Pleta, A.; Niaki, F.A.; Mears, L. A Comparative Study on the Cutting Force Coefficient Identification between Trochoidal and Slot Milling. Procedia Manuf. 2018, 26, 570–579. [Google Scholar] [CrossRef]
- Rahman, M.A.; Bhuiyan, M.S.; Sharma, S.; Kamal, M.S.; Imtiaz, M.M.M.; Alfaify, A.; Nguyen, T.-T.; Khanna, N.; Sharma, S.; Gupta, M.K.; et al. Influence of Feed Rate Response (FRR) on Chip Formation in Micro and Macro Machining of Al Alloy. Metals 2021, 11, 159. [Google Scholar] [CrossRef]
- De Oliveira, F.B.; Rodrigues, A.R.; Coelho, R.T.; De Souza, A.F. Size Effect and Minimum Chip Thickness in Micromilling. Int. J. Mach. Tools Manuf. 2015, 89, 39–54. [Google Scholar] [CrossRef]
- Weule, H.; Hüntrup, V.; Tritschler, H. Micro-Cutting of Steel to Meet New Requirements in Miniaturization. CIRP Ann. 2001, 50, 61–64. [Google Scholar] [CrossRef]
- Volosova, M.; Fyodorov, S.; Opleshin, S.; Mosyanov, M. Wear Resistance and Titanium Adhesion of Cathodic Arc Deposited Multi-Component Coatings for Carbide End Mills at the Trochoidal Milling of Titanium Alloy. Technologies 2020, 8, 38. [Google Scholar] [CrossRef]
- Caliskan, H.; Panjan, P.; Kurbanoglu, C. Hard Coatings on Cutting Tools and Surface Finish. In Comprehensive Materials Finishing; Elsevier: Amsterdam, The Netherlands, 2017; pp. 230–242. ISBN 978-0-12-803249-7. [Google Scholar]
- Vereschaka, A.; Grigoriev, S.; Chigarev, A.; Milovich, F.; Sitnikov, N.; Andreev, N.; Sotova, C.; Bublikov, J. Development of a Model of Crack Propagation in Multilayer Hard Coatings under Conditions of Stochastic Force Impact. Materials 2021, 14, 260. [Google Scholar] [CrossRef]
- Yang, X.; Zhang, B.; Bai, Q.; Zheng, M.; Tang, J. Grain Size Influence on Chip Formation in High-Speed Machining of Pure Iron. Int. J. Adv. Manuf. Technol. 2020, 108, 1357–1366. [Google Scholar] [CrossRef]
- Ge, Y.; Xu, J.; Yang, H. Diamond Tools Wear and Their Applicability When Ultra-Precision Turning of SiCp/2009Al Matrix Composite. Wear 2010, 269, 699–708. [Google Scholar] [CrossRef]
- Kong, D.; Chen, Y.; Li, N.; Tan, S. Tool Wear Monitoring Based on Kernel Principal Component Analysis and V-Support Vector Regression. Int. J. Adv. Manuf. Technol. 2017, 89, 175–190. [Google Scholar] [CrossRef]
- Corne, R.; Nath, C.; El Mansori, M.; Kurfess, T. Study of Spindle Power Data with Neural Network for Predicting Real-Time Tool Wear/Breakage during Inconel Drilling. J. Manuf. Syst. 2017, 43, 287–295. [Google Scholar] [CrossRef]
- Yu, J.; Liang, S.; Tang, D.; Liu, H. A Weighted Hidden Markov Model Approach for Continuous-State Tool Wear Monitoring and Tool Life Prediction. Int. J. Adv. Manuf. Technol. 2017, 91, 201–211. [Google Scholar] [CrossRef]
- Akhavan Niaki, F.; Michel, M.; Mears, L. State of Health Monitoring in Machining: Extended Kalman Filter. for Tool. Wear Assessment in Turning of IN718 Hard-to-Machine Alloy. J. Manuf. Process. 2016, 24, 361–369. [Google Scholar] [CrossRef]
- Liu, Z.; Shi, Z.; Wan, Y. Definition and Determination of the Minimum Uncut Chip Thickness of Microcutting. Int. J. Adv. Manuf. Technol. 2013, 69, 1219–1232. [Google Scholar] [CrossRef]
- Rezaei, H.; Sadeghi, M.H.; Budak, E. Determination of Minimum Uncut Chip Thickness under Various Machining Conditions during Micro-Milling of Ti-6Al-4V. Int. J. Adv. Manuf. Technol. 2018, 95, 1617–1634. [Google Scholar] [CrossRef]
- Kardes, N.; Altintas, Y. Mechanics and Dynamics of the Circular Milling Process. J. Manuf. Sci. Eng. 2007, 129, 21–31. [Google Scholar] [CrossRef]
- Pleta, A.; Nithyanand, G.; Niaki, F.A.; Mears, L. Identification of Optimal Machining Parameters in Trochoidal Milling of Inconel 718 for Minimal Force and Tool Wear and Investigation of Corresponding Effects on Machining Affected Zone Depth. J. Manuf. Process. 2019, 43, 54–62. [Google Scholar] [CrossRef]
- Bao, W.Y.; Tansel, I.N. Modeling Micro-End-Milling Operations. Part I: Analytical Cutting Force Model. Int. J. Mach. Tools Manuf. 2000, 40, 2155–2173. [Google Scholar] [CrossRef]
- Malekian, M.; Park, S.S.; Jun, M.B.G. Modeling of Dynamic Micro-Milling Cutting Forces. Int. J. Mach. Tools Manuf. 2009, 49, 586–598. [Google Scholar] [CrossRef]
- Qu, D.; Wang, B.; Gao, Y.; Cao, H. A Comprehensive Micro-Milling Force Model for a Low-Stiffness Machining System. J. Manuf. Sci. Eng. 2021, 143, 111004. [Google Scholar] [CrossRef]
- Zhou, Y.; Tian, Y.; Jing, X.; Ehmann, K.F. A Novel Instantaneous Uncut Chip Thickness Model for Mechanistic Cutting Force Model in Micro-End-Milling. Int. J. Adv. Manuf. Technol. 2017, 93, 2305–2319. [Google Scholar] [CrossRef]
- Malekian, M.; Mostofa, M.G.; Park, S.S.; Jun, M.B.G. Modeling of Minimum Uncut Chip Thickness in Micro Machining of Aluminum. J. Mater. Process. Technol. 2012, 212, 553–559. [Google Scholar] [CrossRef]
- Ko, J.H.; Yun, W.-S.; Cho, D.-W.; Ehmann, K.F. Development of a Virtual Machining System, Part 1: Approximation of the Size Effect for Cutting Force Prediction. Int. J. Mach. Tools Manuf. 2002, 42, 1595–1605. [Google Scholar] [CrossRef]
- Rao, U.S.; Vijayaraghavan, L. Determination of Minimum Uncut Chip Thickness in Mechanical Micro-Machining Using Johnson-Cook Fracture Model. IJMMS 2013, 6, 367. [Google Scholar] [CrossRef]
- Ducobu, F.; Rivière-Lorphèvre, E.; Filippi, E. Experimental and Numerical Investigation of the Uncut Chip Thickness Reduction in Ti6Al4V Orthogonal Cutting. Meccanica 2017, 52, 1577–1592. [Google Scholar] [CrossRef]
- Savkovic, B.; Kovac, P.; Sidjanin, L.; Rajnovic, D. The Chip Formation Process When Cutting High-Speed Steels and Ti3SiC2 Ceramics. JMMP 2023, 7, 72. [Google Scholar] [CrossRef]
- Filiz, S.; Conley, C.M.; Wasserman, M.B.; Ozdoganlar, O.B. An Experimental Investigation of Micro-Machinability of Copper 101 Using Tungsten Carbide Micro-Endmills. Int. J. Mach. Tools Manuf. 2007, 47, 1088–1100. [Google Scholar] [CrossRef]
- Kim, C.-J.; Mayor, J.R.; Ni, J. A Static Model of Chip Formation in Microscale Milling. J. Manuf. Sci. Eng. 2004, 126, 710–718. [Google Scholar] [CrossRef]
- Kang, I.-S.; Kim, J.-S.; Seo, Y.-W. Investigation of Cutting Force Behaviour Considering the Effect of Cutting Edge Radius in the Micro-Scale Milling of AISI 1045 Steel. Proc. Inst. Mech. Eng. Part B J. Eng. Manuf. 2011, 225, 163–171. [Google Scholar] [CrossRef]
- Chai, M.; Hou, X.; Zhang, Z.; Duan, Q. Identification and Prediction of Fatigue Crack Growth under Different Stress Ratios Using Acoustic Emission Data. Int. J. Fatigue 2022, 160, 106860. [Google Scholar] [CrossRef]
- Grigoriev, S.N.; Kozochkin, M.P.; Porvatov, A.N.; Gurin, V.D.; Melnik, Y.A. Features of Changes in the Parameters of Acoustic Signals Characteristic of Various Metalworking Processes and Prospects for Their Use in Monitoring. Appl. Sci. 2023, 14, 367. [Google Scholar] [CrossRef]
- Grigoriev, S.N.; Pivkin, P.M.; Kozochkin, M.P.; Volosova, M.A.; Okunkova, A.A.; Porvatov, A.N.; Zelensky, A.A.; Nadykto, A.B. Physicomechanical Nature of Acoustic Emission Preceding Wire Breakage during Wire Electrical Discharge Machining (WEDM) of Advanced Cutting Tool Materials. Metals 2021, 11, 1865. [Google Scholar] [CrossRef]
- Rauscher, C.; Janssen, V.; Minihold, R.; Rauscher, C. Fundamentals of Spectrum Analysis, 9th ed.; Rohde & Schwarz: München, Germany, 2016; ISBN 978-3-939837-01-5. [Google Scholar]
- Liu, D.; Zhang, Y.; Luo, M.; Zhang, D. Investigation of Tool Wear and Chip Morphology in Dry Trochoidal Milling of Titanium Alloy Ti–6Al–4V. Materials 2019, 12, 1937. [Google Scholar] [CrossRef]
- Quarrell, A.G. The Hardness of Metals. Nature 1952, 170, 818. [Google Scholar] [CrossRef]
- ISO 513:2012; Classification and Application of Hard Cutting Materials for Metal Removal with Defined Cutting Edges—Designation of the Main Groups and Groups of Application. International Organization for Standardization (ISO): Geneva, Switzerland, 2012.

























| Element | Content, % |
|---|---|
| Carbon, C | 3.2–3.6 |
| Si | 2.6–2.9 |
| Manganese, Mn | 0.4–0.7 |
| Nickel, Ni | <0.6 |
| Sulfur, S | <0.01 |
| Phosphorous, P | <0.1 |
| Chromium, Cr | <0.15 |
| Copper, Cu | <0.6 |
| Iron, Fe | ~91 |
| Hardness, Brinell, MPa | Tensile Strength, MPa | Yield Strength, MPa | Elongation at Break, % | Workpiece Dimensions, mm |
|---|---|---|---|---|
| 270 | 800 | 480 | 2 | 270 × 145 × 40 |
| Dc, h10 mm | Number of Flutes, Z | L2, mm | L1, mm | D2, h6 mm | D3, mm | L3, mm | r, mm | Helix Angle ω, ° |
|---|---|---|---|---|---|---|---|---|
| 12 | 4 | 22 | 105 | 12 | 11.8 | 22 | 1.0 | 30 |
| Coating | Nano-Hardness, GPa, min | Thickness, μm | Coefficient of Friction | Working Temperature, °C, Max |
|---|---|---|---|---|
| TiAlN/TiN | 36 | 1…4 | 0.5 | 700 |
| CrN-AlTiCrN/SiN–AlTiN (nACRo) | 45 | 1…7 | 0.45 | 1100 |
| No. of Cutter | Tooth No. 1 | Tooth No. 2 | Tooth No. 3 | Tooth No. 4 | re s |
|---|---|---|---|---|---|
| 1—Non-coated | 7.35 | 7.4 | 7.35 | 7.4 | 7.375 |
| 2—Non-coated | 7.75 | 7.65 | 8.35 | 7.35 | 7.78 |
| 3—TiN–Al/TiN | 9.25 | 9.55 | 8.55 | 8.2 | 8.88 |
| 4—CrTiN–AlTiN–AlTiCrN/SiN | 8.55 | 9.6 | 8.4 | 8.85 | 8.85 |
| Cutting Parameters | Traditional Machining | Trochoidal Machining |
|---|---|---|
| Cutting speed, V, m/min | 120 | 300 |
| Spindle speed, n, rpm | 3185 | 7961 |
| Width of cut, ae, mm | 12 | 1.2 |
| Depth of cut, ap, mm | 7 | 21 |
| Feed per tooth, fz, mm | 0.011 (T1, 1 mill)–0.03 (T2, T3, 1 mill) | 0.011 (T1, 2 mill); 0.12 (T1, 3 4 mills), 0.03 (T2, T3, 2,3,4 mill) |
| Feed per minute, f, мм/мин | 382 | 955 |
| Number of depth cuts | 3 | 1 |
| Number of side cuts | 2 | 1 |
| Material removal rate, Q, cm3/min | 22 | 24.08 |
Disclaimer/Publisher’s Note: The statements, opinions and data contained in all publications are solely those of the individual author(s) and contributor(s) and not of MDPI and/or the editor(s). MDPI and/or the editor(s) disclaim responsibility for any injury to people or property resulting from any ideas, methods, instructions or products referred to in the content. |
© 2025 by the authors. Licensee MDPI, Basel, Switzerland. This article is an open access article distributed under the terms and conditions of the Creative Commons Attribution (CC BY) license (https://creativecommons.org/licenses/by/4.0/).
Share and Cite
Pivkin, P.M.; Kozochkin, M.P.; Ershov, A.A.; Uvarova, L.A.; Nadykto, A.B.; Grigoriev, S.N. New Approach to High-Speed Multi-Coordinate Milling Based on Kinematic Cutting Parameters and Acoustic Signals. J. Manuf. Mater. Process. 2025, 9, 277. https://doi.org/10.3390/jmmp9080277
Pivkin PM, Kozochkin MP, Ershov AA, Uvarova LA, Nadykto AB, Grigoriev SN. New Approach to High-Speed Multi-Coordinate Milling Based on Kinematic Cutting Parameters and Acoustic Signals. Journal of Manufacturing and Materials Processing. 2025; 9(8):277. https://doi.org/10.3390/jmmp9080277
Chicago/Turabian StylePivkin, Petr M., Mikhail P. Kozochkin, Artem A. Ershov, Ludmila A. Uvarova, Alexey B. Nadykto, and Sergey N. Grigoriev. 2025. "New Approach to High-Speed Multi-Coordinate Milling Based on Kinematic Cutting Parameters and Acoustic Signals" Journal of Manufacturing and Materials Processing 9, no. 8: 277. https://doi.org/10.3390/jmmp9080277
APA StylePivkin, P. M., Kozochkin, M. P., Ershov, A. A., Uvarova, L. A., Nadykto, A. B., & Grigoriev, S. N. (2025). New Approach to High-Speed Multi-Coordinate Milling Based on Kinematic Cutting Parameters and Acoustic Signals. Journal of Manufacturing and Materials Processing, 9(8), 277. https://doi.org/10.3390/jmmp9080277

