Modeling and Simulation of Public Opinion Evolution Based on the SIS-FJ Model with a Bidirectional Coupling Mechanism
Abstract
1. Introduction
- We establish a bidirectional coupling mechanism between the SIS and FJ models. In the computation of infection rate and recovery rate in the SIS model, we incorporate the opinion difference between individuals and their observable neighbors in the FJ model. In the computation of opinion values in the FJ model, we incorporate the node states in the SIS model. This achieves bidirectional coupling between the SIS and FJ models. Moreover, the SIS-FJ model we constructed takes into account individual heterogeneity from multiple aspects, including infection rate, recovery rate, and individual susceptibility.
- We investigate the effects of various model elements on public opinion evolution, including initial opinion distribution, individual susceptibility, and network structure.
- We optimize the model by adjusting the infection rate and recovery rate functions, which enhance its generalizability.
2. Literature Review
2.1. Propagation Dynamics Model
2.2. Opinion Dynamics Model
2.3. Coupled Dynamics Model
3. Methodology
3.1. SIS Model
3.2. FJ Model
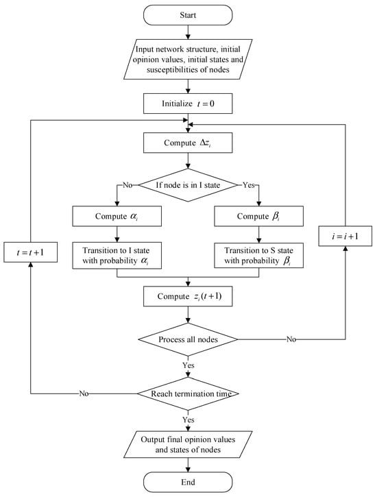
3.3. SIS-FJ Model
4. Experimental Simulation
| Algorithm 1: The SIS-FJ model with a bidirectional coupling mechanism |
| Input: |
| //Network structure |
| //Initial opinion values of nodes |
| //Initial states of nodes |
| //Susceptibilities of nodes |
| Output: |
| //Final opinion values of nodes |
| //Final states of nodes |
| Procedure: |
| For to : |
| For each node : |
| Compute //The opinion differences between node and its observable neighbors (the neighboring nodes in I state) |
| If : //Non-disseminating nodes (S state) |
| Compute infection rate |
| With probability , update //Node becomes a disseminating node (I state) |
| Else: //Disseminating nodes (I state) |
| Compute recovery rate |
| With probability , update . //Node becomes a non-disseminating node (S state) |
| Compute the weighted average opinion of the neighboring nodes of node |
| Return , |
4.1. The Effect of Initial Opinion Distribution on Public Opinion Evolution
4.1.1. Proportion of Nodes in Different States
4.1.2. Distribution of Opinion Values
4.1.3. Bipolar Initial Opinions
4.2. The Effect of Individual Susceptibility on Public Opinion Evolution
4.2.1. Distribution of Individual Susceptibility
4.2.2. Susceptibility and the Rate of Opinion Change
4.3. The Effect of Network Structure on Public Opinion Evolution
4.3.1. BA Network
4.3.2. WS Network
5. Model Optimization
6. Conclusions
- We investigated the effect of initial opinion distribution on public opinion evolution. Under the conditions of our experiment, the more disseminating nodes at the initial time, the slower the convergence of the opinion. Additionally, the greater the disseminating nodes’ opinions deviate from the mainstream opinion at the initial time, the slower the opinion converges, and the more the opinion values of all nodes deviate at the termination time. The larger the range of the disseminating nodes’ opinions at the initial time, the slower the opinion converges, and the less the opinion values of all nodes deviate at the termination time. And under this condition, opinion can always be consistent. Furthermore, in realistic scenarios where opinions are bipolarized, such as political campaigns or marketing, it is found that the final distribution of opinion tends toward the stance held by the majority of stubborn nodes. However, due to the presence of opposing stubborn agents, global consensus could not be achieved.
- We investigated the effect of individual susceptibility on public opinion evolution. Under the conditions of our experiment, the greater the overall susceptibility and the smaller the range of susceptibility, the faster the opinion converges. And extreme values of susceptibility can lead to the failure of opinion to converge. Furthermore, in the realistic scenario of changing the direction of public opinion, as individual susceptibility increases, the time required for the opinion to converge decreases exponentially. When the individual susceptibility tends to 0, the time required for the convergence of opinion is relatively long.
- We investigated the effect of network structure on public opinion evolution. For the BA network, it is found that the denser the connection between nodes, the faster the opinion converges. Under this condition, opinion can always be consistent. For the WS network, it is found that the denser the connections between nodes and the greater the probability of reconnecting edges, the faster the opinion converges. Although under this condition, opinion can always be consistent, for the network structure with a small number of neighbors per node and a low reconnection edge probability, the convergence speed of opinion is very slow.
- We found that different initial viewpoint distributions, individual susceptibilities, and network structures have no significant effect on the final proportions of disseminating and non-disseminating individuals. Therefore, we optimized the model by adjusting the base parameters of the infection rate and recovery rate functions. This modification provides additional validation that the stability in the proportions of nodes in different states arises because, after a period of evolution, the opinion differences among most nodes and their neighbors approach 0, causing their infection and recovery rates to stabilize at fixed values, as described by Equation (8). As a result, the system reaches a steady-state distribution between disseminating and non-disseminating nodes. Moreover, this optimization also enhances the model’s universality and applicability.
7. Discussion
- The model constructed in this study takes into account individual heterogeneity in terms of infection rate, recovery rate, and individual susceptibility. However, individual behavioral mechanisms in reality are influenced by various psychological and social factors. Therefore, the model does not fully account for these complex influences.
- This study conducts experiments on static networks to ensure clear observation of the evolution outcomes. However, in realistic scenarios, social or communication networks may evolve over time, leading to structural adjustments that are not accounted for in the current model.
- This study conducts experiments based on simulation data using synthetic networks (BA and WS networks), and has not yet employed real-world data for empirical analysis. Therefore, the applicability of the model in realistic scenarios remains to be validated.
- Further incorporate comprehensive factors influencing public opinion evolution on social media into the model, such as individual historical behaviors and preference mechanisms, to make the model more reflective of individuals’ behavioral patterns in realistic social media environments.
- Set the network structure of the model as a dynamic network, and further study the characteristics of public opinion evolution when the network structure changes.
- Based on specific public opinion events on social media, real-world data can be collected to calibrate the model parameters and validate the model’s effectiveness. Thus, the model can be applied to the governance of public opinion on social media. The government can predict future public opinion trends based on the current public opinion during emergencies or the implementation of public policies, thereby formulating more targeted intervention strategies.
Author Contributions
Funding
Data Availability Statement
Acknowledgments
Conflicts of Interest
References
- Li, Q.; Du, Y.; Li, Z.; Hu, J.; Hu, R.; Lv, B.; Jia, P. HK–SEIR Model of Public Opinion Evolution Based on Communication Factors. Eng. Appl. Artif. Intell. 2021, 100, 104192. [Google Scholar] [CrossRef]
- Li, N. Analyzing the Complexity of Public Opinion Evolution on Weibo: A Super Network Model. J. Knowl. Econ. 2024, 16, 3404–3439. [Google Scholar] [CrossRef]
- Sun, J.; Gong, Z.; Song, H.; Xu, Y.; Forrest, J.Y. Multiple Criteria Decision Modeling in Social Networks: An Application to Identify Opinion Leaders in Online Public Opinion Events. Expert Syst. Appl. 2024, 249, 123591. [Google Scholar] [CrossRef]
- Chen, T.; Shi, J.; Yang, J.; Cong, G.; Li, G. Modeling Public Opinion Polarization in Group Behavior by Integrating SIRS-Based Information Diffusion Process. Complexity 2020, 2020, 4791527. [Google Scholar] [CrossRef]
- Kaplan, A.M.; Haenlein, M. Users of the World, Unite! The Challenges and Opportunities of Social Media. Bus. Horiz. 2010, 53, 59–68. [Google Scholar] [CrossRef]
- Lu, Z.; Gao, X. The Study on the Formation Mechanism and Guiding Strategies of Group Polarization in Social Media Platforms. Inf. Stud. Theory Appl. 2021, 8, 51–58. [Google Scholar] [CrossRef]
- El-Shinnawy, M.; Vinze, A.S. Polarization and Persuasive Argumentation: A Study of Decision Making in Group Settings. MIS Q. 1998, 22, 165. [Google Scholar] [CrossRef]
- Shi, F.; Teplitskiy, M.; Duede, E.; Evans, J.A. The Wisdom of Polarized Crowds. Nat. Hum. Behav. 2019, 3, 329–336. [Google Scholar] [CrossRef]
- Vicario, M.D.; Quattrociocchi, W.; Scala, A.; Zollo, F. Polarization and Fake News. ACM Trans. Web 2019, 13, 1–22. [Google Scholar] [CrossRef]
- Del Vicario, M.; Bessi, A.; Zollo, F.; Petroni, F.; Scala, A.; Caldarelli, G.; Stanley, H.E.; Quattrociocchi, W. The Spreading of Misinformation Online. Proc. Natl. Acad. Sci. USA 2016, 113, 554–559. [Google Scholar] [CrossRef]
- Tucker, J.; Guess, A.; Barbera, P.; Vaccari, C.; Siegel, A.; Sanovich, S.; Stukal, D.; Nyhan, B. Social Media, Political Polarization, and Political Disinformation: A Review of the Scientific Literature. SSRN Electron. J. 2018. [Google Scholar] [CrossRef]
- Maia, H.P.; Ferreira, S.C.; Martins, M.L. Controversy-Seeking Fuels Rumor-Telling Activity in Polarized Opinion Networks. Chaos Solitons Fractals 2023, 169, 113287. [Google Scholar] [CrossRef]
- Jiang, J.; Chen, E.; Yan, S.; Lerman, K.; Ferrara, E. Political Polarization Drives Online Conversations about COVID-19 in the United States. Hum. Behav. Emerg. Technol. 2020, 2, 200–211. [Google Scholar] [CrossRef] [PubMed]
- Sunstein, C.R. Republic.com; Princeton University Press: Princeton, NJ, USA, 2001; ISBN 9780691095899. [Google Scholar]
- Iyengar, S.; Lelkes, Y.; Levendusky, M.; Malhotra, N.; Westwood, S.J. The Origins and Consequences of Affective Polarization in the United States. Annu. Rev. Political Sci. 2019, 22, 129–146. [Google Scholar] [CrossRef]
- Kingzette, J.; Druckman, J.N.; Klar, S.; Krupnikov, Y.; Levendusky, M.; Ryan, J.B. How Affective Polarization Undermines Support for Democratic Norms. Public Opin. Q. 2021, 85, 663–677. [Google Scholar] [CrossRef]
- Xie, T.; Wei, Y.; Chen, W.; Huang, H. Parallel Evolution and Response Decision Method for Public Sentiment Based on System Dynamics. Eur. J. Oper. Res. 2020, 287, 1131–1148. [Google Scholar] [CrossRef]
- Luo, G.; Zhang, Z.; Diao, S. Empirical Analysis and Modelling Social Network User Interaction Behavior and Time Characteristics Based on Selection Preference. Inf. Sci. 2022, 608, 1202–1220. [Google Scholar] [CrossRef]
- Li, H.; Xia, C.; Wang, T.; Wen, S.; Chen, C.; Xiang, Y. Capturing Dynamics of Information Diffusion in SNS: A Survey of Methodology and Techniques. ACM Comput. Surv. 2021, 55, 1–51. [Google Scholar] [CrossRef]
- Geng, L.; Zheng, H.; Qiao, G.; Geng, L.; Wang, K. Online Public Opinion Dissemination Model and Simulation under Media Intervention from Different Perspectives. Chaos Solitons Fractals 2023, 166, 112959. [Google Scholar] [CrossRef]
- Liu, S.; Tian, Y.; Wu, X. Research on Opinion Diffusion and Evolution Model in Complex Network. IEEE Trans. Comput. Soc. Syst. 2024, 11, 7595–7607. [Google Scholar] [CrossRef]
- Wu, Y.; Li, L.; Yu, Q.; Gan, J.; Zhang, Y. Strategies for Reducing Polarization in Social Networks. Chaos Solitons Fractals 2023, 167, 113095. [Google Scholar] [CrossRef]
- Sun, L.; Rao, Y.; Wu, L.; Zhang, X.; Lan, Y.; Nazir, A. Fighting False Information from Propagation Process: A Survey. ACM Comput. Surv. 2023, 55, 1–38. [Google Scholar] [CrossRef]
- Dong, Y.; Zhan, M.; Kou, G.; Ding, Z.; Liang, H. A Survey on the Fusion Process in Opinion Dynamics. Inf. Fusion 2018, 43, 57–65. [Google Scholar] [CrossRef]
- Kermack, W.O.; McKendrick, A.G. Contributions to the Mathematical Theory of Epidemics. III. Further Studies of the Problem of Endemicity. Proc. R. Soc. A Math. Phys. Eng. Sci. 1933, 141, 94–122. [Google Scholar] [CrossRef]
- Friedkin, N.E.; Johnsen, E.C. Social Positions in Influence Networks. Soc. Netw. 1997, 19, 209–222. [Google Scholar] [CrossRef]
- Keeling, M.; Rohani, P.; Pourbohloul, B. Modeling Infectious Diseases in Humans and Animals: Modeling Infectious Diseases in Humans and Animals. Clin. Infect. Dis. 2008, 47, 864–865. [Google Scholar] [CrossRef]
- Centola, D. How Behavior Spreads: The Science of Complex Contagions; Princeton University Press: Princeton, NJ, USA, 2018. [Google Scholar]
- Wang, W.; Liu, Q.; Liang, J.; Hu, Y.; Zhou, T. Coevolution Spreading in Complex Networks. Phys. Rep. 2019, 820, 1–51. [Google Scholar] [CrossRef]
- Pugliese, A. Population Models for Diseases with No Recovery. J. Math. Biol. 1990, 28, 65–82. [Google Scholar] [CrossRef]
- Kermack, W.O.; McKendrick, A.G. A Contribution to the Mathematical Theory of Epidemics. Proc. R. Soc. A Math. Phys. Eng. Sci. 1927, 115, 700–721. [Google Scholar] [CrossRef]
- Cheng, Y.; Huang, L.; Ramlogan, R.; Li, X. Forecasting of Potential Impacts of Disruptive Technology in Promising Technological Areas: Elaborating the SIRS Epidemic Model in RFID Technology. Technol. Forecast. Soc. Change 2017, 117, 170–183. [Google Scholar] [CrossRef]
- Prem, K.; Liu, Y.; Russell, T.W.; Kucharski, A.J.; Eggo, R.M.; Davies, N.; Jit, M.; Klepac, P.; Flasche, S.; Clifford, S.; et al. The Effect of Control Strategies to Reduce Social Mixing on Outcomes of the COVID-19 Epidemic in Wuhan, China: A Modelling Study. Lancet Public Health 2020, 5, 261–270. [Google Scholar] [CrossRef] [PubMed]
- Banerjee, A.V. A Simple Model of Herd Behavior. Q. J. Econ. 1992, 107, 797–817. [Google Scholar] [CrossRef]
- Granovetter, M. Threshold Models of Collective Behavior. Am. J. Sociol. 1978, 83, 1420–1443. [Google Scholar] [CrossRef]
- Yin, F.; Tang, X.; Liang, T.; Kuang, Q.; Wang, J.; Ma, R.; Miao, F.; Wu, J. Coupled Dynamics of Information Propagation and Emotion Influence: Emerging Emotion Clusters for Public Health Emergency Messages on the Chinese Sina Microblog. Phys. A Stat. Mech. Its Appl. 2024, 639, 129630. [Google Scholar] [CrossRef]
- Zhang, Y.; Chen, Z. SETQR Propagation Model for Social Networks. IEEE Access 2019, 7, 127533–127543. [Google Scholar] [CrossRef]
- Liu, X. Social Network Influence Based on SHIR and SLPR Propagation Models. Heliyon 2024, 10, e36658. [Google Scholar] [CrossRef]
- Zhou, X.; Qiu, L.; Hao, T. SCIR Rumor Propagation Model with the Chord Mechanism in Social Networks. Int. J. Mod. Phys. C 2021, 33, 2250014. [Google Scholar] [CrossRef]
- Govindankutty, S.; Gopalan Padinjappurathu, S. SEDIS—A Rumor Propagation Model for Social Networks by Incorporating the Human Nature of Selection. Systems 2022, 11, 12. [Google Scholar] [CrossRef]
- Wang, H.; Qiu, L.; Sun, C. ISRT Rumor Spreading Model with Different Influence Mechanisms in Social Networks. Int. J. Mod. Phys. C 2022, 34, 2350003. [Google Scholar] [CrossRef]
- Chen, J.; Kou, G.; Wang, H.; Zhao, Y. Influence Identification of Opinion Leaders in Social Networks: An Agent-Based Simulation on Competing Advertisements. Inf. Fusion 2021, 76, 227–242. [Google Scholar] [CrossRef]
- Bashari, M.; Akbarzadeh-T, M.R. Controlling Opinions in Deffuant Model by Reconfiguring the Network Topology. Phys. A Stat. Mech. Its Appl. 2019, 544, 123462. [Google Scholar] [CrossRef]
- Di Guilmi, C.; Galanis, G. Convergence and Divergence in Dynamic Voting with Inequality. J. Econ. Behav. Organ. 2021, 187, 137–158. [Google Scholar] [CrossRef]
- Dong, J.; Hu, J.; Zhao, Y.; Peng, Y. Opinion Formation Analysis for Expressed and Private Opinions (EPOs) Models: Reasoning Private Opinions from Behaviors in Group Decision-Making Systems. Expert Syst. Appl. 2024, 236, 121292. [Google Scholar] [CrossRef]
- Holley, R.A.; Liggett, T.M. Ergodic Theorems for Weakly Interacting Infinite Systems and the Voter Model. Ann. Probab. 1975, 3, 643–663. [Google Scholar] [CrossRef]
- Galam, S. Minority Opinion Spreading in Random Geometry. Eur. Phys. J. B 2002, 25, 403–406. [Google Scholar] [CrossRef]
- Sznajd-Weron, K.; Sznajd, J. Opinion Evolution in Closed Community. Int. J. Mod. Phys. C 2000, 11, 1157–1165. [Google Scholar] [CrossRef]
- DeGroot, M.H. Reaching a Consensus. J. Am. Stat. Assoc. 1974, 69, 118–121. [Google Scholar] [CrossRef]
- Deffuant, G.; Neau, D.; Amblard, F.; Weisbuch, G. Mixing Beliefs among Interacting Agents. Adv. Complex Syst. 2000, 3, 87–98. [Google Scholar] [CrossRef]
- Hegselmann, R.; Krause, U. Opinion Dynamics and Bounded Confidence Models, Analysis and Simulation. RePEc Res. Pap. Econ. 2002, 5, 1–2. [Google Scholar]
- Jager, W.; Amblard, F. Uniformity, Bipolarization and Pluriformity Captured as Generic Stylized Behavior with an Agent-Based Simulation Model of Attitude Change. Comput. Math. Organ. Theory 2005, 10, 295–303. [Google Scholar] [CrossRef]
- Zhou, Q.; Wu, Z.; Altalhi, A.H.; Herrera, F. A Two-Step Communication Opinion Dynamics Model with Self-Persistence and Influence Index for Social Networks Based on the DeGroot Model. Inf. Sci. 2020, 519, 363–381. [Google Scholar] [CrossRef]
- Proskurnikov, A.V.; Tempo, R.; Cao, M.; Friedkin, N.E. Opinion Evolution in Time-Varying Social Influence Networks with Prejudiced Agents. IFAC-PapersOnLine 2017, 50, 11896–11901. [Google Scholar] [CrossRef]
- Chen, G.; Cheng, H.; Huang, C.; Han, W.; Dai, Q.; Li, H.; Yang, J. Deffuant Model on a Ring with Repelling Mechanism and Circular Opinions. Phys. Rev. E 2017, 95, 42118. [Google Scholar] [CrossRef] [PubMed]
- Jiang, B.; Zhao, Y.; Dong, J.; Hu, J. Analysis of the Influence of Trust in Opposing Opinions: An Inclusiveness-Degree Based Signed Deffuant–Weisbush Model. Inf. Fusion 2023, 104, 102173. [Google Scholar] [CrossRef]
- Xu, H.; Cai, H.; Wu, S.; Ai, K.; Xu, M. HKML: A Novel Opinion Dynamics Hegselmann-Krause Model with Media Literacy. In Proceedings of the IEEE International Conference on Systems, Man, and Cybernetics (SMC), Toronto, ON, Canada, 11–14 October 2020; IEEE: Piscataway, NJ, USA, 2020; pp. 52–57. [Google Scholar] [CrossRef]
- Wang, N.; Rong, Z.; Yang, W. Opinion Dynamics of Improved Hegselmann-Krause Model with Agent’s Stubbornness and Stubborn Agents. EPL (Europhys. Lett.) 2023, 143, 52001. [Google Scholar] [CrossRef]
- Xu, H.; Li, Z.; Guan, A.; Xu, M.; Wang, B. Opinion-Climate-Based Hegselmann-Krause Dynamics. Pattern Recognit. Lett. 2023, 167, 9–17. [Google Scholar] [CrossRef]
- Chen, X.; Zhang, X.; Xie, Y.; Li, W. Opinion Dynamics of Social-Similarity-Based Hegselmann–Krause Model. Complexity 2017, 2017, 1–12. [Google Scholar] [CrossRef]
- Yuan, J.; Shi, J.; Wang, J.; Liu, W. Modelling Network Public Opinion Polarization Based on SIR Model Considering Dynamic Network Structure. Alex. Eng. J. 2022, 61, 4557–4571. [Google Scholar] [CrossRef]
- Yin, F.; She, Y.; Wang, J.; Wu, Y.; Wu, J. Modeling and Analyzing Information Propagation Evolution Integrating Internal and External Influences. Adv. Theory Simul. 2023, 7, 1820257. [Google Scholar] [CrossRef]
- Lian, Y.; Dong, X.; Liu, Y. Topological Evolution of the Internet Public Opinion. Phys. A Stat. Mech. Its Appl. 2017, 486, 567–578. [Google Scholar] [CrossRef]
- Dubey, S.R.; Singh, S.K.; Chaudhuri, B.B. Activation Functions in Deep Learning: A Comprehensive Survey and Benchmark. Neurocomputing 2022, 503, 92–108. [Google Scholar] [CrossRef]












| Time When Opinion Variance Stabilizes Below 0.001 | ||||
|---|---|---|---|---|
| 5% | 0.2670 | 0.7330 | 0 | 5 |
| 20% | 0.2615 | 0.7385 | 0 | 7 |
| 50% | 0.2635 | 0.7365 | 0 | 8 |
| 80% | 0.2645 | 0.7355 | 0 | 9 |
| Initial Opinion Distribution of Disseminating Nodes | Time When Opinion Variance Stabilizes Below 0.001 | |||||
|---|---|---|---|---|---|---|
| 0 | 0.5 | 0.2690 | 0.7310 | −0.0051 | 0 | 4 |
| 1 | 0.2655 | 0.7345 | 0.0037 | 0 | 6 | |
| 0.4 | 0.5 | 0.2635 | 0.7365 | 0.0467 | 0 | 5 |
| 1 | 0.2700 | 0.7300 | 0.0342 | 0 | 6 | |
| 0.8 | 0.5 | 0.2735 | 0.7265 | 0.0624 | 0 | 6 |
| 1 | 0.2650 | 0.7350 | 0.0358 | 0 | 7 | |
| Distribution of Susceptibility | Final Proportion of Nodes in State S | Final Proportion of Nodes in State I | Time When Opinion Variance Stabilizes Below 0.001 | ||
|---|---|---|---|---|---|
| 0.2 | 0.1 | 0.2480 | 0.7520 | 0.0002 | 21 |
| 0.3 | 0.2735 | 0.7265 | 0.0059 | - | |
| 0.5 | 0.2660 | 0.7340 | 0.0072 | - | |
| 0.5 | 0.1 | 0.2545 | 0.7455 | 0 | 6 |
| 0.3 | 0.2565 | 0.7435 | 0.0010 | 10 | |
| 0.5 | 0.2730 | 0.7270 | 0.0020 | - | |
| 0.8 | 0.1 | 0.2725 | 0.7275 | 0 | 4 |
| 0.3 | 0.2695 | 0.7305 | 0.0001 | 5 | |
| 0.5 | 0.2745 | 0.7255 | 0.0007 | - | |
| Time When Opinion Variance Stabilizes Below 0.001 | ||||
|---|---|---|---|---|
| 2 | 0.2645 | 0.7355 | 0 | 13 |
| 5 | 0.2815 | 0.7185 | 0 | 5 |
| 10 | 0.2685 | 0.7315 | 0 | 4 |
| Final Proportion of Nodes in State S | Final Proportion of Nodes in State I | Time When Opinion Variance Stabilizes Below 0.001 | |||
|---|---|---|---|---|---|
| 2 | 0.2 | 0.2720 | 0.7280 | 0.0054 | 1409 |
| 0.4 | 0.2930 | 0.7070 | 0.0052 | 1044 | |
| 0.6 | 0.2615 | 0.7385 | 0.0040 | 798 | |
| 5 | 0.2 | 0.2680 | 0.7320 | 0 | 30 |
| 0.4 | 0.2760 | 0.7240 | 0 | 15 | |
| 0.6 | 0.2675 | 0.7325 | 0 | 13 | |
| 10 | 0.2 | 0.2650 | 0.7350 | 0 | 7 |
| 0.4 | 0.2705 | 0.7295 | 0 | 5 | |
| 0.6 | 0.2630 | 0.7370 | 0 | 5 |
| Time When Opinion Variance Stabilizes Below 0.001 | |||||||||
|---|---|---|---|---|---|---|---|---|---|
| 2 | 2 | 0.3430 | 0.6570 | 0.3333 | 0.6667 | 0.0290 | 0.0145 | 0 | 5 |
| 5 | 0.1925 | 0.8075 | 0.2000 | 0.8000 | 0.0225 | 0.0056 | 0 | 5 | |
| 10 | 0.1300 | 0.8700 | 0.1200 | 0.8800 | 0.0417 | 0.0057 | 0 | 5 | |
| 5 | 2 | 0.2975 | 0.7025 | 0.2857 | 0.7143 | 0.0413 | 0.0165 | 0 | 5 |
| 5 | 0.1655 | 0.8345 | 0.1667 | 0.8333 | 0.0070 | 0.0014 | 0 | 5 | |
| 10 | 0.0940 | 0.9060 | 0.0984 | 0.9016 | 0.0366 | 0.0040 | 0 | 5 | |
| 10 | 2 | 0.2560 | 0.7440 | 0.2683 | 0.7317 | 0.0458 | 0.0168 | 0 | 5 |
| 5 | 0.1395 | 0.8605 | 0.1549 | 0.8451 | 0.0187 | 0.0034 | 0 | 5 | |
| 10 | 0.0870 | 0.9130 | 0.0909 | 0.9091 | 0.0429 | 0.0043 | 0 | 5 |
Disclaimer/Publisher’s Note: The statements, opinions and data contained in all publications are solely those of the individual author(s) and contributor(s) and not of MDPI and/or the editor(s). MDPI and/or the editor(s) disclaim responsibility for any injury to people or property resulting from any ideas, methods, instructions or products referred to in the content. |
© 2025 by the authors. Licensee MDPI, Basel, Switzerland. This article is an open access article distributed under the terms and conditions of the Creative Commons Attribution (CC BY) license (https://creativecommons.org/licenses/by/4.0/).
Share and Cite
Fu, W.; Zhu, R.; Li, B.; Lu, X.; Lin, X. Modeling and Simulation of Public Opinion Evolution Based on the SIS-FJ Model with a Bidirectional Coupling Mechanism. Big Data Cogn. Comput. 2025, 9, 180. https://doi.org/10.3390/bdcc9070180
Fu W, Zhu R, Li B, Lu X, Lin X. Modeling and Simulation of Public Opinion Evolution Based on the SIS-FJ Model with a Bidirectional Coupling Mechanism. Big Data and Cognitive Computing. 2025; 9(7):180. https://doi.org/10.3390/bdcc9070180
Chicago/Turabian StyleFu, Wenxuan, Renqi Zhu, Bo Li, Xin Lu, and Xiang Lin. 2025. "Modeling and Simulation of Public Opinion Evolution Based on the SIS-FJ Model with a Bidirectional Coupling Mechanism" Big Data and Cognitive Computing 9, no. 7: 180. https://doi.org/10.3390/bdcc9070180
APA StyleFu, W., Zhu, R., Li, B., Lu, X., & Lin, X. (2025). Modeling and Simulation of Public Opinion Evolution Based on the SIS-FJ Model with a Bidirectional Coupling Mechanism. Big Data and Cognitive Computing, 9(7), 180. https://doi.org/10.3390/bdcc9070180

