Investigation of “Open” Superstructure Tramway Tracks in Budapest
Abstract
1. Introduction
2. Materials and Methods
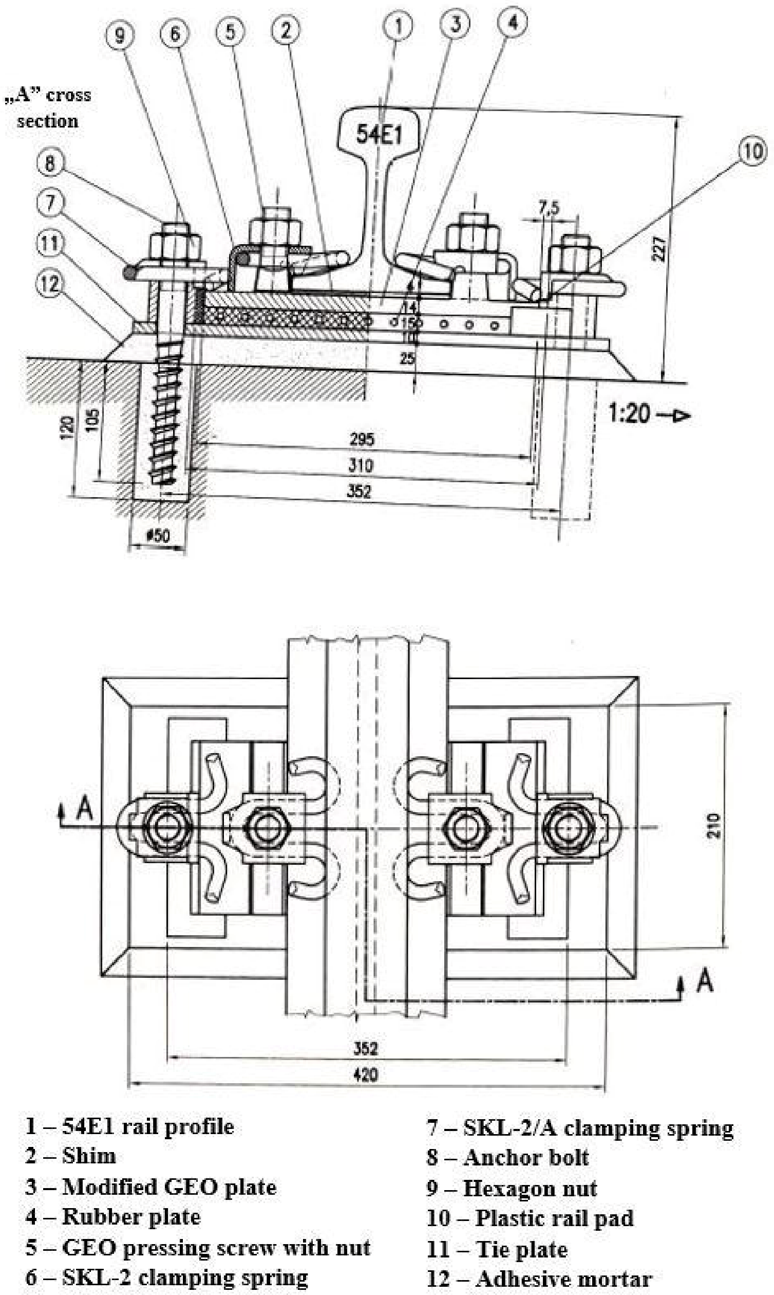
2.1. Examined “Open” Superstructure Reference Sections
2.2. Traffic Load and Age
2.3. Geometrical Measurements and Examined Parameters
- track gauge [mm];
- flange gauge [mm] (the distance between the guiding surface of the rail on one side and the back of the structure that ensures the guidance of the wheel on the other side, interpreted as the height of the track gauge);
- superelevation [mm];
- alignment [mm] (i.e., lateral track irregularity);
- longitudinal level [mm] (i.e., vertical track irregularity);
- length of the railway section [in meters to the nearest mm];
- twist [mm].
3. Results
3.1. Section #1
3.2. Section #2
3.3. Section #3
3.4. Section #4
3.5. Section #5
3.6. Section #6
3.7. Section #7
4. Discussion
4.1. Results of Ballasted Track Systems
- when a ballasted track section is at least 1.5-times older but has a lower traffic load, the narrowing of the track gauge is similar to the case when the ballasted track is newer but has a greater traffic load: the deterioration is comparable;
- when a ballasted track section is at least seven times older and has at least a traffic load at least three times higher than another ballasted track, the broadening of the track gauge is similar: the deterioration is comparable;
- regardless of the level of traffic load, the average value of alignment is decreasing;
- when a ballasted track is at least seven times older and has a traffic load at least three times higher than another ballasted track, they have a similar average value of decreasing alignment;
- regardless of the level of traffic load, the average value of the longitudinal level is increasing.
4.2. Results of Concrete Slab Track Systems
- the deterioration of track gauge parameter in the case of concrete slab tracks is clearly described as the broadening of track gauge;
- the more significant the load of the examined concrete slab track section, the steeper the grade of the trendline of the track gauge parameter;
- regardless of the level of traffic load, the average value of alignment is decreasing;
- regardless of the level of traffic load, the average value of the longitudinal level is increasing.
5. Conclusions
- regardless of the “open” superstructure system or the level of traffic load, the average value of alignment is decreasing;
- regardless of the “open” superstructure system level of traffic load, the average value of the longitudinal level is increasing;
- when a ballasted track section is older but has a lower traffic load, the narrowing of the track gauge is similar to the case when the ballasted track is newer but has a greater traffic load;
- when a ballasted track section is much older and has a greater traffic load than another ballasted track, the broadening of the track gauge is similar;
- the deterioration of track gauge parameter in the case of concrete slab tracks is clearly described as the broadening of track gauge;
- the more significant the load of the examined concrete slab track section, the steeper the grade of the trendline of the track gauge parameter.
Author Contributions
Funding
Data Availability Statement
Acknowledgments
Conflicts of Interest
References
- Nugymanova, G.; Nurgaliyeva, M.; Zhanbirov, Z.; Naumov, V.; Taran, I. Choosing a servicing company’s strategy while interacting with freight owners at the road transport market. Nauk. Visnyk Natsionalnoho Hirnychoho Universytetu 2021, 1, 204–210. [Google Scholar] [CrossRef]
- Ramazan, B.; Mussaliyeva, R.; Bitileuova, Z.; Naumov, V.; Taran, I. Choosing the logistics chain structure for deliveries of bulk loads: Case study of the Republic Kazakhstan. Nauk. Visnyk Natsionalnoho Hirnychoho Universytetu 2021, 3, 142–147. [Google Scholar] [CrossRef]
- Damjanović, M.; Stević, Ž.; Stanimirović, D.; Tanackov, I.; Marinković, D. Impact of the Number of Vehicles on Traffic Safety: Multiphase Modeling. Facta Univ. Ser. Mech. Eng. 2022, 20, 177–197. [Google Scholar] [CrossRef]
- Shekhovtsov, A.; Więckowski, J.; Kizielewicz, B.; Sałabun, W. Towards Reliable Decision-Making in the Green Urban Transport Domain. Facta Univ. Ser. Mech. Eng. 2022, 20, 381–398. [Google Scholar] [CrossRef]
- Đalić, I.; Stević, Ž.; Ateljević, J.; Turskis, Z.; Zavadskas, E.K.; Mardani, A. A Novel Integrated MCDM-SWOT-TOWS Model for the Strategic Decision Analysis in Transportation Company. Facta Univ. Ser. Mech. Eng. 2021, 19, 401–422. [Google Scholar] [CrossRef]
- Németh, A.; Fischer, S. Investigation of the Glued Insulated Rail Joints Applied to Cwr Tracks. Facta Univ. Ser. Mech. Eng. 2021, 19, 681–704. [Google Scholar] [CrossRef]
- Fischer, S.; Kocsis Szürke, S. Detection Process of Energy Loss in Electric Railway Vehicles. Facta Univ. Ser. Mech. Eng. 2023, 11368. [Google Scholar] [CrossRef]
- Fischer, S.; Harangozó, D.; Németh, D.; Kocsis, B.; Sysyn, M.; Kurhan, D.; Brautigam, A. Investigation of Heat-Affected Zones of Thermite Rail Weldings. Facta Univ. Ser. Mech. Eng. 2023. [Google Scholar] [CrossRef]
- Eller, B.; Szalai, S.; Sysyn, M.; Harrach, D.; Liu, J.; Fischer, S. Inner Shear Resistance Increasing Effect of Concrete Canvas in Ballasted Railway Tracks. Nauk. Visnyk Natsionalnoho Hirnychoho Universytetu 2023, submitted.
- Jóvér, V.; Sysyn, M.; Liu, J.; Fischer, S. Geometry Variation of Ballasted Railway Tracks Due to Weather Conditions. Nauk. Visnyk Natsionalnoho Hirnychoho Universytetu 2023, 2023, 74–79. [Google Scholar] [CrossRef]
- Czinder, B.; Török, Á. Strength and abrasive properties of andesite: Relationships between strength parameters measured on cylindrical test specimens and micro-Deval values—A tool for durability assessment. Bull. Eng. Geol. Environ. 2021, 80, 8871–8889. [Google Scholar] [CrossRef]
- Czinder, B.; Vásárhelyi, B.; Török, Á. Long-term abrasion of rocks assessed by micro-Deval tests and estimation of the abrasion process of rock types based on strength parameters. Eng. Geol. 2021, 282, 105996. [Google Scholar] [CrossRef]
- Kou, L.; Sysyn, M.; Liu, J. Influence of Crossing Wear on Rolling Contact Fatigue Damage of Frog Rail. Facta Univ. Ser. Mech. Eng. 2023. [Google Scholar] [CrossRef]
- Fischer, S. Investigation of effect of water content on railway granular supplementary layers. Nauk. Visnyk Natsionalnoho Hirnychoho Universytetu 2021, 64–68. [Google Scholar] [CrossRef]
- Kim, T.-H.; Ramos, C.; Mohammed, S. Smart City and IoT. Future Gener. Comput. Syst. 2017, 76, 159–162. [Google Scholar] [CrossRef]
- Harrison, C.; Donnelly, I.A. A Theory of Smart Cities. In Proceedings of the 55th Annual Meeting of the International Society for the Systems Sciences 2011, Hull, UK, 17–22 July 2011; pp. 521–535. [Google Scholar]
- Szalai, S.; Dogossy, G. Speckle pattern optimization for DIC technologies. Acta Tech. Jaurinensis 2021, 14, 228–243. [Google Scholar] [CrossRef]
- Szalai, S.; Csótár, H.; Kurhan, D.; Németh, A.; Sysyn, M.; Fischer, S. Testing of Lubricants for DIC Tests to Measure the Forming Limit Diagrams of Aluminum Thin Sheet Materials. Infrastructures 2023, 8, 32. [Google Scholar] [CrossRef]
- Szalai, S.; Fehér, V.; Kurhan, D.; Németh, A.; Sysyn, M.; Fischer, S. Optimization of Surface Cleaning and Painting Methods for DIC Measurements on Automotive and Railway Aluminum Materials. Infrastructures 2023, 8, 27. [Google Scholar] [CrossRef]
- Szalai, S.; Herold, B.; Kurhan, D.; Németh, A.; Sysyn, M.; Fischer, S. Optimization of 3D Printed Rapid Prototype Deep Drawing Tools for Automotive and Railway Sheet Material Testing. Infrastructures 2023, submitted.
- Szalai, S.; Szívós, B.F.; Kurhan, D.; Németh, A.; Sysyn, M.; Fischer, S. Optimization of Surface Preparation and Painting Processes for Railway and Automotive Steel Sheets. Infrastructures 2023, 8, 28. [Google Scholar] [CrossRef]
- Szürke, S.K.; Dineva, A.; Szalai, S.; Lakatos, I. Determination of Critical Deformation Regions of a Lithium Polymer Battery by DIC Measurement and WOWA Filter. Acta Polytech. Hung. 2022, 19, 113–134. [Google Scholar] [CrossRef]
- Szalai, S.; Szürke, S.K.; Harangozó, D.; Fischer, S. Investigation of deformations of a lithium polymer cell using the Digital Image Correlation Method (DICM). Rep. Mech. Eng. 2022, 3, 206–224. [Google Scholar] [CrossRef]
- Fischer, S.; Vass, A.; Szalai, S.; Harangozó, D.; Németh, A.; Major, Z.; Kocsis Szürke, S. Application Possibilities of Recuperated Energy of Modern Railway Hauling Vehicles. In Proceedings of the RAILCON ’22, Nis, Serbia, 13–14 October 2022; pp. VII–X. [Google Scholar]
- Polák, J.; Lakatos, I. Efficiency Optimization of Electric Permanent Magnet Motor Driven Vehicle. Mach. Des. 2015, 7, 1259–1821. [Google Scholar]
- Pup, D.; Szakallas, G.; Polák, J. Research of vehicle parameter and sensor systems necessary to control autonomous vehicles. In Proceedings of the 2018 14th IEEE/ASME International Conference on Mechatronic and Embedded Systems and Applications, MESA, Oulu, Finland, 2–4 July 2018; p. 8449146. [Google Scholar] [CrossRef]
- Czére, B. A Vasút Története; Corvina Kiadó: Budapest, Hungary, 1989. [Google Scholar]
- Fischer, S. Traction Energy Consumption of Electric Locomotives and Electric Multiple Units at Speed Restrictions. Acta Tech. Jaurinensis 2015, 8, 240–256. [Google Scholar] [CrossRef]
- Statista Inland Freight Mileage in EU-28 in 2018, by Mode. Available online: https://www.statista.com/statistics/280517/inland-freight-mileage-in-eu-27-by-mode/ (accessed on 8 February 2023).
- Statista Passenger Mileage in EU-28 in 2018, by Mode. Available online: https://www.statista.com/statistics/280519/passenger-mileage-in-eu-27-by-mode/ (accessed on 8 February 2023).
- Kenworthy, J.R.; Svensson, H. Exploring the Energy Saving Potential in Private, Public and Non-Motorized Transport for Ten Swedish Cities. Sustainability 2022, 14, 954. [Google Scholar] [CrossRef]
- Godfrid, J.; Radnic, P.; Vaisman, A.; Zimányi, E. Analyzing public transport in the city of Buenos Aires with MobilityDB. Public Transp. 2022, 14, 287–321. [Google Scholar] [CrossRef]
- Shao, J.; Wang, L. Can new-type urbanization improve the green total factor energy efficiency? Evidence from China. Energy 2023, 262, 125499. [Google Scholar] [CrossRef]
- Jóvér, V.; Fischer, S. Közúti Vasúti Felépítményrendszerek Vágánygeometriai És Járműdinamikai Vizsgálata. In Proceedings of the City Rail 2022, Balatonfenyves, Hungary, 7–8 September 2022; pp. 121–135. [Google Scholar]
- Lakusic, S.; Kecur, R. The Impact of the Geometry of Rail Welds on Noise Level in Urban Environments. In Proceedings of the Annual Conference of the Australian Acoustical Society 2005, Acoustics 2005: Acoustics in a Changing Environment, Busselton, Australia, 9–11 November 2005; pp. 247–251. [Google Scholar]
- Haladin, I.; Bogut, M.; Lakušić, S. Analysis of Tram Traffic-Induced Vibration Influence on Earthquake Damaged Buildings. Buildings 2021, 11, 590. [Google Scholar] [CrossRef]
- Haladin, I.; Vranešić, K.; Ivančev, M.; Lakušić, S. Influence of Tram Vibrations on Earthquake Damaged Buildings. In Proceedings of the 1st Croatian Conference on Earthquake Engineering 1CroCEE, Zabreg, Croatia, 22–24 March 2021; pp. 1583–1593. [Google Scholar]
- Guerrieri, M.; Parla, G. Smart Tramway Systems for Smart Cities: A Deep Learning Application in ADAS Systems. Int. J. Intell. Transp. Syst. Res. 2022, 20, 745–758. [Google Scholar] [CrossRef]
- Naugain, M.; Singh, A.K. Planning for Pedestrian-Friendly Cities. In Lecture Notes in Civil Engineering: Sustainable Infrastructure Development; Springer: Singapore, 2022; Volume 199, pp. 44–63. [Google Scholar]
- Zakharov, D.; Fadyushin, A. The Efficiency of some Activities for the Development of Urban Infrastructure for Public Transport, Cyclists and Pedestrians. Int. J. Transp. Dev. Integr. 2021, 5, 136–149. [Google Scholar] [CrossRef]
- Campisi, T.; Tesoriere, G.; Skoufas, A.; Zeglis, D.; Andronis, C.; Basbas, S. Perceived Pedestrian Level of Service: The Case of Thessaloniki, Greece. In Proceedings of the Transportation Research Procedia, Brescia, Italy, 9–10 September 2021; Volume 60, pp. 124–131. [Google Scholar]
- Ferrer-Ortiz, C.; Marquet, O.; Mojica, L.; Vich, G. Barcelona under the 15-Minute City Lens: Mapping the Accessibility and Proximity Potential Based on Pedestrian Travel Times. Smart Cities 2022, 5, 146–161. [Google Scholar] [CrossRef]
- Loraamm, R.; Mustain, M. Social Deprivation and the Performance of Pedestrian Infrastructure for School Children: Identifying Need in the Putnam City School District, Oklahoma City, Oklahoma. Prof. Geogr. 2022, 74, 231–245. [Google Scholar] [CrossRef]
- Mako, E.; Szakonyi, P. Evaluation of Human Behaviour at Pedestrian Crossings. In Proceedings of the Transportation Research Procedia, Shanghai, China, 10–15 July 2016; Volume 14, pp. 2121–2128. [Google Scholar]
- Kizawi, A.; Borsos, A. Literature review on the conflict analysis of vehicle-pedestrian interactions. Acta Tech. Jaurinensis 2021, 14, 599–611. [Google Scholar] [CrossRef]
- Benatia, D. Ring the alarm! Electricity markets, renewables, and the pandemic. Energy Econ. 2022, 106, 105755. [Google Scholar] [CrossRef]
- Lepskiy, M.; Lepska, N. The War in Ukraine and its Challenge to NATO: Peacekeeping to Peace Engineering. Am. Behav. Sci. 2023, 67, 402–425. [Google Scholar] [CrossRef]
- To, K.K.-W.; Tsang, O.T.-Y.; Leung, W.-S.; Tam, A.R.; Wu, T.-C.; Lung, D.C.; Yip, C.C.-Y.; Cai, J.-P.; Chan, J.M.-C.; Chik, T.S.-H.; et al. Temporal profiles of viral load in posterior oropharyngeal saliva samples and serum antibody responses during infection by SARS-CoV-2: An observational cohort study. Lancet Infect. Dis. 2020, 20, 565–574. [Google Scholar] [CrossRef]
- Daniel, K.; Hirshleifer, D.; Subrahmanyam, A. Investor Psychology and Security Market Under- and Overreactions. J. Finance 1998, 53, 1839–1885. [Google Scholar] [CrossRef]
- Kuchak, A.; Marinkovic, D.; Zehn, M. Finite Element Model Updating–Case Study of a Rail Damper. Struct. Eng. Mech. 2020, 73, 27–35. [Google Scholar] [CrossRef]
- Kuchak, A.J.T.; Marinkovic, D.; Zehn, M. Parametric Investigation of a Rail Damper Design Based on a Lab-Scaled Model. J. Vib. Eng. Technol. 2021, 9, 51–60. [Google Scholar] [CrossRef]
- Richter, W.D.; Uebel, L.; Kristen, G. Combino Plus Used for Two Years in the Budapest Tram Network. eb Elektr. Bahnen 2008, 106, 439–447. [Google Scholar]
- Takács, P. Theoretical optimization of tram availibility for daily schedules (role of public transport and trams in Budapest). Stud. Mundi Econ. 2020, 7, 86–96. [Google Scholar] [CrossRef]
- Ahac, M.; Lakušić, S. Tram Track Maintenance-Planning by Gauge Degradation Modelling. Transport 2015, 30, 430–436. [Google Scholar] [CrossRef]
- Kurhan, D.; Fischer, S. Modeling of the Dynamic Rail Deflection Using Elastic Wave Propagation. J. Appl. Comput. Mech. 2022, 8, 379–387. [Google Scholar] [CrossRef]
- Szalai, S.; Eller, B.; Juhász, E.; Movahedi, M.R.; Németh, A.; Harrach, D.; Baranyai, G.; Fischer, S. Investigation of deformations of ballasted railway track during collapse using the Digital Image Correlation Method (DICM). Rep. Mech. Eng. 2022, 3, 258–282. [Google Scholar] [CrossRef]
- Sysyn, M.; Nabochenko, O.; Kovalchuk, V.; Przybyłowicz, M.; Fischer, S. Investigation of interlocking effect of crushed stone ballast during dynamic loading. Rep. Mech. Eng. 2021, 2, 65–76. [Google Scholar] [CrossRef]
- Falamarzi, A.; Moridpour, S.; Nazem, M. Development of a tram track degradation prediction model based on the acceleration data. Struct. Infrastruct. Eng. 2019, 15, 1308–1318. [Google Scholar] [CrossRef]
- Ižvolt, L.; Šestáková, J.; Šmalo, M. Tendencies in the Development of Operational Quality of Ballasted and Ballastless Track Superstructure and Transition Areas. IOP Conf. Ser. Mater. Sci. Eng. 2017, 236, 012038. [Google Scholar] [CrossRef]
- Zehmed, K.; Jawab, F. The performance of tramway service from the users’ viewpoint: A comparative analysis between two Moroccan cities. Arch. Transp. 2021, 60, 7–21. [Google Scholar] [CrossRef]
- Gáspár, L.; Horvát, F.; Lublóy, L. Közlekedési Létesítmények Élettartama; Universitas-Győr Nonprofit Kft.: Győr, Hungary, 2011; ISBN 9789639819733. [Google Scholar]
- Gáspár, L. Lifetime Engineering Principles and Durable Roads. Int. J. Pavement Eng. Asph. Technol. 2016, 17, 58–72. [Google Scholar]
- Gáspár, L.; Bencze, Z. Long-Life Pavements—European and American Perspectives. N. Build. Mater. Constr. World 2018, 24, 122–135. [Google Scholar]
- Falamarzi, A.; Moridpour, S.; Nazem, M.; Hesami, R. Integration of Genetic Algorithm and Support Vector Machine to Predict Rail Track Degradation. In Proceedings of the MATEC Web of Conferences, Bangkok, Thailand, 3–5 August 2018; Volume 259, p. 02007. [Google Scholar]
- Falamarzi, A.; Moridpour, S.; Nazem, M.; Cheraghi, S. Development of Random Forests Regression Model to Predict Track Degradation Index: Melbourne Case Study. In Proceedings of the ATRF 2018—Australasian Transport Research Forum 2018, Proceedings, Darwin, Australia, 30 October–1 November 2018; pp. 1–12. [Google Scholar]
- Macura, D.; Laketić, M.; Pamučar, D.; Marinković, D. Risk Analysis Model with Interval Type-2 Fuzzy FMEA—Case Study of Railway Infrastructure Projects in the Republic of Serbia. Acta Polytech. Hung. 2022, 19, 103–118. [Google Scholar] [CrossRef]
- Marschnig, S.; Veit, P. Making a Case for Under-Sleeper Pads. Int. Railw. J. 2011, 51, 27–29. [Google Scholar]
- Veit, P.; Marschnig, S. Towards a More Sustainable Track. Railw. Gaz. Int. 2011, 167, 42–44. [Google Scholar]
- Veit, P. Qualität Im Gleis—Luxus Oder Notwendigkeit? Der Eisenbahningenieur 2006, 57, 32–37. [Google Scholar]
- TU Graz Strategie Fahrweg, Research Report. Available online: https://online.tugraz.at/tug_online/fdb_detail.ansicht?cvfanr=F12083&cvorgnr=37&sprache=1 (accessed on 8 February 2023).
- BKV Ltd. Technical Instructions for the Construction and Maintenance of Tramway Tracks, P.1.; BKV Ltd.: Budapest, Hungary, 2019. [Google Scholar]
- BKV Ltd. Technical Instructions for the Construction and Maintenance of Subway Tracks, P.1.; BKV Ltd.: Budapest, Hungary, 2008. [Google Scholar]
- Jóvér, V.; Gáspár, L.; Fischer, S. Investigation of Tramway Line No. 1, in Budapest, Based on Dynamic Measurements. Acta Polytech. Hung. 2022, 19, 65–76. [Google Scholar] [CrossRef]
- Metalelektro Railway Diagnostic Track Geometry Measurement. Available online: https://www.metalelektro.eu/track-geometry (accessed on 15 January 2023).
- Jover, V.; Fischer, S. Statistical Analysis of Track Geometry Parameters on Tramway Line No. 1 in Budapest. Balt. J. Road Bridg. Eng. 2022, 17, 75–106. [Google Scholar] [CrossRef]





























| Traffic Load Class | MGT 1/Year/Direction |
|---|---|
| I./A. extremely heavy loaded line | >7.5 |
| I./B. heavily loaded line | 5.0 … 7.5 |
| II. medium loaded line | 2.5 … 5.0 |
| III. low loaded line | <2.5 |
| ID. of Reference Sections | Type of Superstructure System | Average Traffic Load [MGT/Year] | Age [Year] |
|---|---|---|---|
| Section #1 | Ballasted track | 1.92 | 38 |
| Section #2 | Ballasted track | 1.24 | 36 |
| Section #3 | Ballasted track | 3.91 | 21 |
| Section #4 | Ballasted track | 6.49 | 5 |
| Section #5 | Concrete slab track | 4.55 | 37 |
| Section #6 | Concrete slab track | 6.70 | 22 |
| Section #7 | Concrete slab track | 4.30 | 13 |
Disclaimer/Publisher’s Note: The statements, opinions and data contained in all publications are solely those of the individual author(s) and contributor(s) and not of MDPI and/or the editor(s). MDPI and/or the editor(s) disclaim responsibility for any injury to people or property resulting from any ideas, methods, instructions or products referred to in the content. |
© 2023 by the authors. Licensee MDPI, Basel, Switzerland. This article is an open access article distributed under the terms and conditions of the Creative Commons Attribution (CC BY) license (https://creativecommons.org/licenses/by/4.0/).
Share and Cite
Jóvér, V.; Major, Z.; Németh, A.; Kurhan, D.; Sysyn, M.; Fischer, S. Investigation of “Open” Superstructure Tramway Tracks in Budapest. Infrastructures 2023, 8, 33. https://doi.org/10.3390/infrastructures8020033
Jóvér V, Major Z, Németh A, Kurhan D, Sysyn M, Fischer S. Investigation of “Open” Superstructure Tramway Tracks in Budapest. Infrastructures. 2023; 8(2):33. https://doi.org/10.3390/infrastructures8020033
Chicago/Turabian StyleJóvér, Vivien, Zoltán Major, Attila Németh, Dmytro Kurhan, Mykola Sysyn, and Szabolcs Fischer. 2023. "Investigation of “Open” Superstructure Tramway Tracks in Budapest" Infrastructures 8, no. 2: 33. https://doi.org/10.3390/infrastructures8020033
APA StyleJóvér, V., Major, Z., Németh, A., Kurhan, D., Sysyn, M., & Fischer, S. (2023). Investigation of “Open” Superstructure Tramway Tracks in Budapest. Infrastructures, 8(2), 33. https://doi.org/10.3390/infrastructures8020033

