Next Article in Journal
An Analysis of the Wind Parameters in the Western Side of the Black Sea
Next Article in Special Issue
Correction: Majeed, A.; Lee, S. Towards Privacy Paradigm Shift Due to the Pandemic: A Brief Perspective. Inventions 2021, 6, 24
Previous Article in Journal
Introducing the Living Lab Approach in the Coastal Area of Constanta (Romania) by Using Design Thinking
Previous Article in Special Issue
The Latest Advances in Wireless Communication in Aviation, Wind Turbines and Bridges
 
 
Font Type:
Arial Georgia Verdana
Font Size:
Aa Aa Aa
Line Spacing:
Column Width:
Background:
Article

Mechanism Cleaning of the Ear Canal

1
Department of Mechanical Engineering, Catholic University of Ávila, Calle Canteros, s/n, 05005 Ávila, Spain
2
Escuela Politécnica, Campus Los Jeronimos, s/n, Universidad Católica de Murcia, 30107 Murcia, Spain
3
Fracture & Structural Integrity Research Group (FSIRG), E.P.S., Campus Viriato, University of Salamanca (USAL), Avda. Requejo 33, 49022 Zamora, Spain
*
Authors to whom correspondence should be addressed.
These authors contributed equally to this work.
Inventions 2022, 7(1), 20; https://doi.org/10.3390/inventions7010020
Submission received: 9 December 2021 / Revised: 18 January 2022 / Accepted: 28 January 2022 / Published: 30 January 2022
(This article belongs to the Collection Feature Innovation Papers)

Abstract

:
The cleaning of the ear canal is very important, and it is crucial that it is performed by an otolaryngologist as it requires a high level of competence and skill. The accumulation of cerumen or earwax in the ear canal is one of the most commonly observed problems in patients, and ignoring it may cause hearing loss, irritation and discomfort. There are a number of techniques that have been utilized in the past for cleaning the ear canal, including irrigation, i.e., curettage and water pick, and syringing. There are many patients who are unable to clean their ear canal through a natural self-cleaning process. The main aim of this study is to develop a unique model for ear cleaning free of irritation or discomfort, especially for those patients who have disorders of the self-cleaning ear canal process. The tool is designed specifically considering patient safety and comfort. However, the commercialization of this tool requires research and modification for improved quality results considering primarily the patient’s health.

1. Introduction

Cerumen, or ear wax, is a natural substance that is produced in the lateral third of the external auditory canal (EAC). Anatomically, this region houses a collection of pilosebaceous glands that include ceruminous glands, hair follicles, and sebaceous glands. The wax serves as a protective barrier for trapping foreign particles. There are a number of pathologies that can present in the EAC, including sebaceous cysts, boils, and even glandular tumors, but what affects patients most is the accumulation and impaction of cerumen [1].
Approximately 10 percent of children and 5 percent of normal healthy adults present cerumen impaction. The percentage amongst older patients in nursing homes is up to 57 percent, and 36 percent amongst patients with mental retardation [2].
Impaction is more likely to occur when normal extrusion of earwax is prevented in some way; either by the use of hearing aids, persistent use of earplugs/headphones to reduce noise or listen to music, or simply trying to clean the ears with cotton swabs or swabs [1]. Common symptoms of build-up of cerumen are discomfort, hearing loss, tinnitus, dizziness, and chronic cough. It also can contribute to otitis externa [3,4].
The effective cleaning of the ear canal by removal of wax or cerumen is crucially performed by an otolaryngologist, and requires significant skill [5]. Moreover, general practitioners, audiologists, emergency crew, nurses and other medicine practitioners can encounter cases of excessive ear wax causing discomfort and loss of hearing [6]. Cerumen impaction is defined as the accumulation of earwax causing symptoms or preventing assessment during ear examination.
The accumulation of excess ear wax is considered one of the most common problems. According to a statistical analysis around 0.7 to 2 million adults suffer from this problem in England and Wales. However, while the accumulation of ear wax is an individual issue, there are certain risk factors, including hair in the ear canal, use of cotton buds, age, physical barriers in wax emission, ear skin safety, and anatomical deformity [7]. The cleaning of the ear is a very common task for practitioners. In the United States, according to a statistical analysis, around 150,000 ear cleaning procedures are carried out [8]. Sharp et al., in a survey study in Edinburgh, concluded that the number of patients per surgery requiring ear cleaning per week was nine while other types of patients with ear conditions were only two per week [9]. In recent research, it is stated that the number of ear irrigations performed in England and Wales is around 2.4 million per year [3].
Ear canal cleaning is a very common practice of ear, nose and throat (ENT) clinical service centers. Cerumen or ear wax is basically a solid secretion and sebum based sweaty cocktail with a mixture of skin and hair. It provides protection to the external ear auditory canal. The complete ear canal serves as a factory for cerumen presenting very different physical and anatomical characteristics for an effective and efficient self-cleaning system present in the ear canal. Cerumen impaction is usually caused by the failure of epithelial transfer from the external ear auditory canal. This is due to continuous poking with keys, cotton buds, bobby pins and twisted napkin corners. This poking by objects allows the ear wax to penetrate deeper in the ear canal causing serious hearing problems [10,11].
The charges for ear cleaning or impacted ear treatment are different across all groups of clinical commissioning. According to the advice of the National Institute for Health and Care Excellence (NICE), treatment of ear cleaning or impaction should be performed as primary care [12], without interruption, by clinical commissioning groups or general practices. The treatment finance for these extra services differs by clinical commissioning group, with a number of practices not providing irrigation because of safety issues, the high level of service required and economic factors. A very high cost of setup and the need of training, make micro-suction at the level of the individual practice unfeasible. However, a number of micro-suction services have been provided by clinical commissioning groups on the basis of community policies. According to the standards of the National Institute for Health and Care Excellence (NICE), onward referral is not allowed and referral to a local hospital for micro-suction is not permitted either.
The main actions carried out to clean the ear canal in order to prevent a plug of earwax from occurring are manual mechanisms, irrigation and the use of cerumenolytics.
Since manual removal does not expose the ear canal to moisture, the risk of infection may be reduced. In order to minimize the risk of trauma to the external auditory canal or tympanic membrane, it is necessary to have a cooperative patient and more clinical skill than for other methods [13]. One of the most used mechanisms is cotton swabs, which have been shown to cause dermatological conditions and infections that can be severe [14]. Other researchers have confirmed they are much abused by most of the population with a lack of awareness of the dangers that can be caused by their misuse [15,16,17].
There are two ways in which irrigation may be attempted: alone or with a ceruminolytic pretreatment. There are various irrigation methods available in the office setting. Ear syringes are low-cost and readily available; however, some can be slow, poorly balanced, or cause minor ear trauma [8,18,19].
Oral jet irrigators are fast, portable, and inexpensive but they can also cause some trauma, including tympanic membrane perforation [8,18,19,20]. The main problem with irrigation is the risk of infection and dizziness that can result from it, both in clinical use [21] and in domestic use with tap water [22]. In both types of usage there are advantages and disadvantages [23]. Researchers recommend undertaking clinical studies before using this method to minimize the risks involved [6,24].
There are three types of cerumen-softening preparations: water-based, oil-based, and non–water-based/non–oil-based. As with irrigation, cerumenolytics should be avoided in patients with a suspected breach of the tympanic membrane from previous surgery, insertion of myringotomy tubes, or tympanic membrane perforation [24].
Utility models, whose purpose is to clean the ear canal, have recently been registered. However, registered utility models focus on clinical use, so can only be used by qualified health personnel; [25,26,27] other methods, such as irrigation [28,29,30], or machines and/or mechanisms that require electricity or batteries are not exempt from common side effects such as irritation or otitis [31,32,33].
The present invention comprises a manual earwax removal procedure, with the aim of meeting the described need, which does not cause the main possible problems observed with other types of methodology, such as otitis, dizziness, eardrum perforation and skin irritation.

2. Treatment Procedures

The treatment approaches for ear canal cleaning are classified in four different groups, which are listed below;
  • Observation;
  • Cerumenolytic agents;
  • Irrigation;
  • Manual cleaning.
Among these, the utilization of cerumenolytic agents is an effective approach for cleaning the ear canal. Examples of cerumenolytic agents are water/saline, oil, almond oil, sodium bicarbonate and olive oil. The utilization of cerumenolytic agents is usually combined with the technique of either manual removal/cleaning or irrigation. The current standards of the National Institute for Health and Care Excellence (NICE) recommend the use of cerumenolytic agents for three to five days, after which an irrigation should be carried out, if symptoms still continue [7]. A number of experiments and research studies have claimed that the use of cerumenolytic agents for over five days does not provide any further significant effects or improvements [12].
According to literature review, studies comparing manual ear cleaning and irrigation are very few. Moreover, in the case of irrigation contraindications or failure, the widely adopted convention of patient referral to an ear, nose, throat (ENT) specialist for manual ear canal cleaning, should be considered [7,10]. Irrigation difficulties or contraindications may include ear canal anatomical abnormalities, including exostosis, osteoma, and congenital abnormalities, ear surgery, and tympanic membrane perforation history (including ventilation/grommet tubes), as well as single hearing ear, age less than 16 years, active or recurrent otitis externa history or preceding irrigation prejudice [7,12].

2.1. Irrigation

Risk management is very important in the case of irrigation because this technique is full of risks. Sharp et al., in a survey-based research study, determined the complexities of ear irrigation describing the ‘1000 practices’ of irrigation. According to the report, 37% of irrigation practices failed to remove wax from the ear canal, 22% of them caused otitis externa, 19% affected a perforated tympanic membrane and 15% damaged the external ear auditory canal [9]. In other research, the stated problems or complexities were otitis media, pain and vertigo. All these complications were described as serious. Wallis et al., in New Zealand, analyzed the rates of primary treatment care injuries with around 13. 5% of injuries over five years due to ear cryotherapy and syringing [34].
Ear irrigation associated with iatrogenic otitis externa is a significant problem and researchers should consider this field to increase awareness and improve outcomes. In a research study by Bruins et al., the estimate of risk associated with irrigation induced otitis externa was around 3% [35]. Although this risk factor is small, it equates to around 69,000 cases of irrigation based on otitis externa every year in England and Wales. Malignant otitis externa is also observed in patients of diabetes and patients with affected immune systems and is most commonly caused by the bacterium Pseudomonas. The most commonly used technique to overcome the effects of malignant otitis externa is ear irrigation; but, for this reason, ear irrigation should be avoided for patients with a weak immune system and diabetes patients [36].

2.2. Micro-Suction

For manual cleaning of the ear or the ear canal involving the removal of ear wax, the typically used technique is micro-suction. A great benefit of using this method is that it is very simple and can be performed in a clinical environment by direct vision, as compared to the irrigation method which has limitations in a typical clinical environment. The exposure to moisture in micro-suction of the ear canal is strictly prohibited. This process is also very fast compared to ear irrigation. In a recent research study by Mulla et al., the efficiency of micro-suction was analyzed; and it was found that, analyzing 159 micro-suction patients, approximately 91% of the cases were recorded with successful removal of ear wax from the ear canal [37].
Reports associated with the safety of the micro-suction method for ear canal cleaning or ear wax removal are few. In a prospective research study of 164 patients which was undertaken in an ear, nose, and throat (ENT) facility, it was found that 55% of the patients suffered some negative consequences of this technique of ear wax removal [38]. However, these consequences were for a short time but could be serious. The most commonly observed effects were partial loss of hearing, low hearing, procedure loudness and faintness. Another observation of the study was that the use of cerumenolytic agents before micro-suction reduced pain during ear cleaning and wax removal. The technique of micro-suction was considered an effective method in terms of efficacy and patient adaptability [15].

3. Model Invention

3.1. Invention Idea

Self-cleaning of the ear canal is a natural process but it has often been observed that patients are not able to expel the cerumen, leading to the accumulation of wax inside the ear canal affecting the hearing ability of patient and even causing infections and deafness. The most commonly used method is still swabs. There are a number of models presented in research studies, and numerous devices and techniques have been utilized for cleaning of the ear canal. The misuse of all of these devices and techniques causes serious problems increasing the rate of earwax accumulation. The utilization of hearing sprays is also very common as an alternative for the cleaning of the ear canal, but these sprays also cause irritation.
The basic problem is the cleaning of the ear auditory canal for those patients who are unable to carry out ear wax removal through a natural self-cleaning process. For this purpose, a very effective mechanical cleaning solution is required which ensures high quality, and quick cleaning of the ear canal removing cerumen. The solution should ensure the prevent creation of plugging in the ear canal duct.
In this research, a model is proposed for the effective cleaning of the ear canal. The advantage of this proposed model over other devices, techniques and instruments is that its utilization does not have adverse effects on the ear canal or hearing capability of the patient. Although the utilization of swabs and solutions produces irritation or infections in the external ear auditory canal, the proposed model is designed to overcome these adverse effects.

3.2. Invented Model Description

Considering all the facts about this proposed model described above, the basic objective of this research study is to assist auditory patients who have disorders of the ear canal self-cleaning process. The modeled tool consists of a curve-structured bands assembly covered with a hollow stem. These bands are of curved shape but inside the stem they present as straight. When this straight hollow stem enters the ear canal, a switch-based activation system allows the bands to leave the cavity of the stem, entering the ear canal and adopting a hemispherical clamp reaching towards the walls of the ear canal. After activation of a switch, the tool is carried out of the ear canal also carrying ear wax present inside the ear canal avoiding further accumulation of cerumen. As the eardrum which is located adjacent to the ear canal is a highly sensitive part of ear, the length of the bands has to be controlled so that they do not affect or even touch the eardrum. So, a system was designed to stop or control the length of bands entering the ear canal for safety purposes.

3.3. Material Properties & Selection

The selection of material for the construction and design of this tool is a very crucial step. The material for this application requires to be reusable, biocompatible and should have hygienic characteristics. For the dragging of earwax in the last step of the procedure, the material should not cause irritation for the patient. Instead, the material should be soft and flexible for patient comfort.
The selection of material should consider the adverse effects of cerumen removal and damage. In the literature, a number of plastic-based materials have been utilized and have been found best for human application without causing harm or causing adverse effects, compared to metals that may cause irritation or bleeding. Poly(methyl methacrylate) (PMMA) is a polymer that can be utilized for producing the stem (1) and plunger (2) of this tool. PMMA is rigid and has great dimensional stability which is required by the stem (1) and to support the assembly of bands or plunger (2) inside it. Vinyl based polymers may also be considered, such as plasticized polyvinyl chloride, acrylonitrile butadiene styrene (ABS), nylon, polyurethane, polyethylene terephthalate (PET), chlorinated polyethylene (CPE) silicon (especially PDMS), polylactic acid (PLA), polyether ether ketone (PEEK), and elastomeric blends. All these materials are flexible and do not have harmful or adverse effects on the ear auditory canal. However, PEEK is a quite rigid material and may cause pain when the stem is introduced into the ear, but blending with suitable elastomers can overcome this issue. The grip (4) and stop (4) of the tool must be quite rigid because they have to support the whole tool geometry without hurting, harming or damaging the ear canal walls. The acrylonitrile butadiene styrene (ABS), polyurethane polyethylene terephthalate (PET) and elastomeric rubber-based polymers are best for this application.

3.4. Model Components

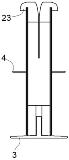
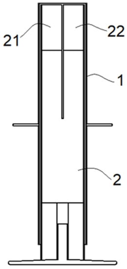
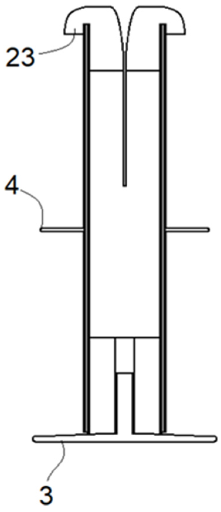
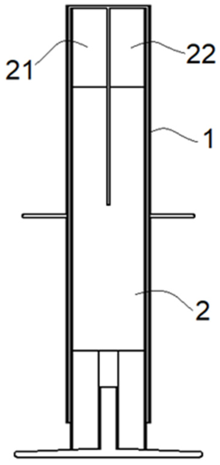
As this tool is designed for effective and comfortable cleaning of the ear canal, some illustrated figures for the demonstration of the ear cleaning tool are presented. Figure 1 shows the stem (1) and Figure 2 represents the plunger (2) consisting of bands, which will be in the hollow cavity of stem. Two cross-sections of the ear cleaning tool have been drawn with hemispherical clamps (23) ultimately making the bands (21, 22) in Figure 3 and Figure 4, in the direction or orientation through which they will be introduced into the cavity before leaving the stem cavity. Figure 5 illustrates tool operation presenting the position of the tool inside the ear canal before removal following the path optimized by the clamp.

3.5. Modeled Tool Working

According to the above presented figures, it can be easily seen that for the use of a hollow and soft stem (1) with optimized length it is necessary for the ear to be at an angle because it has to be inserted into the ear canal. For the insertion of the stem, a plunger is utilized which should have a minimum of two conical bands with inherently flexible properties. The bands are designed to open from the interior side with a diameter larger than the stem (1) through which they are inserted in the ear canal. Once they are fully inserted in the ear canal, the plunger moves inside the ear canal gathering cerumen or earwax cleaning all the accumulation. Then the hemispherical clamp (23) produces an outgoing path for safe and clean removal of the tool from the auditory ear canal.
The stem (1) has a stop (4) outside, which is designed to widen the ear canal smoothly without any damage during the introduction of the stem inside the ear canal. With the plunger at the bottom end, there is a grip (3) which also acts as a stop (4) at the very start of stem introduction inside the ear canal. Its main function is impulsion along the stem. It also helps in pulling the tool out of the auditory canal. The stem (1) and plunger (2) should be flexible enough to deal with the sensitive auditory canal.

4. Discussion

A very famous piece of advice given by ear, nose and throat (ENT) surgeons is to never take anything smaller than your elbow to your ear, as surgeons know how harmful ear wax could be and how important the protection of the ear and hearing system is. It is a widespread belief that cerumen is dirty or socially offensive. People often try to remove cerumen from the ear, ultimately pushing it deeper down in the ear canal. The accumulation of ear wax leads to tinnitus, impaction and reduced hearing. At this stage, they have to consult a doctor.
The practice of cerumen removal or ear canal cleaning has been performed since ancient times. There are a number of techniques adopted for ear cleaning including irrigation i.e., curettage and water pick, and syringing.
The main objective of this study was to develop a model for ear canal cleaning particularly for those whose ear canal is unable to perform the self-cleaning process for cerumen removal or ear cleaning. The need of this tool was suggested because all other techniques, adding irrigation, manual removal or others, have some disadvantages, including irritation, ear damage, loss of hearing, ear canal damage, eardrum damage, poor ear cleaning and even deafness. This model was designed and tested a number of times at laboratory scale to ensure the absence of any adverse effects associated with the health of the patient. To remove all uncertainty, the selection of the material was performed considering all the factors that may affect human health. The operation of the tool is very simple. It consists basically of two major components, a stem and a plunger. The hollow stem enters the ear auditory canal having bands in it which further move inside the canal gripping the cerumen accumulation. The length of the bands entering inside the canal is controlled by an automated activation switch to avoid eardrum damage since the eardrum is a very sensitive part of the ear. There is a stop and grip outside the hollow stem ensuring the right path of the stem is introduced inside the auditory canal. The path assigned by the stop and grip is followed by a stem to enter in the ear auditory canal. The stop and grip are present to protect the walls of the canal from any harmful activity or damage; they also ensure avoidance of falling accumulated cerumen from the tool at the time of the stem being removed after operation. The material of the plunger, and its respective bands, was selected considering the factors of flexibility, biocompatibility, stiffness and softness, to avoid any serious damage to the ear canal. Consequently, this tool is very effective for ear cleaning purposes, especially for those patients who are unable to self-clean. However, the commercialization of this tool requires some research and modifications for improvement and quality results considering the patient’s health first.
As it is a manual cleaning invention without the use of irrigation or cerumenolytics, it solves the potentially serious problems generated by these, such as otitis, traumas, skin lesions or eardrum perforations [8,18,19,23,24]. Current manual cleaning, as mentioned before, is mostly performed with cotton swabs and other devices that can cause skin irritation, infection or trauma [13,14].
The proposed invention is made up of semi-flexible materials (parts 21 and 22, Figure 2) which gently clean the inside of the canal, reducing possible skin irritation.
In addition, the proposed invention is an easy-to-use manual method for cleaning, which can be used by anyone without the need for health qualifications. Part 4 detailed in Figure 1 ensures the mechanism is safe against eardrum perforation, preventing access of the mechanism to this area.
It has been shown that for the methods of cleaning the ear canal by irrigation, such as cerumenolytics or specific equipment used only in otorhinolaryngology consultations, it would be valuable to carry out prior clinical studies to minimize the risks [6,23,24].

5. Conclusions

The proposed mechanism does not require previous study for its use, since its use does not generate possible adverse effects or previously observed pathologies.
The proposed invention is an earwax removal mechanism for frequent use which removes the earwax located in the ear canal.
The main differentiating characteristics that add value to the invention are:
-
Easy-to-use mechanism that does not require specialist qualifications, since it is applied with a manual mechanical drive.
-
It does not have any possible adverse effects; it does not irritate the dermis due to both the semi-flexible materials that make up the drag part and its morphology.
-
It does not produce tympanic perforations due to its safety structure, which prevents it from being introduced to the eardrum.
However, the invention has noteworthy limitations such as:
-
It cannot be applied if a cerumen plug has already been produced, given that use of the procedure could cause it to potentially to be pushed inwards, aggravating the pathology. Therefore, it is referred to as a frequently used ear canal cleaning mechanism to prevent plug formation.
-
The greatest limitation is the reluctance of the population to change the methodology and/or equipment used for cleaning the ear canal.
Work is currently being undertaken on the implementation of other methodologies for the described invention, such as the application of cerumenolytics through it.

6. Patent

This utility mechanism for cleaning of the ear canal has been registered with the following code corresponding to the invention’s country of origin, Spain: U202032644.

Author Contributions

All authors contributed equally to this work. All authors have read and agreed to the published version of the manuscript.

Funding

This research received no external funding.

Institutional Review Board Statement

Not applicable.

Conflicts of Interest

The authors declare no conflict of interest.

References

  1. Wright, T. Ear wax. BMJ 2015, 351, h3601. [Google Scholar] [CrossRef] [PubMed]
  2. Roeser, R.J.; Ballachanda, B.B. Physiology, pathophysiology, and anthropology/epidemiology of human earcanal secretions. J. Am. Acad. Audiol. 1997, 8. [Google Scholar] [CrossRef] [Green Version]
  3. Guest, J.; Greener, M.; Robinson, A.; Smith, A. Impacted cerumen: Composition, production, epidemiology and management. QJM 2004, 97, 477–488. [Google Scholar] [CrossRef] [PubMed] [Green Version]
  4. Propst, E.J.; George, T.; Janjua, A.; James, A.; Campisi, P.; Forte, V. Removal of impacted cerumen in children using an aural irrigation system. Int. J. Pediatr. Otorhinolaryngol. 2012, 76, 1840–1843. [Google Scholar] [CrossRef] [PubMed]
  5. Mitka, M. Cerumen Removal Guidelines Wax Practical. JAMA 2008, 300, 1506. [Google Scholar] [CrossRef] [PubMed]
  6. McCarter, D.F.; Courtney, A.U.; Pollart, S.M. Cerumen impaction. Am. Fam. Physician 2007, 75, 1523–1528. [Google Scholar] [PubMed]
  7. National Institute for Health and Care Excellence (NICE). Earwax [Clinical Knowledge Summaries]. 2012. Available online: http://cks.nice.org.uk/earwax (accessed on 25 March 2020).
  8. Grossan, M. Cerumen removal—Current challenges. Ear Nose Throat J. 1998, 77, 541–548. [Google Scholar] [CrossRef]
  9. Sharp, J.F.; Wilson, J.A.; Ross, L.; Barr-Hamilton, R.M. Ear wax removal: A survey of current practice. BMJ 1990, 301, 1251–1253. [Google Scholar] [CrossRef] [Green Version]
  10. Sim, D.W. Wax plugs and cotton buds. J. Laryngol. Otol. 1988, 102, 575–576. [Google Scholar] [CrossRef]
  11. Zivic, R.C.; King, S. Cerumen-impaction management for clients of all ages. Nurse Pract. 1993, 18, 33–36. [Google Scholar] [CrossRef]
  12. Ftouh, S.; Harrop-Griffiths, K.; Harker, M.; Munro, K.J.; Leverton, T. Hearing loss in adults, assessment and management: Summary of NICE guidance. BMJ 2018, 361, k2219. [Google Scholar] [CrossRef] [PubMed]
  13. Lee, L.M.; Govindaraju, R.; Hon, S.K. Cotton bud and ear cleaning—A loose tip cotton bud? Med. J. Malays. 2005, 60, 85. [Google Scholar]
  14. Ahmed, S.; Zaheer, S.A.I.; Shabbir, S.M.A.; Rao, S.; Islam, T.; Ahmed, B. Association of dermatological conditions of external ear with the use of cotton buds. J. Enam Med. Coll. 2014, 4, 174–176. [Google Scholar] [CrossRef] [Green Version]
  15. Gabriel, O.T.; Mohammed, U.A.; Paul, E.A. Knowledge, attitude and awareness of hazards associated with use of cotton bud in a nigerian community. Int. J. Otolaryngol. Head Neck Surg. 2015, 4, 248–253. [Google Scholar] [CrossRef] [Green Version]
  16. Khan, N.B.; Thaver, S.; Govender, S.M. Self-ear cleaning practices and the associated risk of ear injuries and ear-related symptoms in a group of university students. J. Public Health Afr. 2017, 8, 555. [Google Scholar] [CrossRef] [Green Version]
  17. AlShehri, A.; Asiri, K.; AlAhmari, M.; Alwabel, H.; AlAhmari, Y.; Mahmood, A. Knowledge, attitudes, and practices of self-ear cleaning among medical and nonmedical students at King Khalid University, Abha, Saudi Arabia. Int. J. Med. Dev. Ctries 2020, 960–967. [Google Scholar] [CrossRef]
  18. Grossan, M. Safe, effective techniques for cerumen removal. Geriatrics 2000, 55, 80–83. [Google Scholar]
  19. Roberts, J.R.; Hedges, J.R. Clinical Procedures in Emergency Medicine, 4th ed.; Saunders: Philadelphia, PA, USA, 2004; p. 1290. [Google Scholar]
  20. Dinsdale, R.C.; Roland, P.S.; Manning, S.C.; Meyerhoff, W.L. Catastrophic otologic injury from oral jet irrigation of the external auditory canal. Laryngoscope 1991, 101, 75–78. [Google Scholar] [CrossRef]
  21. Schumann, J.A.; Toscano, M.L.; Pfleghaar, N. Ear Irrigation; StatPearls Publishing: Treasure Island, FL, USA, 2017. [Google Scholar]
  22. Rubin, J.; Kamerer, D.B.; Yu, V.L.; Wagener, M. Aural irrigation with water: A potential pathogenic mechanism for inducing malignant external otitis? Ann. Otol. Rhinol. Laryngol. 1990, 99, 117–119. [Google Scholar] [CrossRef]
  23. Shope, T.R.; Chen, C.P.; Liu, H.; Shaikh, N. Randomized Trial of Irrigation and Curetting for Cerumen Removal in Young Children. Front. Pediatr. 2019, 7, 216. [Google Scholar] [CrossRef] [Green Version]
  24. Hand, C.; Harvey, I. The effectiveness of topical preparations for the treatment of earwax: A systematic review. Br. J. Gen. Pr. 2004, 54, 862–867. [Google Scholar]
  25. Li, S.H.; Liu, Y.; Lu, J.; Liao, J.J. Ear Cleaning and Nursing Device Based on Ear-Nose-Throat Department. CN212308204U, 8 January 2021. [Google Scholar]
  26. Chen, Z.X. Ear Cleaning Device for Pediatric Medical Use. CN112842692A, 28 May 2021. [Google Scholar]
  27. Yu, C.S. Ear Cleaning Device for Otolaryngological Department. CN215080832U, 10 December 2021. [Google Scholar]
  28. Wu, S.H.; Zhu, J.J.; Wu, X.J. Ear Cleaning and Medicine Applying Device. CN212038568U, 1 December 2020. [Google Scholar]
  29. Kui, P.; Chen, R.J.; Zhang, D.W. A Washing Unit for External Auditory Canal. CN213218208U, 18 May 2021. [Google Scholar]
  30. Xu, H.X.; Wang, Q.Q.; Sheng, G.Q. Clinical Ear Device of Washing of Otology. CN214910368U, 30 November 2021. [Google Scholar]
  31. Wu, Y.P. Novel Ear Cleaning Device. CN213406556U, 11 June 2021. [Google Scholar]
  32. Wu, W.D.; Shen, Y.R.; Yang, S.W. Portable Earplug Compression Storage Case. CN215324153U, 28 December 2021. [Google Scholar]
  33. Zeng, S.; Lin, Y.T.; Zhou, H.Z. Ear Canal Cleaning Instrument. CN215020427U, 7 December 2021. [Google Scholar]
  34. Wallis, K.; Dovey, S. No-fault compensation for treatment injury in New Zealand: Identifying threats to patient safety in primary care. BMJ Qual. Saf. 2011, 20, 587–591. [Google Scholar] [CrossRef] [PubMed]
  35. Bruins, M.; Wijshake, D.; Rossum, S.D.V.-V.; Overmeen, R.K.; Ruijs, G. Otitis externa following aural irrigation linked to instruments contaminated with Pseudomonas aeruginosa. J. Hosp. Infect. 2013, 84, 222–226. [Google Scholar] [CrossRef] [PubMed]
  36. Zikk, D.; Rapoport, Y.; Himelfarb, M.Z. Invasive External Otitis after Removal of Impacted Cerumen by Irrigation. N. Engl. J. Med. 1991, 325, 969–970. [Google Scholar] [CrossRef] [PubMed]
  37. Prowse, S.J.; Mulla, O. Aural microsuction for wax impaction: Survey of efficacy and patient perception. J. Laryngol. Otol. 2014, 128, 621–625. [Google Scholar] [CrossRef]
  38. Addams-Williams, J.; Howarth, A.; Phillipps, J.J. Microsuction aural toilet in ENT outpatients: A questionnaire to evaluate the patient experience. Eur. Arch. Otorhinolaryngol. 2010, 267, 1863–1866. [Google Scholar] [CrossRef]
Figure 1. Illustration of Invented Model.
Figure 1. Illustration of Invented Model.
Inventions 07 00020 g001
Figure 2. Illustration of Invented Model.
Figure 2. Illustration of Invented Model.
Inventions 07 00020 g002
Figure 3. Illustration of Invented Model.
Figure 3. Illustration of Invented Model.
Inventions 07 00020 g003
Figure 4. Illustration of Invented Model.
Figure 4. Illustration of Invented Model.
Inventions 07 00020 g004
Figure 5. Illustration of Invented Model Operation.
Figure 5. Illustration of Invented Model Operation.
Inventions 07 00020 g005
Publisher’s Note: MDPI stays neutral with regard to jurisdictional claims in published maps and institutional affiliations.

Share and Cite

MDPI and ACS Style

Rodríguez, R.; Curado, M.; Pastor, R.; Toribio, J. Mechanism Cleaning of the Ear Canal. Inventions 2022, 7, 20. https://doi.org/10.3390/inventions7010020

AMA Style

Rodríguez R, Curado M, Pastor R, Toribio J. Mechanism Cleaning of the Ear Canal. Inventions. 2022; 7(1):20. https://doi.org/10.3390/inventions7010020

Chicago/Turabian Style

Rodríguez, Rocío, Manuel Curado, Rosario Pastor, and Jesús Toribio. 2022. "Mechanism Cleaning of the Ear Canal" Inventions 7, no. 1: 20. https://doi.org/10.3390/inventions7010020

APA Style

Rodríguez, R., Curado, M., Pastor, R., & Toribio, J. (2022). Mechanism Cleaning of the Ear Canal. Inventions, 7(1), 20. https://doi.org/10.3390/inventions7010020

Article Metrics

Back to TopTop