Next Article in Journal
Enhancing Supercapacitor Performance with Zero-Dimensional Tin–Niobium Oxide Heterostructure Composite Spheres: Electrochemical Insights
Previous Article in Journal
Silver(I) and Copper(I) Complexes of Dicarboxylic Acid Derivatives: Synthesis, Characterization and Thermal Studies
 
 
Font Type:
Arial Georgia Verdana
Font Size:
Aa Aa Aa
Line Spacing:
Column Width:
Background:
Article

Functional Characteristics of Antioxidant Long-Life Ultra-Fine Bubble Hydrogen Water

1
Information Science Research Institute Ltd., 535-3 Mohno, Ueki-cho, Kita-ku, Kumamoto 861-0134, Japan
2
Faculty of Biological Sciences, Department of Applied Microbial Technology, Sojo University, 4-22-1 Ikeda, Nishi-ku, Kumamoto 860-0082, Japan
3
Graduate School of Health Sciences, Hirosaki University, 66-1 Honcho, Hirosaki 036-8564, Japan
4
Research Promotion Division, Hirosaki University, 1 Bun-kyo, Hirosaki 036-8564, Japan
*
Author to whom correspondence should be addressed.
Inorganics 2024, 12(5), 141; https://doi.org/10.3390/inorganics12050141
Submission received: 27 February 2024 / Revised: 12 May 2024 / Accepted: 15 May 2024 / Published: 20 May 2024

Abstract

Free radicals, including reactive oxygen species resulting from oxidative stress, are one of the major causes of biological disorders and are known to be closely related to the onset of lifestyle-related diseases such as aging, atherosclerosis, and diabetes, and their complications. Hydroxyl radicals, the most reactive and cytotoxic of reactive oxygen species, are selectively reduced by hydrogen. We have developed a method to produce more stable hydrogen water by dispersing hydrogen in water using ultra-fine bubbles (UFBs) with a bubble diameter of less than 1 μm. The present study reported on the functional characteristics of antioxidant long-life UFB hydrogen water. UFB hydrogen water with excellent storage stability is expected to have a variety of potential medical applications, including radiation damage reduction.

1. Introduction

Oxygen, essential for human life activities, changes into a highly reactive oxygen species (ROS) due to various stimuli. While ROS is a cellular transmitter and an immune function, excessive production damages cells and tissues. ROSs resulting from oxidative stress are one of the major causes of biological disorders and are known to be closely related to the onset of lifestyle-related diseases such as cancer, aging, atherosclerosis, and diabetes, and their complications. Those that play a protective role against ROSs and free radicals are collectively called antioxidants [1,2]. On the other hand, in the event of an accidental and unspecified number of radiation exposure accidents, treatment strategies to alleviate strong radiation-induced oxidative stress become extremely important, but there are currently no pharmaceutical countermeasures or treatments that can reduce radiation damage.
Hydroxyl radicals (•OH), the most reactive and cytotoxic of ROSs, are selectively reduced by molecular hydrogen (H2). Yanagihara et al. reported that the ingestion of neutral hydrogen-rich water produced by water electrolysis alleviated liver damage in rats induced by chemical oxidants [3]. Similarly, in rat hearts in vivo, the administration of molecular hydrogen led to a significant increase in superoxide dismutase, and molecular hydrogen alleviated lipid peroxidation caused by radiation [4]. Ohsawa et al. reported that the inhalation of hydrogen gas markedly suppressed brain injury by buffering the effects of oxidative stress. They demonstrated that hydrogen selectively reduced the hydroxyl radical, the most cytotoxic of ROSs, and effectively protected cells; however, hydrogen did not react with other ROSs, which possess physiological roles [5]. Recently, Hirano et al. also reported that hydrogen is easily applicable because it has no adverse effects and shows marked efficacy for many diseases, including oxidative stress-related diseases and chronic inflammatory diseases [6,7]. Furthermore, several papers reported the radioprotective effects of hydrogen. They discussed the mechanisms of hydrogen, not only as an antioxidant but also in intracellular responses including anti-inflammation, anti-apoptosis, and the regulation of gene expression, which demonstrated the prospects of hydrogen as a novel and clinically applicable radioprotective agent [8]. However, for easy ingestion of hydrogen, it is desirable to consume it as hydrogen water. Still, there are various issues regarding hydrogen concentration, storage methods after production, and long-term stability.
We have developed a method to produce more stable hydrogen water by dispersing hydrogen in water using ultra-fine bubbles (UFBs) with a bubble diameter of less than 1 μm [9]. According to the International Organization for Standardization (ISO)’s terminology, fine bubbles are defined as bubbles with a volume-equivalent diameter of less than 100 μm [10,11]. Additionally, microbubbles are defined as fine bubbles with a volume-equivalent diameter in the range from equal or greater than 1 μm to less than 100 μm, whereas UFBs are fine bubbles in the range less than 1 μm. In this study, it was also described as UFB hydrogen water. The present study reported on the functional characteristics of antioxidant long-life UFB hydrogen water. UFB hydrogen water with excellent storage stability is expected to be needed in the future for further fine bubbles in academic and business fields such as medicine, zoology, botany, life sciences, inorganic chemistry, electronics, atomic physics, and various manufacturing and cleaning industries.

2. Results

2.1. Oxidation–Reduction Potential of UFB Hydrogen Water

Using a hydrogen radical water circulation stirrer with a strong magnetic force of 0.8 to 1.0 Tesla, UFB hydrogen water was generated while adding hydrogen gas to pure water at a flow rate of 50 mL/min. Furthermore, as a control, a simple UFB hydrogen water was created without adding a magnetization function, pure water was prepared, and the oxidation–reduction potential (ORP) was measured using an Eh meter. The redox potential of deionized water is in the oxidation region at +360 mV, while the UFB hydrogen water prepared by this method showed a strong reduction state at −565 mV. The value of hydrogen water prepared for comparison was −260 mV (Table 1).
The dissolved hydrogen content was about 1.0 ppm–1.3 ppm in the reductive hydrogen water, but in the UFB hydrogen water, that content increased to 1.5 ppm–1.8 ppm. If the content of hydrogen gas increases in a water system, dissolved oxygen is expelled from the water system. Accordingly, the dissolved oxygen content decreased to 0.6 ppm or less in the reductive hydrogen water and 0.06 ppm or less in the UFB hydrogen water. Regarding the variation of pH value due to reduction treatment, the pH value increased by 0.4 in the reductive hydrogen water and by 0.6 in the UFB hydrogen water, respectively, compared with tap water, and therefore both did not show significant changes. It is shown that the water subjected to reduction treatment does not become alkaline and is safe for drinking.

2.2. 1,1-Diphenyl-2-picrylhydrazyl Radical Scavenging by UFB Hydrogen Water

DPPH (1,1-diphenyl-2-picrylhydrazyl) is a stable radical, and when radical scavenging substances (anthocyanin, lycopene, carotene, hydrogen radicals, etc.) are present, they react and change into non-radicals. Final DPPH concentrations of 1.96, 3.85, 5.67, 9,09, 75, 100, and 150 μM were prepared, and the radical scavenging capacity was determined (Figure 1). The results showed that the highest radical scavenging capacity of 6.5% was observed at 1.96 μM, which decreased in a concentration-dependent manner. Considering the measurement error, including the spectrophotometer, the following experiments were carried out using a DPPH concentration of 9.09 μM.

2.3. The Stability of the Radical Scavenging Capacity of UFB Hydrogen Water

Reaction solutions containing DPPH were heat-treated in boiling water for 10 to 40 min, and the radical scavenging capacity was determined. The results showed that heating for 10 min decreased the radical scavenging capacity by 17% compared to non-treatment, 44% at 20 min, 48% at 30 min, and no radical scavenging capacity was detected at 40 min, indicating a time-dependent loss of radical scavenging capacity (Table 2).
In addition, aqueous citric acid solutions at pH 3 and pH 4 were prepared using deionized water, and UFB hydrogen water was generated using the method described above. A DPPH radical solution was prepared to have a final concentration of 9.09 μM, and the radical scavenging ability of UFB hydrogen water generated from pH 3 and pH 4 citric acid solutions or ordinary deionized water was measured. Since radical scavenging ability was obtained at both pH 3 and pH 4, it can be said that radicals are not easily affected by pH. Although pH 3 and pH 4 are acids that are widely present in foods and beverages, hydrogen radical bubble treatment is widely used to impart antioxidant functions to foods and beverages, making it a promising technology for use in the development of functional foods.
Next, to investigate the effect of time on the radical scavenging capacity of UFB hydrogen water, the radical scavenging capacity of UFB hydrogen water left in a sealed polyethylene terephthalate container for three months at room temperature was investigated. The results showed that there was no decrease in both ORP and DPPH radical scavenging rates after three months (Figure 2), indicating that the antioxidant radical capacity of UFB hydrogen water has a long life span when stored in a sealed condition and that it maintains its functionality stably for three months.

3. Discussion

The methods for manufacturing microbubbles include the following: a simple ejector method, a venturi tube method, a Shirasu porous glass membrane pass method, a pressurization–depressurization method, an ultrasonic vibration method, a gas–liquid swirling two-phase method, and a cavitation method (including the cavitation generated in the back of a screw) [12,13,14,15,16]. Among the abovementioned methods, the pressurization–depressurization method, the ultrasonic vibration method, the gas–liquid swirling two-phase method, and the cavitation method can generate UFBs. In the present study, we reported on the characteristics of long-term stable UFB hydrogenated water using our original resonant foaming and vacuum cavitation production system. The size of the bubbles is particularly problematic in the preparation. Bubbles above 10 μm cannot perform their radical function because the bubbles are buoyant and cannot float above the water and float in the water; UFBs below 1 μm are not buoyant and will disperse in the water for a long period. The bubble mean particle size of the UFB hydrogen water used in this study was approximately 60 nm (Figure 3), which likely contributed to the high functionality. Due to its extremely small molecule size, hydrogen rapidly penetrates glass or plastic walls of any container, while aluminum walls can retain hydrogen gas for a relatively longer time [17]. Furthermore, under normal atmospheric pressure, H2 gas can be slightly dissolved in water for up to 0.8 mM (around 1.6 ppm, wt/vol), but it can only be stored as hydrogen water for a few days. There was no significant difference in the H2 concentration of UFB water prepared by this method, but it was found to be stable over a long period of time even when stored at room temperature in polyethylene terephthalate containers, and its radical scavenging capacity was maintained for three months. This feature enables stable storage of UFB hydrogen water for a certain period of time in an ordinary container, which is extremely innovative. It is expected to be used for various applications in the future.
The study on microbubbles and nanobubbles just started 25 to 30 years ago. In EXPO 2005 Aichi, Mr. Masayoshi Takahashi of the National Institute of Advanced Industrial Science and Technology demonstrated that sea bream, which is saltwater fish, and carp, which is freshwater fish, can cohabit in the same fish tank filled with water containing microbubbles, which aroused the global interest in microbubbles. In the reports on international standardization promotion activities for microbubbles and nanobubbles technologies in fiscal 2012, which was sponsored by the Japanese Ministry of Economy, Trade and Industry, microbubbles and nanobubbles are provisionally defined based on the bubble size such that the air bubble having the size of 0.8 mm–1 mm or more is called a bubble, the air bubble having the size of 0.05 mm–0.1 mm or more and smaller than the “bubble” is called a submillimeter bubble, the air bubble having the size of 20 μm–1 μm and smaller than the “submillimeter bubble” is called a microbubble, and the air bubble having the size of 20 μm–1 μm or less is called an ultra-fine bubble. In addition, ISO defines fine bubbles as bubbles with a volume-equivalent diameter of less than 100 μm, microbubbles as fine bubbles with a volume-equivalent diameter of 1 μm or more and less than 100 μm, and UFBs as fine bubbles with a volume-equivalent diameter of less than 1 μm [10,11]. Most (90%) of the water bubble sizes obtained with this method were less than 1 μm (Figure 3). At this time, the total bubble density was 1.94 × 109 bubbles/mL, and this concentration was maintained even after 3 months. A lot of reports and research applications regarding microbubbles and hydrogen water have been filed to date. In the prior art, fine bubbles were generated such that gas and liquid are mixed, and the mixture thereof is sheared by cavitation of an ejector or an agitator. The method using shearing inevitably generates various sizes of fine bubbles. The technique of resonance bubble-forming to generate fine bubbles has not been proposed. To make the size of the fine bubbles uniform, generating a reduced pressure state in a resonance device and performing resonance bubble-forming therein can realize the generation of almost uniform-sized fine bubbles. However, simply using the technique of resonance bubble-forming generates micro-sized fine bubbles, and therefore, subjecting the generated fine bubbles to vacuum cavitation under an appropriate reduced pressure state can expand the fine bubbles to be crushed so that the fine bubbles become nano-sized fine bubbles (<1 μm). This method can form almost uniform-sized, ultra-fine bubbles. This UFB has no buoyancy, so it remains dispersed in water for a long period of time.
Kato et al. prepared nano-bubble hydrogen-dissolved water (nano-hydrogen water) which contained hydrogen nano-bubbles of <717 nm diameter for 54% of total bubbles and evaluated the reducing activity of nano-hydrogen water using the 5,5-Dimethyl-1-pyrroline N-oxide (DMPO)-spin–trap electron spin resonance method (ESR) and spectrophotometric 2,2′-bipyridyl methods [18]. They concluded that nano-hydrogen water has improved antioxidant activity as compared to hydrogen water of similar dissolved hydrogen levels, indicating the more marked importance of nano-bubbles rather than the concentration of hydrogen in terms of OH scavenging.
As molecular hydrogen is generally not very reactive, it also selectively reduces the hydroxyl radical, the most cytotoxic of ROSs, and effectively protects cells; however, hydrogen does not react with other ROSs, which possess physiological roles [5]. Therefore, hydrogen has some advantages as a potential antioxidant: it effectively neutralizes hydroxyl radicals in living cells, and, unlike most known antioxidants, which are unable to successfully target organelles [19], it has favorable distribution characteristics: it can penetrate biomembranes and diffuse into the cytosol, mitochondria, and nucleus. Thus, hydrogen can be used as an effective antioxidant therapy. Ionizing radiation acts on water, a constituent of cells, to produce radicals and molecular products such as hydroxyl radicals, hydrogen radicals, hydrated electrons, and hydrogen peroxide [20]. Approximately 60–70% of DNA damage is induced by indirect free radical action induced by free radicals [21]. Therefore, hydrogen molecules, a selective hydroxyl radical scavenger, have potential medical applications as a radioprotective agent. Many studies on the radiation damage reduction effect of hydrogen have been reported [22,23,24,25]. For example, Zhao et al. evaluated the radioprotective effects of hydrogen on the immune system in mice, demonstrating that pre-treatment with hydrogen could increase the spleen index and attenuate the radiation damage on splenic structure, and hydrogen also inhibited radiation-induced apoptosis in splenocytes and down-regulated pro-apoptotic proteins in living mice [22]. They suggested that hydrogen is an effective radioprotective agent on the immune system by scavenging ROS. Zhang et al. examined whether the consumption of hydrogen-rich water could ameliorate hematopoietic stem cell (HSC) injury in mice with total body irradiation (TBI) [23]. Finally, they demonstrated that hydrogen-rich water alleviated TBI-induced HSC injury concerning cell number alteration and to the self-renewal and differentiation of HSC. In addition, Liu et al. indicated that hydrogen-rich water has a protective effect on radiation-induced cognitive dysfunction and that the possible mechanisms mainly involve anti-oxidative and anti-inflammatory reactions, and its protection of newborn neurons by regulating the signaling pathway via brain-derived neurotrophic factor and its receptor, tropomyosin receptor kinase B [24]. Hirano et al. examined whether hydrogen gas treatment improves intensity-modulated radiation therapy (IMRT)-induced bone marrow damage in cancer patients [25]. Their results demonstrated that hydrogen gas inhalation therapy alleviated IMRT-induced bone marrow damage without compromising the anti-tumor effects of IMRT, suggesting that hydrogen gas inhalation therapy may apply to IMRT-induced bone marrow damage in cancer patients. These are expected to potentially offer a cheap and easy way to take against strong oxidative stress reduction caused by radiation in radiation accidents and nuclear disasters. Indeed, in our preliminary study, we observed a strong radio mitigative effect in UFB hydrogen water.
Recently, Xiao et al. tested the effects of hydrogen-bubbling water named Hexa Z Hydro-nano-bubble water on hydrogen peroxide (H2O2)- or phorbol-myristate-acetate (PMA; an inducer of endogenous superoxide anion and hydrogen peroxide)-induced ROS generation, lipid accumulation, and interleukin-6 (IL-6) secretion in OP9 adipocytes and three-dimensional subcutaneous adipose equivalents [26]. They demonstrated that Hexa Z Hydro-nano-bubble water exhibits excellent stability and can protect HaCaT cells from harmful H2O2-induced injuries. HW significantly suppressed H2O2- or PMA-enhanced adipogenesis, ROS generation, and IL-6 secretion in OP9 adipocytes and 3D subcutaneous adipose tissue. Therefore, Hexa Z Hydro-nano-bubble water can be applied as a potential healthcare candidate for preventing metabolic disorders. Hexa Z Hydro-nano-bubble water showed a possibility of repressing oxidative stress, inflammatory response, and adipogenesis at cellular/tissue levels. It can be used to prevent the development of metabolic disorders among obese people. In addition, their research group reported the effects of the Hexa Z Hydro-nano-bubble water bath on the oxygen radical absorption-based antioxidant capacity and the inflammatory indicator, C-reactive protein (CRP), in serum between healthy volunteers and inflammatory/collagen disease patients. The Hexa Z Hydro-nano-bubble water bath apparatus supplied nano-bubbles with a diameter of 110 ± 10 nm and 338–682 μg/L of dissolved hydrogen after 120 min of electrolysis, and nano-bubbles increased to 9.91 × 107 particles/mL along with the increase in correlative dissolved hydrogen. A ten-minute Hexa Z Hydro-nano-bubble water bath increased the oxygen radical absorption-based antioxidant capacity to 110.9 ± 9.2% at post-bathing 120 min, although unaltered with a 10 min normal water bath at 40 °C in healthy subjects. The CRP level was repressed to 70.2 ± 12.1% at 120 min after the Hexa Z Hydro-nano-bubble water bath, although rather increased for the normal water bath. In patients with connective tissue diseases, the CRP level was repressed to 3–24% upon 9 days to 4 months of Hexa Z Hydro-nano-bubble water bathing. In another six patients with diverse autoimmune-related diseases, upon daily Hexa Z Hydro-nano-bubble water bathing for as long as 2–25 months, the pre-bathing CRP level of 5.31 mg/dL decreased to 0.24 mg/dL, being within the standard range, with relief of visible inflammatory symptoms for some cases. Thus, the Hexa Z Hydro-nano-bubble water bath with high-density nano-bubbles has beneficial effects on serum antioxidant capacity, inflammation, and skin appearance.
UFB water exhibits reductive activities and generates antioxidative radicals so that the water can be effective in the treatment of atopic dermatitis and the prevention of lifestyle-related diseases including diabetes and cancer. The UFB hydrogen water has an anti-oxidation function, and therefore, it is possible to use the water for the prevention of so-called lifestyle-related diseases including high blood pressure, hyperlipidemia, diabetes, heart disease, and cerebral infarction as well as cancer that have been increasing in the aging society of today. UFB hydrogen water with excellent storage stability is expected to be needed in the future for further fine bubbles in academic and business fields such as medicine, zoology, botany, life sciences, inorganic chemistry, electronics, atomic physics, and various manufacturing and cleaning industries.

4. Materials and Methods

Preparation of UFB hydrogen water: UFB hydrogen water was prepared from deionized water according to previous reports using a production system with resonant foaming and vacuum cavitation [9]. The following shows an efficient method of a fine bubble water production method by resonance foaming and vacuum cavitation (Figure 4). Water is pressurized by primary pump 5 and sent to resonance ejector 10, the reduced pressure in resonance ejector 10 and resonance foaming device 12 is adjusted by resonance adjustment needle valve 9 while watching decompression gauge 11 and gas flow meter 8, and the gas–liquid mixture mixed in resonance ejector 10 is mixed in resonance foaming device 12 by resonance similar to the principle of a flute. Foaming “resonance foaming” is carried out to generate microbubbles that instantly turn white and expand the bubbles by creating a vacuum in the entire water system after resonance ejector 10 by the suction strength of secondary pump 14 with a suction force greater than the volume of water discharged from primary pump 5 and resonance ejector 10. Vacuum cavitation ultra-fine bubble water was produced by further breaking the primary fine bubbles generated by resonance ejector 12 into smaller bubbles by vacuum and cavitation. To produce a UFB of hydrogen water, the use of resonance bubble-forming and vacuum cavitation is required. The resonance bubble-forming is performed such that water from the primary pump is transferred to the resonance ejector, gas is sucked to be mixed with the water, the pressure conditions are adjusted using a vacuum gauge and a needle valve, and the gas–liquid mixture is subjected to resonance in the resonance bubble-forming device to form fine bubbles. The vacuum cavitation is carried out by using two pumps, the primary pump and the secondary pump, in which the performance of the secondary pump is superior to that of the primary pump, so that an appropriate reduced pressure state is generated. Typical measurements of the comparative results of air content in bubbles from resonance foaming alone and from the combination of resonance foaming and vacuum cavitation are shown in Table 3. The whole surface of the material is cloudy in the resonance foaming treatment alone, whereas it is colorless and transparent when combined with the vacuum cavitation treatment. This is because microbubbles are generated in resonance foaming treatment, but by immediately performing vacuum cavitation treatment, the micro-bubbles are crushed and become UFBs. Furthermore, a comparison of the gas dispersion as bubbles, the dispersion rate of injected gas in water, and the gas content of water after 1 h of treatment showed that the value dropped to about 40–25% with the resonance foaming treatment alone, while the value immediately after treatment was maintained with the combination treatment method.
The concentration of UFB particles was analyzed by NANOX (Kitakyushu, Fukuoka, Japan).
Measurement of ORP and antioxidant radicals: To measure the oxidation–reduction potential (ORP) of hydrogen water, using a hydrogen radical water circulation stirrer with a strong magnetic force of 0.8 to 1.0 Tesla, UFB hydrogen water was generated by adding hydrogen gas to pure water at a flow rate of 50 mL/min with stirring at high-speed rotation (3000 rpm) for 10 min. Furthermore, as a control, pure water and simple UFB hydrogen water were also created without adding a magnetization function, and the value of ORP was measured using an Eh meter (Five Go F1, Mettler Toledo, Greifensee, Switzerland).
Antioxidant radicals were measured using the DPPH (Nacalai Tesque, Inc., Kyoto, Japan) radical scavenging activity assay according to the previous report [27,28]. Briefly, the elimination capability of the oxidative radical was measured by colorimetric determination using a spectrophotometer measuring absorbance at a wavelength of 520 nm (U3010, Hitachi, Tokyo, Japan), which uses the reaction that purple oxidative DPPH reacts with ultra-fine hydrogen-bubbled water to form colorless reductive DPPH. The above UFB hydrogen water and DPPH solution were mixed to give a final concentration of DPPH of 1.96, 3.85, 5.67, 9.09, 75, 100, and 150 μM, respectively. The radical scavenging rate (%) was determined as the ratio of the control to the measured value of the sample.
In addition, aqueous citric acid solutions at pH 3 and pH 4 were prepared using deionized water, and UFB hydrogen water was generated using the method described above. A DPPH radical solution was prepared to have a final concentration of 9.09 μM, and the radical scavenging ability of UFB hydrogen water generated from pH 3 and pH 4 citric acid solutions or ordinary deionized water was measured.
Regarding the thermal stability test of UFB hydrogen water, UFB hydrogen water was heated in boiling water for 10, 20, 30, and 40 min, respectively, and after cooling in water, the DPPH radical scavenging ability was analyzed.

5. Conclusions

We have developed a method to produce more stable hydrogen water by dispersing hydrogen in water using UFBs with a bubble diameter of less than 1 μm. UFB hydrogen water was found to be stable in polyethylene terephthalate containers for a long period even when stored at room temperature, and its radical scavenging capacity was maintained for at least three months. This means that it can be stored stably for a certain period, making it possible to use it in various fields.

6. Patents

United States Patent. Kamimura et al. Patent No.: US 10,500,553 B2, Date of Patent: 10 December 2019. Method for manufacturing ultra-fine bubbles having oxidizing radical or reducing radical by resonance foaming and vacuum cavitation, and ultra-fine bubble water manufacturing device.

Author Contributions

C.K. contributed to the conception and design of the study, the preparation of the UFB hydrogen water, and the critical peer review of the manuscript. R.O. was involved in the measurement of water properties and the peer review of the manuscript. M.Y. was involved in the preparation of the figures and the reviewing of the manuscript. M.H. contributed to the management of this study, the data analysis and interpretation of the data, as well as the critical reviewing of the manuscript. I.K. was responsible for data analysis and interpretation, writing and submitting the manuscript. All authors have read and agreed to the published version of the manuscript.

Funding

This work was partially supported by KAKENHI Grant No. JP16H02667, and a Hirosaki University Institutional Research Grant.

Data Availability Statement

Data are contained within the article.

Conflicts of Interest

Author Chikashi Kamimura was employed by the company Information Science Research Institute Ltd. The remaining authors declare that the research was conducted in the absence of any commercial or financial relationships that could be construed as a potential conflict of interest.

References

  1. Zhang, J.; Shim, G.; de Toledo, S.M.; Azzam, E.I. The translationally controlled tumor protein and the cellular response to ionizing radiation-induced DNA damage. In TCTP/tpt1—Remodeling Signaling from Stem Cell to Disease; Results and Problems in Cell Differentiation; Springer: Berlin/Heidelberg, Germany, 2017; Volume 64, pp. 227–253. [Google Scholar] [CrossRef]
  2. Helm, J.S.; Rudel, R.A. Adverse outcome pathways for ionizing radiation and breast cancer involve direct and indirect DNA damage, oxidative stress, inflammation, genomic instability, and interaction with hormonal regulation of the breast. Arch. Toxicol. 2020, 94, 1511–1549. [Google Scholar] [CrossRef] [PubMed]
  3. Yanagihara, T.; Arai, K.; Miyamae, K.; Sato, B.; Shudo, T.; Yamada, M.; Aoyama, M. Electrolyzed hydrogen-saturated water for drinking use elicits an antioxidative effect; a feeding test with rats. Biosci. Biotrechnol. Biochem. 2005, 69, 1985–1987. [Google Scholar] [CrossRef] [PubMed]
  4. Kura, B.; Bagchi, A.K.; Singal, P.K.; Barancik, M.; LeBaron, T.W.; Valachova, K.; Šoltés, L.; Slezák, J. Molecular hydrogen: Potential in mitigating oxidative-stress-induced radiation injury. Can. J. Physiol. Pharmacol. 2019, 97, 287–292. [Google Scholar] [CrossRef] [PubMed]
  5. Ohsawa, I.; Ishikawa, M.; Takahashi, K.; Watanabe, M.; Nishimaki, K.; Yamagata, K.; Katsura, K.I.; Katayama, Y.; Asoh, S.; Ohta, S. Hydrogen acts as a therapeutic antioxidant by selectively reducing cytotoxic oxygen radicals. Nat. Med. 2007, 13, 688–694. [Google Scholar] [CrossRef] [PubMed]
  6. Hirano, S.; Ichikawa, Y.; Kurokawa, R.; Takefuji, Y.; Satoh, F.A. “Philosophical molecule,” hydrogen may overcome senescence and intractable diseases. Med. Gas Res. 2020, 10, 47–49. [Google Scholar] [CrossRef] [PubMed]
  7. Hirano, S.I.; Ichikawa, Y.; Sato, B.; Satoh, F.; Takefuji, Y. Hydrogen is promising for medical applications. Clean Technol. 2020, 2, 529–541. [Google Scholar] [CrossRef]
  8. Hirano, S.I.; Ichikawa, Y.; Sato, B.; Yamamoto, H.; Takefuji, Y.; Satoh, F. Molecular hydrogen as a potential clinically applicable radioprotective agent. Int. J. Mol. Sci. 2021, 22, 4566. [Google Scholar] [CrossRef] [PubMed]
  9. Unites States Patent. Available online: https://image-ppubs.uspto.gov/dirsearch-public/print/downloadPdf/10500553 (accessed on 12 May 2024).
  10. Tanaka, S. Experimental Study on the Stability and Measurement of Ultrafine Bubbles in Water. Available online: https://ci.nii.ac.jp/naid/500001459234/ (accessed on 12 May 2024).
  11. ISO 20480-1:2017; Fine Bubble Technology—General Principles for Usage and Measurement of Fine Bubbles—Part 1: Terminology. ISO: Geneva, Switzerland, 2017. Available online: https://www.iso.org/standard/68187.html (accessed on 12 May 2024).
  12. Bu, X.; Alheshibri, M. The effect of ultrasound on bulk and surface nanobubbles: A review of the current status. Ultrason. Sonochemistry 2021, 76, 105629. [Google Scholar] [CrossRef] [PubMed]
  13. Azevedo, A.; Etchepare, R.; Calgaroto, S.; Rubio, J. Aqueous dispersions of nanobubbles: Generation, properties and features. Miner. Eng. 2016, 94, 29–37. [Google Scholar] [CrossRef]
  14. Zhou, S.; Nazari, S.; Hassanzadeh, A.; Bu, X.; Ni, C.; Peng, Y.; Xie, G.; He, Y. The effect of preparation time and aeration rate on the properties of bulk micro-nanobubble water using hydrodynamic cavitation. Ultrason. Sonochemistry 2022, 84, 105965. [Google Scholar] [CrossRef]
  15. Ren, F.; Noda, N.; Ueda, T.; Sano, Y.; Takase, Y.; Umekage, T.; Yonezawa, Y.; Tanaka, H. CFD-PBM approach for the gas-liquid flow in a nanobubble generator with honeycomb structure. J. Dispers. Sci. Technol. 2019, 40, 306–317. [Google Scholar] [CrossRef]
  16. Hu, X.; Zhang, B.; Wu, C.; Xu, X.; Xue, M.; Zheng, X. Numerical Simulation and Structural Optimization of Swirl Flow Micro-Nano Bubble Generator. Coatings 2023, 13, 1468. [Google Scholar] [CrossRef]
  17. Hu, Q.; Zhou, Y.; Wu, S.; Wu, W.; Deng, Y.; Shao, A. Molecular hydrogen: A potential radioprotective agent. Biomed. Pharmacother. 2020, 130, 110589. [Google Scholar] [CrossRef]
  18. Kato, S.; Matsuoka, D.; Miwa, N. Antioxidant activities of nano-bubble hydrogen-dissolved water assessed by ESR and 2,2′-bipyridyl methods. Mater. Sci. Eng. C Mater. Biol. Appl. 2015, 53, 7–10. [Google Scholar] [CrossRef]
  19. James, A.M.; Cocheme, H.M.; Murphy, M.P. Mitochondria-targeted redox probes as tools in the study of oxidative damage and aging. Mech. Ageing Dev. 2005, 126, 982–986. [Google Scholar] [CrossRef]
  20. Caer, S.L. Water radiolysis: Influence of oxide surfaces on H2 production under ionizing radiation. Water 2011, 3, 235–253. [Google Scholar] [CrossRef]
  21. Ward, J.F. DNA damage produced by ionizing radiation in mammalian cells: Identities, mechanisms of formation, and reparability. Prog. Nucleic Acid Res. Mol. Biol. 1988, 35, 95–125. [Google Scholar] [CrossRef]
  22. Zhao, S.; Yang, Y.; Liu, W.; Xuan, Z.; Wu, S.; Yu, S.; Mei, K.; Huang, Y.; Zhang, P.; Cai, J.; et al. Protective effect of hydrogen-rich saline against radiation-induced immune dysfunction. J. Cell. Mol. Med. 2014, 18, 938–946. [Google Scholar] [CrossRef]
  23. Zhang, J.; Xue, X.; Han, X.; Li, Y.; Lu, L.; Li, D.; Fan, S. Hydrogen-rich water ameliorates total body irradiation-induced hematopoietic stem cell injury by reducing hydroxyl radical. Oxidative Med. Cell. Longev. 2017, 3, 8241678. [Google Scholar] [CrossRef]
  24. Liu, M.; Yuan, H.; Yin, J.; Wang, R.; Song, J.; Hu, B.; Li, J.; Qin, X. Effect of hydrogen-rich water on radiation-induced cognitive dysfunction in rats. Radiat. Res. 2020, 193, 16–23. [Google Scholar] [CrossRef]
  25. Hirano, S.I.; Aoki, Y.; Li, X.K.; Ichimaru, N.; Takahara, S.; Takefuji, Y. Protective effects of hydrogen gas inhalation on radiation-induced bone marrow damage in cancer patients: A retrospective observational study. Med. Gas Res. 2021, 11, 104–109. [Google Scholar] [CrossRef] [PubMed]
  26. Xiao, L.; Miwa, N. Hydrogen Nano-Bubble Water Suppresses ROS Generation, Adipogenesis, and Interleukin-6 Secretion in Hydrogen-Peroxide- or PMA-Stimulated Adipocytes and Three-Dimensional Subcutaneous Adipose Equivalents. Cells 2021, 10, 626. [Google Scholar] [CrossRef] [PubMed]
  27. Tanaka, Y.; Xiao, L.; Miwa, N. Hydrogen-rich bath with nano-sized bubbles improves antioxidant capacity based on oxygen radical absorbing and inflammation levels in human serum. Med. Gas Res. 2022, 12, 91–99. [Google Scholar] [CrossRef]
  28. Deguchi, T.; Ohba, R.; Ueda, S. Radical scavenging activity of a purple pigment, hordeumin, from uncooked barley bran-fermented broth. J. Agric. Food Chem. 2000, 48, 3198–3201. [Google Scholar] [CrossRef]
Figure 1. DPPH radical scavenging rate of UFB hydrogen water at different DPPH solution concentrations.
Figure 1. DPPH radical scavenging rate of UFB hydrogen water at different DPPH solution concentrations.
Inorganics 12 00141 g001
Figure 2. Stability of UFB hydrogen water. Data are presented as the mean ± SD of three independent experiments.
Figure 2. Stability of UFB hydrogen water. Data are presented as the mean ± SD of three independent experiments.
Inorganics 12 00141 g002
Figure 3. Relationship between size distribution and concentration of UFBs. Typical measured values for circulating water over 60 min were as follows. Total bubble average particle size, main part average particle size, particle size that is the cumulative sum of particle size frequencies, particle size for which the cumulative frequency is 10% of the total, particle size for which the cumulative frequency is 50% of the total, and particle size for which the cumulative frequency is 90% of the total were 68.6, 49.2, 37.8, 36.9, 58.3, and 112.6 nm, respectively. The mean total bubble diameter was about 60 nm, and the mean major partial particle diameter was about 50 nm.
Figure 3. Relationship between size distribution and concentration of UFBs. Typical measured values for circulating water over 60 min were as follows. Total bubble average particle size, main part average particle size, particle size that is the cumulative sum of particle size frequencies, particle size for which the cumulative frequency is 10% of the total, particle size for which the cumulative frequency is 50% of the total, and particle size for which the cumulative frequency is 90% of the total were 68.6, 49.2, 37.8, 36.9, 58.3, and 112.6 nm, respectively. The mean total bubble diameter was about 60 nm, and the mean major partial particle diameter was about 50 nm.
Inorganics 12 00141 g003
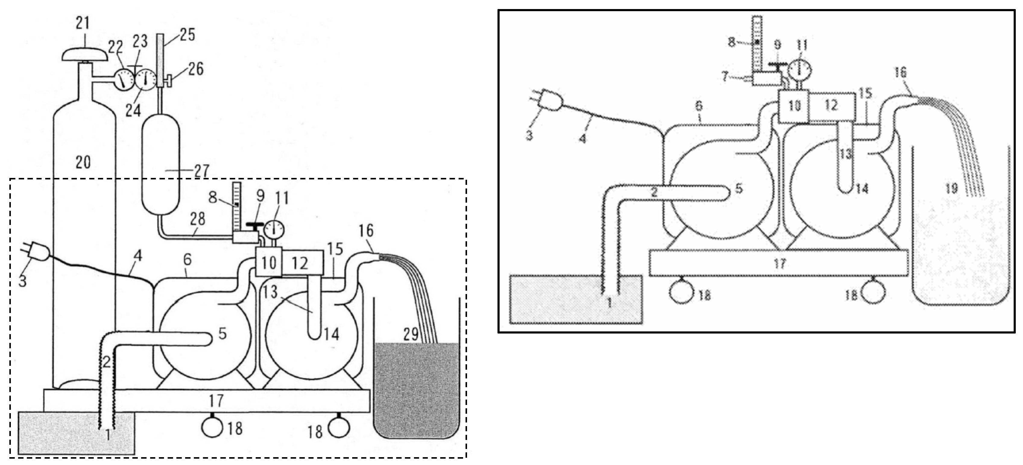
Figure 4. Schematic diagram of UFB hydrogen water production system with resonant foaming and vacuum cavitation. The explanation of each number in the diagram is as follows. 1: water source, 2: water conducting pipe, 3: power socket, 4: electrical power lines, 5: primary pump, 6: ejector, 7: air intake, 8: low-pressure flow gas flow meter, 9: resonance adjustment needle valve, 10: resonance ejector, 11: resonance adjustment vacuum gauge, 12: resonance foaming device, 13: primary microbubble-treated water delivery pipe, 14: secondary pump, 15: secondary pump motor, 16: ultra-fine bubble pressurizer, 17: equipment support frame, 18: moving casters, 19: air ultra-fine bubble water storage tank, 20: hydrogen gas supply unit (hydrogen gas cylinder), 21: main valve, 22: gas pressure meter, 23: pressure reducing valve, 24: reduced pressure gas meter, 25: gas flow meter, 26: gas needle valve, 27: gas deodorization and filtration system, 28: clean gas feedthrough pipe, 29: UFB hydrogen water storage tank. An enlarged view of the area enclosed by the dotted line is also shown.
Figure 4. Schematic diagram of UFB hydrogen water production system with resonant foaming and vacuum cavitation. The explanation of each number in the diagram is as follows. 1: water source, 2: water conducting pipe, 3: power socket, 4: electrical power lines, 5: primary pump, 6: ejector, 7: air intake, 8: low-pressure flow gas flow meter, 9: resonance adjustment needle valve, 10: resonance ejector, 11: resonance adjustment vacuum gauge, 12: resonance foaming device, 13: primary microbubble-treated water delivery pipe, 14: secondary pump, 15: secondary pump motor, 16: ultra-fine bubble pressurizer, 17: equipment support frame, 18: moving casters, 19: air ultra-fine bubble water storage tank, 20: hydrogen gas supply unit (hydrogen gas cylinder), 21: main valve, 22: gas pressure meter, 23: pressure reducing valve, 24: reduced pressure gas meter, 25: gas flow meter, 26: gas needle valve, 27: gas deodorization and filtration system, 28: clean gas feedthrough pipe, 29: UFB hydrogen water storage tank. An enlarged view of the area enclosed by the dotted line is also shown.
Inorganics 12 00141 g004
Table 1. The comparison of ORP between regular and high-speed hydrogen blender.
Table 1. The comparison of ORP between regular and high-speed hydrogen blender.
Generation MethodsORP (mV)Condition
Deionized water (hydrogen-free)+360Normal desalinated water condition
High-speed hydrogen blender−565Magnetized anti-oxidative radical hydrogen water
Regular hydrogen blender−260Dissolved hydrogen water
Table 2. Average DPPH radical scavenging rate at different heating times.
Table 2. Average DPPH radical scavenging rate at different heating times.
Heating Time (min)Average Erasure Rate (%)
02.98
102.47
201.66
301.55
40Undetectable
Table 3. Comparative results on the amount of air mixed in the bubbles produced by resonance foaming alone or the combination of resonance foaming and vacuum cavitation.
Table 3. Comparative results on the amount of air mixed in the bubbles produced by resonance foaming alone or the combination of resonance foaming and vacuum cavitation.
Resonance Foaming AloneResonance Foaming and
Vacuum Cavitation
Immediately
after Processing
An Hour after
Processing
Immediately after ProcessingAn Hour after Processing
Measured water amount (L)9.010.09.010.0
Air injection (mL)1000010000
Residual air that does not become bubbles (mL)30003000
Gas dispersed as bubbles (mL)700200700770
Dispersion rate of injection gas in water (%)7.72.07.77.7
Gas content of water (%)9.74.09.79.7
Decompression value (MPa)−0.090.1013−0.090.1013
Turbidity of watercloudy whiteclear, colorlessclear, colorlessclear, colorless
Disclaimer/Publisher’s Note: The statements, opinions and data contained in all publications are solely those of the individual author(s) and contributor(s) and not of MDPI and/or the editor(s). MDPI and/or the editor(s) disclaim responsibility for any injury to people or property resulting from any ideas, methods, instructions or products referred to in the content.

Share and Cite

MDPI and ACS Style

Kamimura, C.; Ohba, R.; Yamaguchi, M.; Hosoda, M.; Kashiwakura, I. Functional Characteristics of Antioxidant Long-Life Ultra-Fine Bubble Hydrogen Water. Inorganics 2024, 12, 141. https://doi.org/10.3390/inorganics12050141

AMA Style

Kamimura C, Ohba R, Yamaguchi M, Hosoda M, Kashiwakura I. Functional Characteristics of Antioxidant Long-Life Ultra-Fine Bubble Hydrogen Water. Inorganics. 2024; 12(5):141. https://doi.org/10.3390/inorganics12050141

Chicago/Turabian Style

Kamimura, Chikashi, Riichiro Ohba, Masaru Yamaguchi, Masato Hosoda, and Ikuo Kashiwakura. 2024. "Functional Characteristics of Antioxidant Long-Life Ultra-Fine Bubble Hydrogen Water" Inorganics 12, no. 5: 141. https://doi.org/10.3390/inorganics12050141

APA Style

Kamimura, C., Ohba, R., Yamaguchi, M., Hosoda, M., & Kashiwakura, I. (2024). Functional Characteristics of Antioxidant Long-Life Ultra-Fine Bubble Hydrogen Water. Inorganics, 12(5), 141. https://doi.org/10.3390/inorganics12050141

Note that from the first issue of 2016, this journal uses article numbers instead of page numbers. See further details here.

Article Metrics

Back to TopTop