Alcohol Dehydration by Extractive Distillation with Use of Aminoethers of Boric Acid
Abstract
1. Introduction
2. Materials and Methods
2.1. Materials
2.2. Synthesisprocess
2.3. Preparation of Aqueous Solutions and Mixtures
2.4. Determination of the Boiling Point
2.5. Phase Equilibrium Experiments
2.6. Phase Equilibrium Calculation
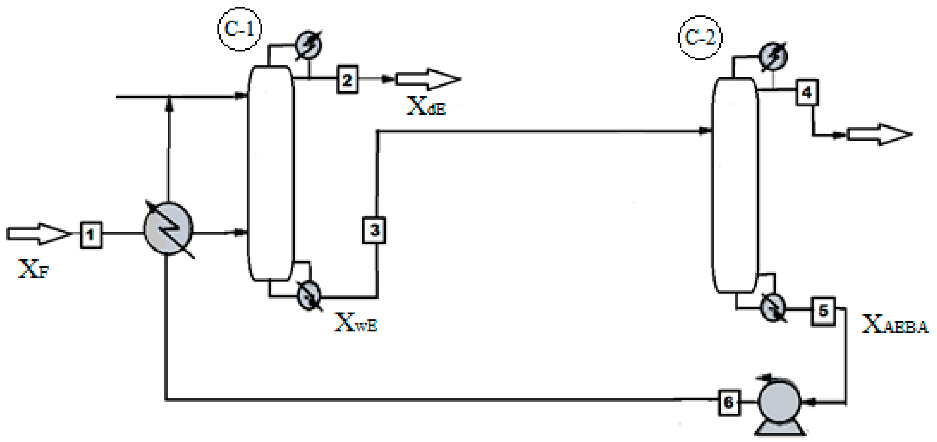
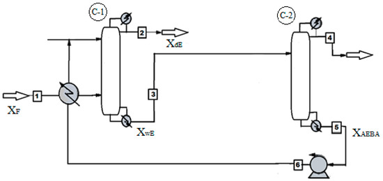
2.7. Simulation of the Extractive Distillation Process
3. Results
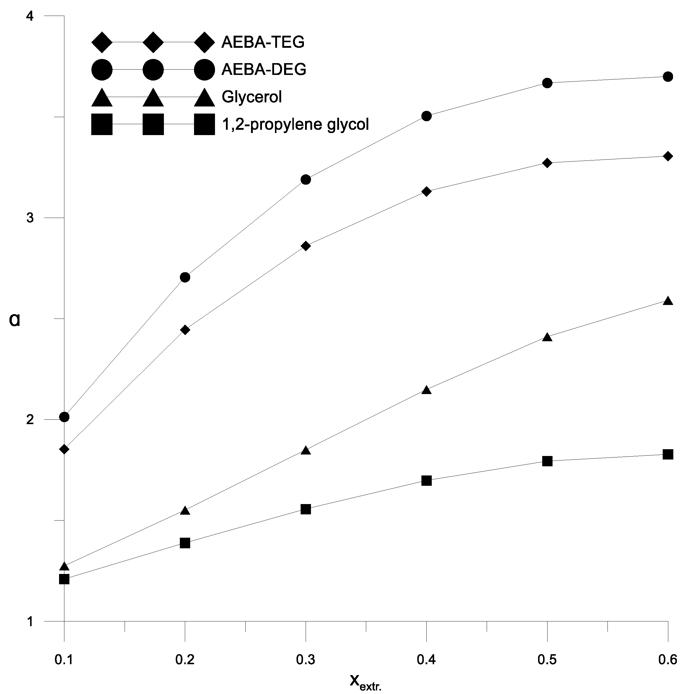
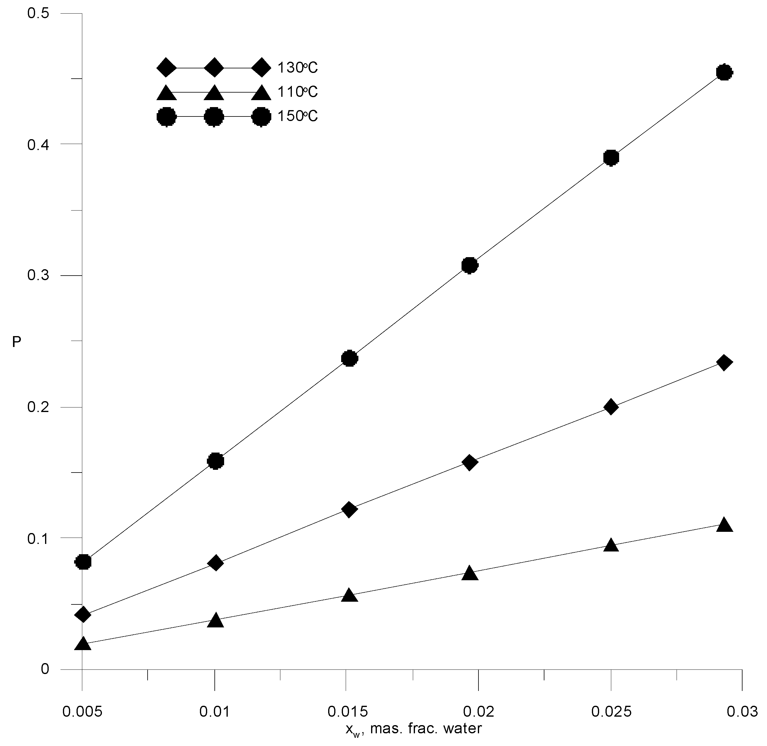
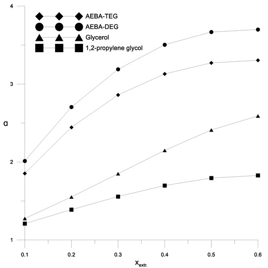
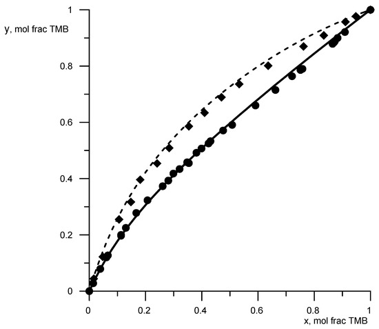
3.1. Vapor−Liquid Equilibrium in Aqueous Solutions of Alcoholsin the Presence of AEBA
3.2. The Process of Extractive Distillation of Ethanol–Water Mixtures Using AEBA-TEG as an Extractant
- -
- Feed composition XF (0.9 mass fraction of ethanol; 0.1 mass fraction of water), which is close to the azeotropic point. The required alcohol content in the distillate XdE => 99.5 wt %; alcohol in the still XWe < 10−7 wt %.
- -
- The pressure in the column was equal to atmospheric pressure; the pressure drop across the column was neglected.
- -
- NT is the total number of trays; NF is feed tray. Due to the fact that the volatility of AEBA is negligible, the extractant flow was fed to the first tray NE = 1.
- -
- Complete condensation of vapor occurred in the reflux condenser; complete evaporation of the liquid mixture occurred in the cube.
- -
- R is the reflux ratio.
- -
- E is the amount of fresh extractant supplied, which is equal to the possible losses for the regeneration scheme. We will assume that these costs are negligible compared to others.
- -
- (R + 1) is the costs of heat in the evaporator cube of the extractive rectification column.
- -
- N(R + 1) capital costs associated with the size of the extractive rectification column; the number of trays N is proportional to the height of the column; (R + 1) is proportional to the steam flow rate, which determines the diameter of the column.
- -
- PV is the costs of extractant regeneration associated with the depth of the vacuum and the corresponding material and operating costs.
- -
- α, β, η and λ are normalization coefficients.
4. Conclusions
Author Contributions
Funding
Conflicts of Interest
Abbreviations
| AEBA | Aminoethers of boric acid |
| IL | Ionic liquid |
| DEG | diethylene glycol |
| TEG | triethylene glycol |
| AEBA-DEG | aminoethers of boric acid based on diethylene glycol |
| AEBA-TEG | aminoethers of boric acid based on triethylene glycol |
| VLE | Vapor–liquid equilibrium |
| TMB | Trimethyl borate |
References
- State Standard: GOST P 56146-2014 Denatured Ethanol Used as a Fuel Component for Spark igniTion Engines–M; National Standard of the Russian Federation: Moscow, Russia, 2015; p. 27.
- Stabnikov, V.N. Distillation and Rectification of Ethyl Alcohol; Food industry: Moscow, Russia, 1969; 456p. [Google Scholar]
- Furter, W.F. Extractive distillation by salt effect. Chem. Eng. Commun. 1992, 116, 35–40. [Google Scholar] [CrossRef]
- Lei, Z.; Zhou, R.; Duan, Z. Process improvement on separating C4 by extractive distillation. Chem. Eng. J. 2002, 85, 379–386. [Google Scholar] [CrossRef]
- Rongqi, Z.; Zhanting, D. Extractive Distillation with Salt in Solvent. Sci. Technol. 1999, 4, 1477–1479. [Google Scholar]
- Lei, Z.; Wang, H.; Zhou, R.; Duan, Z. Influence of salt added to solvent on extractive distillation. Chem. Eng. J. 2002, 87, 149–156. [Google Scholar] [CrossRef]
- Fu, J. Simulation of Salt-Containing Extractive Distillation for the System of Ethanol/Water/ Ethanediol/KAc. 1. Calculation of the VaporLiquid Equilibrium for the Salt-Containing System. Ind. Eng. Chem. Res. 2004, 43, 1274–1278. [Google Scholar] [CrossRef]
- Fu, J. Simulation of Salt-Containing Extractive Distillation for the System of Ethanol/Water/Ethanediol/KAc. 2. Simulation of Salt-Containing Extractive Distillation. Ind. Eng. Chem. Res. 2004, 43, 1279–1283. [Google Scholar] [CrossRef]
- Tiverios, P.G.; Van Brunt, V. Extractive Distillation Solvent Characterization and Shortcut Design Procedure for Methylcyclohexane−Toluene Mixtures. Ind. Eng. Chem. Res. 2000, 39, 1614–1623. [Google Scholar] [CrossRef]
- Seiler, M.; Jork, C.; Kavarnou, A.; Arlt, W.; Hirsch, R. Separation of azeotropic mixtures using hyperbranched polymers or ionic liquids. AICHE J. 2004, 50, 2439–2454. [Google Scholar] [CrossRef]
- Jin, Z.; Cong, D.; Chun, L.X. Isobaric Vapor–Liquid Equilibria for Ethanol–Water System Containing Different Ionic Liquids at Atmospheric Pressure. Fluid Phase Equilib. 2006, 242, 147–153. [Google Scholar]
- Jiang, X.C.; Wang, J.F.; Li, C.X. Vapor Pressure Measurement for Binary and Ternary Systems Containing Methanol, Ethanol and Ionic Liquid Ethy-3-Ethylimidazolium Diethylphosphate. J. Chem. Thermodyn. 2007, 39, 841–846. [Google Scholar] [CrossRef]
- Calvar, N.; González, B.; Macedo, E.A.; Domínguez, Á. Study of the behaviour of the azeotropic mixture ethanol–water with imidazolium-based ionic liquids. Fluid Phase Equilibria 2007, 259, 51–56. [Google Scholar] [CrossRef]
- Wang, J.; Li, C.-X.; Wang, Z.-H.; Li, Z.-J.; Jiang, Y.-B. Vapor pressure measurement for water, methanol, ethanol, and their binary mixtures in the presence of an ionic liquid 1-ethyl-3-methylimidazolium dimethylphosphate. Fluid Phase Equilibria 2007, 255, 186–192. [Google Scholar] [CrossRef]
- Zhao, J.; Jiang, X.-C.; Li, C.; Wang, Z.-H. Vapor pressure measurement for binary and ternary systems containing a phosphoric ionic liquid. Fluid Phase Equilibria 2006, 247, 190–198. [Google Scholar] [CrossRef]
- Ge, Y.; Zhang, L.; Yuan, X.; Geng, W.; Ji, J. Selection of ionic liquids as entrainers for separation of (water+ethanol). J. Chem. Thermodyn. 2008, 40, 1248–1252. [Google Scholar] [CrossRef]
- Wang, J.; Li, C.X.; Wang, Z.H. Measurement and Prediction of Vapor Pressure of Binary and Ternary Systems Containing 1-Ethyl-3-methylimidazolium Ethyl Sulfate. J. Chem. Eng. Data 2007, 52, 1307–1312. [Google Scholar] [CrossRef]
- Calvar, N.; Gonzalez, B.; Gomez, E.; Dominguez, A. Vapor-Liquid Equilibria for Ternary System Ethanol + Water + 1-Ethyl-3-Methylimidazolium Ethyl Sulfate and Corresponding Binary Systems Containing the Ionic Liquids at 101.3 kPa. J. Chem. Eng. Data 2008, 53, 820–825. [Google Scholar] [CrossRef]
- Davletbaeva, I.M.; Klinov, A.V.; Khairullina, A.R.; Malygin, A.V.; Dulmaev, S.E.; Davletbaeva, A.R.; Mukhametzyanov, T.A. Organoboron Ionic Liquids as Extractants for Distillation Process of Binary Ethanol + Water Mixtures. Processes 2020, 8, 628. [Google Scholar] [CrossRef]
- Swietoslawski, W. Azeotropy and Polyazeotropy; Macmillan Company: New York, NY, USA, 1963. [Google Scholar]
- Reid, R.C.; Prausnitz, J.M.; Poling, B.E. The Properties of Gases and Liquids 1987, 4th ed.; McGraw-Hill: New York, NY, USA, 1987; p. 753. ISBN 10:0070517991. [Google Scholar]
- Wittig, R.; Lohmann, J.; Gmehling, J. Vapor-Liquid Equilibria by UNIFAC Group Contribution. Revision and Extension. Ind. Eng. Chem. Res. 2003, 42, 183–188. [Google Scholar] [CrossRef]
- Online UNIFAC Source. Available online: http://unifac.ddbst.de/unifac-matrix.html (accessed on 24 June 2020).
- Abrams, D.S.; Prausnitz, J.M. Statistical thermodynamics of liquid mixtures: A new expression for the excess Gibbs energy of partly or completely miscible systems. AIChE J. 1975, 21, 116–128. [Google Scholar] [CrossRef]
- Have you looked at the Journal of Physical Chemistry recently. Chem. Eng. News Arch. 1964, 42, 441. [CrossRef][Green Version]
- Badenhoop, J.K.; Weinhold, F. Natural steric analysis:Ab initiovan der Waals radii of atoms and ions. J. Chem. Phys. 1997, 107, 5422–5432. [Google Scholar] [CrossRef]
- Mantina, M.; Chamberlin, A.C.; Valero, R.; Cramer, C.J.; Truhlar, D.G. Consistent van der Waals Radii for the Whole Main Group. J. Phys. Chem. A 2009, 113, 5806–5812. [Google Scholar] [CrossRef] [PubMed]
- +Online Source: Dortmund Data Bank. Thermophysical Data for Process Design. Available online: http://ddbonline.ddbst.com/DDBSearch/onlineddboverview.exe (accessed on 24 June 2020).
- Kraher, M.V.; Plank, C.A.; Laukhuf, W.L.S. Vapor-Liquid Equilibria of the System Trimethyl Borate (1)-n-Cyclohexane (2). J. Chem. Eng. Data 1986, 31, 387. [Google Scholar] [CrossRef]
- Niswonger, D.S.; Plank, C.A.; Laukhuf, W.L.S. Vapor-liquid equilibria of the system trimethyl borate (1)-n-heptane (2). J. Chem. Eng. Data 1985, 30, 209–211. [Google Scholar] [CrossRef]
- Online Source: NIST Standard Reference Database. Available online: https://webbook.nist.gov/chemistry/ (accessed on 24 June 2020).
- Richardson, J.F.; Harker, J.H.; Backhurst, J.R. Particle Technology and Separation Processes. In Chemical Engineering, 5th ed.; Oxford Butterworth-Heinemann: Oxford, UK, 2003; Volume 2, p. 1231. ISBN 978-0-7506-4445-7. [Google Scholar]
- Mai, N.L.; Ahn, K.; Koo, Y.-M. Methods for recovery of ionic liquids—A review. Process Biochem. 2014, 49, 872–881. [Google Scholar] [CrossRef]
- Gil, I.D.; Gómez, J.M.; Rodríguez, G. Control of an extractive distillation process to dehydrate ethanol using glycerol as entrainer. Comput. Chem. Eng. 2012, 39, 129–142. [Google Scholar] [CrossRef]
- Meirelles, A.; Weiss, S.; Herfurth, H. Ethanol dehydration by extractive distillation. J. Chem. Technol. Biotechnol. 2007, 53, 181–188. [Google Scholar] [CrossRef]
- Kiss, A.A.; David, J.; Suszwalak, P.C. Enhanced bioethanol dehydration by extractive and azeotropic distillation in dividing-wall columns. Sep. Purif. Technol. 2012, 86, 70–78. [Google Scholar] [CrossRef]



















| m | amn | anm |
|---|---|---|
| CH2 | 170.60 | −384.58 |
| OCH2 | 405.99 | 1825.92 |
| OH | −281.82 | −722.30 |
| NCH2 | 113.96 | −13.53 |
| H2O | −237.83 | −1136.35 |
| Extractant | ef | NT | Np | Ne | R | XdE, Mass Frac. | XwE, Mass Frac. | P(vac.), Bar | Energy Consum., mJ/kg |
|---|---|---|---|---|---|---|---|---|---|
| AEBA-TEG (99.99 wt %) | 0.4 | 18 | 8 | 1 | 0.81 | 0.995 | 10−7 | 0.1 | 1.74 |
| AEBA-TEG (98 wt %) | 0.45 | 20 | 10 | 1 | 1.06 | 0.995 | 10−7 | 0.1 | 1.98 |
| AEBA-TEG (97 wt %) | 0.4 | 24 | 15 | 1 | 1.56 | 0.995 | 10−7 | 0.1 | 2.56 |
| Glycerol (99.99 wt %) [34] | 1 | 18 | 10 | 2 | 0.35 | 0.998 | 0.005 | 0.1 | 1.63 |
| Ethylene glycol (99.99 wt %) [35] | 0.71 | 24 | 12 | 2 | 0.5 | 0.998 | 0.004 | 0.1 | 1.76 |
| Pentane (azeotrop. Dist.) [36] | 6.3 |
Publisher’s Note: MDPI stays neutral with regard to jurisdictional claims in published maps and institutional affiliations. |
© 2020 by the authors. Licensee MDPI, Basel, Switzerland. This article is an open access article distributed under the terms and conditions of the Creative Commons Attribution (CC BY) license (http://creativecommons.org/licenses/by/4.0/).
Share and Cite
Klinov, A.V.; Malygin, A.V.; Khairullina, A.R.; Dulmaev, S.E.; Davletbaeva, I.M. Alcohol Dehydration by Extractive Distillation with Use of Aminoethers of Boric Acid. Processes 2020, 8, 1466. https://doi.org/10.3390/pr8111466
Klinov AV, Malygin AV, Khairullina AR, Dulmaev SE, Davletbaeva IM. Alcohol Dehydration by Extractive Distillation with Use of Aminoethers of Boric Acid. Processes. 2020; 8(11):1466. https://doi.org/10.3390/pr8111466
Chicago/Turabian StyleKlinov, Alexander V., Alexander V. Malygin, Alina R. Khairullina, Sergey E. Dulmaev, and Ilsiya M. Davletbaeva. 2020. "Alcohol Dehydration by Extractive Distillation with Use of Aminoethers of Boric Acid" Processes 8, no. 11: 1466. https://doi.org/10.3390/pr8111466
APA StyleKlinov, A. V., Malygin, A. V., Khairullina, A. R., Dulmaev, S. E., & Davletbaeva, I. M. (2020). Alcohol Dehydration by Extractive Distillation with Use of Aminoethers of Boric Acid. Processes, 8(11), 1466. https://doi.org/10.3390/pr8111466

