Next Article in Journal
Trend Analysis of Factory Automation Using Topic Modeling
Next Article in Special Issue
Optimum Equipment Allocation Under Discrete Event Simulation for an Efficient Quarry Mining Process
Previous Article in Journal
Sulfate Radical-Based Oxidation Processes for Emerging Contaminants: Advances and Perspectives on Degradation of Hormones
Previous Article in Special Issue
A New Kinetic Model for Pectin Extraction from Grapefruit Peel Using Delayed Differential Equations
 
 
Font Type:
Arial Georgia Verdana
Font Size:
Aa Aa Aa
Line Spacing:
Column Width:
Background:
Article

Optimization of Vertical-Axis Hydrokinetic Turbines: Study of Various Geometric Configurations Using the Response Surface Methodology and Multi-Criteria Decision Matrices

1
Grupo de Energía Alternativa, Facultad de Ingeniería, Universidad de Antioquia, Calle 70 No 52-21, Medellín 050010, Colombia
2
Escuela Ambiental, Facultad de Ingeniería, Universidad de Antioquia, Calle 70 No. 52-21, Medellín 050010, Colombia
*
Author to whom correspondence should be addressed.
Processes 2025, 13(7), 1950; https://doi.org/10.3390/pr13071950
Submission received: 21 May 2025 / Revised: 14 June 2025 / Accepted: 18 June 2025 / Published: 20 June 2025
(This article belongs to the Special Issue Modeling and Optimization for Multi-scale Integration)

Abstract

Optimizing vertical-axis hydrokinetic turbines is essential to enhance their energy conversion efficiency and structural reliability, particularly for decentralized renewable energy applications. This study focuses on identifying the most effective turbine design by evaluating the influence of three key parameters: aspect ratio ( A R ), solidity ( σ ), and the index of revolution (I). Specifically, the study considers Gorlov-type vertical-axis turbines, known for their helical design and favorable hydrodynamic characteristics. To achieve this, fifteen turbine configurations were analyzed using a combination of two methods: response surface methodology (RSM) and multi-criteria decision matrices. Both methods converged on the same optimal turbine model, characterized by an I of 0.1, a σ of 0.40, and an A R of 1.0, demonstrating superior energy efficiency and structural robustness, as the design achieved a power coefficient ( C p ) of 40.8% at a tip speed ratio ( T S R ) of 1.01. The integration of numerical simulations and experimental validation provides comprehensive insights into turbine behavior, ensuring reliability in practical applications. These findings advance hydrokinetic energy technologies by identifying configurations that optimize both performance and manufacturability.

1. Introduction

Hydrokinetic energy has materialized as a renewable energy source, particularly for remote or off-grid locations [1,2,3]. Specialized turbines have been developed as a key technology to harness hydrokinetic energy. These turbines can be generally classified into two primary categories: horizontal-axis hydrokinetic turbines (HAHTs) and vertical-axis hydrokinetic turbines (VAHTs) [4,5]. Both types of turbines offer numerous environmental advantages, standing out as clean and sustainable technologies for energy generation. Unlike traditional hydropower plants, they do not require the construction of dams or significant alteration of riverbeds, minimizing the impact on aquatic and terrestrial ecosystems. It is important to note that this benefit refers specifically to small-scale systems based on a single turbine, such as the configuration analyzed in this study. In larger-scale deployments—especially those involving multiple turbines or high-blockage arrays—additional infrastructure may be required, potentially increasing environmental and hydraulic impacts [6,7]. Additionally, their operation does not produce greenhouse gas emissions or atmospheric pollutants, contributing to climate change mitigation. These turbines are also compatible with the natural flow of rivers, allowing the free movement of aquatic species and reducing habitat fragmentation [8]. Finally, their ability to harness low-velocity water currents makes them a viable solution for remote or hard-to-access areas, promoting sustainable energy development without compromising natural resources.
Currently, hydrokinetic turbines are in a developing stage, with significant advancements in HAHT and VAHT designs. The existing literature includes a diversity of studies, ranging from computational fluid dynamics (CFD) simulations and experimental testing to field installations and performance evaluations. These studies often focus on improving blade design, enhancing structural durability, and assessing environmental interactions. Despite these efforts, there is a need for further research in areas like the development of adaptive control systems, the integration of hybrid renewable energy systems, and the long-term environmental monitoring of turbine deployments. Among vertical axis designs, Gorlov-type turbines—characterized by their helical-shaped blades—have attracted attention due to their continuous and smooth torque generation. The Gorlov-type turbine emerged as an evolution of the Darrieus turbine, incorporating helical blades that enable a continuous distribution of angles of attack throughout rotation [9,10]. This design reduces torque pulsations and facilitates self-starting [11,12]. Its geometric configuration provides operational smoothness and mechanical robustness, making it a promising option for both marine and riverine current applications [13,14]. Early research focused on validating the basic hydrodynamic principles and demonstrating the feasibility of the Gorlov design, often employing experimental tests and simplified numerical models. Laboratory-scale prototypes were commonly used to assess performance under controlled conditions. In parallel, two-dimensional and three-dimensional CFD simulations provided insight into flow patterns, pressure distributions, and vortex shedding around the helical blades [15,16,17,18].
Gorlov turbines typically achieve power coefficient values ( C p ) between approximately 0.20 and 0.40, depending on the specific design and flow conditions [12,19,20]. C p is a dimensionless parameter that represents the efficiency with which a turbine converts the kinetic energy of the fluid into mechanical energy. It is defined as the ratio of the power extracted via the turbine to the total available power in the flow, and it serves as a key performance indicator for hydrokinetic devices [11,20].
The optimization of Gorlov-type hydrokinetic turbines presents a complex, multi-variable challenge due to the interdependence of design parameters. To address this, response surface methodology (RSM) was selected as the primary optimization approach in the present study. RSM is a statistical technique that models the relationships between multiple input variables and a response variable—in this case, C p —through a series of designed experiments [21,22]. This method enables the efficient exploration of the design space and the identification of optimal configurations with a reduced number of simulations or tests.
In the context of hydrokinetic turbine research, RSM has been successfully applied in various studies to optimize rotor geometry, operating conditions, and fluid dynamic performance [19,23,24,25]. However, to complement the quantitative results provided by RSM and incorporate multi-criteria evaluation, a second method—decision matrix analysis—was also employed in this study. This approach allows for the integration of additional performance indicators beyond C p , such as torque stability, structural simplicity, and manufacturability. By assigning weighted criteria to each configuration, the decision matrix enables a more comprehensive and systematic evaluation of design alternatives, supporting the selection of the most balanced and technically viable turbine configuration under practical operating conditions.
Within this context, this research centers on the optimization of Gorlov-type VAHTs. The optimization was performed using the response surface methodology (RSM) and the decision matrix approach, considering solidity ( σ ), aspect ratio ( A R ), and index of revolution (I) of the helical blade as key parameters. By exploring various geometric configurations, this research aims to identify the design parameters that maximize energy conversion efficiency while minimizing mechanical stresses and operational costs. Through experimental validation, this study seeks to provide a thorough understanding of the effects of geometric modifications on turbine performance.

2. Materials and Methods

2.1. Gorlov-Type Vertical-Axis Hydrokinetic Turbine

The Gorlov turbine is essentially a Darrieus turbine with a key alteration: the replacement of straight blades by helical ones [26], as shown in Figure 1. The helical blade design enhances torque characteristics, thereby improving the turbine power coefficient ( C p ). This turbine was developed in 1995 by Professor Alexander M. Gorlov [27,28]. He analyzed a three-bladed helical turbine configuration with a diameter of 0.6096 m and a height of 0.8636 m, and he incorporated a NACA 0020 airfoil with a chord length of 0.1778 m for the blades. The turbine’s overall efficiency reached 35% in a flow of 1.524 m/s.
The amount of energy that a hydrokinetic turbine can extract from a fluid flow can be mathematically described by Equation (1) [23]:
P = 1 2 ρ A V 3
where P is the available power, A is the area swept by the turbine blades, ρ is the fluid density, and V is its velocity. C p is defined as the ratio between the available power (P) and the generated power ( P e ), as expressed in Equation (2) [29]:
C p = P e P
P e is determined by multiplying the torque (T) and the rotational speed ( ω ), as described in Equation (3) [30]:
P e = T ω
To define the operational characteristics of a turbine, it is necessary to analyze the evolution of C p with respect to the relative velocity at the turbine blade tip, determined by the tip speed ratio ( T S R ). The T S R is defined as the ratio between the blade tangential velocity at a given instant and the actual velocity at the blade tip. Equation (4) provides the mathematical expression for T S R , where R represents the turbine radius (m).
T S R = ω R V

2.2. Rotor Design

The rotor configuration is a key factor in establishing the total performance of a VAHT. Its geometry must be carefully selected to ensure efficient energy conversion under the specific flow conditions of the deployment site. Hydrodynamic profiles are the cross-sectional shapes of the turbine blades, which determine how water flows around them and influence the generation of lift and drag forces. These profiles are chosen based on their capacity to generate lift at varying angles of attack, which change significantly throughout a full turbine rotation. Symmetric profiles are preferred for vertical-axis turbines due to their balanced lift and drag distribution, ensuring stable performance across different flow conditions [31,32,33]. Among the widely used NACA (National Advisory Committee for Aeronautics) profiles, NACA 0020 was selected for hydrokinetic applications in Colombian rivers due to its 20% thickness-to-chord ratio. This increased thickness is essential for resisting hydrodynamic forces in low-flow environments while maintaining stable performance. Compared to thinner profiles, like NACA 0012 or NACA 0015, NACA 0020 offers greater mechanical resistance, making it particularly suitable for river conditions where flow speeds are relatively low [34,35]. This choice ensures durability and efficiency, balancing structural integrity with hydrodynamic performance. Figure 2 presents a plot of NACA 0012, NACA 0015, and NACA 0020 airfoils, all of them scaled to a chord length of one unit. These profiles are overlaid to facilitate comparative analysis. The airfoils differ in their maximum relative thickness, which corresponds to 12%, 15%, and 20% of the chord length, respectively. This figure visually highlights the geometric differences among the three profiles, particularly in terms of thickness and curvature.
Similarly, the selection of the number of blades in VAHTs is a key factor in optimizing energy conversion. The blades interact directly with the water flow, capturing the kinetic energy and transforming it into mechanical power. Their number not only determines energy capture but also influences the turbine hydrodynamic and structural behavior. A well-balanced blade count ensures an optimal trade-off between drag, lift generation, and turbulence losses, ultimately improving turbine performance. A higher number of blades increases the contact area with the flow, improving energy capture but also raising resistance and hydrodynamic interference, potentially reducing efficiency [36,37]. Conversely, fewer blades allow for a freer flow, reducing friction and turbulence losses; however, they may lead to lower energy capture and rotational instability. VAHTs with the three-blade configuration being the most widely used due to their optimal balance of efficiency, structural stability, and manufacturability. Based on this common practice, a three-blade design was selected for the present study [38,39].
In addition to selecting the appropriate number of blades (n), another critical design parameter for VAHTs is σ . This factor represents the proportion of the rotor swept area occupied by the blades, and it is calculated as the product of the blade count and the ratio of the blade chord length (C) to the rotor diameter (D), as informed in Equation (5) [40,41]. This parameter directly influences the turbine hydrodynamic behavior by affecting energy capture and structural stability [42].
σ = n C π D
A higher σ increases the proportion of the rotor covered by blades, enhancing energy capture but also increasing drag and flow resistance, which can reduce efficiency. This configuration is suitable for low-velocity flows where maximizing energy extraction is essential [43,44,45]. Conversely, a lower σ reduces resistance and turbulence losses, improving efficiency but potentially limiting energy capture, particularly in slow-flowing rivers. For VAHTs, typical σ values range between 0.2 and 0.4, balancing efficiency and energy extraction [45,46,47]. In low-velocity river conditions, higher σ values may be preferable to optimize power output while minimizing hydrodynamic resistance. The choice of σ value must be carefully coordinated with other design parameters, such as blade count and rotor diameter, to achieve an optimal balance between performance and efficiency. Figure 3 shows how the NACA 0020 airfoil’s blade profiles change at σ levels of 0.25, 0.325, and 0.4. All dimensions are in mm. The resulting chord lengths for these solidity values are 41.88 mm, 54.45 mm, and 67.02 mm, respectively.
Another important parameter influencing the hydrodynamic behavior of turbines is the aspect ratio ( A R ), which is defined as the ratio between turbine height and rotor diameter [48,49]. This parameter affects the turbine potential to intercept water flow and influences its energy conversion efficiency. A higher AR increases the flow interaction area and energy capture but may also introduce higher structural loads and frictional losses. In this study, three A R values (0.8, 1.0, and 1.2) are considered. A lower A R (0.8) reduces frictional losses but may limit energy capture, whereas a higher A R (1.2) enhances power generation at the cost of increased lateral forces. The intermediate value (1.0) offers a balance between efficiency and structural stability.
The index of revolution (I) defines the helical pitch fraction over a full rotation, measured parallel to the turbine axis and constrained within the rotor disk [26,50]. It directly influences the blade geometry and its interaction with the water flow. This index is expressed as the ratio between the turbine height (H) and the helical pitch ( P h ), meaning that, as the pitch increases, I decreases. A lower I results in blades following a more elongated and flatter trajectory, while a higher I corresponds to a tighter, more helical path. This variation significantly affects both energy capture and the turbine structural resistance. According to Jayaram et al. [26], I typically ranges from 0.10 to 0.50 as the helical pitch decreases; see Figure 4. Since A R also governs the turbine height, its interaction with I impacts the optimum blade geometry. The selection of an appropriate I value ensures an effective balance between energy conversion efficiency and mechanical stability.
At lower I values, the more helical trajectory of the blades can enhance energy capture in high-velocity flows, but it also leads to higher induced resistance. In contrast, a higher I, which can be associated with smaller helix angles, allows for more efficient operation in lower-velocity flows, optimizing turbine performance under different operating conditions. The proper design of this parameter is crucial to balancing the efficiency and stability of the hydrokinetic turbine.
The angle of attack ( α ) is defined as the angle between the relative velocity of the incoming water flow ( U r e l a t i v e ) and the chord line (C) of the rotor blade. This parameter plays a crucial role in determining the hydrodynamic forces acting on the blade, thereby influencing torque production, power output, and the overall hydrodynamic efficiency of the turbine system [51,52]. Typical angles of attack in VAHTs adopt values between 0° and 25° [53,54,55,56] although they may vary, depending on the specific blade design and site operating conditions. Figure 5 presents a diagram showing how to measure the angle of attack in a VAHT.
In this regard, the rotor was designed with three blades. This fixed number of blades was chosen based on common configurations that provide a good balance between performance and structural simplicity [57,58]. The selected blade profile was the NACA 0020, due to its symmetric shape and 20% thickness-to-chord ratio, which offers a reliable performance under varying flow conditions [59,60]. An angle of attack of 9° was adopted in this study, as a review of the relevant literature revealed that this specific value is rarely, if ever, used in previous research. Most studies investigating vertical axis turbines typically explore angles of attack within the range of 0° to 25° [53,54,55,56], but they tend to do so in increments of 5°—such as 0°, 5°, 10°, 15°, and so on—without testing intermediate values like 9°. Therefore, selecting 9° allows for the exploration of a potentially optimal yet underexamined configuration, offering new insights into turbine performance in a range often overlooked. A rotor diameter of 160 mm was selected, as this value corresponds to the maximum allowable size for experimental testing in the available water channel. Other key parameters, including σ , A R , and T S R , were varied within the ranges identified in the literature to analyze their combined effects on C p .

2.3. Optimization Methodology

2.3.1. Response Surface Methodology (RSM) and Design of Experiments (DOE)

Exploring the combined impact of σ , A R , and I, along with determining the optimal configurations allowing for the maximization of C p , the RSM was employed. RSM represents an optimization approach that employs statistical and mathematical techniques to examine scenarios where a dependent variable (Y) is influenced by several independent variables ( X i ) [22,61]. This methodology enables the representation of the response variable through surface plots or contour graphs [22,62]. Applying RSM to optimize a given response variable begins with defining a DOE.
DOE is a statistical method for efficiently planning, executing, and analyzing experiments, maximizing information gain while minimizing effort [63,64]. This approach helps identify relationships between multiple variables and their effects on the response of interest [65].
In this context, a central composite design (CCD) was implemented to explore the influence of three factors on C p . The selected factors included I, σ , and A R . The values of I considered were 0.1, 0.25, and 0.5, while σ levels were set at 0.25, 0.325, and 0.4. Finally, the A R values chosen were 0.8, 1.0, and 1.2.
A matrix of 15 experimental models was developed, as shown in Table 1. Each row in the table corresponds to a specific configuration of the studied factors, facilitating the identification of trends and patterns in the experimental results. Of the 15 treatments, the last three replicate the same combination of factors, following the recommendations of CCD methodologies, which suggest repeating the central point to assess experimental variability. The analysis of results derived from this matrix will not only help identify the optimal factor combination for improving C p but also provide valuable insights into the operational dynamics of these devices. Through a rigorous statistical evaluation, it is possible to determine significant interactions and their effects on the turbine performance, contributing to the advancement of VAHT design and optimization.
After the DOE is set up, an equation is developed to explain how X i and Y are related, providing the basis for additional analysis. In RSM, several types of regression models can be used, depending on the complexity of the system under study [22,66]. A first-order (linear) model considers only the main effects of the independent variables and assumes a linear relationship between the predictors and the response. In turn, a second-order (quadratic) model includes both main effects and interaction effects, as well as squared terms, allowing the modeling of curvature in the response surface. More complex systems may also require higher-order models, although these are less common due to increased complexity and reduced interpretability [21,62]. The second-order regression model is expressed as described in Equation (6) [25].
Y = β 0 + i = 1 k β i X i + i = 1 k β i i X i 2 + i = 1 k j = i + 1 k β i j X i X j + ε

2.3.2. Multi-Criteria Decision Matrix

Decision matrices are a systematic analysis tool used in multi-criteria decision-making processes [67,68]. Their structured approach allows for the evaluation, weighting, and comparison of different alternatives or configurations based on predefined criteria, facilitating the identification of the optimal solution under specific conditions. In engineering, decision matrices have proven valuable for the design and improvement of renewable energy technologies, such as Gorlov-type hydrokinetic turbines [68,69,70,71,72].
The energy efficiency and structural stability of Gorlov turbines depend on the optimal configuration of multiple design parameters. Utilizing decision matrices in the optimization process provides a clear and organized framework for analyzing the results of simulations and experimental tests across various design configurations. In this approach, each row in a matrix represents a potential design alternative, while the columns correspond to evaluation criteria. Weighting techniques can assign different levels of importance to each criterion [73,74], reflecting project priorities. In the specific case of Gorlov turbines, multi-criteria analysis helps balance energy conversion efficiency and structural impact minimization. For instance, increasing the index of revolution often enhances performance in low-velocity flows; however, it can also increase manufacturing complexity and the risk of structural fatigue. By simultaneously considering these factors within a decision matrix, it becomes possible to identify the optimal trade-off for different operational scenarios. The flexibility of decision matrices also enables the incorporation of external factors, such as environmental impact, operational stability under transient flow conditions, and ease of maintenance. By integrating additional criteria into the optimization process, it is possible to design hydrokinetic turbines that are not only efficient but also sustainable and well adapted to practical operating conditions. To select the most suitable design among the 15 Gorlov turbine models, a multi-criteria decision matrix was used. Five criteria were defined, with the values in parentheses indicating the weights assigned to each parameter based on its relevance. These criteria were structural strength (20%), volume (10%), self-starting capability under load (10%), energy performance (40%), and manufacturability (20%). It is important to note that the assigned weights reflect the judgment of the researchers conducting the study, based on the specific objectives and priorities of the evaluation.
Structural strength is a critical factor in ensuring the durability and safe operation of the turbine under practical flow conditions. The excessive deformation of the structure under hydraulic or mechanical loads can compromise efficiency and safety. This criterion was evaluated on a scale from 1 to 5, where 5 corresponds to the lowest deformation, indicating the best structural performance, and 1 represents the highest deformation, with intermediate values reflecting varying levels of structural integrity. To assess this criterion, a fluid–structure interaction (FSI) simulation was conducted for all 15 turbine models using ANSYS software 2022 R1. The objective was to analyze how each turbine responds to hydrodynamic forces and to determine the maximum deformations experienced by the structure. The computational model for the CFD analysis was created in ANSYS, including a 3D geometry of the fluid domain surrounding the Gorlov turbine (Figure 6). A structured mesh was used to discretize the fluid domain, ensuring high resolution around the blade surfaces, and boundary conditions were defined as follows: a uniform flow velocity of 0.5 m/s was imposed at the inlet, represented by the blue lines indicating the normal inlet velocity; atmospheric pressure was set at the outlet, shown with the red lines exiting the domain; and no-slip conditions were applied to the channel walls and the turbine surfaces, with the gray face representing a no-slip wall (Figure 6). For the structural analysis, the turbine geometry was imported into the ANSYS mechanical module, where stainless steel was defined as the material. After the appropriate boundary conditions and loads were applied, the structure was discretized using a finite element mesh. The pressure field obtained from the CFD analysis was then mapped onto the structural model to transfer the hydrodynamic forces to the structural domain. A static structural analysis was subsequently performed to determine the maximum deformation of each model and evaluate its structural integrity. Based on the simulation results, the maximum and minimum deformation values observed among the evaluated models were used to define five deformation intervals. Each interval was then assigned a score from 1 to 5, with 5 corresponding to the range with the least deformation and 1 to the range with the greatest deformation.
The second criterion, which refers to volume, was considered important because a compact design offers advantages in terms of transportation, installation, and integration into various environments. Volume is defined as the measure of the amount of space occupied by a three-dimensional object, making it a key parameter when assessing the overall size and practicality of the models. Nevertheless, reducing the volume must not compromise efficiency or structural stability. The volume of each turbine model was obtained directly from the CAD-based 3D design files. Using the minimum and maximum volume values observed across the models, five intervals were defined. Each interval was assigned a score from 1 to 5, where a score of 5 corresponds to the smallest volumes and 1 to the largest. Intermediate scores were given to models falling within the mid-range intervals. Although all designs were intended as lab-scale prototypes, the differences in volume were considered significant for comparative evaluation.
The third criterion, self-starting capability under load, evaluated whether the turbine was able to initiate rotation autonomously when subjected to a mechanical load. This property is particularly valuable in environments with variable flow conditions, as it ensures that the turbine can resume operation without external intervention. The evaluation for this criterion was binary: turbines that successfully self-started during the test were assigned a score of 5, while those that did not were given a score of 1. The tests were carried out using a 12 V, 1000 rpm DC motor to apply a mechanical load, which allowed for a standardized and consistent assessment across all models.
The fourth criterion, energy performance, reflects the turbine’s ability to convert the available energy from the fluid flow into useful mechanical power. For the purpose of scoring, the theoretical maximum efficiency—the Betz limit of 59.3% [75,76]—was used as the upper boundary, while an efficiency of zero was considered the lower boundary. Based on these two limits, five efficiency intervals were established. Each interval was assigned a score from 1 to 5, with 5 corresponding to the highest efficiency range and 1 to the lowest. Turbine models were scored according to the interval in which their efficiency fell, allowing for intermediate values to reflect varying levels of energy conversion performance within the defined scale.
Finally, the manufacturability criterion assessed how easily each turbine model could be fabricated. Simpler and more robust designs reduce production costs, minimize assembly errors, and facilitate scaling up to real-world applications. This criterion was scored from 1 to 5, with 5 corresponding to designs that were easier to manufacture. The evaluation was based on practical considerations observed during the prototype construction phase. Designs with a higher σ were favored for their structural strength and ease of handling during molding or assembly. Additionally, models with lower I values were given higher scores, as their reduced curvature and torsion simplified the manufacturing process. A R was considered a neutral parameter with respect to fabrication, since its variation did not significantly influence the ease of construction.
To assign a manufacturability score, a combined approach was used involving solidity ( σ ) and the revolution index (I). Solidity values of 0.25, 0.325, and 0.4 were assigned scores of 1, 3.0, and 5, respectively, with higher values reflecting greater manufacturability due to enhanced structural simplicity and robustness. The revolution index, which took values of 0.5, 0.3, and 0.1, was inversely scored as 1, 3.0, and 5, respectively, since lower revolution values are associated with simpler geometries that are easier to produce. After individual scores were assigned to each parameter, the final manufacturability score was calculated as the average of the two values. This method provided a balanced assessment that captures both geometric simplicity and structural feasibility in the fabrication process.

2.4. Prototype Fabrication and Test Bench Configuration

The 15 models were manufactured via additive manufacturing with PLA, known for its suitable mechanical properties and ease of use in additive manufacturing processes. PLA is particularly valued in engineering applications and rapid prototyping due to its low cost and the ability to achieve acceptable surface finishes [77,78]. In this case, a 15% infill density was selected to optimize material usage without compromising the structural integrity of the models. This configuration provides a balanced trade-off between lightness and strength, making it ideal for fabricating components that are not subjected to extreme loads. The printed rotors are shown in Table 2. The rotors were constructed in two separate parts: a base that includes the turbine blades and a detachable top. By separating the components in this way, it was possible to avoid the need for additional support structures during printing, which are often difficult to remove and can affect surface quality. For the joints between the blades and the base, a higher infill density of 40% was used. Increasing the infill in these critical connection areas ensured enhanced structural strength at points that experience greater stress during turbine operation.
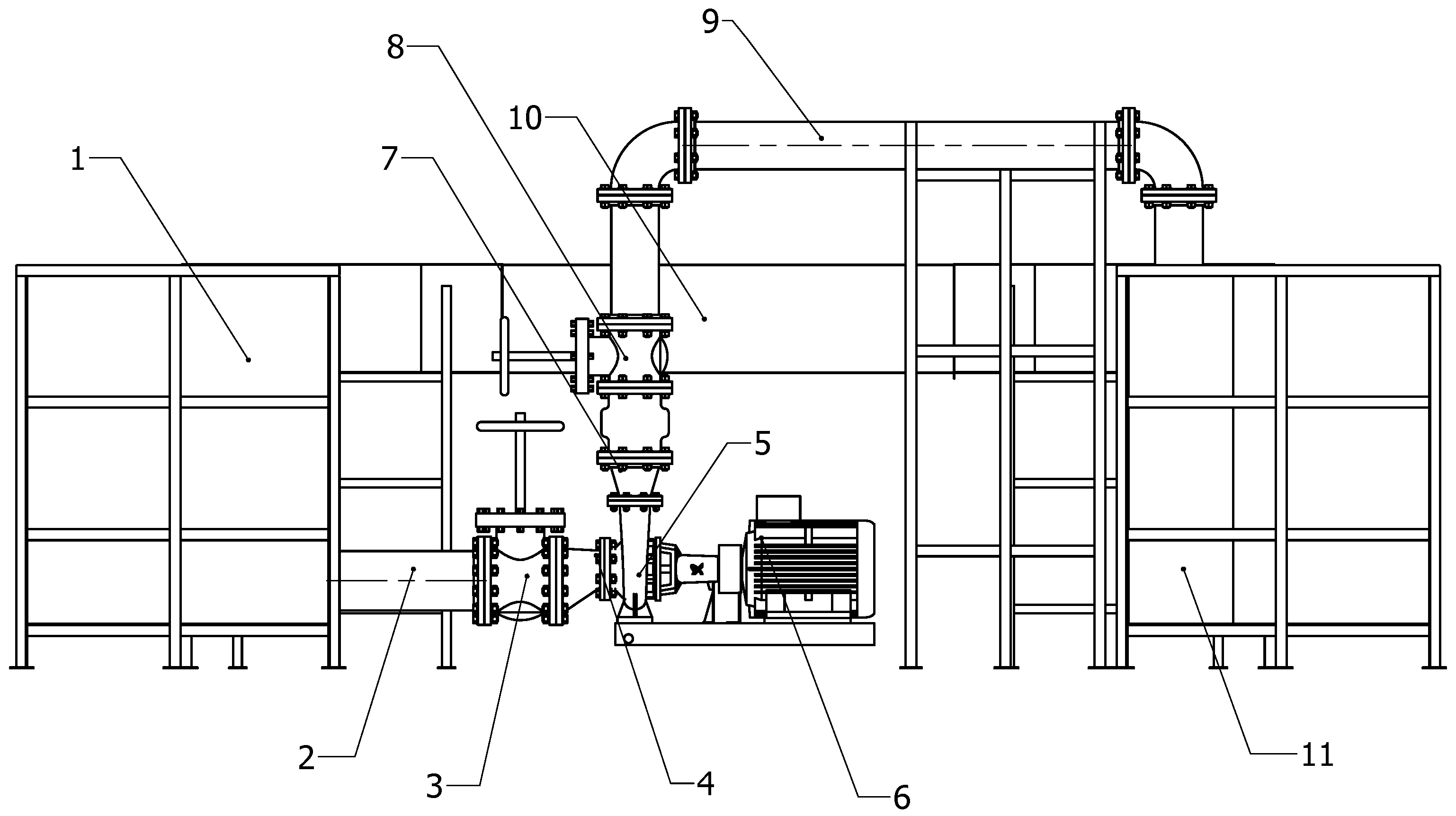
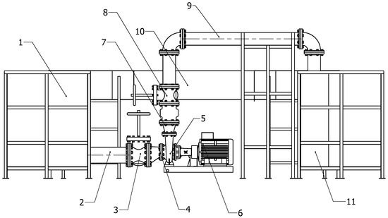
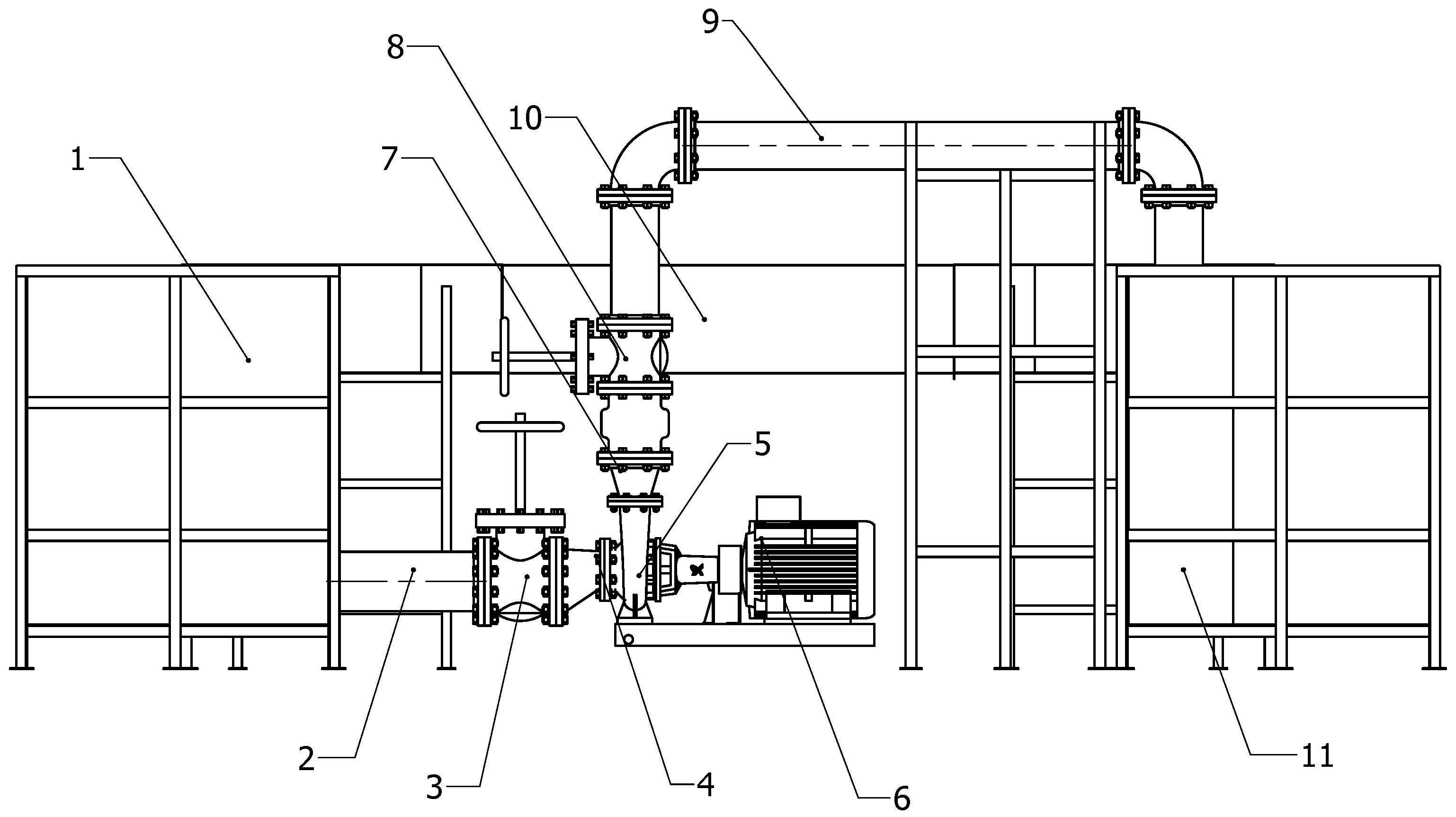
The experimental setup used for testing the turbines is illustrated in Figure 7. The system is designed to provide a controlled flow of water at a velocity of 0.5 m/s through the test section where the turbine is installed. The configuration consists of a closed-loop water circuit that begins at the suction tank (1), from which water is drawn through the suction line (2). A valve (3) allows control over the flow entering the system, followed by an eccentric reducer (4) that adjusts the line diameter to match the pump (5) inlet. The motor (6) drives the pump, ensuring a steady flow rate throughout the circuit. Downstream of the pump, a concentric reducer (7) transitions the flow into a uniform line leading to another valve (8) for additional flow regulation. Water then passes through the discharge pipe (9) and enters the test section (10), where the turbine is installed and evaluated under experimental conditions. After passing through the test section, the water is collected in the discharge tank (11), allowing it to recirculate through the system.
The experimental tests were conducted in Medellín, Colombia, at an altitude of approximately 1500 m above sea level. Under these conditions, the average atmospheric pressure is around 85 kPa, and the ambient temperature typically ranges between 20 °C and 25 °C. The water used in the closed-loop system was potable water, initially sourced from the municipal supply network. To ensure long-term use without the need for constant replacement—and to avoid water waste—preservative treatments were applied to maintain water quality within the storage and circulation tanks. During the experiments, the water temperature remained stable at approximately 22 °C, which is representative of the typical operating conditions for small-scale hydrokinetic systems in tropical or temperate river environments. While minor variations in temperature may affect water density and viscosity, their influence on the performance results was considered negligible within the scope of this study.
For the experimental testing of the 15 turbine models, the following data acquisition system was employed. The setup includes a direct current (DC) motor and a rotary torque sensor (Futek TRS 605-FSH02052), as shown in Figure 8. The motor was employed to apply a variable braking load. The motor was linked to an external power source with the ability to control current and voltage, thus enhancing the mechanical resistance opposing the rotor. The motor was set to rotate in the direction opposite to the turbine, generating a controlled braking effect. As the load increased, the rotor slowed down, enabling accurate torque measurements at different rotational speeds.
Figure 9 shows actual photographs of the test bench, along with part of the data acquisition system, including the motor and the sensor used in the experiments.

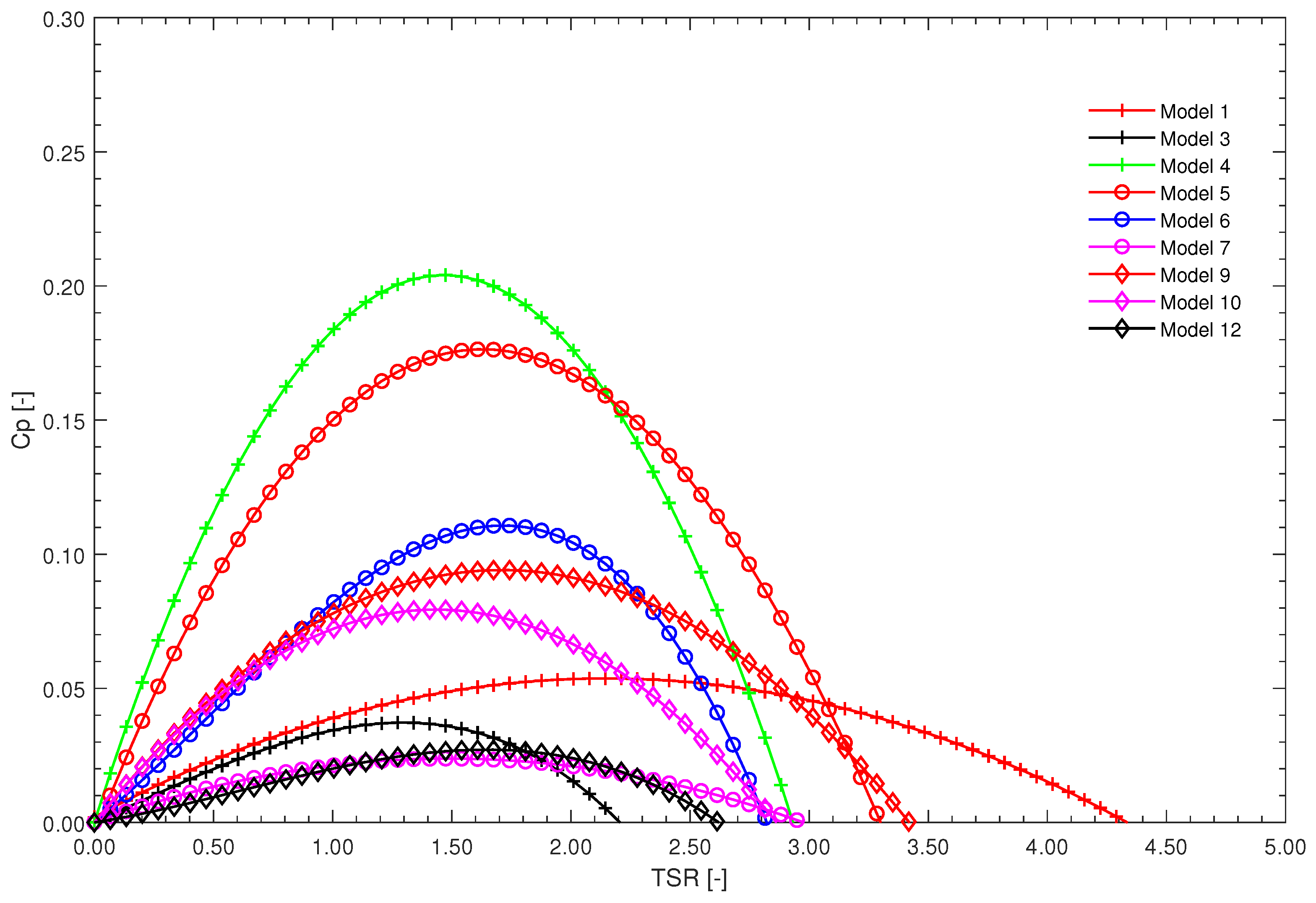
3. Results and Discussion

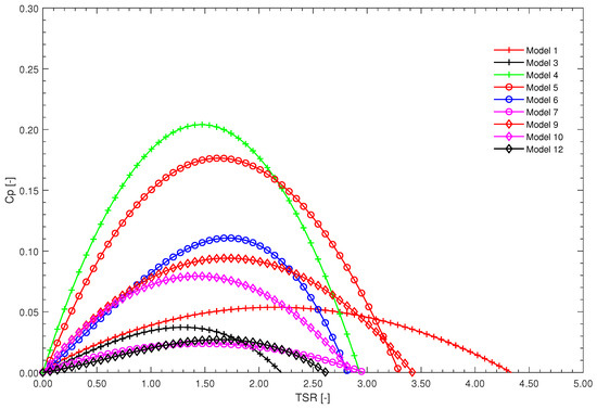
Figure 10 presents the results of the comparison between C p and T S R for the turbine models. It is important to note that models 2, 8, 11, 13, 14, and 15 were unable to rotate under the test flow velocity of 0.5 m/s. This outcome highlights the importance of selecting and optimizing turbine geometries to maximize performance under specific operating conditions.
As shown in Figure 10, all curves exhibit a characteristic trend typical of vertical-axis turbines. Three distinct regions can be identified: I. Growth phase: C p initially increases with T S R , indicating improved energy capture efficiency. II. Peak: Each curve reaches a maximum C p at a T S R , representing the optimal operating point for each turbine model. III. Decline: Beyond this peak, C p decreases as the T S R continues to rise, due to increased losses and flow separation [79,80,81,82].
Model 4 exhibits the highest C p , reaching nearly 0.20 at an optimal T S R of approximately 1.5. This high efficiency suggests a well-balanced combination of σ , A R , and T S R , resulting in effective energy capture. Model 5 shows the second-highest C p , around 0.18, with a performance trend like model 4. Its optimal T S R is slightly higher, at about 1.6. Models 6, 9, 10, and 1 are considered intermediate performers, with maximum C p values ranging from 0.05 to 0.12, reached at T S R between 1.5 and 2.5. This suggests moderate energy conversion efficiency, likely due to geometric configurations that do not fully optimize hydrodynamic performance. The lowest-performing models are 3, 12, and 7, all of which failed to exceed C p of 0.05 and reach their peak at relatively higher T S R between 1.5 and 1.7. Models 2, 8, 11, 13, 14, and 15 recorded a C p of zero, as they were unable to rotate under the test conditions. This poor performance indicates potential design issues, such as inadequate σ or an unfavorable angle of attack relative to the flow conditions. Table 3 summarizes the maximum C p values achieved with each turbine model.
From the C p data collected, a second-order linear regression model was built (Equation (7)). An analysis of variance (ANOVA) test was also conducted in RStudio 2024.12.0 to evaluate the influence of different factors on the C p . Table 4 contains the p-values resulting from this analysis, as well as the model coefficients of determination ( R 2 and adjusted R 2 ). The percentage of variance in the response variable explained by the second-order equation is represented by these coefficients, which ideally should surpass 0.8 to guarantee reliability [83,84].
To achieve a statistically significant regression model, it was necessary to transform the response variable ( C p ) by raising it to the power of 2 / 3 . Without this transformation, or when applying more common alternatives such as the square root, cube root, or natural logarithm, the model p-value did not meet the threshold for statistical significance ( p < 0.05 ) [85,86]. This indicated that the model failed to adequately represent the relationship between the independent variables and C p , compromising its validity [87,88]. The need for this transformation arises from the fact that the relationship between the variables is not strictly linear in its original form. Transforming C p helped stabilize the variance, improve the normality of residuals, and reduce heteroscedasticity, thereby ensuring that the regression model satisfies the fundamental assumptions of statistical analysis [89,90]. The specific exponent of 2 / 3 was determined through iterative testing, evaluating which transformation provided the best fit and yielded statistically significant coefficients, thus ensuring the validity and robustness of the final model.
Analyzing the p-values in Table 4 at a significance level of 0.05 revealed that the most influential term affecting C p 2 / 3 is the quadratic term of the index of revolution ( I 2 ), with a p-value of 0.000223. The least influential terms in explaining the variation in C p are, first, the interaction between the index of revolution and aspect ratio ( I ) ( R A ) , followed by the interaction between the index of revolution ratio and solidity ( I ) ( σ ) . With a total p-value of 0.0007995, the model’s statistical significance is confirmed, showing that it accurately describes how the experimental variables relate to C p behavior. The residual sum of squares, at 0.00709, implies that the variance not explained is quite low.
The R 2 value of 0.9649 indicates that the model explains 96.49% of the variance in C p 2 / 3 . The adjusted R 2 of 0.9181 further supports the strength and reliability of the model. The final regression model is presented in Equation (7).
C p 2 / 3 = 1.9142 2.2833 I 3.5208 R A 0.1433 σ + 3.6101 I 2 + 1.5728 R A 2 + 0.2583 ( I ) ( R A ) 1.5609 ( I ) ( σ ) + 1.5949 ( R A ) ( σ )
The σ 2 term was excluded from the final regression model, as its p-value in the ANOVA table exceeded 0.8, indicating that it was not a significant contributor to the model. In addition to the R 2 and p-value, the model requires conducting a residual analysis, which examines the differences between the observed and predicted C p values [91].
In regression modeling, verifying the normality assumption of residuals is crucial for the validity of the analysis [92,93,94]. This requirement was initially assessed visually by examining the frequency distribution (Figure 11a), where histogram bars should match the normality line (red). Subsequently, the normal probability plot was inspected (Figure 11b), with data points expected to closely track the red line, indicating normally distributed residuals. These graphical evaluations were further supported with numerical tests (Table 5). As all p-values in the table were above 0.05, the residuals indeed follow a normal distribution.
The independence of residuals, which indicates the absence of autocorrelation, is another fundamental assumption [95,96]. The assumption was checked using the Durbin–Watson test, which returned a p-value of 0.8527. Such a high p-value confirms that the residuals are independent and randomly distributed. The Breusch–Pagan test, yielding a p-value of 0.05964, confirmed the homoscedasticity of the residuals, indicating constant variance [89]. This finding, along with prior normality checks, collectively validates that the regression model satisfies essential assumptions for reliable analysis.
With the model’s validity having been confirmed, the model can now predict the best design, identified as the setup that yields the highest C p . The response surfaces showing how factor pairs interact are depicted in Figure 12. Figure 13 shows the 2D contour plots of the response surfaces, which clearly illustrate the relationship between A R , I, σ , and C p in a two-dimensional (2D) plane. These visualizations are particularly useful for identifying optimal regions within the design space, as they facilitate the interpretation of the combined effects of the studied factors. Additionally, the 2D views help reveal potential interactions between variables, providing a more intuitive understanding of how the response values change as a function of the analyzed parameters.
From Figure 12a, a non-linear behavior of C p can be observed, with a maximum point located approximately at an A R close to 1.1 and a low I (around 0.1). As A R increases, C p rises progressively, suggesting that a higher A R is favorable for improving the turbine efficiency under these conditions. The trend of the contour lines also indicates that the I plays a key role, as C p increases at very low values of I. Figure 12b, a valley or minimum region of C p is identified, which is centered approximately at σ = 0.30 and I = 0.25 . In this area, C p reaches values close to zero, suggesting an unfavorable combination of parameters. Regarding the effect of I (from 0.10 to 0.50), C p initially decreases and then begins to rise slightly at the extremes. The minimum occurs at intermediate values, indicating a potentially non-linear behavior. As for σ , C p improves gradually with increasing σ , particularly toward the upper right region of the graph (where σ 0.4 and I 0.1 ). This trend suggests that a higher σ is beneficial for improving turbine efficiency, especially under conditions of low I. From Figure 12c, C p is seen to increase with both σ and A R , though more significantly with σ . For σ values above 0.35 and A R near 1.2, C p reaches the highest values. The distribution of the contour lines suggests that A R has a less pronounced influence than σ in this parameter combination. Based on the previous figures and the regression model expressed in Equation (7), the optimal configuration corresponds to model 4, with a predicted C p of 0.1793. Model 4 features an I of 0.1, a σ of 0.4, and an A R of 1.0. This represents the optimal model identified through the RSM.
In the following section, the optimal model was determined using the decision matrix and the evaluation criteria previously outlined.
Figure 14 shows the pressure field on one of the studied models, obtained from the fluid dynamics simulation. In the figure, the red color indicates areas of higher pressure, while the blue color corresponds to regions of lower pressure. These pressure distributions obtained from the CFD analysis are then mapped onto the CAD model to serve as input for a structural analysis within an FSI framework. This process allows for the evaluation of the mechanical response of the turbine components under realistic operating conditions, ensuring that the design can withstand the loads imposed by the fluid flow. Figure 15 shows the maximum and minimum deformations for model 4, which are caused by the fluid pressure distribution illustrated in Figure 14. This procedure was repeated for the 15 models analyzed, and the resulting maximum deformations are presented in Table 6. Since the pressure field varies across each model due to differences in geometry and flow interaction, the resulting deformations also differ accordingly. It is important to note that the deformation displayed in Figure 15 is scaled to enhance visualization; in fact, the rotor does not deform to the extent shown in the figure. Specifically, the deformation is magnified by a scale factor of 1.5 × 10 5 . Additionally, Table 6 includes the volume of each model.
Table 7 presents the results obtained for the 15 models based on the five criteria defined for the decision matrix: deformation, volume, energy performance (measured with C p ), ease of manufacturing, and self-starting capability under load. Each model was evaluated using these criteria, and a weighted scoring approach was applied to mine the overall performance of each design. The total score ( T S ) for each model was calculated by multiplying the normalized value of each criterion by its assigned weight and summing the results. This is expressed in Equation (8) [97,98].
T S = i = 1 j w i x i
where w i represents the weight assigned to criterion, j is the number of model, and x i is the normalized value of the model for that criterion. The model with the highest total score is considered the optimal design according to the multi-criteria decision analysis.
Based on Table 7 and the established evaluation criteria, Turbine 4 emerges as the best overall option, achieving the highest total score of 3.4 out of a possible 5 points. According to criterion 1 (deformation), turbine 4 stands out by receiving the maximum score (5), indicating excellent structural performance with a minimal deformation under fluid pressure. This characteristic is crucial for maintaining mechanical integrity and ensuring long-term durability under operational conditions. For criterion 2 (volume), turbine 4 receives a low score of 1, suggesting it is one of the models with a larger volume. In contrast, turbines 1, 2, 8, and 11 obtain the maximum score (5), indicating more compact and potentially material-efficient designs. Reducing volume can lead to lighter structures and lower material costs, making this an area for potential optimization in turbine 4. Regarding criterion 3 (self-starting capability under load), turbine 4 scores the maximum (5), along with turbines 3 and 10. This result highlights its excellent performance in initiating motion autonomously, even under resistive torque. Such behavior is critical for stand-alone or remote installations where external starting mechanisms are not feasible.
For criterion 4 (energy efficiency or C p ), turbine 4 receives a score of 2, which is slightly better than most models that scored only 1. While it does not reach the maximum performance level, this still indicates a decent level of energy conversion. Improving this criterion could significantly enhance the overall energy output of the system. Finally, in criterion 5 (ease of manufacturing), turbine 4 achieves the maximum score (5), shared with turbines 3, 5, 6, 7, 9, and 12. This reflects a design that is relatively simple to fabricate, likely to involve fewer components or more accessible manufacturing processes. High manufacturability reduces production time, costs, and complexity, which is beneficial for prototyping and scaling up.
Turbine 4, which is depicted in Figure 16, stands out for its outstanding performance in criteria 1, 3, and 5. Although there is room for improvement in criterion 2, its overall performance positions it as the best option according to the established evaluation criteria.

4. Conclusions

VAHTs of the Gorlov type have emerged as a promising solution for decentralized energy generation, especially in low-head river environments where conventional turbines are not viable. Their compact design, ability to operate independently of flow direction, and potential for modular implementation make them attractive for distributed renewable energy systems. In this study, the design optimization of Gorlov-type vertical-axis turbines was addressed using two complementary methodologies: RSM and a multi-criteria decision matrix analysis. These approaches were applied to a set of 15 experimental configurations, derived from a central composite design considering three key factors: σ , A R , and I. These parameters significantly influence the hydrodynamic performance and structural behavior of the turbine.
  • The RSM approach focused on constructing mathematical models that describe the relationship between design parameters and the C p based on results obtained from experimental tests conducted in a hydraulic channel. Through these models, optimal configurations were identified using numerical optimization techniques. One of the main strengths of RSM is its ability to provide analytical models that facilitate the identification of trends and enable gradient-based optimization within the studied design space. However, its accuracy strongly depends on the quality of the regression fit and the suitability of the selected model.
  • The decision matrix analysis enabled a more comprehensive evaluation by integrating multiple performance criteria, including deformation, volume, self-starting capability, ease of manufacturing, and energy efficiency. This method offers the advantage of incorporating both qualitative and quantitative aspects of the design, offering a broader view that includes technical feasibility and implementation constraints. Nonetheless, the main limitation of this approach is the subjectivity involved in assigning weights to each criterion, which can affect the outcome of the selection process.
By applying both methods, turbine 4 was identified as the optimal design, showing a strong balance across structural performance, self-starting ability, manufacturability, and hydrodynamic efficiency. Although it showed room for improvement in terms of volume, its overall score in the decision matrix and its favorable C p prediction in the RSM analysis make it a robust candidate for implementation.
Although the turbines tested in this study have a diameter of 160 mm, the results obtained for parameters such as aspect ratio ( A R ), solidity ( σ ), and revolution index (I) are dimensionless. This makes the findings scalable and applicable to the design of larger turbines, depending on the specific characteristics of the intended installation site. By using these non-dimensional parameters and the performance trends identified in this work, it is possible to define the rotor diameter and scale the design appropriately to meet the energy demands and flow conditions of full-scale applications.
This dual-approach optimization strategy demonstrates the value of combining analytical modeling with multi-criteria evaluation to support the design of efficient, technically viable, and implementable renewable energy technologies. Future work could include the experimental validation of the selected model under real operating conditions and exploring additional criteria, such as maintenance requirements and environmental impact.

Author Contributions

Conceptualization, L.V., A.R.-C. and E.C.; methodology, L.V., A.S. and E.C.; software, A.S. and L.V.; validation, A.S., L.V. and J.R.; formal analysis, L.V. and E.C.; writing—original draft, L.V., A.R.-C. and E.C.; writing—review and editing, A.R.-C. and E.C.; supervision, E.C.; project administration, A.R.-C. and E.C.; funding acquisition, E.C. All authors have read and agreed to the published version of the manuscript.

Funding

We acknowledge the financial support provided by the Colombian Ministry of Science, Technology, and Innovation “MinCiencias” through “Patrimonio Autónomo Fondo Nacional de Financiamiento para la Ciencia, la Tecnología y la Innovación, Francisco José de Caldas” (Perseo Alliance, Contract No. 112721-392-2023).

Data Availability Statement

The original contributions presented in the study are included in the article; further inquiries can be directed to the corresponding author.

Conflicts of Interest

The authors declare no conflicts of interest.

Abbreviations

The following abbreviations are used in this manuscript:
RSMResponse surface methodology
HAHTHorizontal-axis hydrokinetic turbine
VAHTVertical-axis hydrokinetic turbine
CFDComputational fluid dynamics
NACANational Advisory Committee for Aeronautics
CCDCentral composite design
DOEDesign of experiments
FSIFluid–structure interaction
CADComputer-aided design
PLAPolylactic acid
DCDirect current
A R Aspect ratio
σ Solidity
IIndex of revolution
C p Power coefficient
T S R Tip speed ratio
PAvailable power
ρ Density of water
AArea
VVelocity
P e Generated power
TTorque
ω Angular velocity
RTurbine radius
nNumber of blades
CChord length
DRotor diameter
P h Helical pitch
α Attack angle
YDependent variable
X i Independent variable
T S Total score
w i Weight
jNumber of model
x i Normalized value of the model

References

  1. Sood, M.; Singal, S.K. Development of Hydrokinetic Energy Technology: A Review. Int. J. Energy Res. 2019, 43, 5552–5571. [Google Scholar] [CrossRef]
  2. Tan, K.W.; Kirke, B.; Anyi, M. Small-Scale Hydrokinetic Turbines for Remote Community Electrification. Energy Sustain. Dev. 2021, 63, 41–50. [Google Scholar] [CrossRef]
  3. Ibrahim, W.; Mohamed, M.; Ismail, R.; Leung, P.; Xing, W.; Shah, A. Hydrokinetic Energy Harnessing Technologies: A Review. Energy Rep. 2021, 7, 4281–4299. [Google Scholar] [CrossRef]
  4. Chen, C.; Ageze, M.B.; Tigabu, M.T. Perspectives of Vertical Axis Wind Turbines in Cluster Configurations. Fluid Dyn. Mater. Process. 2024, 20, 2657–2691. [Google Scholar] [CrossRef]
  5. Didane, D.H.; Behery, M.R.; Al-Ghriybah, M.; Manshoor, B. Recent progress in design and performance analysis of vertical-axis wind turbines—A comprehensive review. Processes 2024, 12, 1094. [Google Scholar] [CrossRef]
  6. Karakaya, D.; Ozturk, B.; Elci, S. Hydrokinetic power potential assessment of the Çoruh River Basin. Energy Sustain. Dev. 2024, 82, 101533. [Google Scholar] [CrossRef]
  7. Kabeyi, M.J.B.; Olanrewaju, O.A. Hydroelectric Power Plants and Their Sustainability; IntechOpen: London, UK, 2025. [Google Scholar] [CrossRef]
  8. Müller, S.; Muhawenimana, V.; Sonnino-Sorisio, G.; Wilson, C.A.M.E.; Cable, J.; Ouro, P. Fish response to the presence of hydrokinetic turbines as a sustainable energy solution. Sci. Rep. 2023, 13, 7459. [Google Scholar] [CrossRef] [PubMed]
  9. Battisti, L.; Brighenti, A.; Benini, E.; Castelli, M.R. Analysis of different blade architectures on small VAWT performance. J. Phys. Conf. Ser. 2016, 753, 062009. [Google Scholar] [CrossRef]
  10. Abu-Hamdeh, N.H.; Almitani, K.H. Construction and numerical analysis of a collapsible vertical axis wind turbine. Energy Convers. Manag. 2017, 151, 400–413. [Google Scholar] [CrossRef]
  11. Espina-Valdés, R.; Gharib-Yosry, A.; Ferraiuolo, R.; Fernández-Jiménez, A.; Fernández-Pacheco, V.M. Experimental comparison between hydrokinetic turbines: Darrieus vs. Gorlov. Environ. Sci. Proc. 2022, 21, 26. [Google Scholar]
  12. Jayaram, V.; Bavanish, B. A brief review on the Gorlov helical turbine and its possible impact on power generation in India. Mater. Today Proc. 2021, 37, 3343–3351. [Google Scholar] [CrossRef]
  13. Reddy, K.B.; Bhosale, A.C. Effect of number of blades on performance and wake recovery for a vertical axis helical hydrokinetic turbine. Energy 2024, 299, 131520. [Google Scholar] [CrossRef]
  14. Hassan, W.U.; Jalal, A.; Bilal, M.A.; Buzal, M.Z.; Asghar, H.; Ali, U. Parametric analysis of a helical-bladed vertical axis wind turbine. J. Ocean Eng. Mar. Energy 2024, 10, 383–398. [Google Scholar] [CrossRef]
  15. Marouf, N.; Cameron, S.; Nikora, V. A Comparative Study of Axial and Cross-Flow Hydrokinetic Turbines for Riverine Applications. 2024. Available online: https://ssrn.com/abstract=5146411 (accessed on 14 June 2025).
  16. Saini, G.; Saini, R.P. A review on technology, configurations, and performance of cross-flow hydrokinetic turbines. Int. J. Energy Res. 2019, 43, 6639–6679. [Google Scholar] [CrossRef]
  17. Etemadeasl, V.; Esmaelnajad, R.; Gharlai, K.; Riasi, A. Application of entropy production theory for evaluating the performance of a Gorlov hydrokinetic turbine. Iran. J. Sci. Technol. Trans. Mech. Eng. 2025, 49, 669–688. [Google Scholar] [CrossRef]
  18. Wardhana, W.; Keniraras, N.; Pratama, R.S.; Rahmawati, S. Hydrodynamics performance analysis of vertical axis water turbine (VAWT) Gorlov type using computational fluid dynamics (CFD) approach. IOP Conf. Ser. Earth Environ. Sci. 2021, 698, 012022. [Google Scholar] [CrossRef]
  19. Pineda, J.C.; Rubio-Clemente, A.; Chica, E. Optimization of a Gorlov helical turbine for hydrokinetic application using the response surface methodology and experimental tests. Energies 2024, 17, 5747. [Google Scholar] [CrossRef]
  20. Karakaya, D.; Bor, A.; Elçi, S. Numerical analysis of three vertical axis turbine designs for improved water energy efficiency. Energies 2024, 17, 1398. [Google Scholar] [CrossRef]
  21. Anderson, M.J.; Whitcomb, P.J. RSM Simplified: Optimizing Processes Using Response Surface Methods for Design of Experiments, 2nd ed.; Productivity Press: New York, NK, USA, 2016. [Google Scholar]
  22. Reji, M.; Kumar, R. Response surface methodology (RSM): An overview to analyze multivariate data. Indian J. Microbiol. Res. 2022, 9, 241–248. [Google Scholar]
  23. Chalaca, A.; Velásquez, L.; Rubio-Clemente, A.; Chica, E. Design and Optimization of a Gorlov-Type Hydrokinetic Turbine Array for Energy Generation Using Response Surface Methodology. Energies 2024, 17, 4870. [Google Scholar] [CrossRef]
  24. Torabi, S.H.R.; Alibabaei, S.; Bonab, B.B.; Sadeghi, M.H.; Faraji, G. Design and optimization of turbine blade preform forging using RSM and NSGA II. J. Intell. Manuf. 2017, 28, 1409–1419. [Google Scholar] [CrossRef]
  25. Velásquez, L.; Rubio-Clemente, A.; Tobón, D.; Botero, F.; Arrieta, C.; Chica, E. Experimental Optimization of the Propeller Turbine Performance Using the Response Surface Methodology. Sustainability 2024, 16, 8476. [Google Scholar] [CrossRef]
  26. Jayaram, V.; Bavanish, B. Design and analysis of Gorlov helical hydro turbine on index of revolution. Int. J. Hydrogen Energy 2022, 47, 32804–32821. [Google Scholar] [CrossRef]
  27. Patel, U.K.; Alom, N.; Saha, U.K. Lift-based offshore vertical-axis wind turbines for power generation: Current status of technology and future direction of numerical research. Wind Eng. 2024, 49, 782–809. [Google Scholar] [CrossRef]
  28. Singh, D.; Kumar, R.; Sinha, S. Design and performance characterization of hybrid vertical axis wind turbine with Savonius and Gorlov blades in low wind regimes: Integrating CFD simulations and experimental approach. Proc. Inst. Mech. Eng. C J. Mech. Eng. Sci. 2025, 09544062251323494. [Google Scholar] [CrossRef]
  29. Chica, E.; Velásquez, L.; Rubio-Clemente, A. Full-Scale Experimental Assessment of a Horizontal-Axis Hydrokinetic Turbine for River Applications: A Challenge for Developing Countries. Energies 2025, 18, 1657. [Google Scholar] [CrossRef]
  30. Garshelis, I.J. Torque and Power Measurement; CRC Press: Boca Raton, FL, USA, 2023; pp. 1–5. [Google Scholar]
  31. Ahmad, M.; Shahzad, A.; Qadri, M.N.M. An overview of aerodynamic performance analysis of vertical axis wind turbines. Energy Environ. 2023, 34, 2815–2857. [Google Scholar] [CrossRef]
  32. Tirandaz, M.R.; Rezaeiha, A. Effect of airfoil shape on power performance of vertical axis wind turbines in dynamic stall: Symmetric Airfoils. Renew. Energy 2021, 173, 422–441. [Google Scholar] [CrossRef]
  33. Tayebi, A.; Torabi, F. Flow control techniques to improve the aerodynamic performance of Darrieus vertical axis wind turbines: A critical review. J. Wind Eng. Ind. Aerodyn. 2024, 252, 105820. [Google Scholar] [CrossRef]
  34. Kumar, R.; Sarkar, S. Effect of design parameters on the performance of helical Darrieus hydrokinetic turbines. Renew. Sustain. Energy Rev. 2022, 162, 112431. [Google Scholar] [CrossRef]
  35. Uddin, M.N.; Atkinson, M.; Opoku, F. CFD Investigation of a Hybrid Wells Turbine with Passive Flow Control. Energies 2023, 16, 3851. [Google Scholar] [CrossRef]
  36. Yin, M.; Ji, R.; Zhu, R.; Sun, K.; Wu, M.; Li, X.; Ye, Y.; Reabroy, R.; Zhang, Y. Hydrodynamic performance of a horizontal-axis tidal turbine subjected to terrain-induced turbulence using the lattice Boltzmann method. Phys. Fluids 2025, 37, 035169. [Google Scholar] [CrossRef]
  37. Shanegowda, T.G.; Shashikumar, C.M.; Gumptapure, V.; Madav, V. Numerical studies on the performance of Savonius hydrokinetic turbines with varying blade configurations for hydropower utilization. Energy Convers. Manag. 2024, 312, 118535. [Google Scholar] [CrossRef]
  38. Hantoro, R.; Utama, I.K.A.P.; Arief, I.S.; Ismail, A.; Manggala, S.W. Innovation in vertical axis hydrokinetic turbine–straight blade cascaded (VAHT-SBC) design and testing for low current speed power generation. J. Phys. Conf. Ser. 2018, 1022, 012023. [Google Scholar] [CrossRef]
  39. Adeyeye, K.A.; Ijumba, N.; Colton, J. The effect of the number of blades on the efficiency of a wind turbine. IOP Conf. Ser. Earth Environ. Sci. 2021, 801, 012020. [Google Scholar] [CrossRef]
  40. Kulak, M.; Lipian, M.; Olasek, K.; Pereira, M.; Ravelet, F. Rotor solidity and blade pitch influence on horizontal axis small wind turbine performance–Experimental study. Energy Rep. 2024, 12, 4568–4577. [Google Scholar] [CrossRef]
  41. Kang, C.; Wang, Z.; Kim, H.B.; Shao, C. Effects of solidity on startup performance and flow characteristics of a vertical-axis hydrokinetic rotor with three helical blades. Renew. Energy 2023, 218, 119273. [Google Scholar] [CrossRef]
  42. Sagharichi, A.; Zamani, M.; Ghasemi, A.M. Effect of solidity on the performance of variable-pitch vertical axis wind turbine. Energy 2018, 161, 753–775. [Google Scholar] [CrossRef]
  43. Duquette, M.M.; Visser, K.D. Numerical implications of solidity and blade number on rotor performance of horizontal-axis wind turbines. J. Sol. Energy Eng. 2003, 125, 425–432. [Google Scholar] [CrossRef]
  44. Singh, K. Blade Element Analysis and Experimental Investigation of High Solidity Wind Turbines. Master’s Thesis, University of Calgary, Calgary, AB, Canada, 2014. [Google Scholar]
  45. Ghiasi, P.; Najafi, G.; Ghobadian, B.; Jafari, A.; Mazlan, M. Analytical study of the impact of solidity, chord length, number of blades, aspect ratio and airfoil type on H-rotor Darrieus wind turbine performance at low Reynolds number. Sustainability 2022, 14, 2623. [Google Scholar] [CrossRef]
  46. Miller, M.A.; Duvvuri, S.; Hultmark, M. Solidity effects on the performance of vertical-axis wind turbines. Flow 2021, 1, E9. [Google Scholar] [CrossRef]
  47. Delafin, P.L.; Nishino, T.; Wang, L.; Kolios, A. Effect of the number of blades and solidity on the performance of a vertical axis wind turbine. J. Phys. Conf. Ser. 2016, 753, 022033. [Google Scholar] [CrossRef]
  48. Patel, V.; Bhat, G.; Eldho, T.I.; Prabhu, S.V. Influence of overlap ratio and aspect ratio on the performance of Savonius hydrokinetic turbine. Int. J. Energy Res. 2017, 41, 829–844. [Google Scholar] [CrossRef]
  49. Li, Q.; Maeda, T.; Kamada, Y.; Shimizu, K.; Ogasawara, T.; Nakai, A.; Kasuya, T. Effect of rotor aspect ratio and solidity on a straight-bladed vertical axis wind turbine in three-dimensional analysis by the panel method. Energy 2017, 121, 513–523. [Google Scholar] [CrossRef]
  50. Vijayan, J.; Retnam, B.B. A brief study on the implementation of helical cross-flow hydrokinetic turbines for small scale power generation in the Indian SHP sector. Int. J. Renew. Energy Dev. 2022, 11, 676–693. [Google Scholar] [CrossRef]
  51. Douak, M.; Aouachria, Z.; Rabehi, R.; Allam, N. Wind energy systems: Analysis of the self-starting physics of vertical axis wind turbine. Renew. Sustain. Energy Rev. 2018, 81, 1602–1610. [Google Scholar] [CrossRef]
  52. Fazylova, A.; Tultayev, B.; Iliev, T.; Stoyanov, I.; Beloev, I. Development of a control unit for the angle of attack of a vertically axial wind turbine. Energies 2023, 16, 5202. [Google Scholar] [CrossRef]
  53. Fukudome, K.; Watanabe, M.; Iida, A.; Mizuno, A. Separation control of high angle of attack airfoil for vertical axis wind turbines. AIAA J. 2005, 50. [Google Scholar] [CrossRef]
  54. Wang, W.; Yin, R.; Yan, Y. Design and prediction hydrodynamic performance of horizontal axis micro-hydrokinetic river turbine. Renew. Energy 2019, 133, 91–102. [Google Scholar] [CrossRef]
  55. Elsakka, M.M.; Ingham, D.B.; Ma, L.; Pourkashanian, M. CFD analysis of the angle of attack for a vertical axis wind turbine blade. Energy Convers. Manag. 2019, 182, 154–165. [Google Scholar] [CrossRef]
  56. Srivastava, P.; Kansal, S.; Talwalkar, A.; Harish, R. CFD analysis on the influence of angle of attack on vertical axis wind turbine aerodynamics. IOP Conf. Ser. Earth Environ. Sci. 2021, 850, 012027. [Google Scholar] [CrossRef]
  57. Xia, X.; Ma, D.; Zhang, L.; Liu, X.; Cong, K. Blade shape optimization and analysis of a propeller for VTOL based on an inverse method. Appl. Sci. 2022, 12, 3694. [Google Scholar] [CrossRef]
  58. Li, P.; Yang, Y.; Li, Q.; Arcondoulis, E.J.G.; Noack, B.R.; Liu, Y. Effect of blade number on rotor efficiency and noise emission at hovering condition. Phys. Fluids 2024, 36, 027142. [Google Scholar] [CrossRef]
  59. Ma, Y.; Zhu, Y.; Zhang, A.; Hu, C.; Liu, S.; Li, Z. Hydrodynamic performance of vertical axis hydrokinetic turbine based on Taguchi method. Renew. Energy 2022, 186, 573–584. [Google Scholar] [CrossRef]
  60. Zhang, A.; Liu, S.; Ma, Y.; Hu, C.; Li, Z. Field tests on model efficiency of twin vertical axis helical hydrokinetic turbines. Energy 2022, 247, 123376. [Google Scholar] [CrossRef]
  61. Myers, R.H.; Montgomery, D.C.; Anderson-Cook, C.M. Response Surface Methodology: Process and Product Optimization Using Designed Experiments, 4th ed.; John Wiley & Sons: Hoboken, NJ, USA, 2016. [Google Scholar]
  62. Lamidi, S.; Olaleye, N.; Bankole, Y.; Obalola, A.; Aribike, E.; Adigun, I. Applications of Response Surface Methodology (RSM) in Product Design, Development, and Process Optimization; IntechOpen: London, UK, 2022. [Google Scholar] [CrossRef]
  63. Antony, J. Design of Experiments for Engineers and Scientists, 3rd ed.; Elsevier: Amsterdam, The Netherlands, 2023. [Google Scholar]
  64. Dar, A.A.; Yadav, P.; Wangmo, T.; Aswani, N. Optimizing processes and products: The role of DOE. Insight Stat. 2024, 7, 644. [Google Scholar] [CrossRef]
  65. Montgomery, D.C.; Peck, E.A.; Vining, G.G. Introduction to Linear Regression Analysis, 6th ed.; John Wiley & Sons: Hoboken, NJ, USA, 2021. [Google Scholar]
  66. Chatterjee, S.; Hadi, A.S. Regression Analysis by Example, 5th ed.; John Wiley & Sons: Hoboken, NJ, USA, 2015. [Google Scholar]
  67. Azhar, N.A.; Radzi, N.A.M.; Wan Ahmad, W.S.H.M. Multi-criteria decision making: A systematic review. Recent Adv. Electr. Electron. Eng. 2021, 14, 779–801. [Google Scholar] [CrossRef]
  68. Sriram, S.; Ramachandran, M.; Chinnasamy, S.; Mathivanan, G. A review on multi-criteria decision-making and its application. REST J. Emerg. Trends Model. Manuf. 2022, 7, 101–107. [Google Scholar]
  69. Thakkar, J.J. Multi-Criteria Decision Making; Springer: Berlin/Heidelberg, Germany, 2021; Volume 336. [Google Scholar]
  70. Manoj, V.; Sravani, V.S.; Swathi, A. A multi criteria decision making approach for the selection of optimum location for wind power project in India. EAI Endorsed Trans. Energy Web 2021, 8, e4. [Google Scholar] [CrossRef]
  71. Manoj, V.; Rathnala, P.; Sura, S.R.; Sai, S.N.; Murthy, M.V.R. Performance evaluation of hydro power projects in India using multi criteria decision making methods. Ecol. Eng. Environ. Technol. 2022, 23, 205–217. [Google Scholar] [CrossRef]
  72. Effatpanah, S.K.; Ahmadi, M.H.; Aungkulanon, P.; Maleki, A.; Sadeghzadeh, M.; Sharifpur, M.; Chen, L. Comparative analysis of five widely-used multi-criteria decision-making methods to evaluate clean energy technologies: A case study. Sustainability 2022, 14, 1403. [Google Scholar] [CrossRef]
  73. Şahin, M. A comprehensive analysis of weighting and multicriteria methods in the context of sustainable energy. Int. J. Environ. Sci. Technol. 2021, 18, 1591–1616. [Google Scholar] [CrossRef]
  74. Ayan, B.; Abacıoğlu, S.; Basilio, M.P. A comprehensive review of the novel weighting methods for multi-criteria decision-making. Information 2023, 14, 285. [Google Scholar] [CrossRef]
  75. Strauss, C.E.M. Beating Betz’s law: A larger fundamental upper bound for wind energy harvesting. arXiv 2021, arXiv:2110.14612. [Google Scholar]
  76. Zhang, Z. Conceptual errors in actuator disc theory and Betz’s law for wind turbines. Energies 2022, 15, 5902. [Google Scholar] [CrossRef]
  77. Ilyas, R.A.; Sapuan, S.M.; Harussani, M.M.; Hakimi, M.Y.A.Y.; Haziq, M.Z.M.; Atikah, M.S.N.; Asyraf, M.R.M.; Ishak, M.R.; Razman, M.R.; Nurazzi, N.M.; et al. Polylactic acid (PLA) biocomposite: Processing, additive manufacturing and advanced applications. Polymers 2021, 13, 1326. [Google Scholar] [CrossRef] [PubMed]
  78. Taib, N.A.A.B.; Rahman, M.R.; Huda, D.; Kuok, K.K.; Hamdan, S.; Bakri, M.K.B.; Julaihi, M.R.M.B.; Khan, A. A review on poly lactic acid (PLA) as a biodegradable polymer. Polym. Bull. 2023, 80, 1179–1213. [Google Scholar] [CrossRef]
  79. Martínez-Márquez, C.I.; Twizere-Bakunda, J.D.; Lundback-Mompó, D.; Orts-Grau, S.; Gimeno-Sales, F.J.; Seguí-Chilet, S. Small wind turbine emulator based on lambda-Cp curves obtained under real operating conditions. Energies 2019, 12, 2456. [Google Scholar] [CrossRef]
  80. Imran, R.M.; Hussain, D.M.A.; Soltani, M. An experimental analysis of the effect of icing on wind turbine rotor blades. In Proceedings of the 2016 IEEE/PES Transmission and Distribution Conference and Exposition (T&D), Dallas, TX, USA, 3–5 May 2016; pp. 1–5. [Google Scholar] [CrossRef]
  81. Abuan, B.E.; Howell, R.J. The performance and hydrodynamics in unsteady flow of a horizontal axis tidal turbine. Renew. Energy 2019, 133, 1338–1351. [Google Scholar] [CrossRef]
  82. Giorgetti, S.; Pellegrini, G.; Zanforlin, S. CFD investigation on the aerodynamic interferences between medium-solidity Darrieus Vertical Axis Wind Turbines. Energy Procedia 2015, 81, 227–239. [Google Scholar] [CrossRef]
  83. Nakagawa, S.; Johnson, P.C.D.; Schielzeth, H. The coefficient of determination R2 and intra-class correlation coefficient from generalized linear mixed-effects models revisited and expanded. J. R. Soc. Interface 2017, 14, 20170213. [Google Scholar] [CrossRef] [PubMed]
  84. Dijkstra, T.K.; Henseler, J. Consistent partial least squares path modeling. MIS Q. 2015, 39, 297–316. [Google Scholar] [CrossRef]
  85. Carroll, R.J.; Ruppert, D. Transformation and Weighting in Regression; CRC: Boca Raton, FL, USA, 2017. [Google Scholar]
  86. Lo, S.; Andrews, S. To transform or not to transform: Using generalized linear mixed models to analyse reaction time data. Front. Psychol. 2015, 6, 1171. [Google Scholar] [CrossRef]
  87. Fox, J. Regression Diagnostics: An Introduction; Sage Publications: Thousand Oaks, CA, USA, 2019. [Google Scholar]
  88. Keith, T.Z. Multiple Regression and Beyond: An Introduction to Multiple Regression and Structural Equation Modeling; Routledge: Abingdon, UK, 2019. [Google Scholar]
  89. Astivia, O.L.O.; Zumbo, B.D. Heteroskedasticity in multiple regression analysis: What it is, how to detect it and how to solve it with applications in R and SPSS. Pract. Assess. Res. Eval. 2019, 24, 1. [Google Scholar]
  90. Martin, J.; De Adana, D.D.R.; Asuero, A.G. Fitting models to data: Residual analysis, a primer. In Uncertainty Quantification and Model Calibration; IntechOpen: London, UK, 2017; Volume 133. [Google Scholar]
  91. Meuleman, B.; Loosveldt, G.; Emonds, V. Regression analysis: Assumptions and diagnostics. In Regression Analysis and Causal Inference; Sage Publications: Thousand Oaks, CA, USA, 2015; pp. 83–110. [Google Scholar]
  92. Schmidt, A.F.; Finan, C. Linear regression and the normality assumption. J. Clin. Epidemiol. 2018, 98, 146–151. [Google Scholar] [CrossRef]
  93. D’Agostino, R.B. Tests for the normal distribution. In Goodness-of-Fit Techniques; Routledge: Abingdon, UK, 2017; pp. 367–420. [Google Scholar]
  94. Das, K.R.; Imon, A.H.M.R. A brief review of tests for normality. Am. J. Theor. Appl. Stat. 2016, 5, 5–12. [Google Scholar] [CrossRef]
  95. King, M.L. Testing for autocorrelation in linear regression models: A survey. In Specification Analysis in the Linear Model; Routledge: Abingdon, UK, 2018; pp. 19–73. [Google Scholar]
  96. Turner, P. Critical values for the Durbin-Watson test in large samples. Appl. Econ. Lett. 2020, 27, 1495–1499. [Google Scholar] [CrossRef]
  97. Yusop, Z.B.; Ahmed, K.; Shirazi, S.M.; Zardari, N.H. Weighting Methods and Their Effects on Multi-Criteria Decision Making Model Outcomes in Water Resources Management; Springer: Berlin/Heidelberg, Germany, 2015. [Google Scholar]
  98. Odu, G.O. Weighting methods for multi-criteria decision making technique. J. Appl. Sci. Environ. Manag. 2019, 23, 1449–1457. [Google Scholar] [CrossRef]
Figure 1. Darrieus vs. Gorlov turbines.
Figure 1. Darrieus vs. Gorlov turbines.
Processes 13 01950 g001
Figure 2. Geometric differences between symmetric NACA profiles (0012, 0015, and 0020).
Figure 2. Geometric differences between symmetric NACA profiles (0012, 0015, and 0020).
Processes 13 01950 g002
Figure 3. Variation in blade profiles corresponding to different solidity levels of 0.25, 0.325, and 0.4.
Figure 3. Variation in blade profiles corresponding to different solidity levels of 0.25, 0.325, and 0.4.
Processes 13 01950 g003
Figure 4. Blade geometry variation for different revolution indices (I).
Figure 4. Blade geometry variation for different revolution indices (I).
Processes 13 01950 g004
Figure 5. Attack angle.
Figure 5. Attack angle.
Processes 13 01950 g005
Figure 6. Fluid–structure interaction (FSI) simulation: domain and boundary conditions.
Figure 6. Fluid–structure interaction (FSI) simulation: domain and boundary conditions.
Processes 13 01950 g006
Figure 7. Test bench: (1) Suction tank, (2) Suction line, (3) Valve, (4) Eccentric reducer, (5) Pump, (6) Motor, (7) Concentric reducer, (8) Valve, (9) Discharge line, (10) Test section, (11) Discharge tank [25].
Figure 7. Test bench: (1) Suction tank, (2) Suction line, (3) Valve, (4) Eccentric reducer, (5) Pump, (6) Motor, (7) Concentric reducer, (8) Valve, (9) Discharge line, (10) Test section, (11) Discharge tank [25].
Processes 13 01950 g007
Figure 8. Data acquisition system: (1) sensor, (2) motor-to-sensor coupling, (3) motor, (4) sensor-to-turbine coupling, and (5) base sensor.
Figure 8. Data acquisition system: (1) sensor, (2) motor-to-sensor coupling, (3) motor, (4) sensor-to-turbine coupling, and (5) base sensor.
Processes 13 01950 g008
Figure 9. Photograph of the experimental setup including motor, sensor, and rotor.
Figure 9. Photograph of the experimental setup including motor, sensor, and rotor.
Processes 13 01950 g009
Figure 10. C p vs. T S R curve for the models established in the DOE, including only those with self-starting capability.
Figure 10. C p vs. T S R curve for the models established in the DOE, including only those with self-starting capability.
Processes 13 01950 g010
Figure 11. Normality of residuals: visual test. (a) Frequency distribution; (b) normal probability.
Figure 11. Normality of residuals: visual test. (a) Frequency distribution; (b) normal probability.
Processes 13 01950 g011
Figure 12. Response surface. (a) Index of revolution vs. aspect ratio; (b) index of revolution vs. solidity; (c) aspect ratio vs. solidity.
Figure 12. Response surface. (a) Index of revolution vs. aspect ratio; (b) index of revolution vs. solidity; (c) aspect ratio vs. solidity.
Processes 13 01950 g012
Figure 13. Contour plot. (a) Index of revolution vs. aspect ratio; (b) index of revolution vs. solidity; (c) aspect ratio vs. solidity.
Figure 13. Contour plot. (a) Index of revolution vs. aspect ratio; (b) index of revolution vs. solidity; (c) aspect ratio vs. solidity.
Processes 13 01950 g013
Figure 14. Pressure field.
Figure 14. Pressure field.
Processes 13 01950 g014
Figure 15. Amplified deformation over a model.
Figure 15. Amplified deformation over a model.
Processes 13 01950 g015
Figure 16. Optimal model.
Figure 16. Optimal model.
Processes 13 01950 g016
Table 1. Matrix of experimental models.
Table 1. Matrix of experimental models.
Index of RevolutionAspect RatioSolidity
Model I [-] RA [-] σ [-]
10.11.00.250
20.51.00.250
30.51.00.400
40.11.00.400
50.11.20.325
60.51.20.325
70.50.80.325
80.30.80.250
90.10.80.325
100.31.20.400
110.31.20.250
120.30.80.400
130.31.00.325
140.31.00.325
150.31.00.325
Table 2. Printed rotors.
Table 2. Printed rotors.
Model 1Model 2Model 3Model 4Model 5
Processes 13 01950 i001Processes 13 01950 i002Processes 13 01950 i003Processes 13 01950 i004Processes 13 01950 i005
Model 6Model 7Model 8Model 9Model 10
Processes 13 01950 i006Processes 13 01950 i007Processes 13 01950 i008Processes 13 01950 i009Processes 13 01950 i010
Model 11Model 12Model 13Model 14Model 15
Processes 13 01950 i011Processes 13 01950 i012Processes 13 01950 i013Processes 13 01950 i014Processes 13 01950 i015
Table 3. Maximum C p values by model.
Table 3. Maximum C p values by model.
Index of RevolutionAspect RatioSolidityPower Coefficient
Model I [-] RA [-] σ [-] C p [-]
10.11.00.2500.0532
20.51.00.2500.0000
30.51.00.4000.0372
40.11.00.4000.2040
50.11.20.3250.1763
60.51.20.3250.1106
70.50.80.3250.0231
80.30.80.2500.0000
90.10.80.3250.0938
100.31.20.4000.0793
110.31.20.2500.0000
120.30.80.4000.0265
130.31.00.3250.0000
140.31.00.3250.0000
150.31.00.3250.0000
Table 4. Analysis of variance (ANOVA) results under the matrix domain.
Table 4. Analysis of variance (ANOVA) results under the matrix domain.
Degrees of FreedomSum of SquaresMean of SquaresF-Valuep-Value
TermDfSum SqMean Sq
I10.042910.0429136.3370.000941
R A 10.015570.0155713.1880.010945
σ 10.043510.0435136.8470.000907
I 2 10.073080.0730861.8860.000223
R A 2 10.014700.0147012.4490.012392
I × R A 10.000430.000430.3620.569595
I × σ 10.002190.002191.8570.221916
R A × σ 10.002290.002291.9390.213224
Residuals60.007090.00118--
Table 5. Normality test results.
Table 5. Normality test results.
TestTest Statisticp-Value
Anderson–Darling Test0.32360.5257
Cramer–Von Mises Test0.04530.5855
D’Agostino and Pearson Test1.75170.4165
KS Stephens Modification0.55510.1500
Shapiro–Wilk Test0.94870.5035
KS Marsaglia Method0.52660.9096
Shapiro–Francia Test0.96280.6495
Jarque–Bera Test0.96180.6182
Table 6. Maximum deformation and volume per model.
Table 6. Maximum deformation and volume per model.
ModelMaximum Deformation (mm)Volume (mm3)
13.45 × 10 4 3.66 × 10 5
25.64 × 10 4 3.66 × 10 5
33.66 × 10 4 6.04 × 10 5
41.68 × 10 4 6.04 × 10 5
54.36 × 10 4 4.94 × 10 5
65.36 × 10 4 4.94 × 10 5
76.13 × 10 4 4.23 × 10 5
81.75 × 10 4 3.43 × 10 5
91.16 × 10 4 4.23 × 10 5
102.86 × 10 4 6.63 × 10 5
113.83 × 10 4 3.89 × 10 5
122.11 × 10 4 5.46 × 10 5
132.50 × 10 4 4.59 × 10 5
Table 7. Scores by criteria for each model.
Table 7. Scores by criteria for each model.
ModelCriterion 1Criterion 2Criterion 3Criterion 4Criterion 5Total
1351132.2
2151111.4
3315132.2
4515253.4
5235222.4
6135142.2
7145121.9
8151122.4
9545143.1
10111142.2
11351122.0
12525142.9
13441132.3
Disclaimer/Publisher’s Note: The statements, opinions and data contained in all publications are solely those of the individual author(s) and contributor(s) and not of MDPI and/or the editor(s). MDPI and/or the editor(s) disclaim responsibility for any injury to people or property resulting from any ideas, methods, instructions or products referred to in the content.

Share and Cite

MDPI and ACS Style

Velásquez, L.; Rengifo, J.; Saldarriaga, A.; Rubio-Clemente, A.; Chica, E. Optimization of Vertical-Axis Hydrokinetic Turbines: Study of Various Geometric Configurations Using the Response Surface Methodology and Multi-Criteria Decision Matrices. Processes 2025, 13, 1950. https://doi.org/10.3390/pr13071950

AMA Style

Velásquez L, Rengifo J, Saldarriaga A, Rubio-Clemente A, Chica E. Optimization of Vertical-Axis Hydrokinetic Turbines: Study of Various Geometric Configurations Using the Response Surface Methodology and Multi-Criteria Decision Matrices. Processes. 2025; 13(7):1950. https://doi.org/10.3390/pr13071950

Chicago/Turabian Style

Velásquez, Laura, Juan Rengifo, Andrés Saldarriaga, Ainhoa Rubio-Clemente, and Edwin Chica. 2025. "Optimization of Vertical-Axis Hydrokinetic Turbines: Study of Various Geometric Configurations Using the Response Surface Methodology and Multi-Criteria Decision Matrices" Processes 13, no. 7: 1950. https://doi.org/10.3390/pr13071950

APA Style

Velásquez, L., Rengifo, J., Saldarriaga, A., Rubio-Clemente, A., & Chica, E. (2025). Optimization of Vertical-Axis Hydrokinetic Turbines: Study of Various Geometric Configurations Using the Response Surface Methodology and Multi-Criteria Decision Matrices. Processes, 13(7), 1950. https://doi.org/10.3390/pr13071950

Note that from the first issue of 2016, this journal uses article numbers instead of page numbers. See further details here.

Article Metrics

Back to TopTop