The Design of an Intensified Process and Production Plant for Cosmetic Emulsions Using Amazonian Oils
Abstract
1. Introduction
2. Materials and Methods
2.1. Proposal for the Design of the Technological Process
2.2. Plant Distribution Strategy for the Production of Emulsion Creams
3. Results
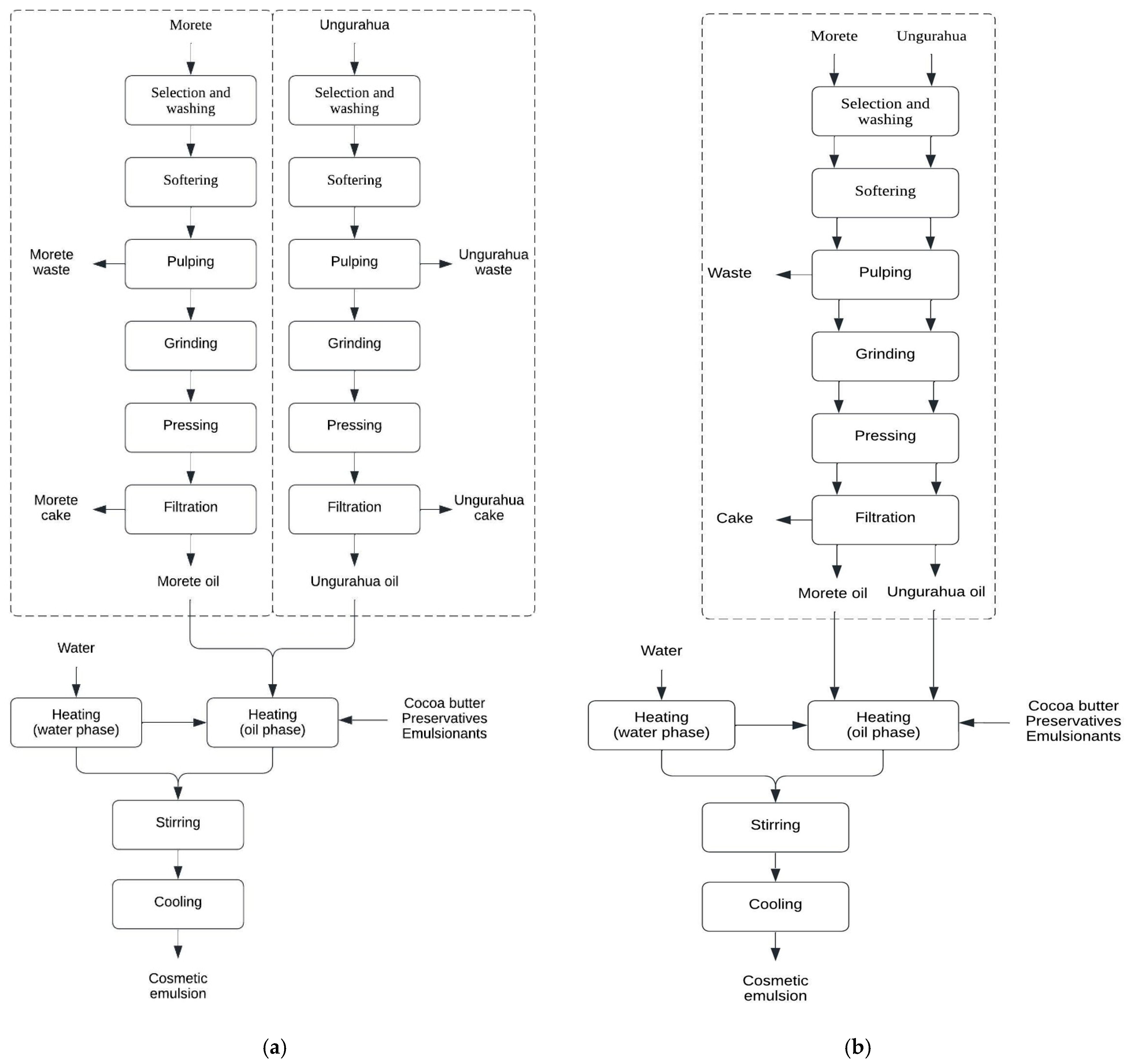
3.1. Proposal for the Design of the Technological Process
3.1.1. Product in Demand
3.1.2. Technology Selection
3.1.3. The Technological Scheme
3.1.4. Production Capacity Estimation
3.1.5. Location
3.1.6. Mass and Energy Balances, and Environmental Compatibility
3.1.7. Sizing of Equipment and Cost of Acquisition
3.1.8. Economic Analysis and Feasibility
3.2. Plant Layout
3.2.1. Principle of Integration
3.2.2. Principle of the Minimum Distance Traveled
3.2.3. Material Flow
3.2.4. Cubic Space Principle
3.2.5. Principle of Satisfaction and Security
3.2.6. Principle of Flexibility
4. Discussion
5. Conclusions
Author Contributions
Funding
Data Availability Statement
Acknowledgments
Conflicts of Interest
References
- Ferreira, M.; Matos, A.; Couras, A.; Marto, J.; Ribeiro, H. Overview of Cosmetic Regulatory Frameworks around the World. Cosmetics 2022, 9, 72. [Google Scholar] [CrossRef]
- Ruilova Accini, P.V.; Sempertegui Seminario, C.A.; Guerrero Muñoz, M.K. Calidad Del Servicio de Las Empresas Asociadas a La Industria Cosmética En El Ecuador. Soc. Tecnol. 2019, 4, 298–311. [Google Scholar] [CrossRef]
- Mancheno Saá, M.; Gamboa Salinas, M.J. El Branding Como Herramienta Para El Posicionamiento En La Industria Cosmética. Univ. Soc. 2018, 10, 82–88. [Google Scholar]
- Basurto Jimbo, E.; García Mir, V.; Rueda Rodríguez, E.; Noles Ramón, K. Elaboración de Una Crema Cosmética a Partir de Extractos Coriandrum sativum L. (Culantro). Publicación Cuatrimest. 2021, 6, 153–166. [Google Scholar]
- Cobos Yanez, D.B. Elaboración de Una Crema Nutritiva Facial a Base de La Pulpa de Chirimoya (Annona Cherimola, Annonaceae). Master’s Thesis, Universidad Politécnica Salesiana, Quito, Ecuador, 2015. [Google Scholar]
- Capp Zilles, J.; Vallenot Lemos, M.A.; Anders Apel, M.; Kulkamp-Guerreiro, I.C.; Rigon Zimmer, A.; Vidor Contri, R. Vegetable Oils in Skin Whitening—A Narrative Review. Curr. Pharm. Des. 2025, 31, e13816128361413. [Google Scholar] [CrossRef]
- Jašek, V.; Figalla, S. Vegetable Oils for Material Applications—Available Biobased Compounds Seeking Their Utilities. ACS Polym. Au 2025, 5, 105–128. [Google Scholar] [CrossRef]
- Pupiales Martínez, S.A.; Torres Cando, T.E. Obtención de Aceites Esenciales a Partir de Pino (Pinus), Eucalipto (Eucalyptus), Menta (Mentha), Caléndula (Caléndula Officinalis), y Su Aplicación En La Elaboración de Una Crema Con Fines Terapéuticos Fines Terapéuticos. Bachelor’s Thesis, Universidad Estatal de Bolívar, Guaranda, Ecuador, 2023. [Google Scholar]
- Madurga, M. El Papel de La Cosmética: Excipientes y Conservantes. Rev. De Pediatría De Atención Primaria 2009, Xl, 81–100. [Google Scholar] [CrossRef]
- Montalván, M.; Malagón, O.; Cumbicus, N.; Tanitana, F.; Gilardoni, G. Análisis Químico de Aceites Esenciales Amazónicos de Una Comunidad Shuar Ecuatoriana. Granja 2023, 38, 32–44. [Google Scholar] [CrossRef]
- Pons, G.A. Aceites Vegetales, Hacia Una Producción Sostenible. Hombre Máquina 2015, 46, 9–19. [Google Scholar]
- Guardado Yordi, E.; Radice, M.; Scalvenzi, L.; Pérez Martínez, A. Diseño Del Proceso Sostenible Para La Obtención de Una Emulsión Cosmética Desde Un Enfoque de Biocomercio. Rev. Politécnica 2024, 54, 35–46. [Google Scholar] [CrossRef]
- Mosquera, T.; Noriega, P.; Tapia, W.; Pérez, S.H. Evaluación de La Eficacia Cosmética de Cremas Elaboradas Con Aceites Extraídos de Especies Vegetales Amazónicas: Mauritia flexuosa (Morete), Plukenetia Volubilis (Sacha Inchi) y Oenocarpus Bataua (Ungurahua). La Granja 2012, 16, 14. [Google Scholar] [CrossRef]
- Proaño, J.; Rivadeneira, E.; Moncayo, P.; Mosquera, E. Aceite de Maracuyá (Passiflora Edulis): Aprovechamiento de Las Semillas En Productos Cosméticos. Enfoque UTE 2020, 11, 119–129. [Google Scholar] [CrossRef]
- Rivera, J.; Luna, S.; Rodríguez, N.; Dahua, R. Evaluación de Las Propiedades Antioxidantes y Físicas de Una Crema Exfoliante Desarrollada a Partir de La Cáscara de Mauritia flexuosa L. (Morete). Polo Conoc. 2024, 9, 491–510. [Google Scholar]
- Campos, D.A.; Gómez-García, R.; Vilas-Boas, A.A.; Madureira, A.R.; Pintado, M.M. Management of Fruit Industrial By-products—A Case Study on Circular Economy Approach. Molecules 2020, 25, 320. [Google Scholar] [CrossRef]
- Del Rio Osorio, L.L.; Flórez-López, E.; Grande-Tovar, C.D. The Potential of Selected Agri-Food Loss and Waste to Contribute to a Circular Economy: Applications in the Food, Cosmetic and Pharmaceutical Industries. Molecules 2021, 26, 515. [Google Scholar] [CrossRef] [PubMed]
- Machado, M.; Silva, S.; Costa, E.M. Byproducts as a Sustainable Source of Cosmetic Ingredients. Appl. Sci. 2024, 14, 10241. [Google Scholar] [CrossRef]
- Mondello, A.; Salomone, R.; Mondello, G. Exploring Circular Economy in the Cosmetic Industry: Insights from a Literature Review. Environ. Impact Assess. Rev. 2024, 105, 107443. [Google Scholar] [CrossRef]
- Guardado Yordi, E.; Guambuguete Guaman, I.S.; Freire Fuentes, M.E.; Radice, M.; Scalvenzi, L.; Abreu-Naranjo, R.; Bravo Sánchez, L.R.; Pérez Martínez, A. Conceptual Design of the Process for Making Cosmetic Emulsion Using Amazonian Oils. Processes 2025, 13, 1770. [Google Scholar] [CrossRef]
- Romero, D.; Aillón, F.; Freire, A.; Radice, M. Design of an Industrial Process Focused on the Elaboration of Cosmetics from Amazonian Oils: A Biotrade Opportunity. Mol2Net 2016, 2, 1–5. [Google Scholar] [CrossRef]
- Cerda-Mejía, V.; González-Suárez, E.; Guardado-Yordi, E.; Cerda-Mejía, G.; Pérez Martínez, A. Producción de Gel Hidroalcohólico En Tiempos de COVID-19, Oportunidad Para Diseñar El Proceso Que Garantice La Calidad. Cent. Azúcar 2021, 48, 88–97. [Google Scholar]
- Beltrán Chacón, J.P.; Aguayo Carvajal, V.R. Estudio Técnico: Localización y Diseño de Plantas Agroindustriales. Braz. J. Bus. 2022, 4, 1951–1960. [Google Scholar] [CrossRef]
- Rodríguez Cortina, J. Contribución al Estudio de La Intensificación Del Proceso de Secado de Tomillo (Thymus Vulgaris l.): Aplicación de Ultrasonidos de Potencia y Secado Intermitente. Ph.D. Thesis, Universitat Politècnica de València, Valencia, Spain, 2013. [Google Scholar]
- Rodriguez Barragan, O.A. Intensificacion de Procesos de Transferencia de Materia Mediante Ultrasonidos de Potencia. Aplicacion al Secado Convectivo y a La Extraccion Con Fluidos Supercriticos. Ph.D. Thesis, Universidad de les Illes Balears, Illes Balears, Spain, 2014. [Google Scholar]
- Dimian, A.C. Integrated Design and Simulation of Chemical Processes; Gani, R., Ed.; Elsevier: Amsterdam The Netherlands, 2003; Volume 13, ISBN 978-0-444-62700-1. [Google Scholar]
- Pérez-Martinez, A.; Cervantes-Mendieta, E.; Julián-Ricardo, M.C.; González-Suárez, E.; Gómez-Atanay, A.; Oquendo-Ferrer, H.; Galindo-Llanes, P.; Ramos-Sánchez, L. Procedimiento Para Enfrentar Tareas de Diseño de Procesos de La Industria Azucarera y Sus Derivados. Rev. Mex. Ing. Quim. 2012, 11, 333–349. [Google Scholar]
- Stankiewicz, A.I.; Moulijn, J.A. Process Intensification: Transforming Chemical Engineering. Chem. Eng. Prog. 2000, 96, 22–34. [Google Scholar]
- Linnhoff, B.; Akinradewo, C.G. Linking Process Simulation and Process Integration. Comput. Chem. Eng. 1999, 23, S945–S953. [Google Scholar] [CrossRef]
- Linnhoff, B.; Townsend, B.W. Designing Total Energy Systems. Chem. Eng. Prog. 1982, 78, 7. [Google Scholar]
- Frosch, R.A.; Gallopoulos, N.E. Strategies for Manufacturing. Sci. Am. 1989, 261, 144–153. [Google Scholar] [CrossRef]
- Dimian, A.C.; Bildea, C.S.; Kiss, A.A. Chapter 2—Introduction in Process Simulation. In Computer Aided Chemical Engineering; Elsevier: Amsterdam The Netherlands, 2014; Volume 35, pp. 35–71. [Google Scholar]
- Muther, R. Planificación y Proyección de La Empresa Industrial: (Método S.P.L., Sistematic Layout Planning); Carreras Fontseré, L., Ed.; Editores Técnicos Asociados, S.A.: Kansas City, MO, USA, 1968; Volume 1. [Google Scholar]
- Suhardini, D.; Septiani, W.; Fauziah, S. Design and Simulation Plant Layout Using Systematic Layout Planning. IOP Conf. Ser. Mater. Sci. Eng. 2017, 277, 012051. [Google Scholar] [CrossRef]
- Álvarez Arias, D.; De Ávila Moore, J.; Hurtado Rivera, J. Aplicación de Metodología SLP Para Redistribución de Planta En Micro Empresa Colombiana Del Sector Marroquinero: Un Estudio de Caso. Boletín Innovación Logística Oper. 2022, 4. [Google Scholar] [CrossRef]
- Rocca, R.; Perossa, D.; Fumagalli, L. Analysis and Modelling for Industrial Energy Efficiency in the Cosmetics Industry: A Real Industrial Case in an Italian Manufacturing Company. Cosmetics 2024, 11, 161. [Google Scholar] [CrossRef]
- Nydrioti, I.; Moutsaki, M.-M.; Leounakis, N.; Grigoropoulou, H. Implementation of the Water Footprint as a Water Performance Indicator in Industrial Manufacturing Units Located in Greece: Challenges and Prospects. Environ. Sci. Pollut. Res. 2024, 31, 803–819. [Google Scholar] [CrossRef]
- Hallouch, O.; Ibourki, M.; Asbbane, A.; Devkota, K.; Giuffrè, A.M.; Majourhat, K.; Gharby, S. Exploring the Bioactive Potential of Argan Oil Cake: A Comprehensive Physicochemical Comparison with Various Seeds Cakes. Curr. Res. Nutr. Food Sci. J. 2025, 13, 77–100. [Google Scholar] [CrossRef]
- Jesus, A.; Ratanji, S.; Cidade, H.; Sousa, E.; Cruz, M.T.; Oliveira, R.; Almeida, I.F. Phenolics as Active Ingredients in Skincare Products: A Myth or Reality? Molecules 2025, 30, 1423. [Google Scholar] [CrossRef] [PubMed]






| Environmental Indicator | Input/Output Current | Amount | Unit | |
|---|---|---|---|---|
| Traditional Technology | Intensified Technology | |||
| Raw material consumption | Montanov 68 | 0.011 | 0.011 | kg/kg |
| Montanov 202 | 0.036 | 0.036 | kg/kg | |
| Morete fruit | 0.136 | 0.136 | kg/kg | |
| Sharomix | 0.011 | 0.011 | kg/kg | |
| Cocoa butter | 0.111 | 0.111 | kg/kg | |
| Ungurahua fruit | 0.563 | 0.563 | kg/kg | |
| Water consumption | Water | 48.411 | 48.411 | kg/kg |
| Energy consumption | Power consumption | 5.86 | 5.86 | kW⋅h/kg |
| Steam consumption | 10 | 10 | kg/kg | |
| Refrigerated water | 260 | 260 | kg/kg | |
| Discharge | Of gases | - | - | - |
| Of liquids | - | - | - | |
| Of solids | 0.56 | 0.56 | kg/kg | |
| Cosmetic emulsion | 4717.48 | 4717.48 | kg/yr | |
| Quantity | Name | Design Parameter | Cost (USD) | |
|---|---|---|---|---|
| Traditional Technology | Intensified Technology | |||
| 1 | Turbo-emulsifier | Tank volume = 22.47 L | 20,000 | 20,000 |
| 1 | Turbo-emulsifier | Tank volume = 14.66 L | 20,000 | 20,000 |
| 1 | Pulper | Nominal Yield = 2.55 kg/h | 14,000 | 14,000 |
| 1 | Pulper | Nominal Yield = 10.58 kg/h | 14,000 | |
| 1 | Jacketed tank | Tank volume = 2.62 L | 10,000 | 10,000 |
| 1 | Jacketed tank | Tank volume = 8.95 L | 10,000 | |
| 1 | Shredder | Nominal Yield = 2.55 kg/h | 1000 | 6000 |
| 1 | Shredder | Nominal Yield = 2.16 kg/h | 1000 | |
| 1 | Press | Nominal Yield = 12.98 kg/h | 6000 | |
| 1 | Press | Nominal Yield = 45.82 kg/h | 6000 | |
| 1 | Storage tank | Tank volume = 1.11 L | - | 1000 |
| 1 | Storage tank | Tank volume = 2.58 L | - | 1000 |
| Equipment not listed | 25,000 | 18,000 | ||
| Total | 126,000 | 88,000 | ||
| Cost Items | Cost (USD) | |
|---|---|---|
| Traditional Technology | Intensified Technology | |
| 3A. Total Plant Direct Cost (TPDC) | ||
| 1. Equipment Purchase | 126,000 | 88,000 |
| 2. Installation | 51,000 | 34,000 |
| 3. Process Piping | 44,000 | 31,000 |
| 4. Instrumentation | 50,000 | 35,000 |
| 5. Insulation | 4000 | 3000 |
| 6. Electrical | 13,000 | 9000 |
| 7. Buildings | 57,000 | 40,000 |
| 8. Yard Improvement | 19,000 | 13,000 |
| 9. Auxiliary Facilities | 50,000 | 35,000 |
| TPDC | 414,000 | 287,000 |
| 3B. Total Plant Indirect Cost (TPIC) | ||
| 10. Engineering | 103,000 | 72,000 |
| 11. Construction | 145,000 | 100,000 |
| TPIC | 248,000 | 172,000 |
| 3B. Total Plant Indirect Cost (TPIC) | ||
| 3C. Total Plant Cost (TPC = TPDC + TPIC) | ||
| TPC | 662,000 | 459,000 |
| 3D. Contractor’s Fee and Contingency (CFC) | ||
| 12. Contractor’s Fee | 33,000 | 23,000 |
| 13. Contingency | 66,000 | 46,000 |
| CFC = 12 + 13 | 99,000 | 69,000 |
| 3E. Direct Fixed Capital Cost (DFC = TPC + CFC) | ||
| A. DFC | 761,000 | 528,000 |
| B. Working Capital | 217,000 | 165,000 |
| C. Startup Cost | 38,000 | 26,000 |
| D. Up-Front R&D | 0 | 0 |
| E. Up-Front Royalties | 0 | 0 |
| F. Total Investment (A + B+C + D+E) | 1,016,000 | 719,000 |
| G. Investment Charged to This Project | 1,016,000 | 719,000 |
| Cost Items | Traditional Technology (USD) | Percent | Intensified Technology (USD) | Percent |
|---|---|---|---|---|
| Raw Materials | 27,000 | 6.12 | 27,000 | 8.33 |
| Labor-Dependent | 217,000 | 49.21 | 161,000 | 49.69 |
| Facility-Dependent | 161,000 | 36.51 | 112,000 | 34.57 |
| Laboratory/QC/QA | 33,000 | 7.48 | 24,000 | 7.41 |
| Consumables | 0.00 | 0.00 | 0.00 | 0.00 |
| Waste Treatment/Disposal | 3000 | 0.68 | 0.00 | 0.00 |
| Utilities | 0.00 | 0.00 | 0.00 | 0.00 |
| Transportation | 0.00 | 0.00 | 0.00 | 0.00 |
| Miscellaneous | 0.00 | 0.00 | 0.00 | 0.00 |
| Advertising/Selling | 0.00 | 0.00 | 0.00 | 0.00 |
| Running Royalties | 0.00 | 0.00 | 0.00 | 0.00 |
| Failed Product Disposal | 0.00 | 0.00 | 0.00 | 0.00 |
| Running Royalties | 0.00 | 0.00 | 0.00 | 0.00 |
| Failed Product Disposal | 0.00 | 0.00 | 0.00 | 0.00 |
| Total | 441,000 | 100.00% | 324,000 | 100.00% |
Disclaimer/Publisher’s Note: The statements, opinions and data contained in all publications are solely those of the individual author(s) and contributor(s) and not of MDPI and/or the editor(s). MDPI and/or the editor(s) disclaim responsibility for any injury to people or property resulting from any ideas, methods, instructions or products referred to in the content. |
© 2025 by the authors. Licensee MDPI, Basel, Switzerland. This article is an open access article distributed under the terms and conditions of the Creative Commons Attribution (CC BY) license (https://creativecommons.org/licenses/by/4.0/).
Share and Cite
Scalvenzi, L.; Guardado Yordi, E.; Santamaría Caño, E.W.; Avilez Tolagasi, I.N.; Radice, M.; Abreu-Naranjo, R.; León Guardado, L.; Bravo Sánchez, L.R.; Pérez Martínez, A. The Design of an Intensified Process and Production Plant for Cosmetic Emulsions Using Amazonian Oils. Processes 2025, 13, 1923. https://doi.org/10.3390/pr13061923
Scalvenzi L, Guardado Yordi E, Santamaría Caño EW, Avilez Tolagasi IN, Radice M, Abreu-Naranjo R, León Guardado L, Bravo Sánchez LR, Pérez Martínez A. The Design of an Intensified Process and Production Plant for Cosmetic Emulsions Using Amazonian Oils. Processes. 2025; 13(6):1923. https://doi.org/10.3390/pr13061923
Chicago/Turabian StyleScalvenzi, Laura, Estela Guardado Yordi, Edgar Wilfrido Santamaría Caño, Ibeth Nina Avilez Tolagasi, Matteo Radice, Reinier Abreu-Naranjo, Lianne León Guardado, Luis Ramón Bravo Sánchez, and Amaury Pérez Martínez. 2025. "The Design of an Intensified Process and Production Plant for Cosmetic Emulsions Using Amazonian Oils" Processes 13, no. 6: 1923. https://doi.org/10.3390/pr13061923
APA StyleScalvenzi, L., Guardado Yordi, E., Santamaría Caño, E. W., Avilez Tolagasi, I. N., Radice, M., Abreu-Naranjo, R., León Guardado, L., Bravo Sánchez, L. R., & Pérez Martínez, A. (2025). The Design of an Intensified Process and Production Plant for Cosmetic Emulsions Using Amazonian Oils. Processes, 13(6), 1923. https://doi.org/10.3390/pr13061923

