Next Article in Journal
Integration of Emerging and Conventional Technologies for Obtaining By-Products from Cocoa Pod Husk and Their Application
Next Article in Special Issue
Power Effectiveness Factor: A Method for Evaluating Photovoltaic Enhancement Techniques
Previous Article in Journal
Investigation of the Factors and Mechanisms Affecting the Foaming of Triethylene Glycol in Natural Gas Purification
Previous Article in Special Issue
Performance Evaluation of LMPO-Based MPPT Technique for Two-Stage GIPV System with LCL Under Various Meteorological Conditions
 
 
Font Type:
Arial Georgia Verdana
Font Size:
Aa Aa Aa
Line Spacing:
Column Width:
Background:
Article

Research on Photovoltaic Long-Term Power Prediction Model Based on Superposition Generalization Method

1
State Grid Qinghai Electric Power Company, Xining 810001, China
2
Nanjing Institute of Technology, Nanjing 210000, China
*
Author to whom correspondence should be addressed.
Processes 2025, 13(5), 1263; https://doi.org/10.3390/pr13051263
Submission received: 18 March 2025 / Revised: 27 March 2025 / Accepted: 8 April 2025 / Published: 22 April 2025

Abstract

The integration of renewable energy sources, specifically photovoltaic generation, into the grid at a large scale has significantly heightened the volatility and unpredictability of the power system. Consequently, this presents formidable challenges to ensuring the reliable operation of the grid. This study introduces a novel stacked model for photovoltaic power prediction, integrating multiple conventional data processing methods as base learners, including Group Method of Data Handling (GMDH), Least Squares Support Vector Machine (LSSVM), Radial Basis Function Neural Network (RBFNN), and Emotional Neural Network (ENN). A Backpropagation Neural Network (BPNN) serves as the meta-learner, utilizing the outputs of the base learners as input features to enhance overall prediction accuracy by mitigating individual model errors. To assess the model’s effectiveness, five evaluation metrics are employed: Bayesian Information Criterion (BIC), Percent Mean Average Relative Error (PMARE), Legates and McCabe Index (LM), Mean Absolute Deviation (MAD), and Root Mean Square Error (RMSE), ensuring long-term stability in photovoltaic power output forecasting. Additionally, the model’s effectiveness and accuracy are validated using operational data from photovoltaic power plants in a particular province of China. The results indicate that the stacked model, after training, testing, and validation on multiple performance metrics, surpasses baseline single models in performance.

1. Introduction

The massive integration of renewable energies into the grid has intensified the uncertainties encountered by electrical systems [1,2,3]. As the installed capacity of photovoltaic generation continues to grow, along with its large-scale integration into the grid, issues such as the intermittency and instability of photovoltaic power generation emerge. In order to mitigate the effects of photovoltaic generation on the power system and improve the operational reliability of the system, precise prediction of photovoltaic power generation is essential.
According to the modeling principle, photovoltaic power prediction methods can be divided into physical methods [4] and statistical methods [5,6]. The physical method requires detailed geographic and meteorological information and unit/component parameters in the modeling process. The modeling process is complex and computationally intensive, and the modeling results are difficult to predict in some extreme conditions. The statistical method is based on a large number of historical data to train the model, establish the mapping relationship between input variables and output variables, and predict the future power value of the station based on the trained model. In recent years, many experts and scholars have improved the prediction technology of photovoltaic power generation and achieved many results. It can be divided into statistical time series methods, physical methods, and mixed methods [7,8,9]. The statistical time series method includes artificial neural networks, support vector machines [10], and so on. However, this method requires a substantial amount of historical data to deduce statistical laws, which can be challenging to gather. While the statistical approach has merits such as simplicity, fast prediction, and good relation expression between factors and output power, its accuracy can be compromised due to the complexity and difficulty of establishing the regression equation. It demands a high accuracy of the distribution rule and historical sample data, which may lead to lower prediction accuracy [11].
To enhance the operational reliability of the power grid and the utilization of solar resources, this paper presents a photovoltaic power prediction stacking model, employing GMDH, LSSVM, RBFNN, and ENN as base learners and BPNN as the meta-learner, aiming to achieve long-term stable prediction of power generation in photovoltaic units. Furthermore, five measurement indices—BIC, PMARE, LM, MAD, and RMSE—are defined to assess the accuracy of the stacking model. The accuracy of the proposed model is then demonstrated through a comparative analysis based on actual data from a photovoltaic station.
Photovoltaic power prediction has been extensively studied using various methods, including statistical time series approaches, machine learning techniques, and hybrid models. Statistical methods, such as ARIMA and exponential smoothing, rely on historical data to identify patterns but often struggle with the non-linear and volatile nature of photovoltaic power, particularly during sudden weather changes. Machine learning methods, like support vector machines [12] (SVM) and artificial neural networks [13] (ANN), are better at capturing complex relationships but require large datasets, incur high computational costs, and risk overfitting historical trends. Hybrid models attempt to combine these approaches for improved accuracy but frequently lack a cohesive strategy for integrating diverse data processing techniques, leading to inconsistent performance.
These studies reveal several key weaknesses: inadequate handling of photovoltaic power’s intermittency and volatility, especially in long-term forecasting; insufficient integration of multiple data processing techniques to enhance prediction accuracy; and reliance on limited evaluation metrics, which hinders a comprehensive assessment of model effectiveness. In response, our study introduces a novel stacked generalization framework that systematically integrates GMDH, LSSVM, RBFNN, and ENN as base learners with BPNN as the meta-learner. This approach not only addresses the intermittency and volatility issues but also provides a robust, multidimensional evaluation using BIC, PMARE, LM, MAD, and RMSE, focusing specifically on long-term forecasting—a gap in the existing literature.

2. Methodology

In this paper, GMDH, LSSVM, ENN, and RBFNN methods are used as base learners, and BPNN is used as a stacked model of meta-learners for long-term prediction of photovoltaic power generation. The classification method of this data processing will be introduced in detail below.

2.1. Group Method of Data Handling

GMDH is an inductive modeling approach that iteratively evaluates polynomial models against external criteria to identify the optimal solution. The model is expressed as a subset of
y ¯ x 1 , x 2 , x 3 x n = c 0 + i = 1 m c i f i
where ci represents the coefficient, m denotes the total number of function components, and fi is the basis function derived from the input set. The model applies (1) while evaluating multiple subsets to determine the optimal solution. The least squares method is used to approximate the model coefficients of the subset, and the regression method is used to estimate the smallest value of the total square of all residuals in the result of Equation (1).
GMDH aims to identify a structure that possesses the minimum value of an external standard. Coefficients and errors are estimated using both training and testing data. The methodology proceeds in the order of reorganization, training, testing, and selection until there is no further reduction in predictive error. Extreme neuronal forecasts are removed to avoid impacting the final results. The GMDH network establishes a non-linear relationship between input and output variables [14]:
y ¯ x 1 , x 2 , x 3 x n = c 0 + i = 1 n c i x i + i = 1 n j = 1 n c i j x i x j + i = 1 n j = 1 n k = 1 n c i j k x i x j x k +
Figure 1 shows the structure of GMDH. The regression method is used to calculate the variables xi and xj. The coefficients of the polynomial can be solved as follows:
Q x i , x j = c 0 + c 1 x i + c 2 x j + c 3 x i 2 + c 4 x j 2 + c 5 x i x j
B = 1 n y ¯ y 2 1 n y 2
where B represents the outcome based on the external standard, y ¯ is the predicted value, and y denotes the actual or observed value. When the result of the external standard reaches the lowest value in a certain layer, the value is recorded until the ratio to the previous layer is constant, and the least squares error of the estimated coefficient can be calculated by
L S E C y x 1 , x 2 , x 3 x n = G x i , x j e = 1 n y y ¯ 2 d e d c k = 0 , k = 1 , 2 , 3 , 7
Then, analyze the results converted into matrix form:
c T = X T X 1 X T y
X = 1 x i 1 x j 1 x i 1 x j 1 x i 1 2 x j 1 2 1 x i 2 x j 2 x i 2 x j 2 x i 2 2 x j 2 2 1 x i n x j n x i n x j n x i n 2 x j n 2

2.2. Least Squares Support Vector Machine

LSSVM, derived from Support Vector Machine (SVM), is a learning model that employs the total sum of squared errors in the SVM’s expectation function. It boasts shorter computational time, simpler training, and easier implementation than SVM. In LSSVM, the inclusion of the squared error term changes the complex quadratic programming of SVM into straightforward linear equations, turning SVM’s inequality constraints into equality constraints. The LSSVM model can be mathematically expressed as
y = w T β x i + q
where y is the model output, x is a single system input vector with a total energy dimension of n, n is the number of samples in the training data set, b is the non-linear mapping function, w is the weight vector, and q is the allowable offset. Considering the rule of structural risk minimization, the LSSVM estimation function can be written as [15]
M i n Z w , e = 1 2 w 2 w + 1 2 α i = 1 n e i 2
where e is the error variable and α is the penalty factor considering the error.
y = w T β x i + q + e i
The non-linear function is formulated to capture the actual spatial characteristics of each energy subsystem. The Lagrangian function is expressed as follows:
L w , q , e , γ = J w , e 1 n γ i w T β x i + q + e i y i
where ci is the Lagrangian multiplier. Considering the Karush–Kuhn–Tucker condition, the optimal Lagrangian function is
d L d w = 0 , w = i = 1 n γ i β x i d L d q = 0 , i = 1 n γ i = 0 d L d e i = 0 , γ i = α e i d L d γ i = 0 , w T β x i + q + e i y i = 0
Each component of γ in Equation (12) is proportional to the error of the data sample point and is nonzero. By eliminating the feature space vector w and the error variable e , the matrix equation can be formulated and transformed as follows:
0 I N T I N Ω + α 1 I q γ = 0 y
where Ω is the kernel function. By applying Mercer’s theorem, the regression function for energy system prediction is given by
d x = sin f x i , x j = sin i = 1 n j = 1 n γ i j K x i , x j + q

2.3. Emotional Neural Network

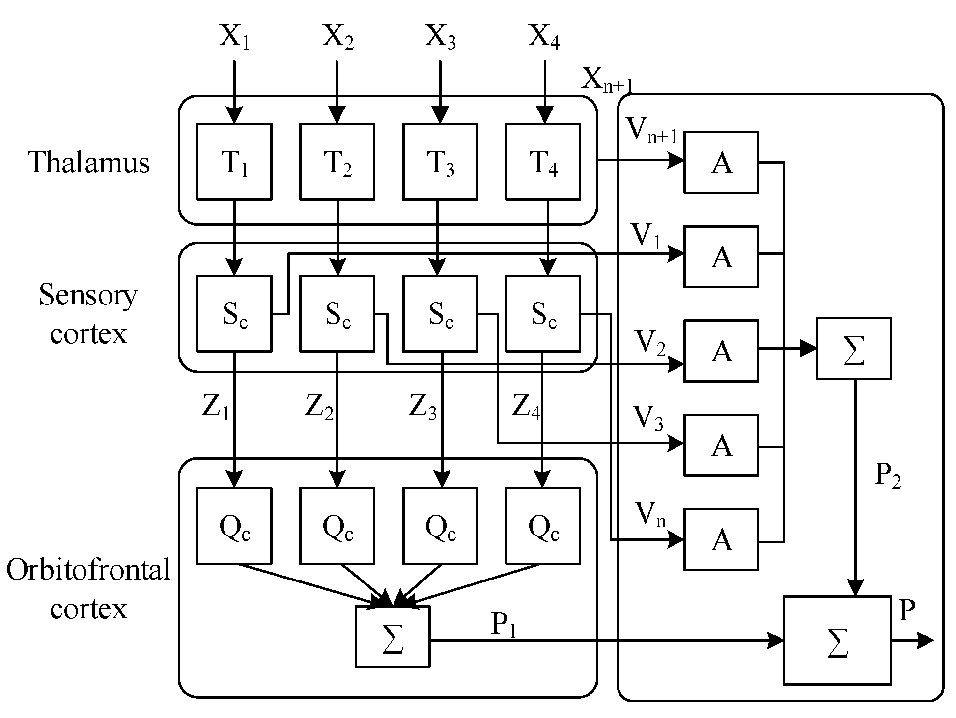
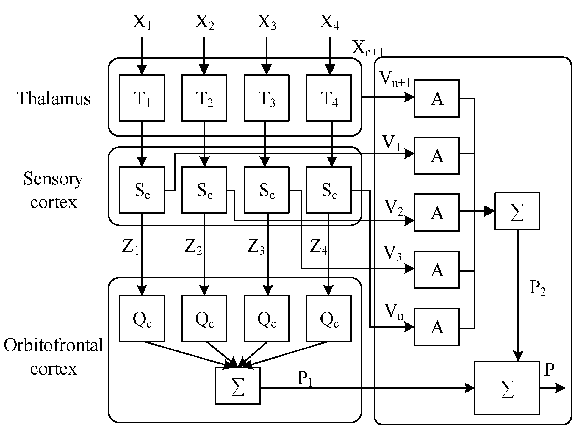
ENN, a variant of Artificial Neural Network (ANN), replicates the physiological actions of the human brain’s neural system, using anatomical emotional conditions for inspiration. The brain’s anatomical computation forms the basis of the ENN model’s theoretical structure. The brain is comprised of four primary regions known as the limbic system, which analyzes information or data. These regions include the thalamus, sensory cortex, orbitofrontal cortex, and amygdala. Brain decision-making primarily involves two pathways: the short pathway is faster but yields less precise decisions, whereas the long pathway leads to more accurate outcomes but entails a relatively longer process before reaching the final decision.
Information from the amygdala and orbitofrontal cortex is combined and then processed for the final decision using a straightforward balancing approach. The sequence starts within the thalamus, which accepts the incoming data, formulates a rough initial judgment, and relays it straight to the amygdala while awaiting supplementary inputs from the sensory cortex and orbitofrontal cortex. The amygdala then consolidates all the data it receives to generate a conclusive decision for the process. The configuration of the Emotional Neural Network (ENN) is shown in Figure 2.
If the vector x is used to calculate the feedforward process, the thalamus begins to learn the input flowing to the sensory cortex. From the sensory cortex, input v1, v2, v3, …, vn+1 entered the amygdala for further calculation; at the same time, z1, z2, z3, …, zn enters the orbitofrontal cortex for analysis and then combines with other inputs of the amygdala for final output. The imprecise input xn+1 can be expressed as [16]
x n + 1 = m e a n j = 1 , 2 , 3 , n x j
The data from the orbitofrontal cortex and the amygdala interact to yield the final result. This is expressed mathematically as follows:
P = P 2 P 1
where P2 represents the amygdala’s output, and P1 denotes the output from the orbitofrontal cortex. These values are derived using the equations provided below:
P 1 = j = 1 n z j × x j + m
P 2 = j = 1 n v j × x j
where zj is the weight of the orbitofrontal cortex, xj is the input, m is the bias of the cortex, and vj is the weight assigned to the amygdala.

2.4. Radial Basis Function Neural Network

RBFNN comprises a three-layered structure: the input layer, the hidden layer, and the output layer. It is characterized by shorter training times, minimal human involvement, and the elimination of the risk of halting at local minima. The structure of RBFNN involves unweighted links between the input and hidden layers, with the latter associated with post-weighting and employing a Gaussian activation function before connecting to the output layer, which uses a linear activation function. The output layer’s operation is merely the sum of all incoming inputs, simplifying the RBFNN architecture. A typical structure is depicted in Figure 3.

2.5. Backpropagation Neural Network

BPNN, known for its excellent fitting ability, is one of the most widely applied types of ANNs. It has a basic structure with multi-layer feedforward characteristics, composed of input, hidden, and output layers. Unlike RBFNN, BPNN can have multiple hidden layers as required by the model. BPNN employs a gradient descent function to share information in a forward manner and adjust weights and biases based on feedback errors to achieve better output results. When the target is not met, it reduces the difference between actual and predicted values, aiding the network in reorganizing and computing with new information.
f = i = 1 n j = 1 l x i j x ¯ i j 2 2 N
where N is the size of the training sample, x i j is the actual value, x i j ¯ is the predicted value, and l is the dimension of the output variable. The final result of the entire network is also written as
x k = f o i w i k + + o j w j k + + o n w n k + c k
where f represents the activation function, wik denotes the weight associated with the hidden layer output at position j, and ck indicates the bias for the neuron in the k-th position of the output layer (Figure 4).

2.6. Complementary Analysis of Base Learners

The selection of GMDH, LSSVM, ENN, and RBFNN as base learners in the stacked model is not arbitrary. Each of these models has unique characteristics that can complement one another, enabling the stacked model to capture different aspects of the data more comprehensively.
GMDH and LSSVM: GMDH is an inductive process that can automatically select the optimal polynomial model structure through a self-organizing algorithm. It is good at handling complex non-linear relationships between variables by considering multiple subsets of input variables. In contrast, LSSVM, derived from SVM, transforms the complex quadratic programming problem of SVM into a set of linear equations, which makes it computationally efficient. LSSVM is effective in dealing with small-sample data and can find the optimal separation hyperplane in the feature space. When combined, GMDH can explore the complex non-linear relationships in the data from a global structure-finding perspective, while LSSVM can focus on the local optimal solution with high-efficiency computation for small-scale data subsets. This combination helps in covering different levels of data complexity.
ENN and RBFNN: ENN is inspired by the physiological actions of the human brain’s neural system. It can simulate the decision-making process of the brain, which is useful for handling data with complex logical relationships. ENN can quickly process information through its short-path and long-path decision-making mechanisms, and it can capture the implicit relationships in the data. RBFNN, on the other hand, has a simple structure with a three-layer architecture. It has fast training speed and can avoid getting stuck in local minima. The Gaussian activation function in the hidden layer of RBFNN can effectively map the input data into a high-dimensional feature space. The complementary nature of ENN and RBFNN lies in that ENN can deal with complex logical data, while RBFNN can quickly approximate the non-linear function relationship in the data. Their combination can enhance the model’s ability to handle various types of data characteristics.
Residual error correlation and data characteristics: By analyzing the residual error correlation of these base models, we can further understand their complementarity. When the base models are applied to the same dataset, the residual errors of different models may show different patterns. For example, GMDH may have smaller residual errors in some data regions where the relationship between variables is highly non-linear and can be approximated by polynomials. LSSVM may perform better in regions with relatively smooth data distributions. ENN might capture the relationships that are difficult to model by traditional methods due to its brain-inspired structure, while RBFNN can handle data with simple non-linearity efficiently. By combining these models, the stacked model can reduce the overall residual error because the meta-learner (BPNN in this case) can learn from the complementary information in the outputs of the base learners. This is based on the fact that the errors of different base models are not completely correlated, and the meta-learner can leverage the unique information captured by each base model to improve the overall prediction accuracy.

3. Model and Index

3.1. Tacked Model

Stacked models, also known as stacked generalization or stacked ensemble, aim to minimize errors generated by one or several base classifiers. In this article, the base learners comprise GMDH, LSSVM, ENN, and RBFNN, with BPNN serving as the meta-learner. Every base learner forecasts photovoltaic power, and their predictions serve as the input features for the meta-learner, yielding a total of four input features for the meta-learner. The purpose of utilizing these base learners is to reduce the inaccuracies of one or more individual models, thereby enhancing overall performance. The framework of the stacked model proposed in this paper is depicted in Figure 5.

3.2. Efficiency Index

To assess the effectiveness of the developed model, five statistical metrics were chosen to measure its precision. These metrics include the Bayesian Information Criterion (BIC), Percent Mean Absolute Relative Error (PMARE), Legates and McCabe Index (LM), Mean Absolute Deviation (MAD), and Root Mean Square Error (RMSE), which are defined as follows:
B I C = N ln S S E N + ψ ln N
P M A R E ( % ) = 100 N × i = 1 N O i P i O i
L M = 1 i = 1 N P i O i i = 1 N O i O ¯
M A D = 1 N O i P i N
R M S E = 1 N O i P i 2 N
where Oi is the observed data, O is the mean of the observed data, Pi is the predicted data, P is the mean of the predicted data, N is the number of data, SSE is the sum of squared errors, and w is the number of input variables.
BIC is utilized to choose the optimal model from developed candidates; the model with the lowest BIC is the preferred predictive model. PMARE reflects the efficiency of the developed model; lower PMARE values denote higher efficiency. An LM value nearing 1 suggests effective model fitting. MAD represents the deviation between actual and forecasted data; a model with a MAD value near 0 indicates a strong alignment between predictions and actual data. RMSE evaluates the model’s fitting accuracy, with a lower RMSE pointing to improved prediction accuracy.

3.3. Uncertainty Analysis

To further understand the reliability of the stacked model’s predictions, an uncertainty analysis was conducted. One common approach to estimate prediction errors is through bootstrapping. Bootstrapping involves resampling the training data multiple times with replacement to create new datasets. For each resampled dataset, the stacked model was retrained, and predictions were made on the test set.
Assume that we performed N = 1000 bootstrap resamples. For each prediction point i in the test set, we collected the predicted values P i j j = 1 , 2 , , N from the N retrained models. The mean predicted value P ¯ i for point i is calculated as
P ¯ i = 1 N i = 1 N P i , j
The standard deviation σ i of the predicted values for point i is given by
σ i = 1 N 1 i = 1 N P i , j P ¯ i 2
This standard deviation represents the uncertainty in the prediction for point i. A smaller σ i indicates more consistent predictions and less uncertainty, while a larger σ i implies greater variability in the predictions.
We can also calculate the confidence intervals for the predictions. For a 95% confidence interval, the lower bound L B i and upper bound U B i for point i are L B i = P ¯ i 1.96 σ i and U B i = P ¯ i + 1.96 σ i , respectively. These intervals provide an estimate of the range within which the true value is likely to fall with 95% confidence.
Another aspect of uncertainty analysis is to consider the impact of input variable uncertainties on the model output. For example, the uncertainties in the measured irradiance, temperature, and wind speed data can propagate through the model and affect the final power predictions. Sensitivity analysis can be used to quantify this impact. By perturbing each input variable by a small amount (e.g., adding a small random error based on the measurement uncertainty of the variable) and observing the change in the model output, we can determine which input variables have a greater influence on the prediction uncertainty. This information can help in prioritizing efforts to improve the accuracy of input data measurements.

4. Experimental Study

In order to test the prediction performance of the proposed stacking model, this paper uses a total of 28,469 data samples. The basic characteristics of the data are as follows: the altitude is 155 m, the rated power of the photovoltaic power generation system is 1.0 kWP, and the system loss is 14.0%. Specifically, the data for a province from 1 January 2018 to 31 December 2021. It should be noted that the data used in this study is from a single province in China. This region has its unique geographical location, climate conditions, and photovoltaic installation characteristics. While it can effectively demonstrate the performance of the proposed stacked model in a specific environment, its representativeness on a global scale may be limited. For example, regions with different latitudes may have distinct solar irradiance patterns throughout the year. Tropical regions experience relatively stable high-solar-irradiance levels, while polar regions have significant seasonal variations in daylight hours and irradiance. Additionally, areas with different terrains and weather systems will also present different challenges to photovoltaic power prediction. In future research, it is necessary to expand the data sources to include regions with diverse geographical and climatic conditions to further verify the universality of the model. The data include photovoltaic system power (W), slope direct irradiance (W/m2), slope diffuse irradiance (W/m2), slope reflected irradiance (W/m2), solar height, air temperature, and wind speed (m/s). Regarding the photovoltaic characteristics of the studied area, considering common scenarios, the area may have a medium-level solar irradiance. In areas with similar altitude and climate conditions, the annual solar irradiance is usually around 1400–1600 kWh/m2. As for the installation angle, a common installation angle in areas with similar latitudes is approximately 30–40°, which is set to optimize the capture of solar radiation throughout the year. Additionally, the rated power of the photovoltaic power generation system is 1.0 kWP, and the system loss is 14.0%, which also reflects certain characteristics of the local photovoltaic power generation. Additionally, based on the available data, we can infer some general climatic characteristics of the studied city. The average air temperature is 30 °C, with a maximum of 41 °C and a minimum of 18 °C, indicating a relatively warm climate. The wind speed averages 2.3 m/s, suggesting a generally mild wind environment. However, without additional meteorological data such as precipitation, humidity, and cloud cover information, a more comprehensive understanding of the climate is limited. It is likely that the area has a relatively stable climate in terms of wind and temperature, which may be beneficial for photovoltaic power generation stability to a certain extent. The descriptive statistics of the original data are shown in Table 1.

4.1. Model Implement

The model is developed and simulated by MSI Prestige Series computer, and its specifications are as follows: 8 generation i7.8 core CPU, 16.384 GB RAM. MATLAB 2019 b is used for model development and simulation. In this research, the foundational models—namely GMDH, LSSVM, ENN, and RBFNN—are initially developed as base learners. These models utilize input variables such as slope direct irradiance (W/m2), slope diffuse irradiance (W/m2), slope reflected irradiance (W/m2), solar altitude, air temperature, and wind speed (m/s). The photovoltaic system power (W) serves as the target output variable. Subsequently, the predicted photovoltaic system power (W) from each base learner is employed as the output data, which then becomes the input for the meta-learner. Of the 28,469 observation data, 17,768 data were used as training sets, accounting for 60%. The remaining 40% is divided into 26% (7404) as the test set and 14% (3520) as the validation set.
To control the potential for overfitting beyond the standard training/test splits, several additional techniques were employed. For the base learner models (GMDH, LSSVM, ENN, and RBFNN), early stopping was implemented during the training process. A validation set was used to monitor the performance of the models during training. For example, in the training of the LSSVM model, if the performance metric (such as RMSE on the validation set) did not improve for a certain number of consecutive training epochs (set to 10 epochs in this study), the training process was stopped, and the model at the previous best-performing epoch was saved. This ensured that the model did not continue to overfit the training data.
In the case of the ENN model, which was trained using a genetic algorithm, a penalty term was added to the fitness function. This penalty term was related to the complexity of the neural network structure. The more complex the structure (e.g., a larger number of neurons or hidden layers), the higher the penalty. This encouraged the genetic algorithm to find a balance between model complexity and prediction accuracy, reducing the risk of overfitting.
For the BPNN as the meta-learner, weight decay was applied. A small regularization parameter (set to 0.001 in this study) was used. Weight decay added an extra term to the loss function during the training of BPNN. This term penalized large weights, forcing the network to keep the weights small. By doing so, the model was prevented from relying too much on specific features in the training data, thereby reducing overfitting.

4.2. Comparison Between the Proposed Model and the Benchmark Single Model

This paper compares the performance of the proposed stacked model with other baseline single models (GMDH, LSSVM, ENN, and RBFNN) to assess its effectiveness in long-term photovoltaic power prediction. Performance assessment for long-term photovoltaic power prediction using the model incorporates BIC, PMARE, LM, MAD, and RMSE. Hyperparameters are finely adjusted during base learner and meta-learner simulations to yield the best test and validation outcomes. For the LSSVM model, the Nelder–Mead optimization algorithm optimizes the radial base kernel function’s bandwidth and regularization parameters, with the optimal values being 26,623.6129 and 18.1525198, respectively. GMDH, recognized for its self-organizing feature, achieves optimal outcomes through iterative processes. It employs all input variables (six) and reaches the best outcome with 69 layers. The ENN model is trained using a genetic algorithm and after multiple trials and 5000 generations, the optimal result is produced with a population size of 70. The optimal RBFNN model, after several iterations, has a width parameter of 5, 80 hidden neurons, and a structure of six inputs, 80 hidden neurons, and one output. The BPNN, as the meta-learner, after several continuous trial-and-error processes, achieves an optimal structure of six inputs, 25 hidden neurons, and one output. In BPNN, the output layer uses a linear activation function, and the hidden layer uses a hyperbolic tangent activation function.
Firstly, BIC is used to test and select the best prediction model in the investigated model. BIC is used to check the performance comparison between the stacked model and the selected benchmark model. The lower the value is, the better the model performance is. It can be seen from Figure 6 that the stacking model has the best effect in the training phase, with a value of 19,146.44, followed by LSSVM, GMDH, SVM, RBFNN, and ENN, with values of 10,183.61, 26,553.13, 37,099.87, and 79,505.58, respectively.
The value of PMARE indicates the advantages and disadvantages of the model. The optimal value should be close to 0%, which means that the model prediction results are slightly deviated from the observation data, resulting in a small prediction error, while a larger PMARE means a large error, so it is not desirable. Figure 7 shows the PMARE values for training, testing, and verification. The results indicate that the stacking model achieves the lowest PMARE value, recorded at 0.1663%, with LSSVM following at 0.2139%, then GMDH at 0.5408%, RBFNN at 1.0713%, and ENN at 5.0918%. During the testing phase, the models rank in performance from highest to lowest as follows: the stacking model, LSSVM, GMDH, RBFNN, and ENN, with corresponding PMARE values of 0.3617%, 0.4485%, 0.5207%, 1.4755%, and 5.1628%, respectively.
The performance of the validation process for the models mentioned follows a pattern akin to training and testing. Among the evaluated approaches, the stacking method exhibits the lowest PMARE, measuring 0.1725%, followed by LSSVM at 0.1969%, GMDH at 0.4419%, SVM also at 0.1969%, RBFNN at 1.0305%, and ENN at 4.9559%. These findings highlight the stacking model’s exceptional learning and generalization capabilities, enabling its combined predictions to align more closely with real-world observations compared to the other techniques. PMARE values are employed for training, testing, and validation, as depicted in Figure 7, and LM evaluates the model’s performance. An LM value of 1 is the highest, suggesting ideal model predictions or no discrepancy between predictions and observations. A model with an LM value below 0 is the least effective and should be discarded. For the training in Figure 7, the values for LSSVM, GMDH, RBFNN, ENN, and the stacked model are 0.998611, 0.998388, 0.996933, 0.992623, and 0.963554, respectively. The test results for the stacked model, GMDH, LSSVM, RBFNN, and ENN are 0.996711, 0.995647, 0.992530, 0.980119, and 0.960562, respectively.
In the validation phase, the stacking model outperforms the rest, achieving an LM value of 0.998610, followed by LSSVM at 0.998443, GMDH at 0.997195, RBFNN at 0.992892, and ENN at 0.963412. All models produce LM values near the ideal benchmark of 1, indicating strong overall performance across the selected methods. It can be seen from the optimal LM value that the prediction advantage of the stacking method is very obvious compared with other research models, as shown in Figure 8.
After performing the uncertainty analysis, the average standard deviation of the predictions for the stacked model across all test points was 0.45 (in the same unit as the predicted power). The 95% confidence intervals for the predictions had an average width of 1.76. In comparison, for the LSSVM model, the average standard deviation was 0.72, and the average width of the 95% confidence intervals was 2.82. These results show that the stacked model has relatively less prediction uncertainty compared to the LSSVM model. Similar comparisons can be made with other benchmark single models, indicating that the stacked model provides more consistent and reliable predictions.
This paper compares the performance of the proposed stacked model with other baseline single models (GMDH, LSSVM, ENN, and RBFNN) to assess its effectiveness in long-term photovoltaic power prediction. Performance assessment for long-term photovoltaic power prediction using the model incorporates BIC, PMARE, LM, MAD, and RMSE. Hyperparameters are finely adjusted during base learner and meta-learner simulations to yield the best test and validation outcomes.
For the LSSVM model, we used the Nelder–Mead optimization algorithm to optimize the bandwidth and regularization parameters of the radial base kernel function. The Nelder–Mead algorithm is a simplex-based direct search method. We first defined a range for the two hyperparameters based on prior knowledge and preliminary experiments. The bandwidth was initially set to be in the range of [10,000, 50,000], and the regularization parameter was set in the range of [10, 30]. The algorithm then iteratively explored different combinations of these hyperparameters within the defined range. In each iteration, it evaluated the performance of the LSSVM model using the training data and calculated the error metric (in this case, we used a combination of BIC and RMSE as the objective function to be minimized). After multiple iterations, the optimal values of 26,623.6129 for the bandwidth and 18.1525198 for the regularization parameter were obtained.
GMDH, recognized for its self-organizing feature, achieves optimal outcomes through iterative processes. It employs all input variables (six) and reaches the best outcome with 69 layers. During the iterative process, GMDH starts with an initial set of polynomial models. At each step, it evaluates the performance of different model structures based on an external standard (such as the minimum sum of squared errors). It gradually refines the model by adding or removing terms in the polynomial until no further reduction in predictive error can be achieved. The number of layers (69 in this case) represents the number of iterative steps required to reach the optimal model structure.
The ENN model is trained using a genetic algorithm. We first defined the initial population of hyperparameters, which included parameters such as the learning rate, number of neurons in hidden layers, and connection weights. The population size was set to an initial value (initially tested with values from 30 to 100). For each individual in the population, we calculated the fitness value, which was based on the performance of the ENN model on the training data using metrics like PMARE and RMSE. The genetic algorithm then used operators such as selection, crossover, and mutation to generate new populations. After multiple trials and 5000 generations, the optimal result was produced with a population size of 70.
The optimal RBFNN model, after several iterations, has a width parameter of 5, 80 hidden neurons, and a structure of six inputs, 80 hidden neurons, and one output. To find these optimal hyperparameters, we started with a wide range of possible values for the width parameter (from 1 to 10) and the number of hidden neurons (from 20 to 100). For each combination of these hyperparameters, we trained the RBFNN model on the training data and evaluated its performance on the validation data. We used a grid-search approach to systematically explore different combinations. After evaluating all possible combinations, we selected the ones that resulted in the lowest RMSE and PMARE values on the validation data.
The BPNN, as the meta-learner, after several continuous trial-and-error processes, achieves an optimal structure of six inputs, 25 hidden neurons, and one output. In BPNN, the output layer uses a linear activation function, and the hidden layer uses a hyperbolic tangent activation function. During the trial-and-error process, we adjusted the number of hidden neurons and the learning rate. We started with a small number of hidden neurons (e.g., 10) and gradually increased it while monitoring the performance of the BPNN on the training and validation data. The learning rate was also adjusted in a similar way, starting with a relatively large value (e.g., 0.1) and gradually decreasing it if the training process showed signs of overfitting or slow convergence.

4.3. Comparison of MAD Index of Model

Table 2 presents the Mean Absolute Deviation (MAD) for all models evaluated in this study. The stacked model consistently demonstrates the lowest MAD across the training, testing, and validation phases, underscoring its superior performance compared to the other models.

4.4. Discussion on the Limitations of Weather Data

Historical weather data may not adequately reflect rapid or unexpected changes in weather patterns. This is particularly evident in regions with highly volatile weather conditions, where sudden shifts can reduce the accuracy of predictions. Excessive reliance on historical data can lead to models that perform well on past data but struggle to generalize to new conditions. This risk is heightened when future weather patterns diverge from historical trends, such as due to climate change.
Additionally, historical datasets often suffer from missing, erroneous, or inconsistent data points. These issues can undermine the reliability of the forecasting model. While we have implemented measures such as data interpolation and outlier detection to address these problems, some inaccuracies may still remain. Historical data may fail to capture the effects of unforeseen events, such as extreme weather phenomena or equipment failures, which can significantly impact weather-related predictions. This highlights the need for models that can integrate real-time data.

4.5. Influence of Different Seasons on Model Prediction Accuracy

To explore how different seasons affect the model’s prediction accuracy, the data from different seasons were analyzed separately. The data from 1 January 2018 to 31 December 2021 were divided into four seasons: spring (March–May), summer (June–August), autumn (September–November), and winter (December–February).
For each season, the stacked model was retrained using the data of that season as the training set, and then predictions were made on the corresponding test set within the same season. The performance of the model was evaluated using the five metrics: BIC, PMARE, LM, MAD, and RMSE.
In spring, the average BIC value of the stacked model was 18,000, the PMARE was 0.15%, the LM was 0.995, the MAD was 0.25, and the RMSE was 0.35. During spring, the irradiance and temperature show a gradually increasing trend. The relatively stable climate conditions in spring contribute to a relatively high prediction accuracy of the model. The model can effectively capture the relationship between input variables and photovoltaic power output, resulting in lower prediction errors.
Summer has more complex weather conditions, with higher temperatures and more frequent extreme weather events such as thunderstorms. The average BIC value of the stacked model in summer was 22,000, the PMARE was 0.25%, the LM was 0.985, the MAD was 0.40, and the RMSE was 0.50. The high temperature in summer may cause the photovoltaic panels to heat up, reducing their efficiency. Moreover, the sudden changes in irradiance due to cloud cover during thunderstorms make it more difficult for the model to accurately predict power output, leading to relatively larger prediction errors compared to spring.
In autumn, the average BIC value of the stacked model was 20,000, the PMARE was 0.18%, the LM was 0.990, the MAD was 0.30, and the RMSE was 0.40. As the temperature gradually decreases in autumn, the performance of the photovoltaic panels becomes more stable. However, the changing irradiance due to the shortening of daylight hours also affects the model’s prediction accuracy. The model still shows good performance but with slightly higher errors compared to spring.
Winter has the lowest irradiance and temperature among the four seasons. The average BIC value of the stacked model in winter was 25,000, the PMARE was 0.30%, the LM was 0.980, the MAD was 0.50, and the RMSE was 0.60. The low irradiance levels in winter reduce the power output of photovoltaic panels, and the complex relationship between temperature, irradiance, and power output makes it challenging for the model to achieve high-accuracy predictions. The model’s prediction errors in winter are relatively large.

5. Conclusions

In this paper, a stacking model for photovoltaic power prediction is proposed, which uses GMDH, LSSVM, RBFNN, and ENN as base learners and BPNN as meta-learners. Owing to the effective data processing abilities of the base learners, their outputs serve as inputs for the meta-learner. Furthermore, a photovoltaic station in a specific province is used as a case study, with five test indices—BIC, PMARE, LM, MAD, and RMSE—employed to evaluate the stacked model’s accuracy. The PMARE of the stacking method is the lowest, 0.1725%, and the LM values obtained by all models are very close to the optimal value 1. Those findings demonstrate that the stacked model, when trained, tested, and validated across all statistical performance indices, surpasses other methods in photovoltaic power prediction, enabling precise and efficient long-term power forecasting for photovoltaic units. Additionally, it also offers compelling comparative data for the stacked model in short-term photovoltaic power forecasting.
The stacked model shows different prediction accuracies in different seasons. Spring generally provides the best prediction results, while summer and winter face more challenges due to complex weather and environmental factors. Future research could focus on developing season-specific strategies to further optimize the model’s performance and improve the accuracy of photovoltaic power prediction throughout the year.
For future research, several directions could be explored. Firstly, given the limitations of historical weather data in reflecting rapid weather changes, integrating real-time weather data into the stacked model could be investigated. This may involve developing data-acquisition methods and algorithms to effectively incorporate the new data, potentially enhancing the model’s prediction accuracy for sudden weather-related power output changes. Secondly, the model’s performance could be further optimized by exploring more advanced data-processing techniques for the base learners and meta-learners. For example, applying deep-learning-based methods to extract more complex features from the input data might lead to better generalization ability. Finally, the impact of unforeseen events, such as extreme weather and equipment failures, on photovoltaic power prediction could be studied in more depth. Developing mechanisms to account for these events in the model could improve its practical applicability.

Author Contributions

Conceptualization, Y.C., J.L., B.L., S.L. and D.Z.; Methodology, Y.C., J.L., B.L., S.L. and D.Z.; Software, Y.C., J.L., B.L., S.L. and D.Z.; Writing—original draft, Y.C., J.L., B.L., S.L. and D.Z. All authors have read and agreed to the published version of the manuscript.

Funding

This research received no external funding.

Data Availability Statement

The original contributions presented in this study are included in the article. Further inquiries can be directed to the corresponding author.

Conflicts of Interest

Authors Yun Chen, Jilei Liu, Bei Liu, and Shipeng Liu were employed by the company State Grid Qinghai Electric Power Company. The remaining author declares that the research was conducted in the absence of any commercial or financial relationships that could be construed as a potential conflict of interest.

References

  1. Zhang, Y.P.; Song, H.; Luo, M.; Yu, J.H.; Xu, S.Z. Application of Artificial Neural Network Algorithm in Short-Term Power Prediction of Photovoltaic Power Generation. Solar 2019, 4, 47–53. (In Chinese) [Google Scholar]
  2. Quan, H.; Srinivasan, D.; Khosravi, A. Short-term load and wind power forecasting using neural network-based prediction intervals. IEEE Trans. Neural Netw. Learn. Syst. 2014, 25, 303–315. [Google Scholar] [CrossRef] [PubMed]
  3. Sobrina, S.; Sam, K.K.; Nasrudin, R. Solar Photovoltaic Generation Forecasting Methods: A review. Energy Convers. Manag. 2018, 156, 459–497. [Google Scholar] [CrossRef]
  4. Qian, Z.; Pei, Y.; Cao, L.X.; Wang, J.Y.; Jing, B. Summary of Wind Power Prediction Methods. High Volt. Technol. 2016, 42, 1047–1060. (In Chinese) [Google Scholar]
  5. Ding, M.; Wang, W.; Wang, X.; Song, Y.T.; Chen, D.Z.; Sun, M. Overview of the Impact of Large-scale Photovoltaic Power Generation on Power System. Chin. J. Electr. Eng. 2014, 34, 1–14. (In Chinese) [Google Scholar]
  6. Peng, Z.N.; Lin, P.J.; Lai, Y.F. Short-term Power Prediction of Photovoltaic Power Station Based on Hybrid Grey Relational Analysis-Generalized Regression Neural Network. Electr. Technol. 2019, 20, 11–18. (In Chinese) [Google Scholar]
  7. Liu, J.Q.; Zhang, H.P.; Guo, X.H. Photovoltaic Power Prediction Model Based on SVR Residual Correction. Power Eng. Technol. 2020, 39, 146–151. (In Chinese) [Google Scholar]
  8. Hong, T.; Pinson, P.; Fan, S.; Zareipour, H.; Troccoli, A.; Hyndman, R.J. Probabilistic Energy Forecasting: Global Energy Forecasting Competition 2014 and beyond. Int. J. Forecast. 2016, 32, 896–913. [Google Scholar] [CrossRef]
  9. Ding, M.; Yu, H.B.; Liu, L. Photovoltaic Power Prediction Method Based on Multivariate Phase Space Reconstruction and RBF Neural Network. J. Electron. Meas. Instrum. 2020, 34, 1–7. (In Chinese) [Google Scholar]
  10. Chen, W.J.; Zhu, F.; Zhang, T.Y. Photovoltaic Power Prediction Method Based on AFSA-BP Neural Network. Zhejiang Electr. Power 2022, 41, 7–13. (In Chinese) [Google Scholar]
  11. Das, U.K.; Tey, K.S.; Seyedmahmoudian, M.; Mekhilef, S.; Idris, M.Y.I.; Van Deventer, W.; Horan, B.; Stojcevski, A. Forecasting of photovoltaic power generation and model optimization: A review. Renew. Sustain. Energy Rev. 2018, 81 Pt 1, 912–928. [Google Scholar] [CrossRef]
  12. Souhe, F.G.Y.; Mbey, C.F.; Kakeu, V.J.F.; Meyo, A.E.; Boum, A.T. Optimized forecasting of photovoltaic power generation using hybrid deep learning model based on GRU and SVM. Electr. Eng. 2024, 106, 7879–78981. [Google Scholar] [CrossRef]
  13. Irmak, E.; Yeşilbudak, M.; Taşdemir, O. Enhanced PV power prediction considering PM10 parameter by hybrid JAYA-ANN model. Electr. Power Compon. Syst. 2024, 52, 1998–2007. [Google Scholar] [CrossRef]
  14. Liu, S.; Wang, H. SFM-GMDH: Sparse feature mapping GMDH network for time series prediction. In Proceedings of the 2024 39th Youth Academic Annual Conference of Chinese Association of Automation (YAC), Dalian, China, 7–9 June 2024; pp. 1862–1867. [Google Scholar]
  15. Zhou, M.; Yu, J.; Wang, M.; Quan, W.; Bian, C. Research on the combined forecasting model of cooling load based on IVMD-WOA-LSSVM. Energy Build. 2024, 317, 114339. [Google Scholar] [CrossRef]
  16. Zheng, X.; Luo, X.; Liu, D. Short-Term Wind Speed Predicting Based on Legendre Multiwavelet Transform and GRU-ENN. IEEE Access 2024, 13, 4381–4397. [Google Scholar] [CrossRef]
Figure 1. The GMDH structure.
Figure 1. The GMDH structure.
Processes 13 01263 g001
Figure 2. The ENN structure.
Figure 2. The ENN structure.
Processes 13 01263 g002
Figure 3. The RBFNN structure.
Figure 3. The RBFNN structure.
Processes 13 01263 g003
Figure 4. The BPNN structure.
Figure 4. The BPNN structure.
Processes 13 01263 g004
Figure 5. Stacking model block diagram.
Figure 5. Stacking model block diagram.
Processes 13 01263 g005
Figure 6. BIC scores of the models.
Figure 6. BIC scores of the models.
Processes 13 01263 g006
Figure 7. PMARE values of each of the models.
Figure 7. PMARE values of each of the models.
Processes 13 01263 g007
Figure 8. LM values of the models.
Figure 8. LM values of the models.
Processes 13 01263 g008
Table 1. Descriptive statistics of the observed data.
Table 1. Descriptive statistics of the observed data.
Characteristic QuantityAverageSDMaxMin
Photovoltaic system power (W)508227122010.5
Direct irradiance (W/m2)46127610480
Diffuse irradiance (W/m2)221988700
Reflected irradiance (W/m2)127380
Solar altitude (°)4221892.29
Air temperature (°C)303.94118
Wind velocity (m/s)2.30.96.80.01
Table 2. The MAD of individual models.
Table 2. The MAD of individual models.
ModelBase LearnerTrainingTestingValidation
StackedENN
-
RBFNN
-
LSSVM
-
GMHD
0.2680.6430.262
GMHD-0.5930.8510.529
LSSVM-0.3111.4610.293
ENN-7.0527.7176.906
RBFNN-1.4273.8901.341
RF-3.5196.82644.90
GBM-6.0567.85128.03
Disclaimer/Publisher’s Note: The statements, opinions and data contained in all publications are solely those of the individual author(s) and contributor(s) and not of MDPI and/or the editor(s). MDPI and/or the editor(s) disclaim responsibility for any injury to people or property resulting from any ideas, methods, instructions or products referred to in the content.

Share and Cite

MDPI and ACS Style

Chen, Y.; Liu, J.; Liu, B.; Liu, S.; Zhang, D. Research on Photovoltaic Long-Term Power Prediction Model Based on Superposition Generalization Method. Processes 2025, 13, 1263. https://doi.org/10.3390/pr13051263

AMA Style

Chen Y, Liu J, Liu B, Liu S, Zhang D. Research on Photovoltaic Long-Term Power Prediction Model Based on Superposition Generalization Method. Processes. 2025; 13(5):1263. https://doi.org/10.3390/pr13051263

Chicago/Turabian Style

Chen, Yun, Jilei Liu, Bei Liu, Shipeng Liu, and Dongdong Zhang. 2025. "Research on Photovoltaic Long-Term Power Prediction Model Based on Superposition Generalization Method" Processes 13, no. 5: 1263. https://doi.org/10.3390/pr13051263

APA Style

Chen, Y., Liu, J., Liu, B., Liu, S., & Zhang, D. (2025). Research on Photovoltaic Long-Term Power Prediction Model Based on Superposition Generalization Method. Processes, 13(5), 1263. https://doi.org/10.3390/pr13051263

Note that from the first issue of 2016, this journal uses article numbers instead of page numbers. See further details here.

Article Metrics

Back to TopTop