Abstract
This paper presents a strategic planning model aimed at optimizing the economic and environmental impacts of palm oil mill effluent (POME) treatment systems. The model determines the optimal selection of POME treatment systems to minimize the environmental impact, specifically focusing on three systems: an anaerobic digester tank system (ADT), a covered lagoon system (CL) with biogas capture, and an open pond system (OP). The model incorporates constraints related to fresh fruit bunch (FFB) production, POME generation, the biological oxygen demand (BOD), the chemical oxygen demand (COD), and carbon dioxide (CO2) emissions. The optimization framework, formulated as a mixed-integer linear programming (MILP) model, is solved using the GAMS 40.1.0 software. Integer decision variables are used to represent the choice of POME treatment system that minimizes the environmental impact. The study specifically considers the ADT, CL, and OP systems, with the results indicating that the ADT system is the most effective in reducing the BOD, COD, and CO2-equivalent emissions, thereby highlighting its environmental benefits. The model selects the ADT treatment system, which exhibits the lowest COD, BOD, and CO2e emissions. Specifically, the COD registered an 85% reduction, from 84,830 mg/L to 12,725 mg/L. The BOD level was reduced by 88%, resulting in a BOD level of 41,208 mg/L to 4945 mg/L. The minimum CO2e emissions that could be achieved was about 3173 t CO2e per annum. This model provides a valuable tool for governmental agencies and policymakers to guide the private sector in developing environmentally sustainable POME treatment strategies.
1. Introduction
In 2024, Papua New Guinea (PNG) hosted a significant number of palm oil mills (POMs), primarily concentrated in provinces such as West New Britain, East New Britain, and Milne Bay, which are critical contributors to the country’s palm oil industry. Although specific regulatory standards for palm oil mill effluent (POME) discharge vary, the country’s environmental legislation, particularly the Environment Act 2000, emphasizes the importance of sustainable waste management practices. However, the enforcement and implementation of stringent biochemical oxygen demand (BOD) discharge limits, akin to Malaysia’s 20 mg/L standard [1], remains a work in progress. This underscores the need for the enhanced adoption of advanced treatment technologies and closer alignment with global environmental benchmarks.
The extraction of crude palm oil (CPO) from fresh fruit bunches (FFB) generates substantial volumes of POME, a high-strength wastewater characterized by elevated levels of organic matter and suspended solids. POME exhibits a high biochemical oxygen demand (BOD) and chemical oxygen demand (COD), both of which pose significant environmental risks. When discharged untreated, POME significantly reduces the water quality and contributes to environmental degradation, including water pollution and the emission of malodorous gases due to microbial decomposition processes [2].
Traditional pond-based POME treatment systems emit methane (CH4) and carbon dioxide (CO2) during their 45–60-day treatment cycle [1]. These emissions constitute over 90% of the greenhouse gas (GHG) emissions from such systems [2]. Factors such as the harvest season, mill operational methods, organic matter content, and treatment system efficiency significantly influence methane emissions. Despite the high potential for biogas energy recovery, only 5% of POMs currently implement biogas capture systems [3]. This highlights the urgent need to adopt biogas recovery technologies to mitigate GHG emissions and improve the environmental sustainability of POME treatment systems.
The complexity of advanced POME treatment technologies introduces operational challenges compared to conventional pond-based systems [4]. Emerging technologies, such as thermophilic continuous stirred tank reactors (CSTR) and mesophilic microbial electrolysis cells (MECs), have demonstrated promise in improving the treatment efficiency. Co-digestion processes, including oxidation by hydrogen peroxide (OHP), have been shown to enhance the renewable biogas yields [5,6]. Estimates indicate that processing one ton of FFB can produce approximately 20 m3 of biogas, while treating one ton of POME can yield around 28 m3 of biogas [7]. Additionally, one kilogram of COD in POME corresponds to 0.238 kg of CH4 emissions, with the reported values ranging between 6.54 and 6.67 kg of CH4 and 137–163 kg of CO2e per ton of FFB processed [8]. As POME is anticipated to remain a vital potential renewable energy source, the environmental impacts across various stages of the POME conversion process cannot be overlooked [9].
Optimization modeling has proven instrumental in designing, planning, and optimizing biomass conversion processes. For instance, Abdel-Aal [10] developed a mixed-integer linear programming (MILP) model to optimize the profitability of oil palm biomass while supporting renewable electricity production. This model facilitated strategic decision-making regarding power plant operations, biomass procurement, storage, and transportation. Similarly, Tey et al. [11] demonstrated the integration of sustainability pillars in biomass conversion through a mathematical optimization model that identified optimal product portfolios derived from palm-based empty fruit bunches (EFB). Additionally, Foong et al. [12] proposed integrating biogas and wastewater treatment systems to enhance the sustainability and economic performance of POMs. Their system exported an average of 1.9 MW of electricity, contributing to energy self-sufficiency and potential grid support. Simulation studies of covered lagoon systems for POME treatment by Chan et al. [13]. further highlighted the economic viability of producing 29 m3 of biogas per ton of treated POME, with COD removal efficiency of 92%.
Despite these advancements, the comparative evaluation of POME treatment systems, particularly regarding environmental impact minimization, remains insufficiently addressed. The technological landscape offers various POME treatment systems aimed at reducing the environmental impacts, making the selection of an optimal POME treatment system (PTS) a complex decision-making problem.
This study addresses this gap by presenting an optimization model to identify the optimal PTS to minimize the environmental impacts, including the BOD, COD, and CO2 emissions. Specifically, this study evaluates the environmental performance and methane production potential of three PTS technologies: anaerobic digester tank (ADT) systems, covered lagoon (CL) systems, and open pond (OP) systems. The proposed optimization approach seeks to reconcile environmental objectives with practical solutions for the reduction of POME-related emissions, offering critical insights for policymakers and industry stakeholders [14].
2. Materials and Methods
The research methodology followed a systematic and sequential approach. It began with the identification and definition of the problem, specifically concerning the treatment system for palm oil mill effluent (POME). The key challenges in determining the optimal POME treatment system were related to the environmental impacts, including the biological oxygen demand (BOD), chemical oxygen demand (COD), and CO2 emissions. This phase also highlighted the operational difficulties associated with POME management in palm oil mills (POMs).
The second step involved constructing a comprehensive superstructure diagram to represent the problem in its entirety. This diagram was then simplified for clarity and ease of use. Subsequently, a model, referred to as the Green Mode Model, was formulated and developed to address the identified issues. Next, a case study was selected, focusing on two palm oil mills: the Barema Palm Oil Mill, which utilizes the anaerobic digestion tank (ADT) and pond system, and the Kumbango Oil Mill, which employs the covered lagoon system. In this context, specific constraints and assumptions were applied, with particular attention to the hourly processing capacities of the mills in terms of processed palm kernel oil and POME. Data necessary for model development were gathered from case studies, research articles, and relevant authorities.
The developed model was subsequently coded into the optimization software GAMS, version 40.1.0. The optimization of the POME treatment systems was carried out within this software, which was programmed using the defined mathematical models and the associated data. A sensitivity analysis was performed to evaluate the impact of variations in the input parameters on the model’s objectives. Finally, the model’s outputs were compared across all treatment systems, with a particular focus on assessing the environmental performance.
2.1. Superstructure Diagram Generation
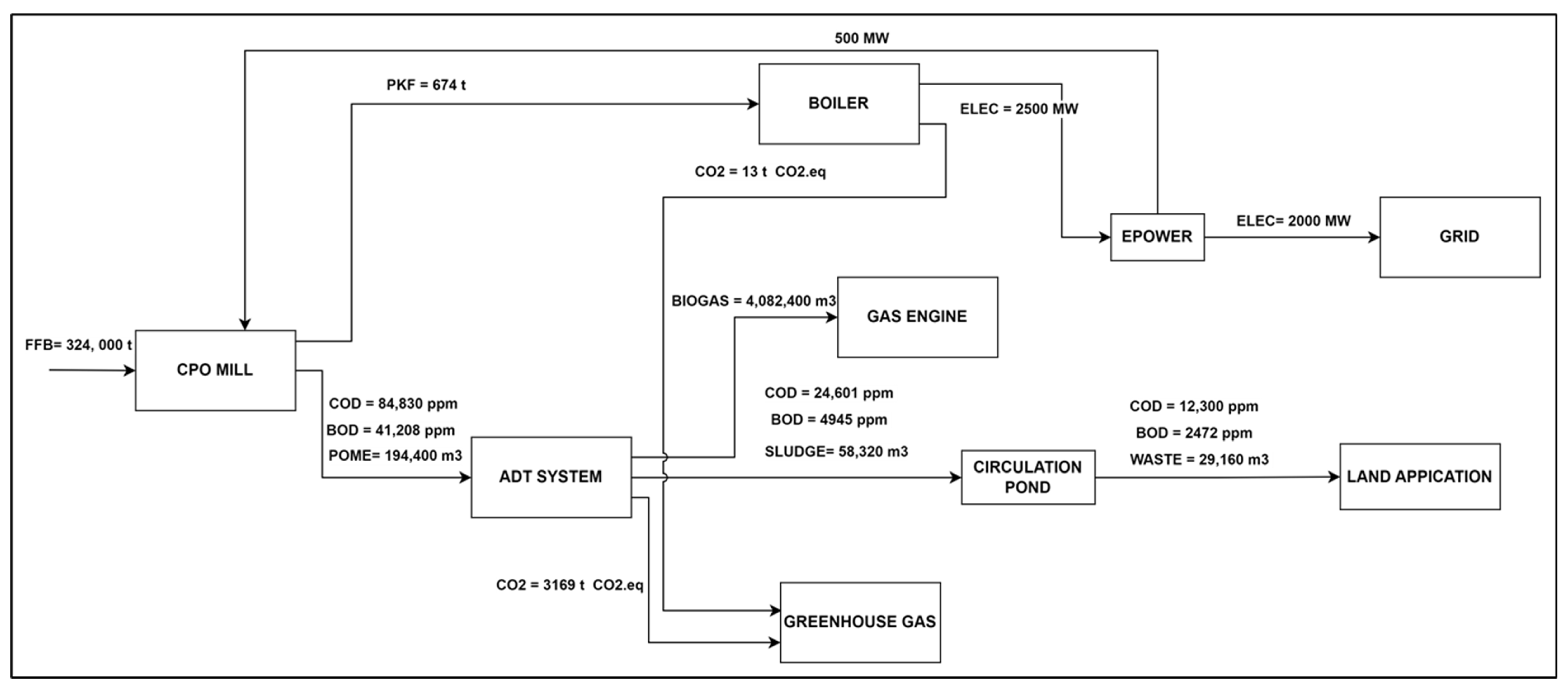
The process commences with the processing of fresh fruit bunches (FFB) at the palm oil mill, categorized under set-m. This stage produces palm oil mill effluent (POME), palm kernel shells (PKS), and palm kernel fiber (PKF). The POME is directed to the POME treatment system (set-p), where it is utilized as feedstock for biogas production. Concurrently, PKS and PKF are transferred to the boiler (set-n) for use as boiler feedstock. The electricity generated from both biogas production and the boiler is recorded under set-j, with the potential for sale to the grid. Additionally, the resultant digestate can be applied as a fertilizer to land, as represented in set-s. The system’s impact on CO2-equivalent emissions (CO2e) is evaluated under set-a. By structuring the process in this manner, the comprehensive analysis and optimization of each component within the POME treatment and by-product utilization system is facilitated, ensuring both economic efficiency and environmental sustainability. The superstructure diagram developed for this system is presented in Figure 1.
Figure 1.
The superstructure diagram of the PTS optimization model.
2.2. Model Formulation
The objective of the model is to minimize the total CO2e emissions within the palm oil mill effluent (POME) treatment system. The variable CO2 represents the CO2e emissions both from the POME treatment processes and from the boiler, as formulated in Equation (1). In contrast, Equations (2) and (3) are used to monitor the biochemical oxygen demand (BOD) and chemical oxygen demand (COD) levels for each treatment system.
Equations (4)–(12) encompass the material conversion and material balance aspects, with a specific focus on the transformation of fresh fruit bunches (FFB) into various components of oil palm biomass. This comprehensive formulation captures the conversion processes at palm oil mills (POMs) and treatment facilities, considering the generation of palm oil mill effluent (POME), shell, and fiber. These equations provide a structured framework representing the complex relationships and transformations inherent in the FFB conversion process, offering a systematic approach to modeling and analyzing the material balance within the oil palm biomass conversion process.
The set of formulations in Equations (13)–(19) is specifically designed to model material conversion and balance, focusing on the transformation of POME into biogas, liquid fertilizer, and waste within the POME treatment facility. These equations comprehensively capture the complex processes involved in converting POME, offering a systematic representation of the material balance at each stage of the conversion process. This formulation is essential in modeling and analyzing the efficient utilization of POME resources, thereby facilitating the optimization of the treatment process for the generation of biogas and liquid fertilizer and effective waste management.
2.3. Case Study and Data Set
A case study was conducted involving the Barema Palm Oil Mill, which utilizes an anaerobic digestion tank (ADT) and pond system, and the Kumbango Oil Mill, which employs the covered lagoon system. In this context, the constraints and assumptions identified were applied, with a particular emphasis on the hourly processing capacity of the palm oil mills, specifically in terms of the processed palm kernel oil and palm oil mill effluent (POME). The data required for the model were gathered from case studies, relevant research articles, and pertinent authorities (Table 1 and Table 2).
Table 1.
Economic parameters of POME treatment system (case study).
Table 2.
Environmental parameters of POME treatment system (case study).
2.4. Optimization Tools
For this study, the General Algebraic Modeling System (GAMS) software, version 40.1.0, was utilized as the optimization tool. This choice was justified given that the primary objective of the research was to address the challenges faced by palm oil mills (POMs) through an optimization model. One of GAMS’ strengths lies in its ability to integrate relational database theory with mathematical programming, offering a distinct advantage for strategic modeling. Optimization, under specific conditions, involves maximizing or minimizing a given function, known as the objective function, subject to certain constraints.
Furthermore, GAMS is a highly regulated and advanced modeling system that includes a compiler supporting multiple languages, as well as a comprehensive set of high-performance solvers. A critical challenge in this context is providing a precise description of the technologies and system boundaries. Given the large number of variables that the system can model, and the fact that linear modeling necessitates a balance between model detail and computational efficiency, finding this equilibrium is essential.
The implementation of optimization models, such as the mixed-integer linear programming (MILP) model for palm oil mill effluent (POME) treatment system selection, often encounters computational challenges due to the inherent complexity and scale of the problem. Effectively addressing these challenges within the GAMS environment requires the adoption of specific strategies to enhance the computational efficiency. One such strategy is model reformulation, which aims to reduce the computational burden and improve the solver performance. A key step in this process involves simplifying the model structure by removing redundant variables and constraints. GAMS provides diagnostic tools, such as “modelStat” and “solveStat”, to identify unnecessary complexities, facilitating model refinement.
Additionally, GAMS incorporates pre-processing techniques that automatically eliminate redundant constraints and fix variables when tight bounds are identified, thus streamlining the problem prior to solving. Tightening variable bounds is another critical reformulation strategy. By explicitly specifying narrower upper and lower bounds, the solver operates within a more restricted feasible region, leading to a significant reduction in computational time. Decomposition methods, such as Benders decomposition, can also be implemented through GAMS’ scripting capabilities. These methods divide the original problem into a master problem and sub-problems, solving them iteratively to better manage the complexity. Collectively, these strategies optimize the computational efficiency of MILP models in GAMS, ensuring their applicability to real-world decision-making scenarios.
3. Results and Discussion
The Green Mode Model has been implemented in code using GAMS, with the primary objective of minimizing the environmental parameters, including the BOD, COD, and CO2e emissions, within the palm oil mill effluent (POME) treatment system. This resource provides a comprehensive examination of the model’s coding structure, thereby facilitating its application and execution. The overarching goal is to minimize the environmental impact of the treatment system. The output of the Green Mode Model generated using GAMS is presented in Appendix A.
3.1. Optimal Material and Energy Flow
The analysis of the environmental parameters, particularly the biochemical oxygen demand (BOD) values after the treatment of palm oil mill effluent (POME), reveals significant outcomes. As depicted in Figure 2, the model identifies the anaerobic digestion treatment (ADT) system as the most effective in minimizing BOD-related environmental impacts. Specifically, the ADT system achieves an 88% reduction in the BOD, lowering the value from 41,208 mg/L to 4945 mg/L. Furthermore, an additional 50% reduction in the BOD is observed through the anaerobic pond system, reducing the value from 4945 mg/L to 2472 mg/L.
Figure 2.
Minimizing BOD: optimal material and utility flow in the POME treatment system.
Similarly, the model designates the ADT treatment system as optimal in minimizing the chemical oxygen demand (COD). The ADT system demonstrates an 85% reduction in the COD, from an initial concentration of 84,830 mg/L to 12,725 mg/L, as shown in Figure 3. After treatment with the anaerobic pond system, the final COD concentration reaches approximately 6362 mg/L. These results align with findings in the literature, which report that ADT treatment systems can reduce the COD by up to 91% [15]. The optimal treatment flows for both the BOD and COD parameters are consistent, with the ADT system emerging as the most cost-effective POME treatment option. With an annual fresh fruit bunch (FFB) production volume of 324,000 metric tons, the POME generated amounts of up to 194,400 m3, yielding an estimated 4,082,400 m3 of biogas. This biogas can potentially generate 9349 megawatt-hours (MWh) of electricity, contributing an annual profit of approximately USD 9,769,439.
Figure 3.
Minimizing COD: optimal material and utility flow in the POME treatment system.
Another critical environmental parameter addressed is the CO2-equivalent (CO2e) emissions. The model suggests that the ADT system achieves a significant reduction in CO2e emissions, with a minimum emission value of 3034 tons of CO2e per year. The majority of the CO2e emissions are attributed to the selected ADT system, while emissions from the boiler account for less than 1%, as shown in Figure 4. Compared to earlier scenarios involving BOD and COD reduction, the CO2e emissions are reduced by approximately 35 times, from 104,469 tons of CO2e to 3034 tons of CO2e. This reduction is attributed to the model’s recommendation to decrease electricity production from the boiler in favor of reducing CO2e emissions. In comparison, other studies have reported that up-flow anaerobic sludge blanket systems contribute to the production of 4.76 million tons of CO2e emissions, a higher emission level than that of the integrated anaerobic–aerobic bioreactor system [16].
Figure 4.
Minimizing CO2e: optimal material and utility flow in the POME treatment system.
3.2. Economic Parameters
The model has identified the ADT system as the optimal treatment solution to minimize the BOD, COD, and CO2e emissions, highlighting its significant environmental advantages. The system demonstrates strong economic performance in reducing the BOD and COD, generating an annual profit of USD 9,769,439. This profitability persists even with the model’s emphasis on reducing the BOD and COD values, demonstrating the system’s ability to effectively balance both environmental and economic objectives. The total annual sales amount to approximately USD 12,399,439, with capital costs constituting only 18.55% of the total sales. This reflects the cost-effectiveness and high profitability of the treatment system, as indicated by a return on investment (ROI) of 109% and a payback period of less than one year in both the BOD and COD minimization scenarios (Table 3).
Table 3.
Optimal economic parameters.
The system’s economic viability is further supported by biogas production from palm oil mill effluent (POME), consistent with previous research [13], which observed similar trends. Biogas generation not only offsets the operating costs but also enhances the revenue streams, offering long-term benefits in sustainable waste management. However, the scenario focusing on minimizing the CO2e emissions reveals a trade-off between environmental goals and economic performance. In this scenario, the model optimally reduces the electricity production to lower the CO2e emissions, leading to an annual loss of USD 2,569,820. Although this scenario results in a substantial reduction in the CO2e emissions to 3173.86 t CO2e, this comes at the cost of profitability, reflected by a negative ROI (−29%) and an impractical payback period of −3.50 years. Similar results were found by [17], where an improved target value was achieved, but at the expense of a 40% reduction in profit margins.
The reduction in profit in the CO2e minimization scenario highlights the necessity of adopting a balanced approach that integrates both environmental and economic considerations. Achieving such a balance may involve optimizing the operational strategies, such as utilizing carbon credits or implementing policies that provide financial incentives for low-emission technologies. Furthermore, the long-term benefits of reduced CO2e emissions should not be overlooked, as they contribute to improved environmental sustainability and potentially lower regulatory costs in the future.
Overall, the analysis emphasizes the inherent trade-offs in pursuing both environmental and economic objectives. While the ADT system excels in minimizing the BOD and COD while maintaining profitability, the CO2e minimization scenario underscores the critical need for integrated strategies to simultaneously protect the environment and ensure economic sustainability. Future studies should focus on multi-objective optimization to achieve a more balanced outcome between emissions reduction and long-term profitability [18].
3.3. Sensitivity Analysis of BOD Ratio
Figure 5 illustrates the results of a sensitivity analysis conducted on the biochemical oxygen demand (BOD) ratio, specifically highlighting the percentage changes in the total BOD across three distinct categories: POND, CL, and ADT. The analysis accounts for variations in the BOD values under six different scenarios: +30%, +20%, +10%, −10%, −20%, and −30%. From the data, it is evident that changes in the total BOD exert differential impacts across the three categories. The POND category exhibits the most significant positive sensitivity to increases in the BOD, with a substantial rise observed at the +30% level, followed by incremental but pronounced responses at +20% and +10%. This trend suggests that POND is highly responsive to increases in the BOD, indicating its potential as a primary area of focus for interventions aimed at optimizing BOD management.
Figure 5.
Sensitivity analysis of the BOD ratio.
Conversely, the ADT category demonstrates a stronger negative response to decreases in the total BOD, particularly at −30%, followed by −20%. This trend underscores the vulnerability of ADT to reductions in the BOD levels, suggesting that careful monitoring and management are required to mitigate adverse impacts. Additionally, the CL category appears to exhibit relatively stable responses across the BOD variation spectrum, with moderate deviations observed under both the positive and negative scenarios. This stability indicates that CL may have a more balanced sensitivity profile compared to POND and ADT.
In summary, the sensitivity analysis highlights the differential impacts of BOD variations on the three categories. The POND category’s significant positive sensitivity and the ADT category’s pronounced negative sensitivity underscore the need for tailored strategies in BOD management to address the unique characteristics of each category effectively.
3.4. Sensitivity Analysis of COD Ratio
Figure 6 presents a sensitivity analysis of the chemical oxygen demand (COD) ratio, highlighting percentage changes in the total COD across three categories: POND, CL, and ADT. The analysis examines six scenarios of variation, including increases (+10%, +20%, +30%) and decreases (−10%, −20%, −30%) in the total COD. The POND category demonstrates pronounced sensitivity to positive changes in the COD. Specifically, the largest increase in COD at +30% leads to the most significant positive response, followed by +20% and +10%. This trend indicates that POND has a strong positive correlation with increases in the COD levels, potentially reflecting its reliance on higher COD concentrations for optimal performance.
Figure 6.
Sensitivity analysis of the COD ratio.
The ADT category, in contrast, shows a marked negative response to reductions in COD, particularly at −30% and −20%. These results suggest that the ADT category is highly sensitive to COD decreases, which could adversely impact its operational efficiency or effectiveness. This highlights the necessity of maintaining sufficient COD levels to avoid compromising the ADT’s performance. The CL category appears to exhibit more moderate responses across all levels of COD variation. While there are observable changes in response to both positive and negative variations, the magnitude of these changes is less pronounced compared to the other two categories. This relative stability may indicate a balanced dependency on the COD, making CL less susceptible to fluctuations in the COD levels.
Overall, the sensitivity analysis underscores the differential impacts of COD variations on the three categories. The POND category’s strong positive sensitivity to COD increases and the ADT category’s vulnerability to COD reductions emphasize the need for category-specific COD management strategies. Furthermore, the relatively stable response of the CL category suggests its potential as a more robust system under varying COD conditions.
3.5. Sensitivity Analysis of CO2e
Figure 7 depicts the sensitivity analysis of the CO2-equivalent (CO2e) ratio, presenting the percentage changes in the total CO2e across three categories: POND, CL, and ADT. The analysis evaluates six scenarios of variation: +30%, +20%, +10%, −10%, −20%, and −30%. The POND category demonstrates a significant positive sensitivity to increases in CO2e, with the largest response observed at +30%, followed by +20% and +10%. This pattern indicates that POND has a strong dependency on higher CO2e levels, potentially reflecting its role in carbon-intensive processes or systems.
Figure 7.
Sensitivity analysis of the CO2e ratio.
In contrast, the ADT category exhibits the most substantial negative response to reductions in the CO2e levels, particularly at −30% and −20%. These findings suggest that ADT is highly susceptible to decreases in CO2e, emphasizing the need to maintain adequate CO2e levels to prevent adverse impacts on its efficiency or effectiveness. The CL category, however, shows relatively moderate changes across the entire spectrum of CO2e variations. While it displays a positive response to increases and a negative response to reductions, the magnitude of these changes is less pronounced compared to POND and ADT. This trend indicates that CL may be less sensitive to fluctuations in CO2e, highlighting its potential resilience under varying carbon conditions.
Overall, the sensitivity analysis underscores the differing impacts of CO2e variations across the three categories. The strong positive sensitivity of POND to CO2e increases and the pronounced vulnerability of ADT to CO2e reductions call for category-specific strategies to manage CO2e effectively. The relatively stable response of CL suggests its suitability for applications where carbon fluctuations are expected.
4. Conclusions
This study successfully implemented the Green Mode Model using GAMS to minimize key environmental parameters—the BOD, COD, and CO2e emissions—within the palm oil mill effluent (POME) treatment system. The results highlight the ADT treatment system as the optimal solution, achieving substantial reductions in the BOD (88%), COD (85%), and CO2e emissions (35-fold reduction), demonstrating the system’s environmental efficiency. The analysis also underscores the economic viability of the ADT system, with an annual profit of USD 9,769,439 under BOD and COD minimization scenarios. Key economic metrics, including a return on investment (ROI) of 109% and a payback period of less than one year, further validate the cost-effectiveness of the selected system.
However, a significant trade-off was observed in the CO2e minimization scenario, where the emissions were drastically reduced to 3034 t CO2e annually at the expense of profitability. This scenario resulted in a financial loss of USD 2,569,820, with a negative ROI of −29% and an impractical payback period. This outcome highlights the challenge of balancing environmental and economic objectives, particularly when prioritizing CO2e emissions reduction. The findings emphasize the importance of integrated strategies to achieve sustainable outcomes. Leveraging financial mechanisms such as carbon credits and implementing policies to incentivize low-emission technologies could bridge the gap between environmental benefits and economic performance. Moreover, the long-term benefits of reducing CO2e emissions, such as compliance with environmental regulations and lower future costs, should be considered to create a more comprehensive assessment.
Overall, the ADT system demonstrates strong potential to address both environmental and economic goals, particularly for BOD and COD reduction. Nevertheless, achieving sustainability in CO2e emission reduction requires a multi-objective optimization approach. Future research should explore advanced strategies that align emissions reduction with long-term profitability, ensuring a balanced and sustainable outcome for POME treatment systems.
5. Recommendations and Future Study
The findings of this study highlight the effectiveness of the ADT treatment system in minimizing the BOD, COD, and CO2e emissions while maintaining economic viability. However, the significant trade-off observed in the CO2e minimization scenario underscores the necessity of integrated strategies that balance environmental and economic objectives.
To enhance the feasibility of CO2e reduction, policymakers and industry stakeholders should consider financial mechanisms such as carbon credits, green financing, and governmental incentives to mitigate the economic losses associated with low-emission technologies. Additionally, incorporating circular economy principles—such as energy recovery from biogas generated during anaerobic digestion—could further improve the economic returns while reducing the environmental impact.
Future research should focus on the development of multi-objective optimization models that integrate both economic and environmental sustainability. The inclusion of life cycle assessment (LCA), techno-economic analysis, and real-time decision support systems would enable a more comprehensive evaluation of sustainability trade-offs. Beyond optimization modeling, future studies should assess the long-term regulatory and environmental implications of CO2e reduction strategies. Investigating the impact of evolving carbon pricing mechanisms and stricter environmental policies on the economic feasibility of POME treatment technologies will be crucial for industry adaptation.
Overall, future studies should aim to refine the Green Mode Model by incorporating broader sustainability considerations, ensuring that POME treatment systems remain both ecologically responsible and economically viable in the long term.
Author Contributions
Methodology, A.S.; formal analysis, T.I.M.G.; data curation, G.N.; writing—original draft, S.P.; writing—review and editing, H.C.M.; visualization, M.F.S. All authors have read and agreed to the published version of the manuscript.
Funding
This research received no external funding.
Data Availability Statement
Data is contained within the article.
Conflicts of Interest
Authors Sivakumar Pallikodathan and Gunasilan Nagarajoo were employed by the Engineering Department Hargy Oil Palms Ltd. The remaining authors declare that the research was conducted in the absence of any commercial or financial relationships that could be construed as a potential conflict of interest.
Abbreviations
| Indices | Description |
| Index for primary process | |
| Index for POME treatment system | |
| Index for secondary process | |
| Index for electricity power generation | |
| Index for product/by-product application | |
| Index for CO2eq emission | |
| Capital cost at treatment system p per year in USD/yr | |
| Biogas generation scale at p to n | |
| Fertilizer generation scalar at p to s | |
| Waste generation scalar at n to s | |
| Electricity price for internal usage in USD/kWh | |
| Electricity price for external usage in USD/kWh | |
| Amount of fresh fruit bunches at m in tons/yr | |
| Maintenance cost for treatment system p per year in USD/yr | |
| Fiber conversion ratio at m | |
| Shell conversion ratio at m | |
| POME conversion ratio at m | |
| Amount of biogas generated from p to n in m3/yr | |
| Amount of biogas generated for gas in m3/yr | |
| Total annual capital cost in USD/yr | |
| Amount of annual CO2 equivalents | |
| Amount of electricity generated in boiler in kWh/yr | |
| Amount of electricity transferred from j to s in kWh/yr | |
| Amount of electricity transferred from j to m in kWh/yr | |
| Amount of fiber generated at m | |
| Amount of fiber available at n | |
| Amount of fiber transferred from m to n in tons/year | |
| Amount of liquid fertilizer transferred from pond land in ton/yr | |
| Amount of POME generated at m in ton/yr | |
| Total annual maintenance cost in USD/yr | |
| Amount of POME at p in ton/yr | |
| Amount of POME at p in ton/yr | |
| Amount of annual profit in USD/yr | |
| Amount of annual sales from electricity generation in USD/yr | |
| Amount of shell produced at m in ton/yr | |
| Amount of shell at n in ton/yr | |
| Amount of shell transferred from m to n in ton/yr | |
| Amount of digestate transferred from p to n in ton/yr | |
| Amount of digestate at n in ton/yr | |
| Selection of POME treatment system |
Appendix A
GAMS 40.1.0 93c2a77b 1 August 2022 WEX-WEI ×86 64bit/MS Windows—22 January 2025 09:01:21 Page 5
General Algebraic Modeling System
Model Statistics SOLVE power Using MIP From line 522
MODEL STATISTICS
BLOCKS OF EQUATIONS 44 SINGLE EQUATIONS 104
BLOCKS OF VARIABLES 40 SINGLE VARIABLES 103
NON ZERO ELEMENTS 211 DISCRETE VARIABLES 3
GENERATION TIME = 0.109 SECONDS 4 MB 40.1.0 93c2a77b WEX-WEI
GAMS 40.1.0 93c2a77b 1 August 2022 WEX-WEI ×86 64bit/MS Windows—22 January 2025 09:01:21 Page 6
General Algebraic Modeling System
Solution Report SOLVE power Using MIP From line 522
SOLVE SUMMARY
MODEL power OBJECTIVE CO2
TYPE MIP DIRECTION MINIMIZE
SOLVER CPLEX FROM LINE 522
**** SOLVER STATUS 1 Normal Completion
**** MODEL STATUS 1 Optimal
**** OBJECTIVE VALUE 3172.8600
RESOURCE USAGE, LIMIT 0.219, 10,000,000,000.000
ITERATION COUNT, LIMIT 0, 2,147,483,647
- -
- GAMS/Cplex Link licensed for continuous and discrete problems.
- -
- GMO setup time: 0.00s
- -
- GMO memory 0.52 Mb (peak 0.52 Mb)
- -
- Dictionary memory 0.00 Mb
- -
- Cplex 22.1.0.0 link memory 0.00 Mb (peak 0.01 Mb)
- -
- Starting Cplex
- -
- MIP status (101): integer optimal solution.
- -
- Cplex Time: 0.05 s (det. 0.14 ticks)
- -
- Fixing integer variables and solving final LP…
- -
- Fixed MIP status (1): optimal.
- -
- Cplex Time: 0.00 s (det. 0.08 ticks)
Proven optimal solution
MIP Solution: 3172.860000 (0 iterations, 0 nodes)
Final Solve: 3172.860000 (1 iterations)
Best possible: 3172.860000
Absolute gap: 0.000000
Relative gap: 0.000000
References
- Lokman, N.A.; Ithnin, A.M.; Yahya, W.J.; Yuzir, M.A. A brief review on biochemical oxygen demand (BOD) treatment methods for palm oil mill effluents (POME). Environ. Technol. Innov. 2020, 21, 101258. [Google Scholar] [CrossRef]
- Hosseini, S.E.; Wahid, M.A. Pollutant in palm oil production process. J. Air Waste Manag. Assoc. 2013, 65, 773–781. [Google Scholar] [CrossRef] [PubMed]
- Lam, W.Y.; Kulak, M.; Sim, S.; King, H.; Huijbregts, M.A.J.; Chaplin-Kramer, R. Greenhouse gas footprints of palm oil production in Indonesia over space and time. Sci. Total. Environ. 2019, 688, 827–837. [Google Scholar] [CrossRef] [PubMed]
- Ohimain, E.I.; Izah, S.C. A review of biogas production from palm oil mill effluents using different configurations of bioreactors. Renew. Sustain. Energy Rev. 2017, 70, 242–253. [Google Scholar] [CrossRef]
- Ayinla, R.T.; Dennis, J.O.; Zaid, H.M.; Sanusi, Y.K.; Usman, F.; Adebayo, L.L. A review of technical advances of recent palm bio-waste conversion to activated carbon for energy storage. J. Clean. Prod. 2019, 229, 1427–1442. [Google Scholar] [CrossRef]
- Krishnan, S.; Din, M.F.M.; Taib, S.M.; Nasrullah, M.; Sakinah, M.; Wahid, Z.A.; Kamyab, H.; Chelliapan, S.; Rezania, S.; Singh, L. Accelerated two-stage bioprocess for hydrogen and methane production from palm oil mill effluent using continuous stirred tank reactor and microbial electrolysis cell. J. Clean. Prod. 2019, 229, 84–93. [Google Scholar] [CrossRef]
- Alkusma, Y.M.; Hermawan, H.; Hadiyanto, H. Pengembangan Potensi Energi Alternatif Dengan Pemanfaatan Limbah Cair Kelapa Sawit Sebagai Sumber Energi Baru Terbarukan Di Kabupaten Kotawaringin Timur. J. Ilmu Lingkung. 2016, 14, 96–102. [Google Scholar] [CrossRef]
- Putro, L.H.S. Emissions of CH4 and CO2 from Wastewater of Palm Oil Mills: A Real Contribution to Increase the Greenhouse Gas and Its Potential as Renewable Energy Sources. Environ. Nat. Resour. J. 2021, 20, 61–72. [Google Scholar] [CrossRef]
- Gital, Y.; Bilgen, B. Biomass supply chain network design under uncertainty, risk and resilience: A systematic literature review. Comput. Ind. Eng. 2024, 193, 110270. [Google Scholar] [CrossRef]
- Abdel-Aal, M.A.M. Matheuristic approach and a mixed-integer linear programming model for biomass supply chain optimization with demand selection. Int. J. Ind. Eng. Comput. 2024, 15, 235–254. [Google Scholar] [CrossRef]
- Tey, T.O.; Chen, S.; Cheong, Z.X.; Choong, A.S.X.; Ng, L.Y.; Chemmangattuvalappil, N.G. Synthesis of a sustainable integrated biorefinery to produce value-added chemicals from palm-based biomass via mathematical optimisation. Sustain. Prod. Consum. 2020, 26, 288–315. [Google Scholar] [CrossRef]
- Foong, S.Z.Y.; Chong, M.F.; Ng, D.K.S. Strategies to Promote Biogas Generation and Utilisation from Palm Oil Mill Effluent. Process. Integr. Optim. Sustain. 2020, 5, 175–191. [Google Scholar] [CrossRef]
- Lok, X.; Chan, Y.J.; Foo, D.C.Y. Simulation and optimisation of full-scale palm oil mill effluent (POME) treatment plant with biogas production. J. Water Process. Eng. 2020, 38, 101558. [Google Scholar] [CrossRef]
- Kegl, T.; Jiménez, E.T.; Kegl, B.; Kralj, A.K.; Kegl, M. Modeling and optimization of anaerobic digestion technology: Current status and future outlook. Prog. Energy Combust. Sci. 2024, 106, 101199. [Google Scholar] [CrossRef]
- Sodri, A.; Septriana, F.E. Biogas Power Generation from Palm Oil Mill Effluent (POME): Techno-Economic and Environmental Impact Evaluation. Energies 2022, 15, 7265. [Google Scholar] [CrossRef]
- Ng, D.K.S.; Wong, S.L.X.; Andiappan, V.; Ng, L.Y. Mathematical optimisation for sustainable bio-methane (Bio-CH4) production from palm oil mill effluent (POME). Energy 2022, 265, 126211. [Google Scholar] [CrossRef]
- Zahraee, S.M.; Shiwakoti, N.; Stasinopoulos, P. Metaheuristic Optimization of the Agricultural Biomass Supply Chain: Integrating Strategic, Tactical, and Operational Planning. Energies 2024, 17, 4040. [Google Scholar] [CrossRef]
- Lee, M.K.; Hashim, H.; Lim, J.S.; Taib, M.R. Spatial planning and optimisation for virtual distribution of BioCNG derived from palm oil mill effluent to meet industrial energy demand. Renew. Energy 2019, 141, 526–540. [Google Scholar] [CrossRef]
Disclaimer/Publisher’s Note: The statements, opinions and data contained in all publications are solely those of the individual author(s) and contributor(s) and not of MDPI and/or the editor(s). MDPI and/or the editor(s) disclaim responsibility for any injury to people or property resulting from any ideas, methods, instructions or products referred to in the content. |
© 2025 by the authors. Licensee MDPI, Basel, Switzerland. This article is an open access article distributed under the terms and conditions of the Creative Commons Attribution (CC BY) license (https://creativecommons.org/licenses/by/4.0/).






