Comparison of Antioxidants to Increase the Oxidation Stability of Pyrolysis Oils of Three Plastics Using Iodine Value
Abstract
1. Introduction
2. Materials and Methods
2.1. Materials
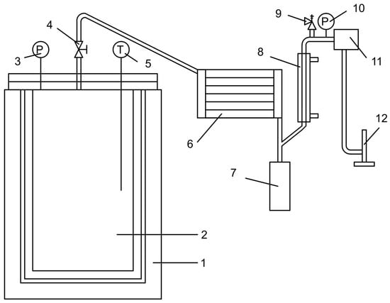
2.2. Procedure of the Pyrolysis
2.3. Distillation of the Pyrolysis Oil to Obtain the Hydrocarbon Fraction for Gasoline and Diesel
2.4. Production of the Mixtures
2.5. Physical Properties of the Pyrolysis Liquids
2.6. Determination of the Iodine Value
3. Results
3.1. Pyrolysis of the Plastic
3.2. Investigation of the Properties of the Pyrolysis Oils
3.3. Atmospheric Distillation of Pyrolysis Oils
3.4. Investigation of the Properties of Distillates
3.5. Investigation of Distillates with Additives
4. Conclusions
Author Contributions
Funding
Data Availability Statement
Conflicts of Interest
References
- Geyer, R.; Jambeck, J.R.; Law, K.L. Production, use, and fate of all plastics ever made. Sci. Adv. 2018, 3, 170–178. [Google Scholar] [CrossRef]
- Devasahayam, S.; Raju, G.B.; Hussain, C.M. Utilization and recycling of end of life plastics for sustainable and clean industrial processes including the iron and steel industry. Mater. Sci. Energy Technol. 2019, 2, 634–646. [Google Scholar] [CrossRef]
- Ritchie, H.; Roser, M. Plastic Pollution. Available online: https://ourworldindata.org/plastic-pollution#citation (accessed on 6 June 2023).
- Blair, C.; Quin, B. Chapter 3—Plastic production, waste and legislation. In Microplastic Pollutants; Elsevier: Amsterdam, The Netherlands, 2017; pp. 39–56. [Google Scholar] [CrossRef]
- Guo, J.; Gu, F.; Zhang, W.; Summers, P.A.; Hall, P. From waste plastics to industrial rawmaterials: A life cycle assessment of mechanical plastic recycling practice based on a real-world case study. Sci. Total Environ. 2017, 601–602, 1192–1207. [Google Scholar] [CrossRef] [PubMed]
- Plastics—The Facts 2018. Plastics Europe. Association of Plastics Manufacturers. Available online: https://www.plasticseurope.org/application/files/6315/4510/9658/Plastics_the_facts_2018_AF_web.pdf (accessed on 6 June 2023).
- European Commission, Directorate-General for Communication, Waste Framework Directive. Available online: https://environment.ec.europa.eu/topics/waste-and-recycling/waste-framework-directive_en (accessed on 6 June 2023).
- Budsaereechai, S.; Hunt, A.J.; Ngernyen, Y. Catalytic pyrolysis of plastic waste for the production of liquid fuels for engines. RSC Adv. 2019, 10, 5251–5869. [Google Scholar] [CrossRef] [PubMed]
- Sorunmu, Y.; Billen, P.; Spatari, S. A review of thermochemical upgrading of pyrolysis bio-oil: Techno-economic analysis, life cycle assessment, and technology readiness. GCB-Bioenergy 2020, 12, 4–18. [Google Scholar] [CrossRef]
- Silva, R.V.S.; Romeiro, G.A.; Veloso, M.C.C.; Figueiredo, M.K.-K.; Pinto, P.A.; Ferreira, A.F.; Gonçalves, M.L.A.; Teixeira, A.M.; Damasceno, R.N. Fractions composition study of the pyrolysis oil obtained from sewage sludge treatment plant. Bioresour. Technol. 2012, 103, 459–465. [Google Scholar] [CrossRef]
- Sharuddin, S.D.A.; Abnisa, F.; Wan Daud, W.M.A.; Aroua, M.K. A review on pyrolysis of plastic wastes. Energy Convers. Manag. 2016, 115, 308–326. [Google Scholar] [CrossRef]
- Miandad, R.; Khan, M.I.; Nizami, A.D.; Abdo, A.M.E. Influence of temperature and reaction time on the conversion of polystyrene waste to pyrolysis. Waste Manag. 2016, 58, 250–259. [Google Scholar] [CrossRef] [PubMed]
- Somsri, S. Upgrading of Pyrolysis Oil. Available online: https://kth.diva-portal.org/smash/get/diva2:1209346/FULLTEXT01.pdf (accessed on 6 June 2023).
- Diebold, J.P. A Review of the Chemical and Physical Mechanisms of the Storage Stability of Fast Pyrolysis Bio-Oils. Available online: https://www.nrel.gov/docs/fy00osti/27613.pdf (accessed on 6 June 2023).
- Hilten, R.N.; Das, K.C. Comparison of three accelerated aging procedures to assess bio-oil stability. Fuel 2010, 89, 2741–2749. [Google Scholar] [CrossRef]
- Shahabuddin, M.; Kalam, M.A.; Masjuki, H.H.; Bhuiya, M.M.K.; Mofijur, M. An experimental investigation into biodiesel stability by means of oxidation and property determination. Energy 2012, 44, 616–622. [Google Scholar] [CrossRef]
- Butnariu, M.; Grozea, I. Antioxidant (Antiradical) Compounds. J. Bioequiv. Bioavailab. 2012, 4, 17–19. [Google Scholar] [CrossRef]
- Varatharajana, K.; Pushparani, D.S. Screening of antioxidant additives for biodiesel fuels. Renew. Sustain. Energy Rev. 2018, 82, 2017–2028. [Google Scholar] [CrossRef]
- Shameer, P.M.; Ramesh, K. Influence of antioxidants on fuel stability of Calophyllum inophyllum biodiesel and RSM-based optimization of engine characteristics at varying injection timing and compression ratio. J. Braz. Soc. Mech. Sci. Eng. 2017, 39, 4251–4273. [Google Scholar] [CrossRef]
- Coulombier, N.; Jauffrais, T.; Lebouvier, N. Antioxidant Compounds from Microalgae: A Review. Mar. Drugs 2021, 19, 549. [Google Scholar] [CrossRef]
- Uebe, J.; Kryzevicius, Z.; Kuhan, A.; Torkelis, A.; Kosychova, L.; Zukauskaite, A. Improving of Pyrolysis Oil from Macroalgae Cladophora glomerata with HDPE Pyrolysis Oil. J. Mar. Sci. Eng. 2022, 10, 131. [Google Scholar] [CrossRef]
- Longanesi, L.; Pereira, A.P.; Johnston, N.; Chuck, C.J. Oxidative stability of biodiesel: Recent insights. Biofuels Bioprod. Biorefin. 2022, 16, 265–289. [Google Scholar] [CrossRef]
- Aricetti, J.; Maciel, A.; Lopes, O.; Tubino, M. A Simple Green Method for Biodiesel Iodine Number Determination. J. ASTM Int. 2010, 7, 7–8. [Google Scholar] [CrossRef]
- Aricetti, J.; Tubino, M. A green potentiometric method for the determination of the iodine number of biodiesel. Fuel 2013, 103, 1158–1163. [Google Scholar] [CrossRef]
- Tulashie, S.K.; Boadu, E.K.; Dapaah, S. Plastic waste to liquid oil through catalytic pyrolysis using natural and synthetic zeolite catalysts. Therm. Sci. Eng. Prog. 2019, 11, 417–424. [Google Scholar] [CrossRef]
- Miandad, R.; Barakat, M.A.; Rehan, M.; Aburiazaiza, A.S.; Ismail, I.M.I.; Nizami, A.S. Plastic waste to liquid oil through catalytic pyrolysis using natural and synthetic zeolite catalysts. Waste Manag. 2017, 69, 66–78. [Google Scholar] [CrossRef]
- Owusu, P.A.; Banadda, N.; Zziwa, A.; Seay, J.; Kiggundu, N. Reverse engineering of plastic waste into useful fuel products. J. Anal. Appl. Phys. 2018, 1330, 285–293. [Google Scholar] [CrossRef]
- Anouti, S.; Haarlemmer, G.; Deniel, M.; Roubaud, A. Analysis of Physicochemical Properties of Bio-Oil from Hydrothermal Liquefaction of Blackcurrant Pomace. Energy Fuels 2016, 30, 398–406. [Google Scholar] [CrossRef]
- Gopinath, A.; Puhan, S.; Nagarajan, G. Theoretical modeling of iodine value and saponification value of biodiesel fuels from their fatty acid composition. Renew. Energy 2009, 34, 1806–1811. [Google Scholar] [CrossRef]
- Uebe, J.; Zukauskaite, A.; Kryzevicius, Z.; Vanagiene, G. Use of 2-Ethylhexyl Nitrate for the Slow Pyrolysis of Plastic Waste. Processes 2022, 10, 1418. [Google Scholar] [CrossRef]
- Shimamoto, G.G.; Favaro, M.M.A.; Tubino, M. Simple Methods via Mid-IR or 1H NMR Spectroscopy for the Determination of the Iodine Value of Vegetable Oils. J. Braz. Chem. Soc. 2015, 26, 1431–1437. [Google Scholar] [CrossRef]
- Bezergianni, S.; Dimitriadis, A.; Faussone, G.-C.; Karonis, D. Alternative Diesel from Waste Plastics. Energies 2017, 10, 1750. [Google Scholar] [CrossRef]
- Uebe, J.; Kryževičius, Ž.; Majauskienė, R.; Dulvičius, M.; Kosychova, L.; Žukauskaitė, A. Use of polypropylene pyrolysis oil in alternative fuel production. Waste Manag. Res. 2022, 40, 1220–1230. [Google Scholar] [CrossRef]
- Zhao, Z.; Jiang, Z.; Xu, H.; Yan, K. Selective Production of Phenol-Rich Bio-Oil from Corn Straw Waste by Direct Microwave Pyrolysis without Extra Catalyst. Front. Chem. 2021, 9, 700887. [Google Scholar] [CrossRef]
- Xu, W.; Ding, K.; Hu, L. A Mini Review on Pyrolysis of Natural Algae for Bio-Fuel and Chemicals. Processes 2021, 9, 2042. [Google Scholar] [CrossRef]
- Norouzi, O.; Jafarian, S.; Safari, F.; Tavasoli, A.; Nejati, B. Promotion of hydrogen-rich gas and phenolic-rich bio-oil production from green macroalgae Cladophora glomerata via pyrolysis over its bio-char. Bioresour. Technol. 2016, 219, 643–651. [Google Scholar] [CrossRef]
- Uğuz, G.; Atabani, A.E.; Mohammed, M.N.; Shobana, S.; Uğuz, S.; Kumar, G.; Al-Muhtaseb, A.H. Fuel stability of biodiesel from waste cooking oil: A comparative evaluation with various antioxidants using FT-IR and DSC techniques. Biocatal. Agric. Biotechnol. 2019, 21, 101283. [Google Scholar] [CrossRef]
- Hunter, W.H.; Budrow, T.T. The Iodination of Phenol under Anhydrous Conditions. J. Am. Chem. Soc. 1933, 55, 2122–2125. [Google Scholar] [CrossRef]
- Devlin, H.R.; Harris, I.J. Mechanism of the oxidation of aqueous phenol with dissolved oxygen. Ind. Eng. Chem. Fundam. 1984, 23, 387–392. [Google Scholar] [CrossRef]
- Thonglhueng, N.; Sirisangsawang, R.; Sukpancharoen, S.; Phetyim, N. Optimization of iodine number of carbon black obtained from waste tire pyrolysis plant via response surface methodology. Heylion 2022, 8, e11971. [Google Scholar] [CrossRef]
- Läubli, M.W.; Bruttel, P.A. Determination of the Oxidative Stability of Fats and Oils: Comparison between the Active Oxygen Method (AOCS Cd 12-57) and the Rancimat Method. J. Am. Oil Chem. Soc. 1986, 63, 792–795. [Google Scholar] [CrossRef]







| Macroalgae Pyrolysis Oil | |
|---|---|
| Density (kg m–3) | 992 ± 1 |
| Viscosity (mm2 s−1) | 0.984 ± 0.001 |
| Calorific value (MJ kg−1) | 23.5 ± 0.6 |
| Water content (%) | 18 ± 0.5 |
| Ash content (%) | 6.1386 ± 0.2688 |
| No. | Type of Plastic | Oil Yield, % | Solid Residue Yield, % | Gas Yield, % |
|---|---|---|---|---|
| 1. | HDPE | 90.0 ± 0.72 | 0.2 ± 0.02 | 9.8 ± 0.72 |
| 2. | PP | 88.6 ± 1.41 | 0.6 ± 0.15 | 10.8 ± 1.40 |
| 3. | PS | 81.6 ± 1.14 | 10.0 ± 0.48 | 8.5 ± 0.66 |
| HDPE | PP | PS | |
|---|---|---|---|
| Density, kg/m3 | 829 ± 1.0 | 773 ± 2.0 | 928 ± 1.7 |
| Kinematic viscosity, mm2/s | - | 2.216 ± 0.03537 | 1.454 ± 0.05828 |
| Iodine number, g/100 g sample | 70 ± 1.0 | 41 ± 0.8 | 77 ± 0.7 |
| Ash content, % | 0.019 ± 0.0003 | 0.017 ± 0.0003 | 0.019 ± 0.0002 |
| Pour point, °C | 35 ± 0.6 | –10 ± 0.0 | - |
| HDPE | PP | PS | |
|---|---|---|---|
| Oxidation stability, min | 6.09 ± 0.113 | 9.45 ±0.187 | 8.18 ± 0.095 |
| Calorific value, MJ/kg | 46.99 ± 0.392 | 45.84 ± 0.148 | 42.41 ± 0.145 |
| Flash point, °C | 48.2 ± 0.56 | 51.2 ± 0.40 | 37.2 ± 0.36 |
| HDPE | PP | PS | ||||
|---|---|---|---|---|---|---|
| Gasoline | Diesel | Gasoline | Diesel | Gasoline | Diesel | |
| Density, kg m−3 | 753 ± 1.0 | 791 ± 1.7 | 723 ± 1.0 | 794 ± 1.7 | 902 ± 1.0 | 943 ± 1.0 |
| Kinematic viscosity (40 °C), mm2 s−1 | 0.962 ± 0.0098 | 2.745 ± 0.0575 | 0.573 ± 0.0161 | 4.183 ± 0.0210 | 0.713 ± 0.0271 | 2.139 ± 0.0694 |
| Oxidation stability, min | 4.18 ± 0.072 | 16.47 ± 0.185 | 8.53 ± 0.070 | 23.5 ± 0.361 | 2.5 ± 0.046 | 11.23 ± 0.080 |
| Calorific value, MJ/kg | 46.39 ± 0.062 | 46.32 ± 0.021 | 45.60 ± 0.202 | 45.53 ± 0.139 | 42.27 ± 0.061 | 42.26 ± 0.075 |
| Flash point, °C | 44.2 ± 0.52 | 51.1 ± 0.26 | 49.6 ± 0.50 | 55.8 ± 0.36 | 28.2 ± 0.35 | 34.2 ± 0.26 |
| Iodine number, g/100 g samples | 74.0 ± 0.46 | 54.0 ± 0.56 | 57.0 ± 0.46 | 33.5 ± 0.36 | 87.0 ± 0.26 | 64.0 ± 0.44 |
| Pour point, °C | –5 ± 0.0 | 6 ± 0.6 | –29 ± 0.0 | –25 ± 0.0 | – | – |
Disclaimer/Publisher’s Note: The statements, opinions and data contained in all publications are solely those of the individual author(s) and contributor(s) and not of MDPI and/or the editor(s). MDPI and/or the editor(s) disclaim responsibility for any injury to people or property resulting from any ideas, methods, instructions or products referred to in the content. |
© 2024 by the authors. Licensee MDPI, Basel, Switzerland. This article is an open access article distributed under the terms and conditions of the Creative Commons Attribution (CC BY) license (https://creativecommons.org/licenses/by/4.0/).
Share and Cite
Uebe, J.; Lekaviciute, E.; Kryzevicius, Z.; Zukauskaite, A. Comparison of Antioxidants to Increase the Oxidation Stability of Pyrolysis Oils of Three Plastics Using Iodine Value. Processes 2024, 12, 638. https://doi.org/10.3390/pr12040638
Uebe J, Lekaviciute E, Kryzevicius Z, Zukauskaite A. Comparison of Antioxidants to Increase the Oxidation Stability of Pyrolysis Oils of Three Plastics Using Iodine Value. Processes. 2024; 12(4):638. https://doi.org/10.3390/pr12040638
Chicago/Turabian StyleUebe, Jochen, Egle Lekaviciute, Zilvinas Kryzevicius, and Audrone Zukauskaite. 2024. "Comparison of Antioxidants to Increase the Oxidation Stability of Pyrolysis Oils of Three Plastics Using Iodine Value" Processes 12, no. 4: 638. https://doi.org/10.3390/pr12040638
APA StyleUebe, J., Lekaviciute, E., Kryzevicius, Z., & Zukauskaite, A. (2024). Comparison of Antioxidants to Increase the Oxidation Stability of Pyrolysis Oils of Three Plastics Using Iodine Value. Processes, 12(4), 638. https://doi.org/10.3390/pr12040638

