Abstract
This review systematically explores the application of machine learning (ML) models in the context of Intrusion Detection Systems (IDSs) for modern network security, particularly within 5G environments. The evaluation is based on the 5G-NIDD dataset, a richly labeled resource encompassing a broad range of network behaviors, from benign user traffic to various attack scenarios. This review examines multiple machine learning (ML) models, assessing their performance across critical metrics, including accuracy, precision, recall, F1-score, Receiver Operating Characteristic (ROC), Area Under the Curve (AUC), and execution time. Key findings indicate that the K-Nearest Neighbors (KNN) model excels in accuracy and ROC AUC, while the Voting Classifier achieves superior precision and F1-score. Other models, including decision tree (DT), Bagging, and Extra Trees, demonstrate strong recall, while AdaBoost shows underperformance across all metrics. Naive Bayes (NB) stands out for its computational efficiency despite moderate performance in other areas. As 5G technologies evolve, introducing more complex architectures, such as network slicing, increases the vulnerability to cyber threats, particularly Distributed Denial-of-Service (DDoS) attacks. This review also investigates the potential of deep learning (DL) and Deep Transfer Learning (DTL) models in enhancing the detection of such attacks. Advanced DL architectures, such as Bidirectional Long Short-Term Memory (BiLSTM), Convolutional Neural Networks (CNNs), Residual Networks (ResNet), and Inception, are evaluated, with a focus on the ability of DTL to leverage knowledge transfer from source datasets to improve detection accuracy on sparse 5G-NIDD data. The findings underscore the importance of large-scale labeled datasets and adaptive security mechanisms in addressing evolving threats. This review concludes by highlighting the significant role of ML and DTL approaches in strengthening network defense and fostering proactive, robust security solutions for future networks.
Keywords:
machine learning (ML); deep learning (DL); 5G communication; network intrusion detection systems (NIDSs); artificial intelligence (AI); Internet of Things (IoT); NIDS datasets; security threats MSC:
68R07; 68M25; 94A13
1. Introduction
The rapid proliferation of Internet of Things (IoT) devices and the expansion of broadband connectivity have fueled the evolution of 5G networks, enabling transformative applications such as augmented/virtual reality, smart factories, autonomous vehicles, and intelligent urban infrastructures [1]. These networks provide significant advancements in capacity, throughput, and latency that drive innovation across diverse industries, including healthcare and precision agriculture [2]. At the same time, emerging 6G networks are envisioned to support even more sophisticated, data-intensive applications by leveraging artificial intelligence (AI) and machine learning (ML) to transition from mere device connectivity to comprehensive, connected intelligence [3].
The increased complexity and dynamism of modern 5G networks, however, have introduced significant challenges in network security. Traditional Intrusion Detection Systems (IDSs) struggle to cope with the evolving threat landscape, largely due to the rapid growth in connected devices, exponential data traffic, and dynamic network architectures. These challenges are further compounded by the scarcity of labeled data tailored to 5G environments, making it difficult to develop highly accurate detection models. Consequently, the expanded threat surface necessitates the development of robust, proactive, and self-adaptive Network Intrusion Detection Systems (NIDSs) capable of identifying and classifying anomalous behaviors in real time [4].
Recent advances in deep learning (DL) and ML have shown promise in enhancing the efficiency and accuracy of IDS. While traditional ML methods—such as K-Nearest Neighbors (KNN), Naive Bayes (NB), and support vector machines (SVMs)—often depend heavily on manual feature engineering, time-series models and AI-driven approaches offer improved capabilities for real-time threat detection and mitigation [5]. The evolution toward 6G networks, with their extreme performance requirements and deeper integration of AI, further emphasizes the need for adaptive security mechanisms that can effectively utilize the vast data streams generated by modern networks to detect anomalous behaviors and vulnerabilities [6]. A critical challenge in the realm of network security is the detection of Distributed Denial-of-Service (DDoS) attacks. These attacks are particularly difficult to detect in 5G and Beyond-5G (B5G) networks due to dynamic network topologies and high traffic volumes. Although DL models have shown potential in recognizing complex attack patterns, their performance is often constrained by variations in data distribution across different networks. To address these challenges, Transfer Learning (TL) and, in particular, Deep Transfer Learning (DTL) have been employed to repurpose models trained in one domain for application in another, thereby enhancing performance while mitigating issues related to data scarcity and overfitting [7].
Another critical aspect of developing a reliable IDS is preventing data leakage during preprocessing—a phenomenon where external information inadvertently influences the training process, leading to misleading high-performance metrics [8]. This issue is exacerbated by the scarcity of up-to-date, comprehensive datasets that accurately reflect the complexities of real-world 5G network traffic. Publicly available datasets are often outdated or generated under controlled conditions, which limits their applicability for contemporary security research. Furthermore, privacy concerns and the risk of exposing vulnerabilities have led mobile network operators to withhold live network data, creating a significant barrier to AI-/ML-based security research.
The accuracy and reliability of ML-based IDSs are heavily influenced by the quality and diversity of the datasets employed for both training and performance assessment. An ideal dataset should capture a wide range of attack vectors, include diverse protocols, provide comprehensive traffic records, and offer meticulous labeling and metadata. Although datasets such as CICIDS2017 have advanced the field, a significant gap remains between the simulated environments used to generate these datasets and the dynamic conditions of operational 5G networks. To address this gap, the present review focuses on the 5G-NIDD dataset—an authentic dataset derived from a real-world 5G network implementation. This dataset, which comprises both benign and malicious traffic, has been used to evaluate the performance of 13 distinct machine learning (ML) algorithms, ranging from simple linear models, such as Logistic Regression (LR), to complex ensemble methods like random forest (RF), Gradient Boosting (GB), and Voting Classifiers [9].
This research addresses key questions regarding 5G network security and the evolving role of IDS. This study examines the major security hurdles faced in 5G systems and explains the capabilities of IDSs to address these threats. The evaluation reveals that existing IDS frameworks require improvements because their datasets do not perform reliably, necessitating more effective methods to enhance overall effectiveness. The research focuses on evaluating a combinatorial algorithm that operates in sequence to detect and analyze keyloggers, making this the primary area of investigation. This review finds that integrating a solid testbed architecture into a 5G Test Network (5GTN) enhances the precision of security evaluation more effectively than traditional testbeds or simulation testing methods. This review evaluates various machine learning (ML) models for intrusion detection, analyzing the 5G-NIDD dataset to assess their suitability in actual 5G system deployments. The research presents substantial information about three main obstacles: data leakage protection, the limited availability of network datasets, and the limitations of TL, which guide the future development of network security, AI, and ML techniques.
The contributions of this study include the following:
- ■
- This paper presents an in-depth examination of 5G network security challenges and the evolving role of IDSs in mitigating these threats. Existing IDS frameworks and datasets are critically evaluated to underscore the need for more reliable and representative data in developing effective NIDSs. The use of a back-to-back combinatorial algorithm for keylogger detection and analysis is also proposed.
- ■
- This paper introduces a robust testbed architecture integrated with the 5GTN platform. This architecture facilitates the generation of realistic datasets, enabling a more accurate assessment of security solutions compared to traditional testbed or simulation environments.
- ■
- It reviews the application of diverse ML models for intrusion detection using the 5G-NIDD dataset. The analysis highlights the strengths and limitations of each algorithm under the unique conditions of 5G networks, providing insights into their practical applicability for real-world intrusion detection.
- ■
- This study outlines critical challenges, including data leakage prevention, the scarcity of live network datasets, and the effective use of time-series analysis (TL). These insights offer valuable guidance for future AI-/ML-based network security research.
The remainder of this paper is structured as follows: Section 2 provides a comprehensive review of the background and related work, focusing on the evolution of network security challenges and the limitations of existing datasets and IDS frameworks in 5G environments. Section 3 explores the fundamental concepts of modern wireless networks and examines the available datasets for 5G network security. Section 4 presents an in-depth discussion of IDS, including IDS classification, NIDSs for IoT, a comparison of open-source NIDS, and the role of datasets in NIDS development, along with a comparative analysis of existing datasets. Section 5 describes the development of 5G NIDS datasets, covering aspects such as simulated attack types, system architecture, testbed design, and the methodology for dataset generation. Additionally, this section provides a comparative evaluation of different architectures and frameworks, along with an analysis of cyberattack types and relevant performance metrics. Section 6 explores Knowledge Discovery in Databases (KDD) for Network Intrusion Detection System (NIDS) preprocessing, covering data cleaning, feature transformation, data acquisition, and processing. Furthermore, it examines the data mining stage, performance assessment, evaluation techniques, challenges in incremental evaluation, attack impact analysis, and the application of ML and DL models for performance evaluation, including a comparative study of various models. Section 7 highlights the key challenges and limitations associated with 5G NIDS research. Section 8 discusses recent trends, future research directions, and lessons learned. Finally, Section 9 concludes the paper by summarizing the main findings and their broader implications for designing and implementing secure 5G and 6G networks.
2. Background and Related Work
Recent advancements in AI have significantly enhanced machine learning (ML) approaches for threat detection. For example, one study [10] comprehensively reviewed various data mining techniques used in NIDS. It proposed an ensemble-based feature selection and anomaly detection framework, emphasizing the necessity for real-time solutions. In a similar effort, another investigation [11] developed an optimized ML-based NIDS that balances computational complexity and detection performance. Self-adaptive ML models in 5G environments further leverage AI to enable real-time anomaly detection, dynamically adjusting to traffic patterns and optimizing resource allocation. These AI-/ML-based approaches are credited with the capacity to identify and neutralize sophisticated threats in 5G and next-generation networks, thanks to the substantial computational power available [12]. Moreover, such systems continually enhance their detection capabilities over time by employing various learning paradigms, including Supervised Learning (SL), Unsupervised Learning (USL), Semi-Supervised Learning (SSL), and Reinforcement Learning (RL) [13]. In particular, SL methods, which rely on labeled datasets, utilize models such as decision trees (DTs), random forests (RFs), Naive Bayes (NB), and Deep Neural Networks (DNNs), all of which require sufficient data for practical training.
A robust dataset comprising six million traffic flows, including both benign and attack scenarios, has been collected from a dedicated 5G laboratory testbed [14]. This dataset serves as the source domain for developing DTL models. Within this testbed, the network is segmented into two distinct slices, each providing valuable traffic data. In contrast, the 5G-NIDD dataset [15] represents the target domain and contains limited annotated traffic data related to various DDoS attacks observed in a real-world 5G network environment. Researchers have explored several advanced DL architectures as potential classifiers for detecting DDoS attacks, including Bidirectional Long Short-Term Memory (BiLSTM) networks [16], Convolutional Neural Networks (CNNs) [17], Residual Networks (ResNet), and Inception models. The curated dataset is used to train robust pre-trained models, which, in turn, facilitate the application of DTL methods to various algorithms on the target dataset.
An overview of prior studies on DTL highlights its potential in DDoS detection for 5G networks [18]. Although TL has been extensively applied in fields such as computer vision and natural language processing, its use in cybersecurity—particularly for detecting DDoS attacks in 5G systems using DTL—remains relatively underexplored. To bridge this gap, the review [19] investigates the application of DTL in IDSs for 5G networks, aiming to enhance DDoS attack detection. Additional research [20] demonstrates that incorporating TL with the AdaBoost algorithm can boost classification accuracy and overall network performance. Another study [21] addressed network traffic classification in 5G IoT systems by employing DTL with pre-trained models like EfficientNet and Big Transfer, achieving near-perfect accuracy with only 10% of the data labeled, as validated on the USTC-TFC2016 dataset. These findings underscore the potential of TL to improve IoT data classification and optimize resource utilization in data-constrained environments.
Beyond these applications, further research has investigated the integration of IoT and 5G in the context of the Industrial Internet of Things (IIoT). One study [22] applied TL to reduce data and resource requirements for model training, enhancing predictive maintenance and fault detection by leveraging pre-trained models on similar equipment while optimizing the 5G infrastructure. In another approach, a deep deterministic policy gradient algorithm, enhanced with TL, was utilized for network slicing in IIoT scenarios [23]. This method optimized bandwidth allocation and transmission power, resulting in improved Quality of Service (QoS), energy efficiency, and reliability, with TL expediting the training process across multiple gateways. Moreover, the Fortis-Economical Denial of Sustainability (EDoS) framework [24] was introduced to mitigate EDoS attacks in 5G network slicing. By combining Control Gated–Gated Recurrent Unit (CG-GRU)-based anomaly detection with DTL, FortisEDoS can detect malicious behavior, prevent unwarranted resource scaling, and employ a comprehensive surveillance system—comprising auto-scaling modules and EDoS mitigation mechanisms—to monitor and counteract attacks in real time, thereby reducing the financial impact of such threats [25].
Other studies have further explored the potential of ML techniques in NIDS. For instance, one investigation [26] utilized the UNSW-NB15 dataset to train various ML models, employing Extreme Gradient Boost (XGB) for feature selection and finding that Artificial Neural Networks (ANNs) provided superior performance. In a separate study [27], researchers introduced a novel feature selection method based on statistical measures such as standard deviation and the difference between mean and median values. When tested on datasets like NSL-KDD, UNSW-NB15, and CICIDS2017, this approach outperformed established techniques such as Recursive Feature Elimination, Chi-Square, and RF to enhance classification accuracy.
Historically, the DARPA dataset was one of the first benchmarks for ML-based IDS, encompassing simulated attacks such as DoS, password guessing, buffer overflow, SYN flood, and network mapper exploits. However, due to its inherent limitations, subsequent datasets—such as KDD Cup 99, NSL-KDD, DEFCON, CAIDA, LBNL, CTU-13, UNSW-NB15, and Bot-IoT—have been developed to better evaluate IDS performance [28]. Despite their contributions, many of these datasets are now considered outdated due to the rapid evolution of network technologies and the emergence of new cyber threats. IDSs can generally be classified into pattern-matching and AI-based anomaly detection approaches. While pattern-matching methods tend to suffer from a high False Positive Rate (FPR), AI-based methods are heavily dependent on the quality of feature selection. They can face challenges such as inadequate feature representation and overfitting [29]. Although conventional ML techniques like SVM and KNN sometimes struggle to achieve high accuracy without an increase in False Positives (FPs), certain studies [30] have demonstrated excellent performance on datasets like CIC-IDS-2017 and UNSW-NB15. Furthermore, hybrid models—such as those integrating Convolutional Neural Networks (CNNs) and Long Short-Term Memory (LSTM) in a hierarchical structure or employing feature fusion techniques—have shown promising results, with one study reporting an accuracy of up to 84% using the UNSW-NB15 dataset [31].
The authors [32] address critical cybersecurity challenges by noting that outdated datasets, such as KDDCup99 and NSL-KDD, fail to capture modern attack techniques, resulting in ineffective IDS performance. To remedy this, they propose TestCloudIDS—a new, labeled dataset reflecting current threat landscapes across diverse attack types and cloud environments—along with SparkShield. This IDS model leverages big data analytics and Apache Spark for faster, proactive threat detection. Similarly, the study [33] introduces a dynamic Models Orchestrator that deploys adaptive ML/DL models as a service within a Dockerized 5G environment to secure network slices and devices. By utilizing algorithms ranging from DTs and RF to CNNs and Large Language Models and training on updated datasets like CICDDOS2019, this orchestrator operates within the Radio Access Network (RAN) to detect and mitigate real-time attacks such as scans and floods.
Despite advancements in DTL-based IDSs, several critical challenges persist. These include data imbalance, where intrusion samples are scarce compared to normal data, leading to biased models; difficulties in effective feature extraction from diverse data sources such as network traffic and system logs; and vulnerability to adversarial attacks that can evade detection. Overfitting remains a concern, particularly with limited training data, which can negatively impact model generalization. Additionally, the lack of interpretability in DL models makes it difficult to understand detection decisions, while the complexity of securing IDS communication in IoT environments poses further risks [34]. This review focuses on improving model robustness against adversarial attacks, enhancing interpretability, optimizing resource efficiency, integrating Intrusion Detection Systems (IDSs) with other security tools such as firewalls, and leveraging blockchain technology for secure collaborative learning. Addressing these gaps is crucial for advancing DTL-based IDSs to ensure comprehensive, adaptive, and resilient cybersecurity solutions. RL- and deep RL-based IDSs offer adaptive intrusion detection but face key challenges, including limited interpretability, scalability issues, and the need for adaptability to dynamic threats. Real-time efficiency, robustness against adversarial attacks, and security concerns in cloud and IoT environments require further research. Energy efficiency is critical for unmanned aerial vehicles and other resource-constrained settings. Additionally, IDSs must evolve for edge and fog computing, handle imbalanced datasets, and reduce reliance on outdated or simulated data to enhance resilience and effectiveness [35]. This research bridges the gap by incorporating real-world examples, analyzing network threats, and evaluating datasets tailored for IoT applications, enhancing the practical relevance and applicability of IDSs.
While DL excels at capturing complex temporal patterns, traditional ML techniques can be highly effective for simpler patterns or when working with smaller datasets. Regardless of the approach, robust feature engineering and domain expertise remain critical. Ultimately, the choice between ML and DL methods should be informed by the complexity of the data, resource constraints, and computational demands, with hybrid approaches often providing an optimal balance by leveraging the strengths of both methodologies. Table 1 presents a comprehensive literature review of intrusion detection approaches in 5G networks from 2020 to 2025. It summarizes methodologies, key findings, limitations, and future scope, highlighting advancements and areas requiring further exploration in the field.
Table 1.
Related work on intrusion detection and datasets.
3. Fifth-Generation Core Network and Security Challenges
Fifth-generation technology constitutes a revolutionary advancement in telecommunications, delivering unparalleled improvements in data throughput, latency reduction, and device connectivity [36]. Enhanced Mobile Broadband (eMBB) provides ultra-high data rates, enabling bandwidth-intensive applications such as high-definition video streaming and augmented and virtual reality. Ultra-reliable low-latency communication (uRLLC) offers minimal delays and exceptional reliability, making it indispensable for mission-critical applications, including autonomous vehicles, industrial automation, and remote surgeries. Additionally, Massive Machine-Type Communications (mMTCs) support the seamless connectivity of many devices, paving the way for smart cities and expansive IoT deployments. These three capabilities—often referred to as the “5G Triangle”—form the foundational pillars of 5G networks, as illustrated in Figure 1.
Figure 1.
Fifth-generation services: powering the next generation of connectivity.
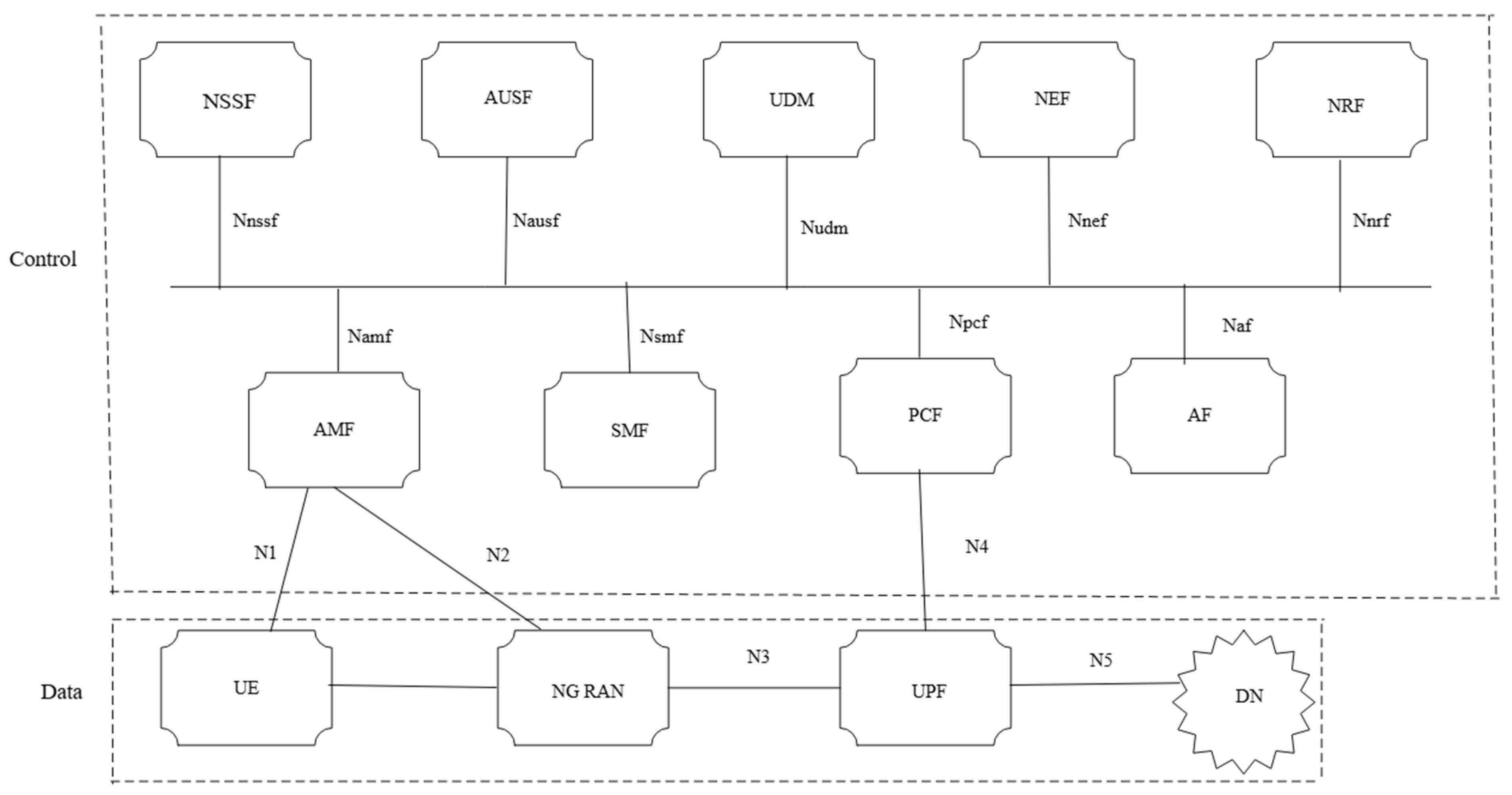
To realize these advanced capabilities, 5G leverages two primary architectural frameworks. The Non-Standalone (NSA) architecture augments the existing 4G LTE infrastructure with new radio technology, enabling enhanced data rates and rapid, cost-effective deployments. However, the NSA does not support critical features such as uRLLC and mMTC, which limits its applicability in scenarios requiring ultra-low latency and massive connectivity. In contrast, the Standalone (SA) architecture establishes an independent 5G CN based on a Service-Based Architecture (SBA), modularizing network functions and facilitating communication via the HTTP/2 protocol. This design enhances scalability and flexibility, supporting advanced functionalities such as network slicing, which unlocks the full potential of 5G for next-generation applications, including edge computing, IIoT, and autonomous transportation [37]. Figure 2 illustrates the SA architecture, which operates independently of the 4G network and is built on an SBA. It modularized network functions, enabling efficient communication via the HTTP/2 protocol while supporting advanced capabilities such as network slicing.
Figure 2.
Service-Based Architecture (SBA) of the 5G-SA-CN.
While 5G offers transformative benefits, it also introduces significant security challenges. The extensive number of connected devices, including IoT and industrial systems, dramatically expands the potential attack surface. Many of these devices lack robust security measures, making them vulnerable to cyberattacks, including unauthorized access and malware infections. Additionally, the network slicing feature, which enables the creation of virtual networks for specific applications (e.g., healthcare and autonomous driving), introduces further risks. A compromised slice could expose other slices or the underlying physical infrastructure to cross-slice attacks [38]. This vulnerability highlights the importance of developing advanced threat models, AI-based security systems [39], and blockchain solutions [40].
The scalability inherent in 5G also elevates the risk of large-scale DDoS attacks. With billions of connected devices, attackers can exploit botnets to overwhelm critical network functions such as the Access and Mobility Management Function (AMF) and the User Plane Function (UPF). This threat is particularly concerning for uRLLC systems used in healthcare and smart grids, where even minor disruptions can have significant consequences. To mitigate these risks, specialized IDSs [41] and strategies to secure the control plane have been developed [42].
Moreover, virtualized network technologies, such as Software-Defined Networking (SDN) and Network Function Virtualization (NFV), introduce vulnerabilities in centralized control planes and management protocols, necessitating stronger security measures. The shift toward edge computing further complicates the security landscape by decentralizing data processing closer to end users, making edge nodes more susceptible to attacks. Often lacking the robust security infrastructure of centralized cloud systems, these nodes are more complex to monitor and protect. To counter these challenges, adopting zero-trust architectures, end-to-end encryption, and robust authentication mechanisms is essential [43]. The research [44] examines the role of machine learning (ML) and deep learning (DL) in enhancing 5G network security by addressing emerging vulnerabilities and threat vectors. It analyzes key 5G components, including network slicing, mMTC, and edge computing, alongside current security protocols and regulations. The study highlights how machine learning (ML) and deep learning (DL) enhance anomaly detection, predictive security, and intrusion prevention, providing insights into the future of 5G security. Table 2 outlines suggested machine learning (ML) and trust and loyalty (TL) techniques for 5G networks, along with dedicated attack types for each 5G domain (eMBB, mMTC, and uRLLC).
Table 2.
ML and TL techniques for 5G security [44].
3.1. Intrusion Detection in 5G Networks
To enhance cybersecurity in 5G networks, the authors [45] propose integrating a dedicated cybersecurity module at each 5G station, which functions as an additional server housing both a firewall and an Intrusion Detection System (IDS). The research highlights the vulnerability of 5G cellular networks to Probe, DoS, and software-based attacks, necessitating robust intrusion detection mechanisms. The initial IDS framework utilizes machine learning (ML) algorithms trained on multiple datasets, including the widely used KDD99 dataset, which is crucial for academic research and prototype development. KDD99 originates from the DARPA’98 IDS evaluation program and comprises approximately 5 million labeled samples spanning four primary attack categories: DoS, Remote-to-Local (R2L), User-to-Root (U2R), and Probe attacks. These categories are further divided into specific attack types, including APACHE2, NEPTUNE, BUFFER_OVERFLOW, and IPSWEEP, among others.
To enhance detection accuracy, the IDS is further trained on two additional datasets—DOS1 (380 MB) and DOS2 (85 MB)—containing modern DoS/DDoS attack patterns, including LDAP, MSSQL, NetBIOS, and UDPStorm. The data partitioning strategy assigns 90% of KDD99 for training and 10% for testing, while the DOS1 and DOS2 datasets are split into 80% training and 20% testing. This methodology yields high accuracy rates: 96.1% (KDD99), 99.38% (DOS1), and 99.99% (DOS2). The IDS first analyzes incoming network traffic against KDD99 attack signatures, and then sequentially verifies it against DOS1 and DOS2 attack patterns. If no threat is detected, the IDS classifies the traffic as benign.
The system was experimentally validated using a laboratory setup comprising 60 Raspberry Pi devices and a central server hosting the IPS module. Attack vectors were simulated, and the IDS successfully identified key cyber threats, including DoS, R2L, U2R, and Probe attacks, proving its effectiveness as a prototype for real-world 5G intrusion detection. Unlike existing approaches that rely solely on KDD99, the system integrates multiple datasets to enhance detection capabilities. Future improvements will focus on refining real-time detection, developing complex attack vectors, and creating a proprietary dataset for extensive testing and optimization. Ultimately, the system aims to be deployed in real-world 5G networks, reinforcing their security posture against evolving cyber threats. Figure 3 illustrates the security infrastructure that safeguards 5G networks against cyberattacks. The system features specialized 5G station-based cybersecurity components that incorporate both a firewall and an Intrusion Detection System (IDS). Network traffic passes through a sequential set of dataset analyses, which improves threat discovery and protects against attacks.
Figure 3.
Security framework module.
IDSs play a crucial role in securing 5G networks, particularly within SDN security frameworks. The virtualization of key components, such as the RAN and the CN, enables the automation of security mechanisms, allowing copies of network traffic to be analyzed without affecting performance. However, a critical challenge in developing ML- and DL-based IDSs for SDN lies in selecting the dataset. Existing research highlights the scarcity of comprehensive datasets that accurately represent real-world cyber threats. Many available datasets, such as CICIDS2017 and CSE-CIC-IDS2018, include labeled instances of both attack and benign traffic; however, they suffer from limitations, including outdated attack patterns and insufficient diversity in traffic types.
Several studies have compared the effectiveness of ML and DL models for IDSs in 5G networks. LR, RF, GB, AE, and DNNs were evaluated in [46] using benchmark datasets. Among these models, GB demonstrated superior performance, achieving 99.3% accuracy for secure traffic and 96.4% for attack detection. AE-based anomaly detection, on the other hand, underperformed, highlighting the limitations of USL in this domain. The study also emphasized the importance of dataset integrity, privacy concerns, and realistic attack simulations to improve model robustness. As technology advances, IDS solutions must evolve to address emerging threats. Future network generations, such as 6G and beyond, are expected to integrate more sophisticated AI-driven security mechanisms. An overview of security vulnerabilities, along with corresponding mitigation methods and related challenges for 5G networks, is presented in Table 3. Security threats and risks within the protocol stack components are classified based on which defense mechanisms are provided. In addition to this overview, a breakdown of essential security challenges and upcoming considerations is provided, targeting various layers of the OSI model in 5G networks.
Table 3.
Security vulnerabilities, mitigation strategies, and challenges in 5G across OSI layers [47].
3.2. Existing Datasets for 5G Network Security
Recent advancements in 5G network security have yielded several innovative tools and datasets for evaluating and enhancing the resilience of next-generation networks.
For instance, an open-source 5G network traffic fuzzer presented in [48] enables systematic assessment of 5G components by replaying and modifying traffic patterns. This tool dynamically generates and transmits traffic to critical network nodes—including the AMF, UPF, and RAN—and supports dynamic and static packet alterations across control and data planes. It integrates a federated learning framework to detect DDoS attacks targeting the General Packet Radio Service Tunneling Protocol (GTP-U) within the 5G CN. The underlying model is trained and evaluated using the UNSW-NB15 dataset within a simulated environment, demonstrating its potential effectiveness.
In another significant contribution, ref. [49] introduces the 5GC Packet Forwarding Control Protocol (PFCP) Intrusion Detection Dataset, tailored to identify cyberattacks on the N4 interface’s PFCP between the Session Management Function (SMF) and the UPF. This labeled dataset, which encompasses comprehensive network flow statistics across four distinct PFCP attack types, is publicly available on IEEE Dataport and Zenodo.
Moreover, the study in [50] leverages the Free5GC and UERANSIM tools to generate a dataset featuring ten attack scenarios that span reconnaissance, DoS, and network reconfiguration categories. The reconnaissance attacks exploit vulnerabilities in Free5GS, such as impersonation and inadequate input validation. DoS scenarios simulate events such as network repository function crashes and fabricated AMF deletions, while network reconfiguration scenarios mimic fake AMF insertions and modifications. The data were standardized to 1024 bytes, omitting layers above the application layer to ensure consistency.
A common limitation among these datasets is their reliance on trace-based data, which requires significant processing, storage, and real-time trace collection—factors that can delay anomaly detection. To address this challenge, a novel framework is proposed that leverages aggregated log counters and performance metrics from CN nodes. This approach incurs minimal overhead and enables real-time intrusion detection, making it a practical solution for 5G networks.
Table 4 provides a comprehensive overview of the datasets employed in 5G network security research, detailing their descriptions, limitations, and potential avenues for future work. Collectively, these datasets address critical aspects of 5G security, including intrusion detection, traffic anomaly analysis, IoT security, attack simulation, and authentication vulnerabilities.
Table 4.
Existing datasets for 5G network security.
4. Intrusion Detection Systems (IDSs) and Classification
Intrusion involves unauthorized activities that threaten the confidentiality, integrity, or availability of information systems. Any action that disrupts computer services or poses a security risk qualifies as an intrusion. IDSs are essential tools for identifying and responding to these threats. IDSs can be implemented as software or hardware to detect malicious activities that traditional firewalls might overlook [51]. IDS solutions are classified into Signature-Based Intrusion Detection Systems (SIDSs) and Anomaly-Based Intrusion Detection Systems (AIDSs). SIDSs identify known attack patterns by matching database signatures using knowledge-based or misuse detection methods [52].
Tools like Snort and NetSTAT use SIDS techniques by inspecting network packets and comparing them to signature databases. SIDSs excel at accurately detecting previously known intrusions but struggle with zero-day threats due to the absence of matching signatures. Advanced techniques, such as state machines or formal language patterns, are required to create effective signatures for modern malware. In contrast, AI detects deviations from normal system behavior using machine learning, statistical, and knowledge-based methods. The development process involves a training phase to learn normal traffic patterns and a testing phase to identify anomalies in new data. AIDSs effectively detect zero-day attacks and internal threats, such as unauthorized transactions. However, they are more prone to FPs since new legitimate activities may be flagged as intrusions. AIDSs can be divided into five subclasses based on their training methods: statistics-based, pattern-based, rule-based, state-based, and heuristic-based systems [56].
While SIDSs can only detect known intrusions, AIDSs can identify novel threats, including zero-day attacks. The strength of AIDSs lies in their anomaly detection capability, though they suffer from increased FPs. IDS solutions are also categorized by deployment type: Host-Based IDS (HIDS), Network-Based IDS (NIDS), Wireless-Based IDS (WIDS), Network Behavior Analysis (NBA), and Mixed IDS (MIDS). HIDS monitors sensitive host activities, NIDS analyzes specific network segments, and WIDS focuses on wireless traffic. The NBA detects anomalies in traffic flows, while MIDS integrates multiple technologies to enhance the accuracy of detection. Key IDS components include sensors for NIDS, WIDS, and NBA, as well as agents for HIDS, which relay data to a management server for processing and a database server for storage. IDSs can be deployed in managed networks, which are isolated and secure but costly, or standard networks, which are public but can be protected using virtual LANs.
Detection methods include anomaly-based, signature-based, and specification-based techniques. IDSs may operate in real-time or offline, with passive (alert-only) or active (preventive) responses. Despite their robustness, IDSs face challenges in accuracy due to False Positives (FPs) and False Negatives (FNs), with security administrators prioritizing the reduction in FNs to avoid undetected threats [57]. As cyber threats continue to evolve, combining SIDS and AIS techniques may offer a comprehensive defense strategy for modern cybersecurity challenges. Table 5 compares IDS technologies—HIDS, NIDS, WIDS, and NBA—based on components, architecture, strengths, limitations, and detection capabilities. It highlights their unique roles in monitoring, analyzing, and securing network and host activities against threats.
Table 5.
Comparative analysis of different IDS technologies [56].
4.1. NIDS for IoT
The rapid adoption of IoT technologies has presented significant security challenges, driving the need for intelligent Network Intrusion Detection Systems (NIDSs). Leveraging ML and big data analytics has proven essential for processing and analyzing the large volumes of unstructured data generated by web applications [58]. ML techniques, including SL and USL, effectively detect hidden patterns and novel threats and reduce FPs in network traffic. DL, a subset of ML utilizing ANNs, has shown immense potential for NIDS applications by continuously learning from traffic patterns to counter zero-day and evolving threats. It discusses the role of learning techniques in IoT-based Network Intrusion Detection Systems (NIDSs), emphasizing how big data, machine learning (ML), and deep learning (DL) enhance cybersecurity. Unlike traditional signature-based NIDS, ML-based systems require fewer updates and efficiently detect zero-day attacks. This study highlights the advantages of ML-driven NIDSs, including their classification capabilities and potential to strengthen IoT security against emerging cyber threats. Figure 4 illustrates the machine learning (ML) techniques and classification in Network Intrusion Detection Systems (NIDSs) for IoT security.
Figure 4.
ML techniques.
Table 6 demonstrates various effective ML- and DL-based NIDS solutions. These advancements underscore the crucial role of ML and DL techniques in bolstering the security of IoT networks and providing scalable and efficient solutions for evolving cyber threats.
Table 6.
Overview of NIDS-IoT with accuracy and techniques.
4.2. Comparison of Open-Source NIDSs
Several free, open-source NIDSs are available for sniffing, analyzing, and detecting malicious network traffic. Among the most widely used is Snort, a lightweight, single-threaded SIDS that supports multiple operating systems. It operates in three modes: Sniffer, Packet Logger, and NIDS modes, enabling real-time traffic analysis and attack detection, including SQL injection and cross-site scripting attacks. Suricata is another popular tool, offering a multi-threaded architecture for high-performance intrusion detection and prevention, as well as network security monitoring and offline packet processing. The Open Information Security Foundation developed Suricata and supports various operating systems, making it a flexible and scalable solution. Bro-IDS (now known as Zeek) is a network analysis framework that combines SIDS and IDS. It inspects network traffic at a higher level and supports multiple application-layer protocols, including DNS, FTP, HTTP, and SMTP. Meanwhile, Kismet is a wireless IDS that detects and sniffs Wi-Fi networks, Bluetooth devices, and sensors. It runs on Linux, BSD, Android, and Windows (with hardware restrictions) and remains undetectable while monitoring network activity. OpenWIPS-ng is another wireless IDS/IPS that monitors traffic for signature-based attacks. It consists of sensors for data collection, a server for aggregation and intrusion detection, and a graphical user interface (GUI) for managing and displaying threat information. However, it lacks significant community support.
Security Onion is a Linux-based distribution that integrates multiple security tools, including Snort, Suricata, Bro, Elasticsearch, and Logstash, for a more comprehensive security solution. It enables full packet capture, network intrusion detection, and log management for enhanced security monitoring. On the other hand, Sagan is a multi-threaded log analysis and correlation engine initially designed as a HIDS but later extended to function as a SIDS. It is optimized for low CPU and memory usage, making it suitable for IoT environments.
Each of these tools has distinct advantages and limitations. While Snort is well documented and widely adopted, it may be susceptible to packet loss. Suricata offers a multi-threaded architecture but requires more system resources. Bro-IDS offers high-level traffic analysis but lacks a built-in graphical user interface (GUI). Kismet is useful for wireless monitoring but is limited to wireless networks. OpenWIPS-ng is modular and scalable but lacks strong community support. Security Onion and Sagan offer comprehensive security solutions, integrating multiple tools for real-time monitoring, ease of deployment, and efficient network protection. These comparisons enable researchers and practitioners to select the most suitable NIDS for their specific security needs, particularly in IoT environments [53]. Table 7 presents a comparative analysis of various open-source Network Intrusion Detection Systems (NIDSs), highlighting their key advantages and drawbacks. The comparison aims to help select the most suitable NIDS based on specific network security requirements.
Table 7.
Comparison of open-source NIDSs [53].
4.3. Role of Datasets in NIDS Development
NIDSs are essential for securing 5G networks by detecting and mitigating sophisticated threats that stem from the technology’s inherent complexity and advanced capabilities. Study [69] introduces AIS-NIDS, which employs packet-level analysis to identify threats more precisely than traditional flow-based systems. By integrating autonomous detection via ML with incremental learning, AIS-NIDS adapts to new attack classes, effectively learning from previously unseen threats. In a related effort, research [70] examines the challenges in developing efficient NIDS, emphasizing the critical role of ML and the utilization of publicly available datasets. This study highlights existing challenges and uncovers promising opportunities for future enhancements. Complementing these findings, research [71] presents Reliable-NIDS (R-NIDS), which combines multiple datasets—including the novel UNK22—to enhance the generalization capabilities of ML models, thereby demonstrating significant practical benefits in deployment.
Further advancing the field, research [72] comprehensively reviews IDS types, benchmark datasets, and ML-/DL-based methodologies. Within this framework, a proposed NIDS model achieved an impressive 98.11% accuracy and a 97.81% detection rate on the UNSW-NB15 dataset. However, research [73] raises concerns about the generalizability of ML classifiers by revealing significant statistical differences between synthetic datasets (such as CIC_IDS, UNSW-NB15, and TON_IOT) and real-world data, thereby stressing the need for improved training methodologies. Moreover, research [74] critically evaluates the CICIDS2017 dataset, uncovering issues in traffic generation, flow construction, and labeling that adversely impact dataset quality. An improved data processing methodology could relabel over 20% of the traffic traces, enhancing model benchmarks and offering valuable recommendations for developing more robust datasets. The experimental evaluation of 5G network security NIDS models operates using the structure illustrated in Figure 5. The diagram illustrates the following steps for the experimental workflow, which begins with data preprocessing, then uses (Analysis of Variance (ANOVA) for feature selection, and continues with model training and final performance assessment. Feature selection needs to be emphasized for both performance improvement and computational speed optimization purposes.
Figure 5.
Process workflow.
The feature selection process aimed to identify the most informative features in the dataset, reducing dimensionality and improving model performance. Given its sensitivity to linear relationships and scalability, ANOVA was used as the feature selection method, making it suitable for the 5G-NIDD dataset. After exhaustive experimentation, the optimal number of features selected was eight, striking a balance between model complexity and accuracy [75].
4.4. ML Datasets
To develop a robust intrusion detection framework, the ML model was trained on the widely recognized KDD-CUP’99 dataset, which serves as a benchmark for evaluating network intrusion detection systems. This dataset comprises over 4 million training instances and approximately 311,029 testing instances, offering a comprehensive range of network traffic characteristics, including both fundamental connection attributes such as packet header information and more advanced content-based features.
The study [76] ensures accurate classification by selecting five key features: protocol type, which identifies the transport protocol (TCP, SCTP, UDP); service type, which specifies the network service running at the destination (e.g., HTTP, FTP, SSH); connection status flag, which denotes whether the connection is normal, rejected, or reset; source bytes, representing the volume of data transmitted by the sender; and destination bytes, indicating the amount of data received. These features were chosen due to their effectiveness in distinguishing normal from malicious traffic while ensuring compatibility with real-time packet-level analysis through Scapy. Additionally, the dataset categorizes cyber threats into four primary attack types: Probing Attack, Remote-to-Local Attack, DoS attack, and User-to-Root Attack.
To enhance data quality and model efficiency, a structured preprocessing pipeline was implemented. This involved transforming multiclass attack labels into a binary format, where “1” represents an attack and “0” represents normal traffic. The connection status flag values were standardized for compatibility with Scapy, and only the most relevant features were selected to align with real-time detection requirements. Additionally, categorical features were encoded using OneHotEncoder, while numerical attributes were normalized using MinMaxScaler to maintain consistency across the dataset.
Following preprocessing, multiple AI/ML models were trained and rigorously evaluated using TensorFlow, including RF, One-Class SVM, Local Outlier Factor, KNN, and AEs. Among these models, RF emerged as the most effective in terms of accuracy, training efficiency, and inference speed, making it the optimal choice for real-time intrusion detection. This ML-driven approach demonstrates the potential of artificial intelligence in enhancing network security. It highlights the importance of real-world dataset-driven training for detecting cyber threats in modern cyber–physical environments.
4.5. Integrating Explainable and Hybrid AI
Explainability in AI models is particularly crucial in Industry 5.0, where human oversight and collaboration with intelligent systems play a vital role in decision-making. To enhance interpretability and transparency, research [77] emphasized the integration of XAI techniques in DL models, ensuring that human analysts can comprehend the decision-making process of AI-driven systems. This transparency fosters trust in AI outcomes and ensures compliance with security guidelines, making XAI a bridge between complex algorithmic processes and actionable, security-driven decisions.
In parallel, the development of ensemble and hybrid AI models has significantly improved cybersecurity defenses by leveraging the strengths of multiple learning paradigms. Combining CNNs with recurrent neural networks (RNNs) or integrating RF with GB techniques enables hybrid models to process diverse data types, such as temporal sequences and spatial patterns, simultaneously. These approaches offer a comprehensive threat detection mechanism that enhances both accuracy and adaptability. For example, a study [78] explored the use of DNNs combined with graph-based learning to analyze attack patterns across enterprise networks, significantly improving detection accuracy against persistent threats.
The evaluation of various AI models underscores the necessity of both explainability and hybridization in addressing complex cybersecurity challenges. By integrating traditional and advanced AI models, a robust framework emerges that is capable of adaptive, transparent, and highly efficient threat detection. This evolution in AI-driven security solutions not only strengthens cybersecurity resilience but also paves the way for more accountable and human-centric AI applications in Industry 5.0. Table 8 presents a comparative analysis of various AI-driven threat detection methodologies, highlighting their objectives, limitations, and advantages.
Table 8.
Comparison of AI-driven threat detection techniques [77].
4.6. DL Models
DL has emerged as a prominent technique in data mining, offering powerful capabilities for modeling complex abstractions and relationships across multiple neural layers. DL is extensively explored across various domains, including image recognition, speech processing, natural language understanding, and social network analysis. Beyond these applications, DL algorithms excel in discovering correlations across vast datasets from diverse sources, enabling the simultaneous learning of attributes, classification, and predictive analytics. The efficacy of DL in network security has led to its widespread adoption in the development of IDSs [79]. The research contains a comparison of DL methods implemented for IDSs in Table 9. Each approach reveals its technical design, along with its main benefits, drawbacks, and applications in cybersecurity. The evaluation demonstrates the effectiveness of various deep learning models in detecting and mitigating cyber threats.
Table 9.
Comparison of DL models for IDSs [79].
Enhancing 5G Security: A Transfer Learning-Based IDS Approach
Traditional IDS solutions struggle to keep pace with sophisticated cyber threats, often hindered by the limited availability of labeled data for practical model training. To overcome these limitations, the study [80] explores the integration of DTL to improve IDS performance in 5G networks. By leveraging pre-trained DL models and fine-tuning them for intrusion detection, we enable more effective anomaly detection and cyber threat mitigation. The experimental evaluations highlight the superior performance of TL-based models, with the Inception model achieving approximately a 10% improvement in F1-score compared to conventional DL approaches without TL.
This study employs a two-phase transfer learning (TL) approach, utilizing a robust 5G network dataset for pre-training (source domain) and a separate 5G-specific dataset (target domain) for fine-tuning the model. Key deep learning (DL) architectures, including BiLSTM and CNN, are employed to develop an intrusion detection system (IDS) framework capable of detecting both known and emerging Distributed Denial-Of-Service (DDoS) attacks. The proposed method involves freezing convolutional layers of the base model while adapting higher-level layers to the target dataset, ensuring efficient knowledge transfer. Dataset selection includes a large-scale, real-time 5G network traffic dataset as the source and the 5G-NIDD dataset as the target, ensuring relevance to modern 5G threats. The results demonstrate the effectiveness of TL in enhancing model adaptability, reducing training time, and significantly improving intrusion detection accuracy in 5G environments. This research contributes to the advancement of AI-driven security solutions, reinforcing the resilience of next-generation networks against evolving cyber threats.
4.7. Quantum Machine Learning
NNs have revolutionized both industry and academia, yet their integration with quantum computing remains a formidable challenge. In work [81], an innovative Quantum Neural Network (QNN) model is tailored for quantum neural computing. The approach leverages classically controlled single-qubit operations and measurements within real-world quantum systems while accounting for environment-induced decoherence. This significantly simplifies the physical implementation of QNNs, making them more practical for near-term quantum devices. A key advantage of the model is its ability to circumvent the exponential growth of state-space size that traditionally hinders QNNs. By doing so, it minimizes memory overhead and enables fast optimization using classical optimization algorithms. To validate its performance, the proposed model was benchmarked on handwritten digit recognition and various nonlinear classification tasks. The results demonstrate superior nonlinear classification capabilities, remarkable robustness to noise, and efficient learning dynamics. The findings pave the way for broader applications of quantum computing in neural networks and inspire the early realization of quantum neural computing before the advent of fully developed quantum computers.
The rapid advancements in quantum technology have led to the development of numerous communication and computational schemes that leverage quantum advantages. These advancements indicate vast application potential, yet the experimental realization of such schemes remains a formidable challenge due to the complexities associated with generating high-dimensional or highly entangled quantum states. In a study [82], a quantum coupon collector protocol has been proposed and analyzed that utilizes coherent states and simple linear optical components, making it feasible for practical implementation with existing experimental setups. The findings demonstrate that the proposed protocol significantly reduces the number of samples required to learn a given set compared to the classical coupon collector problem, thereby surpassing classical computational limits. Furthermore, the concept has been extended by designing a quantum blind box game, which effectively transmits information beyond classical constraints. These results provide strong evidence of the superiority of quantum mechanics in ML and communication complexity, highlighting its potential to revolutionize future computing and information-processing paradigms.
4.8. Comparison of Batch Learning Models (BLMs) and Data Streaming Models (DSMs)
DSMs exhibit superior performance in binary classification, while BLMs, particularly J48, maintain an advantage in multiclass classification. Among DSMs, OzaBagAdwin (OBA) stands out as the most accurate model for binary classification; however, its computational demands necessitate optimization for large-scale deployment. These findings align with previous research, reinforcing the effectiveness of DSMs for evolving data streams. Moreover, the results underscore the need for adaptive learning strategies to enhance real-time Intrusion Detection Systems (IDSs), ensuring efficient and scalable threat mitigation. DSMs significantly outperform BLMs in binary classification, highlighting their suitability for real-time applications. In multiclass classification, J48 remains the most effective, though DSMs offer comparable performance. Statistical analysis confirms a significant difference in binary classification but not in multiclass scenarios. Findings [83] align with prior studies, reaffirming that DSMs hold promise for large-scale, evolving data streams. Future research should explore optimization strategies to enhance the efficacy of these methods in complex classification tasks. Table 10 compares the BLMs and DSMs for IDSs. It describes the implemented algorithms, along with their accuracy results for both binary and multiclass tasks, and provides relevant insights from the evaluation phase. The comparison process helps one understand the basic capabilities, as well as the weaknesses, of different model types when detecting cybersecurity threats.
Table 10.
Comparative analysis of BLMs and DSMs [83].
4.9. Dataset Comparison
Free datasets play a crucial role in the implementation and validation of NIDSs. Among the most widely used datasets, KDDCUP99 (KDD99) is one of the earliest datasets derived from the DARPA dataset for detecting malicious connections. It categorizes attacks into DoS, Remote to User, User to Root, and Probing, using 41 extracted features. Despite its popularity, KDD99 has significant drawbacks, including outdated data, imbalanced classification, and simulation artifacts that may lead to overestimating the performance of anomaly detection. NSL-KDD was developed as an improved version to overcome these limitations by removing duplicate records and balancing probability distributions. However, it still lacks modern attack scenarios.
To address the need for contemporary datasets, the Australian Centre for Cyber Security created UNSW-NB15 in 2015. It integrates hybrid real and synthetic attack behaviors, featuring nine attack types, making it more complex than KDD99 due to the similarities between attack and expected behaviors. Another notable dataset is the IoT dataset, which focuses on classifying IoT devices rather than detecting intrusions. It captures network traffic from 28 IoT devices over a six-month period, providing valuable insights but not explicitly targeting IDS applications.
More recent datasets, such as CICIDS and CSE-CIC-IDS2018, offer improved realism in attack simulations. The CICIDS dataset, developed by the Canadian Institute for Cybersecurity at the University of New Brunswick, reflects real-world threats using 25 simulated users and multiple protocols, including HTTP, HTTPS, FTP, SSH, and email. It is analyzed using a CICFlowMeter to provide labeled flow data. Meanwhile, CSE-CIC-IDS2018 is an AIDS dataset designed to replace traditional static datasets. It features seven attack scenarios, including Brute Force, DDoS, Web attacks, and Local Network Infiltration, with a large-scale attack infrastructure consisting of 50 attack nodes, 30 servers, and 420 hosts. Eighty extracted network features provide a dynamic and realistic evaluation environment for intrusion detection.
In comparison, despite being outdated, KDD99 remains one of the most widely used datasets, leading to the development of NSL-KDD with improved balance and data reliability. UNSW-NB15 presents modern attack scenarios while introducing additional complexity. The IoT dataset is the only one specifically designed for IoT traffic analysis, although not for IDS purposes. CICIDS and CSE-CIC-IDS2018 provide more realistic attack behaviors and traffic analysis but do not directly address IoT security. While these datasets serve as the foundation for NIDS evaluation, they still suffer from limitations such as privacy concerns, data anonymization, and the inability to fully reflect evolving security threats [84]. Table 11 provides a comparative analysis of various publicly available network security datasets, highlighting their advantages and limitations.
Table 11.
Comparative analysis of free datasets [84].
5. Development of the 5G NIDD Datasets
Several open-source platforms and tools are crucial in simulating, analyzing, and securing 5G network environments. These platforms facilitate the development of IDSs by enabling realistic network simulations, generating attack scenarios, and evaluating security performance. Open5GS is a widely adopted open-source platform that emulates CN functions for 4G and 5G systems. It includes essential 4G components, such as the Mobility Management Entity, Serving Gateway, and Packet Gateway, as well as 5G components like the AMF and SMF. Open5GS enables the selective deployment of network nodes, allowing for the simulation of real-world network operations. Additionally, it facilitates the generation of datasets encompassing benign and malicious traffic scenarios, making it a valuable resource for evaluating IDS performance in realistic environments [85]. UERANSIM is another key open-source tool that simulates 5G access networks and user equipment (UE) interactions with a 5G CN. It supports critical 5G functionalities, including authentication, mobility management, and handovers. The flexibility of UERANSIM in handling UE connections enables the testing of various attack scenarios, such as rogue device infiltration and malicious traffic overload, thereby aiding in the assessment of security vulnerabilities within 5G networks [86].
Scapy, a powerful Python library, is instrumental in crafting and manipulating custom network packets for security testing. It supports the simulation of complex network attacks by allowing fine-grained control over protocol parameters, including Packet Forwarding Control Protocol (PFCP) and GTP-C (GPRS Tunneling Protocol–Control Plane). This capability makes Scapy a valuable tool for analyzing security threats and intrusion patterns in 5G environments [87]. Kubernetes serves as an orchestration platform for managing containerized workloads, enhancing the scalability and portability of 5G testbeds. It efficiently manages components such as Open5GS and UERANSIM, enabling dynamic scaling, automated deployment, and sophisticated attack simulations. By leveraging Kubernetes, researchers can conduct large-scale security experiments, automate network configurations, and replicate diverse threat landscapes within controlled environments [88].
Grafana Loki is a scalable log aggregation system designed to index log metadata using a label-based approach. It integrates seamlessly with Grafana, providing efficient log management and real-time data visualization. Its support for LogQL query language simplifies log analysis, facilitating effective monitoring of network activity, anomaly detection, and forensic investigations in 5G security frameworks [89]. Prometheus is a widely used monitoring and alerting tool that collects and processes time-series data, including CPU utilization, memory consumption, and network packet throughput. When integrated with Kubernetes, it enables real-time performance monitoring of containerized network functions. Together with Grafana, Prometheus enhances security monitoring by offering advanced visualizations and real-time alerts for security incidents, including DDoS attacks and anomalous traffic patterns. These open-source platforms collectively enable robust simulation, monitoring, and security assessment of 5G network infrastructures. Their integration into research testbeds enhances the detection and mitigation of evolving cyber threats, significantly advancing intrusion detection and network security strategies.
5.1. Simulated Attack Types
Denial-of-Service (DoS) attacks remain a significant threat to modern networks, aiming to disrupt services through resource overload or deny legitimate user access [90]. These attacks, which may involve flooding or malicious content injection, exploit vulnerabilities across various network components—including nodes, devices, and applications. In 5G networks, the lack of robust security measures on user devices further amplifies these risks, underscoring the urgent need for effective intrusion detection systems. DoS and DDoS attacks can be broadly classified into volume-based, protocol-based, and application-layer attacks. Volume-based attacks inundate targets with overwhelming traffic, protocol-based attacks exploit weaknesses in network protocols, and application-layer attacks target specific services while often mimicking legitimate user behavior, which makes them particularly challenging to detect. Standard techniques include ICMP floods, UDP floods, SYN floods, HTTP floods, and slow-rate attacks (e.g., Slowloris, Slow POST). Port scanning is frequently employed as a preliminary step to identify potential vulnerabilities in network hosts, with methods such as SYN scans, TCP Connect scans, and UDP scans providing critical reconnaissance information for subsequent attacks.
This review systematically explores various DoS/DDoS attack methodologies, categorizing them and assessing their implications for network security. It highlights the necessity for robust detection and mitigation strategies by examining tools such as Hping3, Goldeneye, and Torshammer. Additionally, this study evaluates the use of 5Greplay—a tool capable of generating high-bandwidth traffic to simulate DoS/DDoS conditions—in conducting security assessments of 5G networks. In particular, the analysis focuses on the AMF component of the 5G-CN, which is notably susceptible to replay attacks, thereby emphasizing the critical role of comprehensive security evaluations in next-generation network infrastructures.
5.2. System Architecture
In [91], the proposed network architecture is designed to emulate various attack scenarios and rigorously assess network behavior under adverse conditions. Central to this design is a 5G-CN implemented via Open5GS, which supports multiple network functions. The simulation environment incorporates legitimate and compromised user devices—modeled using UERANSIM—to facilitate realistic emulation of attacks launched by malicious users and compromised servers. Attack vectors include General Packet Radio Service Tunneling Protocol (GTP-U) Denial-of-Service (DoS) attacks, attack request flooding, and PFCP-based attacks. The architecture incorporates a sophisticated monitoring framework that utilizes Prometheus and Loki for collecting and analyzing real-time metrics, ensuring precise detection and comprehensive analysis of these threats. This robust platform provides researchers and security professionals with the necessary tools to evaluate the resilience of 5G networks against a diverse array of attack vectors. The overall system architecture is illustrated in Figure 6.
Figure 6.
Architectural framework.
5.3. Comparison with Other Architectures
The 5GTN is an open innovation ecosystem for advancing research in 5G and beyond, with a strong emphasis on AI and cybersecurity applications. For dataset creation, the University of Oulu’s 5GTN site was employed [92]. The testbed incorporated several key elements to optimize data collection, including two Nokia Flexi Zone Indoor Pico Base Stations connected to both attacker nodes and benign traffic-generating devices. These components were interconnected via a Dell N1524 switch and additional network interfaces, including X2-C and S1-U. Attacker nodes were configured using Raspberry Pi 4 Model B devices running Ubuntu, which connected to the base stations through Huawei 5G modems. The comprehensive equipment setup for each base station, comprising attacker devices, benign user equipment, and a data capture PC, is depicted in the diagram below. The victim server was strategically positioned within a Multi-access Edge Computing (MEC) environment to effectively isolate the target, ensuring separation from the attacker network. Attack traffic was routed through the 5G network, thereby simulating realistic traffic flows and underscoring the potential for adversaries to infiltrate various 5G subnetworks. Figure 7 illustrates the deployment configuration of the NSA Option 3a, highlighting its key features and operational design.
Figure 7.
Testbed network architecture.
One of the distinguishing features of the 5G-NIDD dataset is its innovative approach to generating benign traffic. Rather than relying on simulated traffic—which can often misrepresent real network behavior—the 5G-NIDD dataset captures live traffic from actual mobile devices within an operational network environment. This authentic traffic encompasses benign and attack flows, with benign traffic comprising protocols such as HTTP, HTTPS, SSH, and Secure File Transfer Protocol (SFTP). For instance, HTTP and HTTPS traffic are sourced from live streaming services and typical web browsing activities. At the same time, SSH and SFTP traces are obtained by deploying genuine SSH clients and servers on mobile devices, enhancing the dataset’s diversity. Finally, this research utilizes the labeled 5G-NIDD dataset from a functional 5G test network comprising 85,112 samples, including Port Scans, DoS attacks, and regular traffic. With 60.72% normal and 39.28% attack traffic, this dataset supports binary classification for security model development through comprehensive data preprocessing and rigorous evaluation methods. These studies underscore the vital importance of robust NIDS, high-quality datasets, and adaptive machine learning (ML) models in enhancing next-generation communication networks.
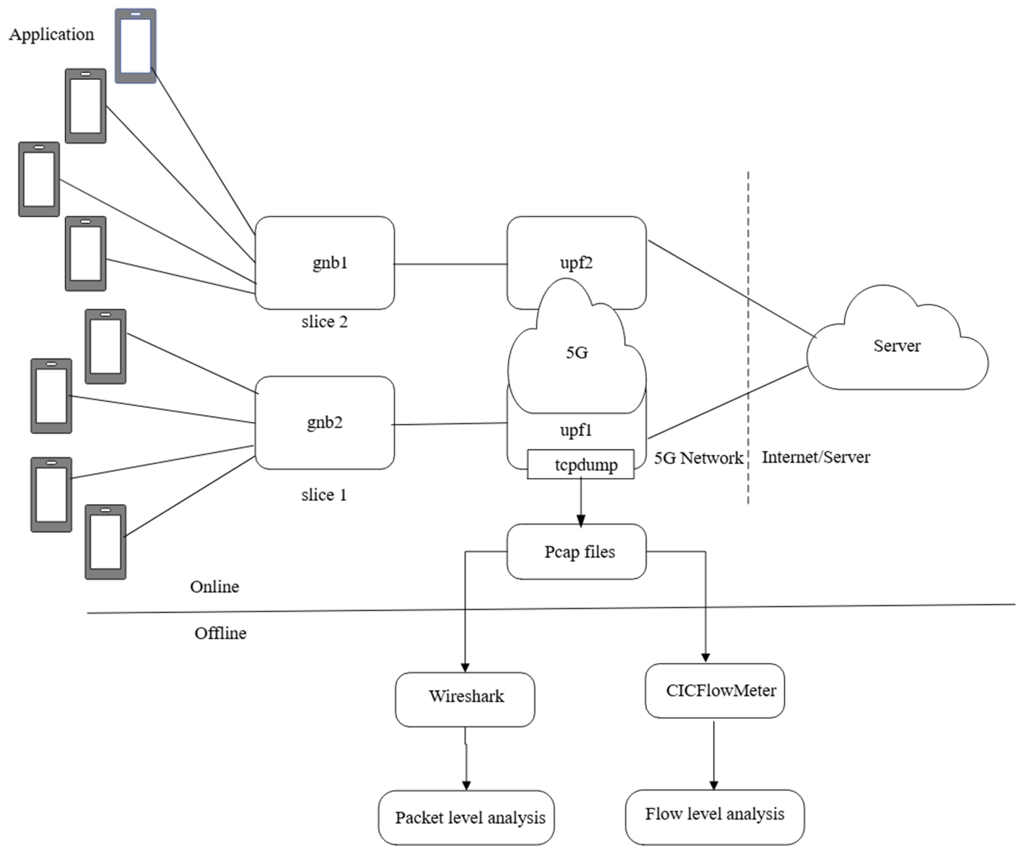
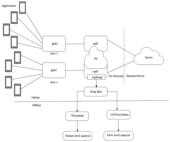
Research [93] leverages an extensive dataset generated within a controlled 5G testbed environment, which serves as the source domain. This dataset comprises six million flow-based instances from two network slices, encompassing both benign and malicious traffic types. The testbed, implemented using Free5GC and UERANSIM, simulates 5G network slicing with high fidelity. Benign traffic is generated through an automated Python-based headless browser script, which replicates various online activities, including streaming, file transfers, and general internet usage. In contrast, malicious traffic comprises eight DDoS attacks (e.g., UDP flood, TCP SYN flood), generated using the hping3 tool and converted into CSV format with CICFlowMeter for detailed flow-based analysis [94]. Figure 8 illustrates the network architecture of the 5G testbed environment, highlighting its key structural components and integration framework.
Figure 8.
Schematic of testbed network architecture.
The 5G-NIDD dataset is the target domain, derived from a real-world 5G testing environment that captures benign and malicious traffic [95]. Benign traffic includes protocols such as HTTP, HTTPS, SSH, and SFTP, while malicious traffic comprises various DoS attacks (e.g., ICMP flood, HTTP flood) and scan attacks (e.g., SYN scan). Notably, 5G-NIDD contains fewer flow samples than the source dataset, making it particularly suitable for DTL applications. Initially, the dataset is processed with CICFlowMeter to extract 84 traffic features. Subsequent feature selection and optimization focus on attributes highly indicative of DDoS attacks. For example, Principal Component Analysis (PCA) identifies key features—flow duration and forward packet length—and reduces the dataset to eight significant features [96]. Any irregularities, such as infinite values, are removed or converted to NaN to ensure a clean and consistent dataset for model training and evaluation. The data are then reshaped to match the one-dimensional input DL models require. To address the class imbalance, the number of attack traffic samples is downsampled to roughly one-eighth that of benign samples, and random shuffling is employed to create representative and unbiased subsets. Feature normalization is performed using StandardScaler from the sklearn library, standardizing features to have a mean of zero and a standard deviation of one, eliminating bias toward larger-scale features, and maintaining uniformity across training and testing sets.
Finally, the dataset is split into 80% training and 20% testing subsets, with stratification to ensure balanced class distributions across splits. This strategy facilitates the evaluation of realistic models and preserves consistency between the source and target datasets. The Maximum Mean Discrepancy (MMD) metric is used to quantify the difference between these datasets, with a calculated MMD score of 0.2605 indicating a moderate level of dissimilarity—an essential consideration for DTL scenarios.
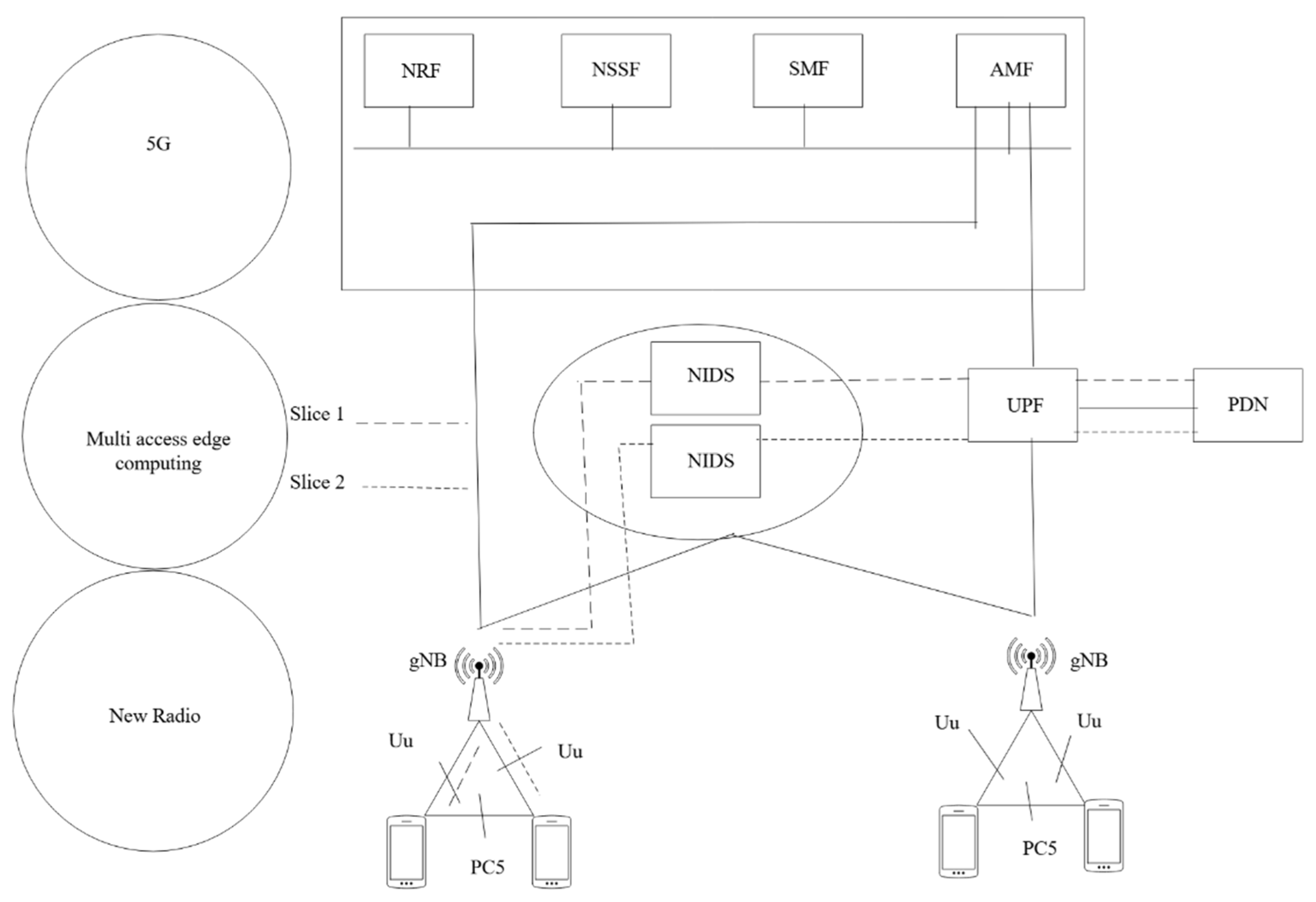
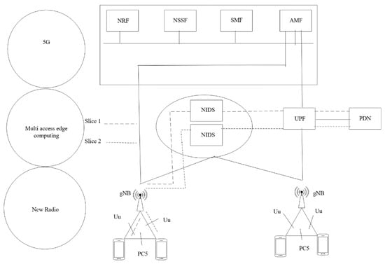
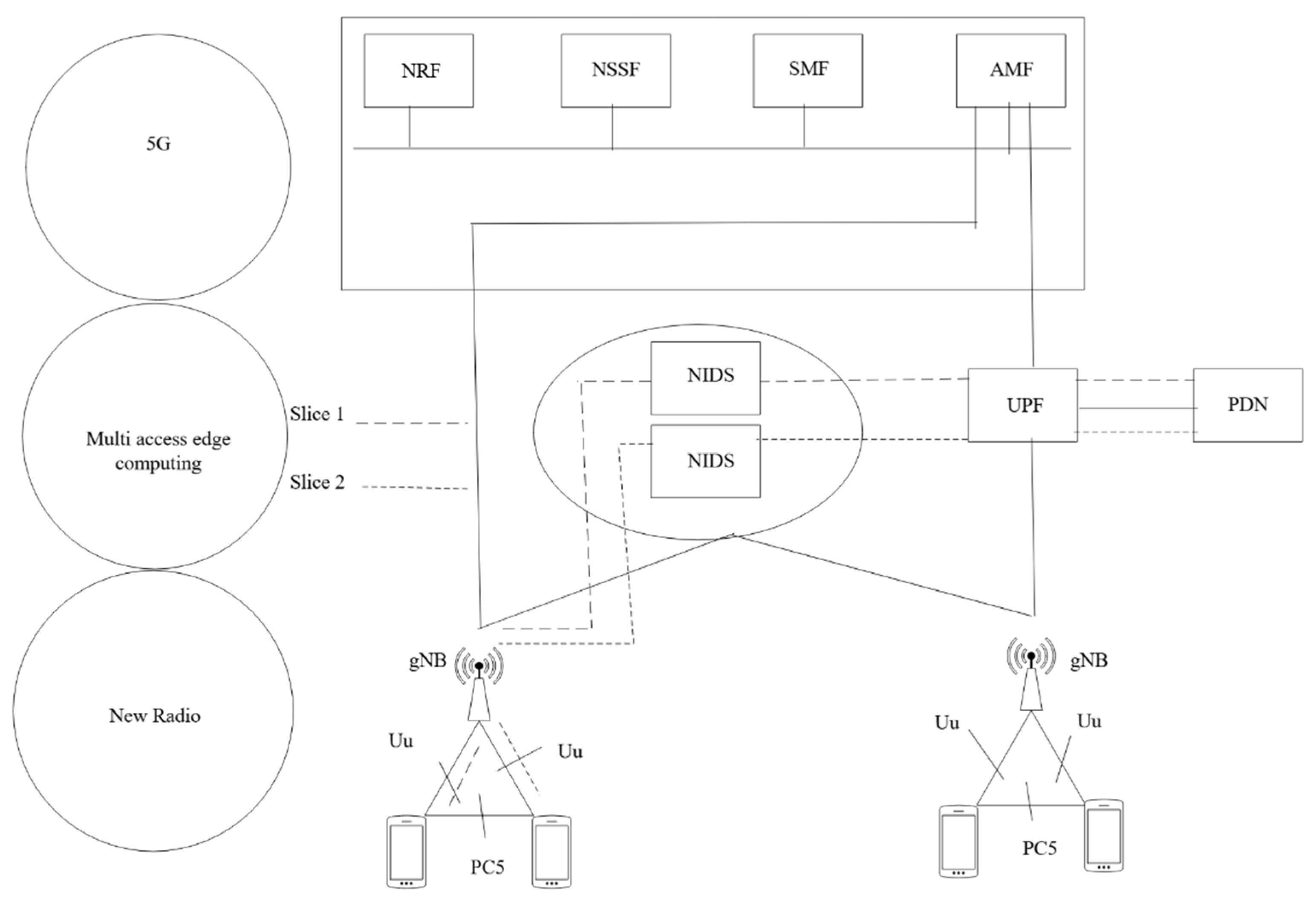
The proposed framework [97] is specifically designed for the 5G V2X network, optimizing intrusion detection in connected and autonomous vehicles (CAVs). Figure 7 illustrates the network architecture considered for deploying a NIDS. In this architecture, CAVs communicate with gNodeB via the Uu interface, while the PC5 sidelink interface facilitates direct vehicle-to-vehicle data exchange. Given the dynamic nature of V2X networks, each vehicle can participate in multiple network slices based on application-specific requirements. To enhance security, deploying an IDS within each slice as a Network Virtualization Function (NVF) on edge devices is proposed. The IDS training process follows a two-stage approach: first, SSL pre-training is conducted independently on each edge device, followed by model aggregation on a centralized cloud server. Subsequently, a task-specific fine-tuning phase utilizing a small set of labeled data is performed on the cloud. Upon completion of both training phases, the optimized IDS models are deployed as NVFs on edge devices to continuously monitor network traffic. Furthermore, deploying an IDS within a MEC environment significantly reduces the computational and energy burden on CAVs, enabling them to allocate resources to other critical functions while ensuring robust network security. Figure 9 presents the NIDS deployment in MEC environments.
Figure 9.
Fifth-generation network architecture for NIDS deployment in MEC environments.
The Trust-Aware Intrusion Detection and Prevention System (TA-IDPS) [98] is designed to enhance security in 5G cloud-enabled Mobile Ad Hoc Networks (MANETs). This architecture comprises mobile devices, cloudlets, cloud servers, and a Trusted Authority (TA). Mobile devices are organized into clusters, each managed by a Cluster Head (CH) selected through the Moth Flame Optimization (MFO) algorithm, which considers factors such as node degree, residual energy, distance, RSS Indicator, trust value, and mobility. The TA authenticates nodes using an ultra-lightweight symmetric cryptographic technique suitable for resource-constrained environments. Data packets are classified by the CH using a Deep Belief Network (DBN) into categories: normal, malicious, or suspicious. Normal packets are routed using an Adaptive Bayesian Estimator for next-best forwarder selection, suspicious packets undergo further analysis by a Peek monitor employing Awad’s Information Entropy, and malicious packets are discarded, with the originating node excluded from the network. Cloudlets aggregate and verify packets from CHs before forwarding them to cloud servers. Performance evaluations using the NS3 simulator indicate that TA-IDPS outperforms traditional methods across various metrics, including detection rate, FPR, detection delay, packet delivery ratio, energy consumption, throughput, routing overhead, and end-to-end delay. Figure 10 shows the TA-IDPS architecture for 5G cloud-enabled MANETs.
Figure 10.
TA-IDPS system design for 5G cloud-connected MANETs.
The simulations [99] were conducted in a VM (Virtual Machine) running Ubuntu 20.04.5 LTS with an Intel Core i5-8300H (four cores, 2.3 GHz) and 8 GB RAM, utilizing NS-3 with the 5G-LENA module to model 4G, 5G, and V2X communication. The nr module, a “hard fork” of the mmWave simulator, enabled physical and medium access control layer simulations. SUMO was used to model traffic, generating four maps based on Lisbon, Portugal, with varying vehicle counts and attack scenarios. The maps included 45, 45, 70, and 100 vehicles, with attacker counts of 2, 4, 7, and 9, respectively. Simulations lasted 230 s, with packet exchanges beginning at second 170 via multicast address 225.0.0.0.
The dataset included features such as time (timestamp), txRx (transmission/reception), nodeId, IMSI, srcIp, dstIp, packetSizeBytes, srcPort, dstPort, pktSeqNum, delay, jitter, coord_x, coord_y, speed, and attack (class 0: benign, class 1: malicious).
For intrusion detection, scikit-learn was used (v1.1.1). The first phase involved DTs, trained on four datasets with different attacker numbers, evaluated using 10-fold cross-validation across tree depths {2–55}, prioritizing F1 score due to class imbalance. The second phase utilized RF and MLP, trained on three datasets and tested on the fourth, using GroupKFold cross-validation. RFs were optimized over tree depths {2–10} and tree counts {10–50}, while MLP was tuned for batch sizes {32, 64}, hidden layers {(10,2), (20,2)}, optimizers (“adam”, “sgd”), and activation functions (“tanh”, “relu”). This approach enhances intrusion detection in 5G vehicular networks. Figure 11 describes the architecture used for the simulation.
Figure 11.
Basic framework.
Table 12 compares and highlights the approaches to attack detection, network setups, and methodologies used in the four architectures. Each architecture employs unique techniques to simulate, detect, and evaluate attack scenarios in 5G-and-beyond networks.
Table 12.
Comparison of network architecture for 5G attack detection.
6. Knowledge Discovery in Databases (KDD)
The KDD process is a systematic and iterative approach used to identify meaningful patterns in data, enabling insightful event interpretation and predictive analysis [100]. This process consists of several key phases: data collection, preprocessing, reduction, mining, and interpretation. Data collection involves acquiring raw data from various sources to address specific analytical challenges. Preprocessing ensures data quality by cleaning, organizing, and addressing noise, outliers, and missing values while extracting relevant features to enhance data structuring. Data reduction improves computational efficiency through feature selection and dimensionality reduction. In the data mining phase, ML and analytical techniques are applied to extract patterns, with algorithm selection tailored to the problem requirements and dataset characteristics. Finally, the interpretation and evaluation phase assesses the performance of data mining models, visualizing results to facilitate informed decision-making.
In NIDS, the KDD process begins with the acquisition of network data, followed by preprocessing, which structures raw network traffic into organized records. Data reduction techniques may be applied to enhance computational efficiency. The data mining phase then identifies intrusion patterns, while system performance is evaluated using key metrics such as detection and false alarm rates. The hierarchical nature of network infrastructure influences data visibility in NIDS. CN nodes offer a broad detection scope but require high processing throughput due to the large data volumes they handle. In contrast, lower-level network devices capture localized traffic with reduced noise but offer limited coverage [101].
Network data collection can be performed through various methods. Raw packet capture retrieves complete network packets, including headers and payloads, providing comprehensive insights into traffic. However, this approach requires significant storage and processing resources. Tools such as Tcpdump and Gulp facilitate this method, although challenges arise from encrypted traffic and protocol variability [102]. An alternative is flow-level data collection, where related packets are aggregated into flows based on shared attributes, such as IP addresses and ports. This method significantly reduces the data volume while preserving the essential characteristics of network activity. However, it may exclude payload details, and flow sampling is often used in high-traffic environments to manage computational constraints. To overcome the limitations of single-point data collection, distributed data collection aggregates traffic data from multiple network points before central analysis. This strategy enhances visibility and detection accuracy by integrating diverse traffic sources.
By systematically applying the KDD process and leveraging a combination of packet-level and flow-level data collection, NIDSs can enhance cybersecurity outcomes through advanced traffic analysis and adaptive analytics [103]. Figure 12 illustrates the iterative KDD framework in NIDS, highlighting stage-wise outcomes and adaptive feedback mechanisms for continuous refinement.
Figure 12.
Illustration of the iterative KDD process for NIDS.
6.1. Data Cleaning and Feature Transformation in NIDS Preprocessing
The preprocessing stage in NIDS is critical for handling data heterogeneity, reducing noise, and enhancing detection accuracy. The feature vectors used in intrusion detection contain discrete and continuous attributes, necessitating transformation to ensure compatibility with data mining algorithms. The presence of noise, such as missing values and outliers, can significantly degrade the performance of learning models. To mitigate these effects, techniques like Mahalanobis distance-based outlier detection and feature thresholding are commonly employed [104]. Additionally, categorical data must be converted into numerical representations to facilitate processing by ML models. Various encoding strategies, including number encoding, one-hot encoding, and frequency encoding, are utilized—each presenting distinct trade-offs between dimensionality and predictive accuracy. Furthermore, ensuring numerical feature comparability is crucial for model stability, as techniques such as min-max normalization, standardization, and logarithmic transformation are applied to enhance convergence and minimize biases.
Discretization is pivotal in simplifying continuous attributes and improving algorithm efficiency and interpretability. Traditional approaches, such as equal-width discretization, equal-frequency discretization, K-means clustering, and entropy minimization discretization, segment continuous data into discrete intervals to optimize computational efficiency. However, more advanced methodologies, including dynamic K-means clustering, remain underexplored despite their adaptability to dynamic network environments [105].
Given the vast and often redundant feature sets in NIDS, dimensionality reduction is crucial for eliminating irrelevant variables, reducing computational costs, and enhancing detection accuracy. Feature reduction techniques can be categorized into three primary approaches: manual feature removal, feature subset selection, and feature projection. Feature subset selection methods, including wrapper, filter, and embedded techniques, enable the identification of the most relevant attributes. Meanwhile, feature projection methods such as Principal Component Analysis (PCA), Independent Component Analysis (ICA), and Autoencoder (AE) transform data into a more compact and informative representation. Despite the effectiveness of these techniques, challenges remain, including selecting optimal feature subsets and addressing concept drift in evolving network environments. Further research is required to refine these methodologies and ensure robust feature engineering in NIDS.
6.2. Data Acquisition and Processing
The research [106] outlined a comprehensive multi-stage data collection and processing process aimed at developing a high-quality dataset for ML analysis in the context of IDS. The data collection took place over two days, focusing on both attack and benign traffic at two separate base stations. Attack sessions were captured in pcap format, with port scan activities lasting 10 min and DoS attacks spanning 30 min. Notably, there was a 5 min overlap during which both attacks were executed simultaneously. Concurrently, benign traffic was continuously captured throughout the data collection period.
The initial postprocessing step involved removing the GTP-U layer using Tracewrangler, as it is specific to LTE and 5G networks. Subsequently, the Argus tool [107] was employed to convert packet-based data into a flow-based format, aggregating packets with common attributes to streamline the data, reduce its size, and facilitate subsequent analysis. This process resulted in the extraction of 112 features, including key parameters such as packet size and source/destination IP addresses.
Appropriate labels were assigned to distinguish between benign and attack traffic, with unique labels for each attack type [108]. The data from both base stations were then merged, yielding 1,215,890 flows. The feature selection phase utilized Pearson correlation and ANOVA F-score techniques to identify the top 25 most relevant features, eliminating redundant and highly correlated variables. Z-score normalization was applied to standardize the dataset, ensuring that all features contributed equally by rescaling the data to have a mean of zero and a variance of one [109].
The processed dataset was made available in multiple formats, including pcap, Argus, and CSV, and was organized by session for ease of use. It was subsequently uploaded to the IEEE DataPort platform [110] for broader access. To safeguard against data leakage during preprocessing, the dataset was split into training and testing sets before any transformations were applied. Crucially, all preprocessing steps, including feature scaling, encoding, and selection, were independently applied to the training and test datasets to ensure unbiased model evaluation and to promote the generalizability of the results. This meticulous methodology resulted in creating a dataset well suited for machine learning-based Intrusion Detection Systems (IDSs), providing robust and high-quality data for model training and testing.
6.2.1. Data Transformation
Within the 112 extracted network flow features, some were categorical, which are not inherently interpretable by ML algorithms. To facilitate their numerical representation, one-hot encoding—a standard preprocessing technique—is applied. This approach transforms a categorical variable with distinct categories into binary variables, where each observation is assigned either 0 or 1, signifying the absence or presence of a specific category. To implement this transformation efficiently, a custom Python script is utilized, ensuring seamless integration with the ML pipeline.
6.2.2. Correlation Coefficient
To enhance the quality of the dataset, redundant features—those exhibiting the same relationship with the output label—were identified and removed. Retaining multiple highly correlated features introduces redundancy without contributing additional information. Therefore, only one representative feature from each redundant group was maintained. This selection process was based on the Pearson correlation coefficient, a statistical measure that quantifies the linear dependence between two variables. The correlation coefficient ranges from −1 to +1, where +1 indicates a strong positive correlation, −1 signifies a strong negative correlation, and 0 represents no correlation. The mathematical representation of Pearson correlation is given in Equation (1):
To assess relationships between features, pairwise correlation coefficients were computed. Since both strong positive and strong negative correlations indicate a significant relationship, absolute correlation values were considered. A threshold of 0.90 was set to identify highly correlated feature pairs. Within each correlated pair, the feature with the weaker association with the target variable was removed to optimize the feature set.
Following the elimination of redundant features, the ANOVA F-value was utilized to determine the most influential features for classification. This approach was consistently applied to both binary and multiclass classification tasks, ensuring that the feature selection process effectively reduced dimensionality while preserving the predictive quality of the dataset.
6.2.3. ANOVA Statistical Evaluation
Given that the dataset [111] consists of numerical input variables and the objective is to classify the final output, the ANOVA F-score was selected as an effective method for feature ranking. This statistical technique determines the importance of each feature by analyzing the ratio of inter-group variance to intra-group variance, thereby identifying the most significant attributes for classification.
To compute the necessary variances, the following expressions were used:
The variance across different groups was estimated as given in Equation (2):
Similarly, the variance within each group was calculated using Equation (3):
Using these computed variances, the ANOVA F-score was determined as follows in Equation (4):
where represents the mean of the group, is the number of samples in that group, denotes the overall mean of the dataset, indicates the number of groups, is the total number of observations, and corresponds to the observation in the group.
The ANOVA test was conducted using the scikit-learn library to compute the F-scores for each feature relative to the target variable. Features with lower F-scores were considered less relevant and removed. The top 25 features were then selected for both binary and multiclass classification, ensuring that only the most significant attributes were retained to enhance model performance.
6.2.4. Data Standardization
Minimizing training time is a critical factor in evaluating the efficiency of an IDS. Standardizing data before training the ML model plays a key role in optimizing performance by ensuring that no single feature disproportionately influences the learning process. This process involves scaling values to a predefined range, thereby preventing larger values from dominating smaller ones during model training. Z-score normalization is employed, as given in Equation (5), which transforms the data using its mean and standard deviation, resulting in a standardized dataset with a mean of zero and a variance of one. This ensures that all features contribute equally to the model training process, improving convergence speed and overall performance.
6.3. Data Mining Stage
The data mining phase in the KDD process plays a pivotal role in detecting patterns and identifying intrusions within network traffic. NIDSs are broadly classified into misuse-based, anomaly-based, and hybrid detection systems. Misuse-based NIDSs leverage predefined attack signatures and are highly effective against known threats, employing SL algorithms such as NNs, SVM, KNN, and DTs. However, these systems require continuous updates to detect emerging variants of attacks. In contrast, anomaly-based NIDSs model normal network behavior and flag deviations as potential threats, typically relying on USL techniques. While they exhibit superior capabilities in identifying zero-day attacks, their susceptibility to high false alarm rates remains a critical challenge. Hybrid NIDSs integrate both approaches to achieve an optimal balance between detection accuracy and adaptability.
Detection methodologies can be categorized into SL, USL, and SSL approaches. SL relies on fully labeled datasets, ensuring high detection accuracy, but this requires extensive data annotation efforts. USL is particularly valuable for detecting novel and unknown attacks, as it does not depend on labeled datasets but often suffers from lower accuracy. SSL offers a compromise by utilizing a limited amount of labeled data to enhance the robustness of detection models. While misuse-based NIDSs require frequent signature updates, anomaly-based systems must address the challenge of high FPRs [112]. The effectiveness of NIDSs is significantly influenced by the selection of learning paradigms, where full SL provides high precision but entails substantial annotation costs. In contrast, USL and SSL methods introduce adaptability, making them particularly suited for evolving cyber threats. Future research directions should focus on enhancing adaptability, minimizing dependency on labeled data, and optimizing the trade-off between detection accuracy and computational efficiency.
Another critical consideration in NIDS learning models is the distinction between batch and incremental learning approaches. BLM is well suited for static network environments but struggles with evolving attack landscapes, necessitating frequent retraining. Conversely, incremental learning continuously updates models, enabling real-time adaptation to dynamic network traffic. While incremental learning enhances responsiveness, it is inherently more noise-sensitive and may require additional computational resources. A promising direction for scalable and adaptive NIDSs is the development of hybrid learning frameworks that integrate both batch and incremental strategies—leveraging BLM for initial training and incremental updates to ensure ongoing adaptation. Such hybrid paradigms can significantly improve the scalability, adaptability, and real-time threat detection capabilities of NIDSs in highly dynamic environments [113].
6.4. Performance Assessment
The evaluation stage of NIDSs plays a pivotal role in assessing the effectiveness of the preceding stages by considering various factors such as detection accuracy, complexity, adaptability, interpretability, and security. Among these, predictive performance metrics are the most frequently reported, providing quantifiable measures for comparing different NIDS approaches. While computational complexity has a significant impact on real-world deployment, few studies offer comprehensive evaluations. Most assessments focus solely on the computational cost of the data mining algorithms, often overlooking other critical factors such as data preprocessing, implementation choices (e.g., programming languages, libraries, compilers), and runtime environments. A holistic evaluation of these elements necessitates a controlled experimental setup, which remains an open challenge in NIDS research.
6.4.1. Evaluation Technique
NIDS performance is often assessed using cross-validation (CV) in BLM settings, where the dataset is randomly divided into multiple folds, and the performance is averaged across multiple iterations. However, CV is less suitable for incremental learning due to its assumption of independent and identically distributed (i.i.d.) samples, disregarding temporal dependencies and concept drift in network traffic. Alternative frameworks, such as incremental cross-validation and prequential evaluation, address these limitations by progressively evaluating models as new data become available. The prequential evaluation compares predictions against actual labels before updating the model, ensuring that performance estimates remain dynamic. A k-fold prequential evaluation approach further enhances robustness by combining both methods.
Several performance metrics, summarized in Table 13, are used to evaluate the predictive capability of NIDS, which is often referred to by different names in various studies. Key metrics, such as Detection Rate (DR), True Negative Rate (TNR), Accuracy, and Precision, should ideally approach 1, indicating strong performance. Conversely, the FPR and False Negative Rate (FNR) should be minimized, as they represent failure rates.
Table 13.
Key performance metrics extracted from the confusion matrix [113].
6.4.2. Challenges in Incremental Evaluation Technique
The Receiver Operating Characteristic (ROC) curve illustrates the trade-off between the True Positive Rate (TPR) and the False Positive Rate (FPR) across different decision thresholds, with the Area Under the Curve (AUC) used to assess overall performance. In NIDS research, DR and FPR are key metrics, where an effective IDS aims to maximize DR while minimizing FPR. A significant challenge in incremental evaluation is the high initial error rates resulting from model immaturity and performance degradation due to concept drift. To mitigate this, forgetting mechanisms, such as sliding windows and fading factors, help models adapt by prioritizing recent data. A study [114] emphasizes the need for robust evaluation methodologies to ensure the effectiveness of NIDSs in dynamic and imbalanced network conditions.
6.4.3. Attacks and Impact Analysis
The NAS SMC Replay Attack in the 5Greplay system is implemented through two configuration files, 5greplayudp.conf and 5greplaysctp.conf, which facilitate testing under various network protocols. A pre-captured pcap file (ue_authentication.pcapng), which records the UE-AMF authentication dialogue, is processed for analysis. This enables the examination of the NAS SMC packet and verifying whether it is appropriately filtered and forwarded. Tools like Wireshark or tcpdump can be used further to evaluate the effectiveness of filtering and forwarding rules.
Analysis of Open5GS AMF logs, after injecting high-bandwidth traffic through the UE, revealed that the AMF crashed due to its failure to decode Next-Generation Application Protocol (NGAP) messages, disrupting communication with other network components. Warnings regarding Abstract Syntax Notation and NGAP–Protocol Data Unit decoding failures indicated potential data corruption, which can lead to network instability. The attack also caused errors in all UEs connected to the AMF, resulting in connectivity disruptions and delays. UEs attempting to reconnect encountered public land mobile network selection failures and struggled to find a cell, resulting in repeated connection attempts and further instability. This highlights the urgent need for enhanced mechanisms in 5G CNs to handle traffic surges and ensure reliability.
DDoS attacks launched by an attacker UE had two significant impacts on the network: network connection disruptions for the victim UEs, impairing their communication ability, and delays in connectivity, which affected data transmission speeds and overall network performance. Log analysis revealed critical issues, including cell selection failures, which indicated the network’s inability to establish connections, and a lack of response from Radio Resource Control (RRC), signaling a communication breakdown between devices and control units. These disruptions underscore the vulnerabilities of 5G networks to cyberattacks, compromising normal operations and leading to failed connections and communication failures.
6.4.4. ML Models and Performance Evaluation
The study by [115] trained 13 ML models, including linear classifiers (LR, LDA), nonlinear models (SVM, NNs), ensemble methods (RF, GB), and a Voting Classifier. These models were tested on a preprocessed dataset using default parameter settings. Performance was evaluated using accuracy, precision, recall, F1-score, ROC, AUC, and execution time, each providing insights into the model’s effectiveness. Execution time was significant for real-time applications. Table 14 describes various machine learning (ML) algorithms, including decision trees (DTs), random forests (RFs), K-Nearest Neighbors (KNN), Naive Bayes (NB), and multilayer perceptrons (MLPs), which were optimized through hyperparameter tuning using a grid search.
Table 14.
Key ML algorithms for IDS.
For binary classification, a 70-30 train–test split was used to distinguish between malicious and benign traffic. The experiments tested different feature sets (5, 10, 15, 20, 25), and the top 10 features delivered optimal accuracy and computational time performance. A 70-30 train–test split was used for binary classification, distinguishing malicious from benign traffic. The top 10 features provided optimal accuracy and computational efficiency. For multiclass classification, detecting nine attack types (e.g., HTTP flood, ICMP flood, SYN flood), the top 10 features also yielded the best performance.
RF detected malicious traffic with fewer FNs, while DT minimized FPs. NB was the fastest in training but performed poorly in classification. MLP showed slightly better accuracy but had longer training times. KNN had longer prediction times than training. Confusion matrix analysis revealed that UDP flood and UDP scan were misclassified as benign, whereas HTTP flood and slow-rate DoS attacks were often misidentified. The results suggest that RF and MLP performed best, while NB was the least suitable for this classification task.
6.4.5. Evaluation of DL Models
This research examines the performance of several deep learning (DL) models, specifically BiLSTM- and CNN-based architectures (including CNN, ResNet, and Inception), in DDoS detection for 5G networks. The models were developed using Keras, a Python library built on TensorFlow. They were trained on various platforms, including Google Colaboratory, Compute Canada, and a local laptop with an Intel Core i7 processor and 16 GB of RAM. The source and target datasets used in the experiments consisted of eight features and binary labels for the attack and benign categories. The data were split into 80% for training and 20% for testing, with a 0.2 validation split. Hyperparameter optimization was conducted through trial and error, focusing on the learning rate, number of convolutional layers, L2 regularization strength, and dropout rate, significantly impacting model performance. The Adam optimizer was employed with a learning rate of 1e-5, and the models were trained for 200 epochs, with early stopping implemented to prevent overfitting.
The empirical evaluation demonstrated that the BiLSTM model consistently outperformed CNN-based models (including ResNet and Inception) across most metrics. In particular, the BiLSTM model achieved superior results on the custom dataset, attaining an accuracy of 98.74%, a recall of 97.90%, a precision of 99.62%, and an F1-score of 98.75%. This was accompanied by relatively short inference times on both CPU and GPU. Inception, although slightly slower, also demonstrated strong performance, particularly in terms of accuracy and F1 score. ResNet and CNN performed well but were somewhat less effective in comparison. This study further evaluated model performance on the 5G-NIDD dataset, with the BiLSTM model showing substantial improvements over the baseline across various DTL scenarios.
BiLSTM models consistently demonstrated superior performance across various metrics, particularly in terms of recall and F1-score. Inception excelled in precision. These findings guide model selection based on specific task requirements and emphasize the importance of DTL strategies in enhancing model performance for practical applications in 5G network security.
The Consumer-Centric Internet of Things (CIoT) is a key enabler of Industry 5.0, yet its widespread adoption introduces significant security challenges. Recent studies have explored federated learning (FL) for privacy-preserving intrusion detection in IoT; however, many existing models rely on outdated datasets, fail to cover diverse attack scenarios, and exhibit limitations in classification performance. To address these gaps, a study [54] developed Federated Deep Learning (FDL) models using three recent datasets, enabling both binary and multiclass classification. The findings demonstrate that FDL achieves high accuracy (99.60 ± 0.46%), precision (92.50 ± 8.40%), recall (95.42 ± 6.24%), and F1-score (93.51 ± 7.76%), performing on par with centralized deep learning models. Moreover, FDL significantly improves computational efficiency, reducing training time by 30.52% to 75.87% through distributed local training.
To evaluate model robustness, three distinct threat models relevant to CIoT are considered. Using the X-IIoTID dataset, FDL effectively detects nine major cyber threats, including reconnaissance, weaponization, exploitation, lateral movement, command and control, exfiltration, tampering, crypto-ransomware, and ransom denial of service. Attackers exploit vulnerabilities through port scanning, brute-force attacks, MITM intrusions, and unauthorized data exfiltration. The Edge-IIoTset dataset further validates the model’s ability to detect information gathering, DoS/DDoS attacks, MITM attacks, injection attacks, and malware threats, with adversaries leveraging TCP/UDP flooding, SQL injections, and malware propagation techniques. Similarly, the WUSTL-IIoT-2021 dataset confirms the effectiveness of FDL in identifying reconnaissance attempts, command injection attacks, DoS attacks, and backdoor intrusions in IIoT environments.
By integrating DL with decentralized training, the proposed FDL framework offers a scalable, privacy-preserving, and computationally efficient solution for securing CIoT ecosystems. The results highlight its potential in proactively identifying cyber threats, reducing computational burdens, and enabling real-time threat mitigation. Future work will focus on enhancing model interpretability, strengthening adversarial robustness, and adapting FDL to emerging attack vectors to ensure resilient security in Industry 5.0.
6.4.6. Comparative Model Analysis
This study highlights the overall robustness of BiLSTM in performance across several metrics. Figure 13 illustrates the performance metrics of a model during training and validation over 200 epochs. Through key indicators such as accuracy, loss, and convergence trends, the model demonstrates its learning development and detection strength in identifying intrusions.
Figure 13.
Training and validation accuracy (%) using the 5G-NIDD dataset.
7. Challenges and Limitations of the NIDS
Cybercriminals have developed increasingly sophisticated techniques to evade detection by NIDSs. Among these, evasion strategies such as fragmentation, flooding, obfuscation, and encryption present significant challenges to existing detection mechanisms. In fragmentation attacks, packets are deliberately split into smaller fragments that are reassembled at the IP layer before reaching the application layer. However, attackers can manipulate this process using fragmentation overlap, overwriting, and exploiting timeouts to modify or replace information within the reassembled packet, thereby embedding malicious payloads that escape detection. On the other hand, flooding attacks overwhelm NIDSs by saturating the network with excessive traffic. By generating massive amounts of spoofed User Datagram Protocol (UDP) and Internet Control Message Protocol (ICMP) traffic, attackers not only mask their malicious activities within the flood but potentially degrade the performance or cause outright failure of the NIDS. Obfuscation techniques further complicate detection by modifying the appearance of malicious code—through methods such as hexadecimal encoding, unicode manipulation, or double encoding—while preserving its underlying functionality. This alteration makes it considerably harder for detection systems to analyze or reverse-engineer the attack signatures.
Encryption represents another formidable evasion strategy, enabling malware authors to conceal malicious activities within encrypted traffic, such as HTTPS communications. Because encrypted content cannot be quickly inspected against known signatures, traditional content-based malware detection methods become ineffective, allowing attacks to remain hidden. These advanced evasion techniques underscore the urgent need for next-generation NIDSs that are robust against the evolving tactics employed by threat actors [120]. Despite extensive research efforts, NIDSs continue to grapple with several challenges. Achieving high detection accuracy while minimizing false alarms remains a persistent challenge, particularly in environments such as industrial control systems, where the combination of supervisory control and data acquisition hardware, along with control software, makes them prime targets for state-sponsored actors, competitors, malicious insiders, and hacktivists. Intrusion evasion detection remains a critical challenge; attackers frequently employ sophisticated methods to conceal their activities, complicating both signature-based and anomaly-based detection approaches. The effectiveness of an IDS ultimately depends on its ability to reconstruct original attack signatures or to generate new ones that can counter these modified attack patterns—a capability that many current systems lack, especially when confronted with encryption-based attacks.
DL techniques have emerged as a promising solution for NIDS, particularly when handling large and complex datasets. However, the application of deep learning (DL) in this context presents its own set of challenges. The high cost and extensive effort required for data labeling, as well as the significant computational resources needed for training deep models, pose substantial barriers. Many existing DL-based solutions are trained on outdated datasets, such as KDD Cup ‘’99 and NSL-KDD, which, although yielding strong results in controlled settings, struggle to generalize to modern, refined datasets. Moreover, detecting attacks with few training samples is further hindered by class imbalances, which reduce accuracy. A critical trade-off exists between model complexity and computational efficiency, as deeper models demand more time and resources. Emerging strategies, such as TL, FL, and edge computing, have been proposed to address these challenges; however, no single approach has proven universally effective. Despite these hurdles, research into DL-based IDSs remains vibrant, with ongoing efforts to enhance detection accuracy, mitigate computational demands, and improve the overall robustness of NIDSs against evolving cyber threats.
The IIoT connects vast networks of heterogeneous smart devices, enhancing automation with minimal human intervention. However, device vulnerabilities and network heterogeneity introduce significant security risks, making IIoT systems susceptible to various cyber threats. Security measures such as encryption, authorization control, and verification help protect network nodes. ML-based intrusion detection faces challenges due to diverse network traffic patterns.
To improve detection efficiency, the study [121] highlights the effectiveness of ensemble models combined with feature selection techniques for IIoT intrusion detection. The Chi-Square Statistical method enhances feature selection, while classifiers such as XGB, Bagging, Extra Trees, RF, and AdaBoost improve detection accuracy. Evaluating these models on the TON_IoT dataset demonstrates their potential to enhance IIoT security, highlighting the need for optimized feature selection and ensemble learning approaches to achieve more efficient and accurate intrusion detection.
8. Recent Trends, Future Research Directions, and Lessons Learned
Recent advancements in 5G NIDSs have highlighted both opportunities and challenges in securing next-generation communication networks. Analyzing existing 5G NIDS datasets has revealed critical insights into attack patterns, detection efficacy, and limitations of the datasets. This section highlights the strengths and shortcomings of current approaches, synthesizing key lessons learned from these analyses. Additionally, it explores emerging research directions aimed at enhancing the robustness, scalability, and real-time responsiveness of intrusion detection systems in dynamic 5G environments. By addressing these challenges, future research can drive the development of more adaptive and intelligent security solutions to safeguard 5G networks against evolving cyber threats. This section presents key lessons learned from analyzing 5G NIDS datasets and outlines future research directions to enhance intrusion detection systems for secure and efficient 5G networks.
8.1. Recent Trends
The evolution of NIDSs has been significantly influenced by advancements in AI and ML, leading to improved threat detection accuracy, adaptability, and response efficiency. While effective for known threats, traditional signature-based and rule-based detection methods often struggle with zero-day attacks and evolving cyber threats. In response, AI-driven approaches, mainly SL and USL-ML techniques, have demonstrated superior performance in anomaly detection and threat classification. SL models have shown high precision in identifying known attack signatures. At the same time, USL methods, such as clustering and PCA, excel at detecting previously unknown threats by analyzing deviations from normal network behavior.
A major challenge in traditional NIDSs has been the high rate of FPs, which can overwhelm security teams with unnecessary alerts. Recent research has focused on reducing false alarms by refining ML models to better distinguish between benign anomalies and actual threats. Hybrid approaches that combine SL and USL have proven particularly effective in addressing this issue, thereby enhancing the system’s ability to adapt to evolving attack patterns. Additionally, the integration of RL has enabled NIDSs to improve response times by automating threat mitigation strategies and reducing reliance on manual intervention. Real-time data processing frameworks, such as Apache Kafka and Apache Spark Streaming, have further enhanced the efficiency of NIDSs by enabling the rapid analysis of high-volume network traffic, thereby minimizing detection and response delays.
Privacy-preserving techniques are also gaining traction in modern NIDSs to address concerns about data security and regulatory compliance. FL has emerged as a promising approach, allowing multiple organizations to collaboratively train AI models without sharing sensitive data. This decentralized learning framework enhances cybersecurity while ensuring compliance with regulations, such as the General Data Protection Regulation. However, implementing privacy-preserving AI techniques often comes with a trade-off in detection accuracy, as noise introduced to protect data privacy can obscure critical threat indicators. Researchers are actively exploring methods to optimize this balance, ensuring security and high detection performance.
Another emerging trend in NIDSs is the push for XAI to improve the interpretability of AI-driven detection mechanisms. While DL models have demonstrated remarkable accuracy in intrusion detection, their black-box nature presents challenges in understanding and validating detection decisions. XAI techniques aim to provide transparency, enabling security analysts to interpret and trust AI-generated alerts. This is particularly important in mission-critical environments where explainability is crucial for decision-making and regulatory compliance [122].
8.2. Future Research Directions
Ensuring evaluation consistency in NIDSs is crucial for reproducible results, where variations in performance can be attributed to model effectiveness rather than differences in data selection. Maintaining fixed proportions for training and test sets across datasets ensures uniformity in evaluating model performance. However, introducing dynamic variability enables researchers to evaluate how changes in training conditions affect model adaptability and detection accuracy. Unlike traditional approaches that rely on static training sets, dynamic variability provides insights into how models learn and generalize under evolving network conditions. Additionally, adjusting test set sizes to fit the 5G-NIDD dataset facilitates a comprehensive analysis of adaptability and robustness, offering a more nuanced understanding of model performance in real-world scenarios. The use of multiple models further enhances benchmarking efforts, enabling the identification of the most effective approaches for intrusion detection. Performance improvements are expected as TL domains become more similar, addressing data limitations and optimizing training efficiency.
Despite the robustness of the 5G-NIDD dataset, its controlled nature presents certain limitations in assessing model generalizability. Future research should focus on integrating real-world datasets to validate model performance under diverse conditions, ensuring adaptability to dynamic network environments. Further optimization through advanced techniques such as parameter tuning, feature engineering, and hyperparameter selection will enhance detection capabilities. Exploring deep learning (DL) architectures, such as MLP, DenseNet, and UNet, holds promise for improving classification accuracy and computational efficiency. Extending these methodologies to broader cybersecurity challenges, including intrusion detection across different 5G network slices, will facilitate the development of more adaptive and resilient security mechanisms. Future research should also investigate the integration of NIDSs with emerging technologies such as FL, XAI, and blockchain to strengthen security frameworks. By advancing these areas, next-generation NIDSs can be designed to effectively mitigate evolving cyber threats in 5G and beyond.
As cyber threats become more sophisticated, the future of NIDS research is expected to focus on enhancing adversarial robustness, improving model interpretability, and integrating AI with other emerging technologies such as blockchain and quantum computing. AI-powered intrusion detection is increasingly seen as a vital component of modern cybersecurity frameworks, offering proactive defense mechanisms against evolving threats. However, balancing performance, interpretability, and privacy remains a critical challenge. Ongoing research and innovation in AI-driven Network Intrusion Detection Systems (NIDSs) will be essential for developing more resilient, scalable, and efficient intrusion detection systems that safeguard next-generation networks, including 5G and beyond.
8.3. Lesson Learned
- Lesson 1: Reflections on IDS Technologies
This review presents a comprehensive analysis of IDS methodologies, approaches, and technologies, emphasizing their strengths and inherent limitations in guiding the selection of optimal techniques. Pattern-based IDSs, although simple to implement and highly effective in detecting known attacks, struggle to identify zero-day threats, evasion-based intrusions, and polymorphic attack variants. Rule-based approaches offer the potential for detecting unknown attacks but suffer from the complexity of rule creation and continuous updates. Heuristic-based techniques, though independent of prior attack knowledge, impose high computational costs, making real-time deployment challenging. A holistic understanding of IDS mechanisms and application-specific requirements is essential for effective implementation. To facilitate this, an in-depth review of IDS frameworks is provided, supplemented by systematically structured tables and figures for a clear representation of key insights. Additionally, two prominent open-source tools are introduced to support IDS research and experimentation. With the increasing reliance on virtualization technologies, particularly in cloud computing, IDS considerations in virtualized environments have become crucial. As VMs serve as the primary interface for users, security vulnerabilities targeting VMs pose significant risks, necessitating advanced IDS strategies to address emerging challenges in virtualized infrastructures.
- Lesson 2: Evolving AI Strategies in Cybersecurity
AI-powered threat detection and cybersecurity research highlight the evolving role of artificial intelligence in addressing modern security challenges. ML and DL techniques are increasingly applied to detect network intrusions, identify anomalies, and counter adversarial attacks. A key focus in this field is improving the explainability and resilience of AI models, ensuring transparency and trustworthiness in security decisions, which is essential for user confidence and regulatory compliance. Additionally, enhancing the robustness of AI models against zero-day threats and sophisticated adversarial attacks remains a critical research priority. Applications of AI span various domains, including Industry 5.0, IoT, 5G networks, and autonomous systems, each presenting unique security challenges. Innovative detection techniques, such as transformer-based models for social media threat analysis and blockchain-integrated FL, demonstrate the potential for real-time threat detection and response. Furthermore, the adoption of collaborative and federated security approaches enables multiple entities to work together in strengthening cybersecurity across distributed networks and IoT environments. Despite these advancements, challenges persist, particularly in real-time data processing, large-scale data management, and ensuring privacy and security in AI models. Addressing these issues will be essential for the continued effectiveness and reliability of AI-driven cybersecurity solutions.
- Lesson 3: Enhancing 5G IoT Security
The rapid expansion of the IoT and the advent of 5G mobile networks present significant opportunities for advancing network cybersecurity research. This study addresses the comprehensive security of modern networks, emphasizing the necessity for IDSs to undergo extensive validation using big data from diverse devices. The findings underscore that ML techniques effectively automate intrusion detection processes, suggesting potential for further development. Future research directions include creating new datasets to capture contemporary network traffic patterns, as existing datasets may be outdated. Implementing real-time traffic monitoring systems is also crucial for promptly detecting threats. Applying ML approaches tailored explicitly to IoT environments can enhance security measures. Additionally, safeguarding ML systems against potential exploits is imperative, as attackers might leverage vulnerabilities to access sensitive information within 5G databases. Exploring semi-supervised ML models is recommended, given the scarcity of labeled data in many datasets. Investigating methods to detect adversarial attacks that cause misclassification of unknown attack types is essential for robust IDS development. Finally, adhering to communication and security standards in mobile applications is vital to ensure comprehensive protection across all network layers.
- Lesson 4: Ensuring Consistency in Evaluation
The first goal is to validate the reliability of the evaluation process by employing standardized sampling methods and predetermined training and test set sizes. This begins with gathering equal samples from both cyberattack types and benign cases to ensure a balanced sample distribution. This approach prevents bias toward a particular category during model training and evaluation. To ensure consistency, a fixed sampling technique is applied across all iterations, which are repeated five times using the same “random_state” values (42, 142, 12, 4, and 80).
- Lesson 5: Incorporating Dynamic Variability
In contrast, the second objective acknowledges the inherent unpredictability of cyberattacks by introducing dynamic elements into the experimental design. This involves using variable resampling techniques, unfixed training datasets, and evaluating model performance as input data changes. The primary aim is to simulate real-world conditions. IDSs must adapt continuously to emerging threats, assessing the models’ flexibility and resilience. While maintaining an equal sample distribution between attack and benign cases, the sampling method in each iteration is dynamic. Intrusion detection in cloud environments is becoming increasingly complex due to the vast amount of data generated and the evolving nature of threats. Key takeaways include the urgent need for IDS solutions to address zero-day vulnerabilities, the importance of adaptive architectures for dynamic cloud computations, and the potential of blockchain integration for enhanced security. Future IDSs must be adaptable to changing environments, scalable with cloud expansion, and capable of deploying additional VMs as needed. Advancing IDS technology is crucial for ensuring resilience and efficiency in modern cloud security [123].
- Lesson 6: Development of base models
BiLSTM- and CNN-based models, such as CNN, ResNet, and Inception, were applied to one-dimensional data to build foundational models using the proposed dataset as the source domain [124]. These models were selected for their proven success in similar research. This research investigates the performance of LSTM and CNN layers in feature generation, aiming to determine the most effective approach for the dataset.
- Lesson 7: Domain Transfer Learning (DTL) Strategies
The source and target domains involve similar categories (benign and attack) but vary in flow characteristics. Two main strategies for DTL are employed: (1) Strategy 1 focuses on freezing most layers while retraining only a subset, and (2) Strategy 2 involves removing the last layer, adding new layers, and retraining the model.
- Lesson 8: Freezing Layers and Selective Retraining
- DTL0: In this scenario, all layers except the last one are frozen, and only the final decision-making layer is retrained. This allows the model to retain the features learned during the initial training while adjusting the final output layer to the specific task.
- DTL1: This method freezes all layers except for the last 33%, which are then retrained. This enables deeper layers to adapt to the new task while maintaining the integrity of the initial feature extraction layers.
- DTL2: Similar to DTL1, the last 66% of layers are unfrozen and retrained. This scenario provides greater flexibility in adapting the model, allowing more parameters to be updated compared to DTL1.
These scenarios are based on prior empirical research using the ResNet architecture, which guided the selection of the 33% and 66% freezing percentages [55].
- Lesson 9: Removing Layers, Adding New Layers, and Retraining
- DTL3: In this scenario, all layers are frozen except for the last one, which is removed and replaced by a new layer initialized randomly. This modification ensures the model can adapt to the new task if the output structure differs from the original.
- DTL4: This is the same approach as DTL3, but two new layers are added instead of one. This increases the model’s capacity to learn more complex patterns and provides greater adaptability to the new task.
- DTL5: In this scenario, three new layers are added after removing the last layer. This offers the highest flexibility for adapting the model to tasks requiring significant modifications in output behavior.
Each strategy explores how varying the number of frozen and added layers impacts the model’s ability to adjust to new tasks, ensuring that the best possible approach is applied to the specific scenario.
- Lesson 10: Advancing Anomaly Detection with LSTM for Improved Network Security
Effective anomaly detection in computer networks requires robust feature selection and DL techniques. While RNNs have been widely used for time-dependent data, their reliability and speed limitations necessitate the development of alternative approaches. LSTM networks address these challenges by introducing memory blocks with self-connecting cells, mitigating the vanishing gradient problem and improving long-term dependency learning. Unlike RNNs, which rely on shared parameters over sequential time steps, LSTM utilizes three gating mechanisms to regulate data flow, enhancing its ability to capture both short- and long-term correlations in time-series data. The study [125] highlights the superiority of LSTM over traditional RNNs for intrusion detection, emphasizing its effectiveness in handling sequential dependencies and improving anomaly detection accuracy.
- Lesson 11: Choice of ML model
It depends on the ease of deployment. Complex models, such as neural networks (NNs), require extensive training, fine-tuning, and ongoing maintenance to adapt to evolving threats, demanding significant resources and expertise. Simpler models are easier to deploy and maintain but may require regular updates to remain effective, especially in dynamic threat environments. This study highlights that selecting the most suitable ML model involves balancing accuracy, computational efficiency, and ease of deployment based on the application’s specific requirements, dataset characteristics, and available resources. No single model performs optimally across all metrics; therefore, a careful and informed approach is necessary to ensure the effectiveness and reliability of NIDSs in 5G networks.
- Lesson 12: Integrating IDS, SDN Security, and ML
The study [126] highlights the critical interplay between IDSs, ML-based security models, and evolving SDN security challenges. The findings confirm that ZEEK and SNORT can operate synergistically, with SNORT actively detecting threats and ZEEK passively monitoring anomalies, enhancing network resilience against cyber threats. While deep packet inspection of SNORT enables proactive threat identification, extensive traffic logging of ZEEK strengthens forensic analysis. However, scalability concerns arise, as concurrent execution on multiple VMs induces system overheating, emphasizing the need for optimized resource allocation. The increasing adoption of SDN introduces vulnerabilities, particularly in the separation of control and data planes, making it susceptible to DDoS attacks. To counteract this, the proposed framework integrates an intelligent intrusion detection and prevention system that dynamically monitors TCP SYN requests, adapts detection thresholds, and employs real-time mitigation strategies through Open vSwitch flow validation. Additionally, an advanced ML-based model leveraging XGB demonstrates superior accuracy in identifying malicious traffic patterns, provided robust data preprocessing is performed to mitigate overfitting. Despite these advancements, limitations remain, as the framework primarily addresses flooding-based DDoS attacks and lacks coverage for low-rate, non-volumetric threats. Future research should focus on real-time training with live network traffic, exploring multi-feature authentication techniques, and refining ML-based threat classification to ensure adaptive, scalable, and intelligent cyber defense mechanisms. Ultimately, the fusion of IDS, adaptive detection frameworks, and AI-driven automation holds immense potential for fortifying modern networks against sophisticated cyber threats, necessitating continued innovation and refinement.
9. Conclusions
This review offers an in-depth analysis of 5G network security challenges and the critical role of Intrusion Detection Systems (IDSs) in mitigating these threats. It highlights the limitations of existing IDS frameworks and datasets, emphasizing the need for more reliable and representative data to enhance NIDSs. A robust testbed architecture integrated with the 5GTN platform has been discussed, enabling the generation of realistic datasets for improved evaluation of security solutions. Furthermore, this paper examines the effectiveness of various machine learning (ML) models and deep learning (DL) approaches for intrusion detection using the 5G-NIDD dataset, which provides a realistic representation of 5G network traffic, including both benign and malicious scenarios. This study assesses model performance under 5G network conditions, revealing that different models excel in specific metrics. BiLSTM significantly improved accuracy, recall, and F1-score, while Inception performed best in precision. These findings emphasize the importance of selecting models based on specific security requirements to enhance network intrusion detection. This study also highlights key evasion techniques employed by cybercriminals, including fragmentation, flooding, obfuscation, and encryption, which pose significant challenges to traditional Network Intrusion Detection System (NIDS) mechanisms.
Advancements in DL- and AI-driven approaches have significantly improved intrusion detection accuracy, adaptability, and response efficiency. The integration of SL and USL has reduced FP and enhanced threat classification, while hybrid models and real-time data processing frameworks have strengthened NIDS capabilities. AI-driven methods, including DL and hybrid models, have also proven effective in countering evasion techniques such as fragmentation, flooding, obfuscation, and encryption, which undermine traditional IDS mechanisms. Additionally, privacy-preserving techniques such as federated learning (FL) and explainable artificial intelligence (XAI) further enhance network intrusion detection in 5G and beyond, ensuring improved security and compliance with regulations.
Author Contributions
The manuscript was written through the contributions of all authors. Conceptualization, K.N.; methodology, K.N., A.L.I., C.-T.L. and C.-Y.W.; software, C.-T.L. and C.-Y.W.; validation, A.L.I., C.-T.L. and C.-Y.W.; formal analysis, A.L.I.; investigation, K.N. and A.L.I.; resources, C.-T.L. and C.-Y.W.; data curation, K.N.; writing—original draft preparation, K.N. and A.L.I.; writing—review and editing, K.N., A.L.I., C.-T.L. and C.-Y.W.; visualization, C.-T.L. and C.-Y.W.; supervision, A.L.I.; project administration, C.-T.L. and C.-Y.W.; funding acquisition, A.L.I. All authors have read and agreed to the published version of the manuscript.
Funding
This work was supported in part by the National Science and Technology Council in Taiwan under contract no.: NSTC 113-2410-H-030-077-MY2.
Data Availability Statement
No new data were created or analyzed in this study.
Acknowledgments
The authors acknowledge the anonymous reviewers for their valuable comments.
Conflicts of Interest
The authors declare no conflicts of interest.
List of Acronyms
| Abbreviation | Full Meaning |
| ML | Machine Learning |
| IDS | Intrusion Detection System |
| KNN | K-Nearest Neighbors |
| ROC | Receiver Operating Characteristic |
| AUC | Area Under the Curve |
| DDoS | Distributed Denial of Service |
| DoS | Denial of Service |
| DL | Deep Learning |
| DTL | Deep Transfer Learning |
| BiLSTM | Bidirectional Long Short-Term Memory |
| CNN | Convolutional Neural Network |
| NNs | Neural Networks |
| DTs | Decision Trees |
| NB | Naive Bayes |
| LR | Logistic Regression |
| GB | Gradient Boosting |
| DNNs | Deep Neural Networks |
| ResNet | Residual Network |
| NIDSs | Network Intrusion Detection Systems |
| AI | Artificial Intelligence |
| IoT | Internet of Things |
| TL | Transfer Learning |
| B5G | Beyond-5G |
| 5GTN | 5G Test Network |
| CN | Core Network |
| IIoT | Industrial Internet of Things |
| DDPG | Deep Deterministic Policy Gradient |
| QoS | Quality of Service |
| EDoS | Economical Denial of Sustainability |
| ANNs | Artificial Neural Networks |
| SVMs | Support Vector Machines |
| SL | Supervised Learning |
| USL | Unsupervised Learning |
| SSL | Semi-Supervised Learning |
| RL | Reinforcement Learning |
| CG-GRU | Control Gated–Gated Recurrent Unit |
| XGB | Extreme Gradient Boost |
| eMBB | Enhanced Mobile Broadband |
| uRLLC | Ultra-Reliable Low-Latency Communication |
| mMTC | Massive Machine-Type Communications |
| NSA | Non-Standalone |
| SA | Standalone |
| SBA | Service-Based Architecture |
| AMF | Access and Mobility Management Function |
| UPF | User Plane Function |
| SDN | Software-Defined Networking |
| MITM | Man in the Middle |
| NFV | Network Function Virtualization |
| RAN | Radio Access Network |
| SMF | Session Management Function |
| SIDSs | Signature-Based Intrusion Detection Systems |
| AIDSs | Anomaly-Based Intrusion Detection Systems |
| HIDS | Host-based IDS |
| WIDS | Wireless-based IDS |
| NBA | Network Behavior Analysis |
| MIDS | Mixed IDS |
| SNs | Standard Networks |
| FPs | False Positives |
| FNs | False Negatives |
| R-NIDS | Reliable-NIDS |
| GUI | Graphical User Interface |
| ANOVA | Analysis of Variance |
| UE | User Equipment |
| PFCP | Packet Forwarding Control Protocol |
| MEC | Multi-access Edge Computing |
| SFTP | Secure File Transfer Protocol |
| PCA | Principal Component Analysis |
| MMD | Maximum Mean Discrepancy |
| NVF | Network Virtualization Function |
| KDD | Knowledge Discovery in Databases |
| GTP-U | General Packet Radio Service Tunneling Protocol |
| CV | Cross-Validation |
| TNR | True Negative Rate |
| FPR | False Positive Rate |
| FNR | False Negative Rate |
| TPR | True Positive Rate |
| NGAP | Next-Generation Application Protocol |
| RRC | Radio Resource Control |
| UDP | User Datagram Protocol |
| ICMP | Internet Control Message Protocol |
| XAI | Explainable AI |
| VMs | Virtual Machines |
| RSS | Received Signal Strength |
| CAVs | Autonomous Vehicles |
| AE | Autoencoder |
| SAE | Stacked Autoencoder |
| RBM | Restricted Boltzmann Machine |
| RNN | Recurrent Neural Network |
| LSTM | Long Short-Term Memory |
| DBN | Deep Belief Network |
| GRU | Gated Recurrent Unit |
| TA-IDPS | Trust-Aware Intrusion Detection and Prevention System |
| MANETs | Mobile Ad Hoc Networks |
| TA | Trusted Authority |
| CH | Cluster Head |
| MFO | Moth Flame Optimization |
| CIoT | Consumer-Centric Internet of Things |
| FL | Federated Learning |
| FDL | Federated Deep Learning |
| BLMs | Batch Learning Models |
| DSMs | Data Streaming Models |
| HT | Hoeffding Tree |
| OBA | OzaBagAdwin |
| R2L | Remote-to-Local |
| U2R | User-to-Root |
| RF | Random Forest |
| QNNs | Quantum Neural Networks |
References
- Moubayed, A.; Manias, D.M.; Javadtalab, A.; Hemmati, M.; You, Y.; Shami, A. OTN-over-WDM optimization in 5G networks: Key challenges and innovation opportunities. Photonic Netw. Commun. 2023, 45, 49–66. [Google Scholar] [CrossRef]
- Aoki, S.; Yonezawa, T.; Kawaguchi, N. RobotNEST: Toward a Viable Testbed for IoT-Enabled Environments and Connected and Autonomous Robots. IEEE Sensors Lett. 2022, 6, 6000304. [Google Scholar] [CrossRef]
- Siriwardhana, Y.; Porambage, P.; Liyanage, M.; Ylianttila, M. AI and 6G Security: Opportunities and Challenges. In Proceedings of the 2021 Joint European Conference on Networks and Communications & 6G Summit (EuCNC/6G Summit), Porto, Portugal, 8–11 June 2021; pp. 616–621. [Google Scholar]
- Dini, P.; Elhanashi, A.; Begni, A.; Saponara, S.; Zheng, Q.; Gasmi, K. Overview on Intrusion Detection Systems Design Exploiting Machine Learning for Networking Cybersecurity. Appl. Sci. 2023, 13, 7507. [Google Scholar] [CrossRef]
- Sadhwani, S.; Mathur, A.; Muthalagu, R.; Pawar, P.M. 5G-SIID: An intelligent hybrid DDoS intrusion detector for 5G IoT networks. Int. J. Mach. Learn. Cybern. 2024, 16, 1243–1263. [Google Scholar] [CrossRef]
- Ahuja, N.; Mukhopadhyay, D.; Singal, G. DDoS attack traffic classification in SDN using deep learning. Pers. Ubiquitous Comput. 2024, 28, 417–429. [Google Scholar] [CrossRef]
- Nguyen, C.T.; Van Huynh, N.; Chu, N.H.; Saputra, Y.M.; Hoang, D.T.; Nguyen, D.N.; Pham, Q.-V.; Niyato, D.; Dutkiewicz, E.; Hwang, W.-J. Transfer Learning for Wireless Networks: A Comprehensive Survey. Proc. IEEE 2022, 110, 1073–1115. [Google Scholar] [CrossRef]
- Bouke, M.A.; Abdullah, A. An empirical study of pattern leakage impact during data preprocessing on machine learning-based intrusion detection models reliability. Expert Syst. Appl. 2023, 230, 120715. [Google Scholar] [CrossRef]
- Bouke, M.A.; Abdullah, A. An empirical assessment of ML models for 5G network intrusion detection: A data leakage-free approach. e-Prime-Adv. Electr. Eng. Electron. Energy 2024, 8, 100590. [Google Scholar] [CrossRef]
- Jayasinghe, S.; Siriwardhana, Y.; Porambage, P.; Liyanage, M.; Ylianttila, M. Federated Learning based Anomaly Detection as an Enabler for Securing Network and Service Management Automation in Beyond 5G Networks. In Proceedings of the 2022 Joint European Conference on Networks and Communications & 6G Summit (EuCNC/6G Summit), Grenoble, France, 7–10 June 2022; pp. 345–350. [Google Scholar]
- Nait-Abdesselam, F.; Darwaish, A.; Titouna, C. Malware forensics: Legacy solutions, recent advances, and future challenges. In Advances in Computing, Informatics, Networking and Cybersecurity: A Book Honoring Professor Mohammad S. Obaidat’s Significant Scientific Contributions; Springer: Cham, Switzerland, 2022; pp. 685–710. [Google Scholar]
- Saranya, T.; Sridevi, S.; Deisy, C.; Chung, T.D.; Khan, M. Performance Analysis of Machine Learning Algorithms in Intrusion Detection System: A Review. Procedia Comput. Sci. 2020, 171, 1251–1260. [Google Scholar] [CrossRef]
- Sarker, I.H. Machine Learning: Algorithms, Real-World Applications and Research Directions. SN Comput. Sci. 2021, 2, 160. [Google Scholar] [CrossRef]
- Khan, M.S.; Farzaneh, B.; Shahriar, N.; Hasan, M.M. DoS/DDoS Attack Dataset of 5G Network Slicing; IEEE Dataport: Piscataway, NJ, USA, 2023. [Google Scholar]
- Imanbayev, A.; Tynymbayev, S.; Odarchenko, R.; Gnatyuk, S.; Berdibayev, R.; Baikenov, A.; Kaniyeva, N. Research of Machine Learning Algorithms for the Development of Intrusion Detection Systems in 5G Mobile Networks and Beyond. Sensors 2022, 22, 9957. [Google Scholar] [CrossRef] [PubMed]
- Joseph, L.P.; Deo, R.C.; Prasad, R.; Salcedo-Sanz, S.; Raj, N.; Soar, J. Near real-time wind speed forecast model with bidirectional LSTM networks. Renew. Energy 2023, 204, 39–58. [Google Scholar] [CrossRef]
- Li, Z.; Liu, F.; Yang, W.; Peng, S.; Zhou, J. A survey of convolutional neural networks: Analysis, applications, and prospects. IEEE Trans. Neural Netw. Learn. Syst. 2021, 33, 6999–7019. [Google Scholar]
- Stahlke, M.; Feigl, T.; García MH, C.; Stirling-Gallacher, R.A.; Seitz, J.; Mutschler, C. Transfer learning to adapt 5G AI-based fingerprint localization across environments. In Proceedings of the 2022 IEEE 95th Vehicular Technology Conference (VTC2022-Spring), Helsinki, Finland, 19–22 June 2022; pp. 1–5. [Google Scholar]
- Yang, B.; Fagbohungbe, O.; Cao, X.; Yuen, C.; Qian, L.; Niyato, D.; Zhang, Y. A Joint Energy and Latency Framework for Transfer Learning Over 5G Industrial Edge Networks. IEEE Trans. Ind. Inform. 2021, 18, 531–541. [Google Scholar] [CrossRef]
- Lv, Z.; Lou, R.; Singh, A.K.; Wang, Q. Transfer Learning-powered Resource Optimization for Green Computing in 5G-Aided Industrial Internet of Things. ACM Trans. Internet Technol. 2021, 22, 1–16. [Google Scholar] [CrossRef]
- Guan, J.; Cai, J.; Bai, H.; You, I. Deep transfer learning-based network traffic classification for scarce dataset in 5G IoT systems. Int. J. Mach. Learn. Cybern. 2021, 12, 3351–3365. [Google Scholar] [CrossRef]
- Coutinho, R.W.L.; Boukerche, A. Transfer Learning for Disruptive 5G-Enabled Industrial Internet of Things. IEEE Trans. Ind. Inform. 2021, 18, 4000–4007. [Google Scholar] [CrossRef]
- Mai, T.; Yao, H.; Zhang, N.; He, W.; Guo, D.; Guizani, M. Transfer Reinforcement Learning Aided Distributed Network Slicing Optimization in Industrial IoT. IEEE Trans. Ind. Inform. 2021, 18, 4308–4316. [Google Scholar] [CrossRef]
- Benzaïd, C.; Taleb, T.; Sami, A.; Hireche, O. A Deep Transfer Learning-Powered EDoS Detection Mechanism for 5G and Beyond Network Slicing. In Proceedings of the GLOBECOM 2023—2023 IEEE Global Communications Conference, Kuala Lumpur, Malaysia, 4–8 December 2023; pp. 4747–4753. [Google Scholar]
- Benzaïd, C.; Taleb, T.; Sami, A.; Hireche, O. FortisEDoS: A Deep Transfer Learning-Empowered Economical Denial of Sustainability Detection Framework for Cloud-Native Network Slicing. IEEE Trans. Dependable Secur. Comput. 2023, 21, 2818–2835. [Google Scholar] [CrossRef]
- Kasongo, S.M.; Sun, Y. Performance Analysis of Intrusion Detection Systems Using a Feature Selection Method on the UNSW-NB15 Dataset. J. Big Data 2020, 7, 105. [Google Scholar] [CrossRef]
- Thakkar, A.; Lohiya, R. Fusion of statistical importance for feature selection in Deep Neural Network-based Intrusion Detection System. Inf. Fusion 2023, 90, 353–363. [Google Scholar] [CrossRef]
- Shaukat, K.; Luo, S.; Varadharajan, V.; Hameed, I.A.; Xu, M. A Survey on Machine Learning Techniques for Cyber Security in the Last Decade. IEEE Access 2020, 8, 222310–222354. [Google Scholar] [CrossRef]
- Su, T.; Sun, H.; Zhu, J.; Wang, S.; Li, Y. BAT: Deep Learning Methods on Network Intrusion Detection Using NSL-KDD Dataset. IEEE Access 2020, 8, 29575–29585. [Google Scholar] [CrossRef]
- Rodríguez, M.; Alesanco, Á.; Mehavilla, L.; García, J. Evaluation of Machine Learning Techniques for Traffic Flow-Based Intrusion Detection. Sensors 2022, 22, 9326. [Google Scholar] [CrossRef]
- Ayantayo, A.; Kaur, A.; Kour, A.; Schmoor, X.; Shah, F.; Vickers, I.; Kearney, P.; Abdelsamea, M.M. Network intrusion detection using feature fusion with deep learning. J. Big Data 2023, 10, 167. [Google Scholar] [CrossRef]
- Vashishtha, L.K.; Chatterjee, K. Strengthening cybersecurity: TestCloudIDS dataset and SparkShield algorithm for robust threat detection. Comput. Secur. 2025, 151, 104308. [Google Scholar] [CrossRef]
- Bekkouche, R.; Omar, M.; Langar, R.; Hamdaoui, B. A Dynamic Predictive Maintenance Approach for Resilient Service Orchestration in Large-Scale 5G Infrastructures. SSRN 5123374. 2025. Available online: https://papers.ssrn.com/sol3/papers.cfm?abstract_id=5123374 (accessed on 1 February 2025).
- Kheddar, H.; Himeur, Y.; Awad, A.I. Deep transfer learning for intrusion detection in industrial control networks: A comprehensive review. J. Netw. Comput. Appl. 2023, 220, 103760. [Google Scholar] [CrossRef]
- Kheddar, H.; Dawoud, D.W.; Awad, A.I.; Himeur, Y.; Khan, M.K. Reinforcement-Learning-Based Intrusion Detection in Communication Networks: A Review. IEEE Commun. Surv. Tutor. 2024. [Google Scholar] [CrossRef]
- Hancke, G.P.; Hossain, M.A.; Imran, M.A. 5G beyond 3GPP Release 15 for connected automated mobility in cross-border corridors. Sensors 2020, 20, 6622. [Google Scholar]
- Rischke, J.; Sossalla, P.; Itting, S.; Fitzek, F.H.P.; Reisslein, M. 5G Campus Networks: A First Measurement Study. IEEE Access 2021, 9, 121786–121803. [Google Scholar] [CrossRef]
- Singh, V.P.; Singh, M.P.; Hegde, S.; Gupta, M. Security in 5G Network Slices: Concerns and Opportunities. IEEE Access 2024, 12, 52727–52743. [Google Scholar] [CrossRef]
- Granata, D.; Rak, M.; Mallouli, W. Automated Generation of 5G Fine-Grained Threat Models: A Systematic Approach. IEEE Access 2023, 11, 129788–129804. [Google Scholar] [CrossRef]
- Bao, S.; Liang, Y.; Xu, H. Blockchain for Network Slicing in 5G and Beyond: Survey and Challenges. J. Commun. Inf. Netw. 2022, 7, 349–359. [Google Scholar] [CrossRef]
- Iashvili, G.; Iavich, M.; Bocu, R.; Odarchenko, R.; Gnatyuk, S. Intrusion detection system for 5G with a focus on DOS/DDOS attacks. In Proceedings of the 2021 11th IEEE International Conference on Intelligent Data Acquisition and Advanced Computing Systems: Technology and Applications (IDAACS), Krakow, Poland, 22–25 September 2021; Volume 2, pp. 861–864. [Google Scholar]
- Silva, R.S.; Meixner, C.C.; Guimaraes, R.S.; Diallo, T.; Garcia, B.O.; de Moraes, L.F.M.; Martinello, M. REPEL: A Strategic Approach for Defending 5G Control Plane from DDoS Signalling Attacks. IEEE Trans. Netw. Serv. Manag. 2020, 18, 3231–3243. [Google Scholar] [CrossRef]
- Nencioni, G.; Garroppo, R.G.; Olimid, R.F. 5G Multi-Access Edge Computing: A Survey on Security, Dependability, and Performance. IEEE Access 2023, 11, 63496–63533. [Google Scholar] [CrossRef]
- Fakhouri, H.N.; Alawadi, S.; Awaysheh, F.M.; Hani, I.B.; Alkhalaileh, M.; Hamad, F. A Comprehensive Study on the Role of Machine Learning in 5G Security: Challenges, Technologies, and Solutions. Electronics 2023, 12, 4604. [Google Scholar] [CrossRef]
- Iavich, M.; Gnatyuk, S.O.; Odarchenko, R.; Bocu, R.; Simonov, S. The novel system of attacks detection in 5G. In Proceedings of the 35th International Conference on Advanced Information Networking and Applications (AINA-2021), Toronto, ON, Canada, 12–14 May 2021; pp. 580–591. [Google Scholar]
- Yang, L.; Shami, A. A Transfer Learning and Optimized CNN Based Intrusion Detection System for Internet of Vehicles. In Proceedings of the ICC 2022—IEEE International Conference on Communications, Seoul, Republic of Korea, 16–20 May 2022; pp. 2774–2779. [Google Scholar]
- Sullivan, S.; Brighente, A.; Kumar, S.A.P.; Conti, M. 5G Security Challenges and Solutions: A Review by OSI Layers. IEEE Access 2021, 9, 116294–116314. [Google Scholar] [CrossRef]
- Salazar, Z.; Nguyen, H.N.; Mallouli, W.; Cavalli, A.R.; de Oca, E.M. 5Greplay: A 5G Network Traffic Fuzzer—Application to Attack Injection. In Proceedings of the ARES 2021: The 16th International Conference on Availability, Reliability and Security, Virtual, 17–20 August 2021; pp. 1–8. [Google Scholar]
- Amponis, G.; Radoglou-Grammatikis, P.; Nakas, G.; Goudos, S.; Argyriou, V.; Lagkas, T.; Sarigiannidis, P. 5G core PFCP intrusion detection dataset. In Proceedings of the 2023 12th International Conference on Modern Circuits and Systems Technologies (MOCAST), Athens, Greece, 28–30 June 2023; pp. 1–4. [Google Scholar]
- Coldwell, C.; Conger, D.; Goodell, E.; Jacobson, B.; Petersen, B.; Spencer, D.; Anderson, M.; Sgambati, M. Machine learning 5G attack detection in programmable logic. In Proceedings of the 2022 IEEE Globecom Workshops (GC Wkshps), Rio de Janeiro, Brazil, 4–8 December 2022; pp. 1365–1370. [Google Scholar]
- Alkasassbeh, M.; Baddar, S.A.-H. Intrusion Detection Systems: A State-of-the-Art Taxonomy and Survey. Arab. J. Sci. Eng. 2023, 48, 10021–10064. [Google Scholar] [CrossRef]
- Kannari, P.R.; Chowdary, N.S.; Biradar, R.L. An anomaly-based intrusion detection system using recursive feature elimination technique for improved attack detection. Theor. Comput. Sci. 2022, 931, 56–64. [Google Scholar] [CrossRef]
- Sharma, B.; Sharma, L.; Lal, C.; Roy, S. Explainable artificial intelligence for intrusion detection in IoT networks: A deep learning based approach. Expert Syst. Appl. 2024, 238, 121751. [Google Scholar] [CrossRef]
- Popoola, S.I.; Imoize, A.L.; Hammoudeh, M.; Adebisi, B.; Jogunola, O.; Aibinu, A.M. Federated Deep Learning for Intrusion Detection in Consumer-Centric Internet of Things. IEEE Trans. Consum. Electron. 2023, 70, 1610–1622. [Google Scholar] [CrossRef]
- Meng, R.; Gao, S.; Fan, D.; Gao, H.; Wang, Y.; Xu, X.; Wang, B.; Lv, S.; Zhang, Z.; Sun, M.; et al. A survey of secure semantic communications. arXiv 2025, arXiv:2501.00001. [Google Scholar]
- Jiang, S.; Zhao, J.; Xu, X. SLGBM: An Intrusion Detection Mechanism for Wireless Sensor Networks in Smart Environments. IEEE Access 2020, 8, 169548–169558. [Google Scholar] [CrossRef]
- Ozkan-Okay, M.; Samet, R.; Aslan, O.; Gupta, D. A Comprehensive Systematic Literature Review on Intrusion Detection Systems. IEEE Access 2021, 9, 157727–157760. [Google Scholar] [CrossRef]
- Di Mauro, M.; Galatro, G.; Fortino, G.; Liotta, A. Supervised feature selection techniques in network intrusion detection: A critical review. Eng. Appl. Artif. Intell. 2021, 101, 104216. [Google Scholar] [CrossRef]
- Qaddoura, R.; Al-Zoubi, A.M.; Faris, H.; Almomani, I. A Multi-Layer Classification Approach for Intrusion Detection in IoT Networks Based on Deep Learning. Sensors 2021, 21, 2987. [Google Scholar] [CrossRef]
- Ali, M.H.; Jaber, M.M.; Abd, S.K.; Rehman, A.; Awan, M.J.; Damaševičius, R.; Bahaj, S.A. Threat Analysis and Distributed Denial of Service (DDoS) Attack Recognition in the Internet of Things (IoT). Electronics 2022, 11, 494. [Google Scholar] [CrossRef]
- Santos, L.; Gonçalves, R.; Rabadão, C.; Martins, J. A flow-based intrusion detection framework for internet of things networks. Clust. Comput. 2023, 26, 37–57. [Google Scholar] [CrossRef]
- de Souza, C.A.; Westphall, C.B.; Machado, R.B.; Sobral, J.B.M.; Vieira, G.d.S. Hybrid approach to intrusion detection in fog-based IoT environments. Comput. Netw. 2020, 180, 107417. [Google Scholar] [CrossRef]
- Keserwani, P.K.; Govil, M.C.; Pilli, E.S.; Govil, P. A smart anomaly-based intrusion detection system for the Internet of Things (IoT) network using GWO–PSO–RF model. J. Reliab. Intell. Environ. 2021, 7, 3–21. [Google Scholar] [CrossRef]
- Sharma, H.S.; Singh, K.J. Intrusion detection system: A deep neural network-based concatenated approach. J. Supercomput. 2024, 80, 13918–13948. [Google Scholar] [CrossRef]
- Parra, G.D.L.T.; Rad, P.; Choo, K.-K.R.; Beebe, N. Detecting Internet of Things attacks using distributed deep learning. J. Netw. Comput. Appl. 2020, 163, 102662. [Google Scholar] [CrossRef]
- Mohamed, D.; Ismael, O. Enhancement of an IoT hybrid intrusion detection system based on fog-to-cloud computing. J. Cloud Comput. 2023, 12, 41. [Google Scholar] [CrossRef]
- Anwer, M.; Khan, S.M.; Farooq, M.U.; Waseemullah. Attack Detection in IoT using Machine Learning. Eng. Technol. Appl. Sci. Res. 2021, 11, 7273–7278. [Google Scholar] [CrossRef]
- Ullah, I.; Mahmoud, Q.H. A Two-Level Flow-Based Anomalous Activity Detection System for IoT Networks. Electronics 2020, 9, 530. [Google Scholar] [CrossRef]
- Farrukh, Y.A.; Wali, S.; Khan, I.; Bastian, N.D. AIS-NIDS: An intelligent and self-sustaining network intrusion detection system. Comput. Secur. 2024, 144, 103982. [Google Scholar] [CrossRef]
- Singh, G.; Khare, N. A survey of intrusion detection from the perspective of intrusion datasets and machine learning techniques. Int. J. Comput. Appl. 2021, 44, 659–669. [Google Scholar] [CrossRef]
- Magán-Carrión, R.; Urda, D.; Diaz-Cano, I.; Dorronsoro, B. Improving the Reliability of Network Intrusion Detection Systems Through Dataset Integration. IEEE Trans. Emerg. Top. Comput. 2022, 10, 1717–1732. [Google Scholar] [CrossRef]
- Keserwani, P.K.; Govil, M.C.; Pilli, E.S. An effective NIDS framework based on a comprehensive survey of feature optimization and classification techniques. Neural Comput. Appl. 2023, 35, 4993–5013. [Google Scholar] [CrossRef]
- Layeghy, S.; Gallagher, M.; Portmann, M. Benchmarking the benchmark—Comparing synthetic and real-world Network IDS datasets. J. Inf. Secur. Appl. 2024, 80, 103689. [Google Scholar] [CrossRef]
- Engelen, G.; Rimmer, V.; Joosen, W. Troubleshooting an Intrusion Detection Dataset: The CICIDS2017 Case Study. In Proceedings of the 2021 IEEE Security and Privacy Workshops (SPW), San Francisco, CA, USA, 27 May 2021; pp. 7–12. [Google Scholar]
- Stamatis, C.; Barsanti, K.C. Development and application of a supervised pattern recognition algorithm for identification of fuel-specific emissions profiles. Atmos. Meas. Tech. 2022, 15, 2591–2606. [Google Scholar] [CrossRef]
- Tsourdinis, T.; Makris, N.; Korakis, T.; Fdida, S. AI-driven network intrusion detection and resource allocation in real-world O-RAN 5G networks. In Proceedings of the 30th Annual International Conference on Mobile Computing and Networking (MobiCom ’24), Washington, DC, USA, 18–22 November 2024; pp. 1842–1849. [Google Scholar]
- Dhanushkodi, K.; Thejas, S. AI Enabled Threat Detection: Leveraging Artificial Intelligence for Advanced Security and Cyber Threat Mitigation. IEEE Access 2024, 12, 173127–173136. [Google Scholar] [CrossRef]
- Soliman, H.M.; Sovilj, D.; Salmon, G.; Rao, M.; Mayya, N. RANK: AI-Assisted End-to-End Architecture for Detecting Persistent Attacks in Enterprise Networks. IEEE Trans. Dependable Secur. Comput. 2023, 21, 3834–3850. [Google Scholar] [CrossRef]
- Yadav, N.; Pande, S.; Khamparia, A.; Gupta, D. Intrusion Detection System on IoT with 5G Network Using Deep Learning. Wirel. Commun. Mob. Comput. 2022, 2022, 9304689. [Google Scholar] [CrossRef]
- Farzaneh, B.; Shahriar, N.; Al Muktadir, A.H.; Towhid, M.S. DTL-IDS: Deep transfer learning-based intrusion detection system in 5G networks. In Proceedings of the 2023 19th International Conference on Network and Service Management (CNSM), Niagara Falls, ON, Canada, 30 October–2 November 2023; pp. 1–5. [Google Scholar]
- Zhou, M.-G.; Liu, Z.-P.; Yin, H.-L.; Li, C.-L.; Xu, T.-K.; Chen, Z.-B. Quantum neural network for quantum neural computing. Research 2023, 6, 0134. [Google Scholar] [CrossRef] [PubMed]
- Zhou, M.-G.; Cao, X.-Y.; Lu, Y.-S.; Wang, Y.; Bao, Y.; Jia, Z.-Y.; Fu, Y.; Yin, H.-L.; Chen, Z.-B. Experimental Quantum Advantage with Quantum Coupon Collector. Research 2022, 2022, 9798679. [Google Scholar] [CrossRef]
- Adewole, K.S.; Salau-Ibrahim, T.T.; Imoize, A.L.; Oladipo, I.D.; AbdulRaheem, M.; Awotunde, J.B.; Balogun, A.O.; Isiaka, R.M.; Aro, T.O. Empirical Analysis of Data Streaming and Batch Learning Models for Network Intrusion Detection. Electronics 2022, 11, 3109. [Google Scholar] [CrossRef]
- Umar, M.A.; Chen, Z.; Shuaib, K.; Liu, Y. Effects of feature selection and normalization on network intrusion detection. J. Inf. Technol. Data Manag. 2025, 8, 23–39. [Google Scholar] [CrossRef]
- Algan, G.; Ulusoy, I. Image classification with deep learning in the presence of noisy labels: A survey. Knowl.-Based Syst. 2021, 215, 106771. [Google Scholar] [CrossRef]
- Gupta, A.R.; Agrawal, J. The multi-demeanor fusion based robust intrusion detection system for anomaly and misuse detection in computer networks. J. Ambient Intell. Humaniz. Comput. 2021, 12, 303–319. [Google Scholar] [CrossRef]
- Nabi, F.; Zhou, X. Enhancing intrusion detection systems through dimensionality reduction: A comparative study of machine learning techniques for cyber security. Cyber Secur. Appl. 2024, 2, 100033. [Google Scholar] [CrossRef]
- Dogan, A.; Birant, D. Machine learning and data mining in manufacturing. Expert Syst. Appl. 2021, 166, 114060. [Google Scholar] [CrossRef]
- Belouadah, E.; Popescu, A.; Kanellos, I. A comprehensive study of class incremental learning algorithms for visual tasks. Neural Netw. 2021, 135, 38–54. [Google Scholar] [CrossRef] [PubMed]
- Amponis, G.; Radoglou-Grammatikis, P.; Lagkas, T.; Mallouli, W.; Cavalli, A.; Klonidis, D.; Markakis, E.; Sarigiannidis, P. Threatening the 5G core via PFCP DoS attacks: The case of blocking UAV communications. EURASIP J. Wirel. Commun. Netw. 2022, 2022, 124. [Google Scholar] [CrossRef]
- Mazarbhuiya, F.A.; Alzahrani, M.Y.; Mahanta, A.K. Detecting anomaly using partitioning clustering with merging. ICIC Express Lett. 2020, 14, 951–960. [Google Scholar]
- Samarakoon, S.; Siriwardhana, Y.; Porambage, P.; Liyanage, M.; Chang, S.-Y.; Kim, J.; Kim, J.; Ylianttila, M. 5G-NIDD: A comprehensive network intrusion detection dataset generated over 5G wireless network. arXiv 2022, arXiv:2212.01298. [Google Scholar]
- Farzaneh, B.; Shahriar, N.; Al Muktadir, A.H.; Towhid, S.; Khosravani, M.S. DTL-5G: Deep transfer learning-based DDoS attack detection in 5G and beyond networks. Comput. Commun. 2024, 228, 107927. [Google Scholar] [CrossRef]
- Berei, E.; Khan, M.A.; Oun, A. Machine Learning Algorithms for DoS and DDoS Cyberattacks Detection in Real-Time Environment. In Proceedings of the 2024 IEEE 21st Consumer Communications & Networking Conference (CCNC), Las Vegas, NV, USA, 6–9 January 2024; pp. 1048–1049. [Google Scholar]
- Ghani, H.; Salekzamankhani, S.; Virdee, B. Critical analysis of 5G networks’ traffic intrusion using PCA, t-SNE, and UMAP visualization and classifying attacks. In Proceedings of Data Analytics and Management; Springer: Singapore, 2024; pp. 375–389. [Google Scholar]
- Vu, L.; Nguyen, Q.U.; Nguyen, D.N.; Hoang, D.T.; Dutkiewicz, E. Deep Transfer Learning for IoT Attack Detection. IEEE Access 2020, 8, 107335–107344. [Google Scholar] [CrossRef]
- Hossain, S.; Senouci, S.-M.; Brik, B.; Boualouache, A. A privacy-preserving Self-Supervised Learning-based intrusion detection system for 5G-V2X networks. Ad Hoc Netw. 2024, 166, 103674. [Google Scholar] [CrossRef]
- Alghamdi, S.A. Novel trust-aware intrusion detection and prevention system for 5G MANET–Cloud. Int. J. Inf. Secur. 2022, 21, 469–488. [Google Scholar] [CrossRef]
- Sousa, B.; Magaia, N.; Silva, S. An Intelligent Intrusion Detection System for 5G-Enabled Internet of Vehicles. Electronics 2023, 12, 1757. [Google Scholar] [CrossRef]
- Ciaburro, G.; Iannace, G. Machine Learning-Based Algorithms to Knowledge Extraction from Time Series Data: A Review. Data 2021, 6, 55. [Google Scholar] [CrossRef]
- Jurkiewicz, P. Flow-models: A framework for analysis and modeling of IP network flows. SoftwareX 2022, 17, 100929. [Google Scholar] [CrossRef]
- Larin, D.V.; Get’man, A.I. Tools for Capturing and Processing High-Speed Network Traffic. Program. Comput. Softw. 2022, 48, 756–769. [Google Scholar] [CrossRef]
- Sheikhi, S.; Kostakos, P. DDoS attack detection using unsupervised federated learning for 5G networks and beyond. In Proceedings of the 2023 Joint European Conference on Networks and Communications and 6G Summit (EuCNC/6G Summit), Gothenburg, Sweden, 6–9 June 2023; pp. 442–447. [Google Scholar]
- Reddy, R.; Gundall, M.; Lipps, C.; Schotten, H.D. Open source 5G core network implementations: A qualitative and quantitative analysis. In Proceedings of the 2023 IEEE International Black Sea Conference on Communications and Networking (BlackSeaCom), Istanbul, Turkey, 4–7 July 2023; pp. 253–258. [Google Scholar]
- Rouili, M.; Saha, N.; Golkarifard, M.; Zangooei, M.; Boutaba, R.; Onur, E.; Saleh, A. Evaluating Open-Source 5G SA Testbeds: Unveiling Performance Disparities in RAN Scenarios. In Proceedings of the NOMS 2024—2024 IEEE Network Operations and Management Symposium, Seoul, Republic of Korea, 6–10 May 2024; pp. 1–6. [Google Scholar]
- Liu, X.; Wang, X.; Jia, J.; Huang, M. A distributed deployment algorithm for communication coverage in wireless robotic networks. J. Netw. Comput. Appl. 2021, 180, 103019. [Google Scholar] [CrossRef]
- Nguyen, L.G.; Watabe, K. A Method for Network Intrusion Detection Using Flow Sequence and BERT Framework. In Proceedings of the ICC 2023—IEEE International Conference on Communications, Rome, Italy, 28 May–1 June 2023; pp. 3006–3011. [Google Scholar]
- Büyükkeçeci, M.; Okur, M.C. A Comprehensive Review of Feature Selection and Feature Selection Stability in Machine Learning. Gazi Univ. J. Sci. 2023, 36, 1506–1520. [Google Scholar] [CrossRef]
- Dissanayake, K.; Md Johar, M.G. Comparative study on heart disease prediction using feature selection techniques on classification algorithms. Appl. Comput. Intell. Soft Comput. 2021, 2021, 5581806. [Google Scholar] [CrossRef]
- Singh, D.; Singh, B. Investigating the impact of data normalization on classification performance. Appl. Soft Comput. 2020, 97, 105524. [Google Scholar] [CrossRef]
- Yuliana, H.; Iskandar; Hendrawan. Comparative Analysis of Machine Learning Algorithms for 5G Coverage Prediction: Identification of Dominant Feature Parameters and Prediction Accuracy. IEEE Access 2024, 12, 18939–18956. [Google Scholar] [CrossRef]
- Nahum, C.V.; Pinto, L.D.N.M.; Tavares, V.B.; Batista, P.; Lins, S.; Linder, N.; Klautau, A. Testbed for 5G Connected Artificial Intelligence on Virtualized Networks. IEEE Access 2020, 8, 223202–223213. [Google Scholar] [CrossRef]
- Mehdi, A.; Bali, M.K.; Abbas, S.I. Unleashing the Potential of Grafana: A Comprehensive Study on Real-Time Monitoring and Visualization. In Proceedings of the 2023 14th International Conference on Computing Communication and Networking Technologies (ICCCNT), Delhi, India, 6–8 July 2023; pp. 1–5. [Google Scholar]
- Abbasi, A.; Javed, A.R.; Chakraborty, C.; Nebhen, J.; Zehra, W.; Jalil, Z. ElStream: An Ensemble Learning Approach for Concept Drift Detection in Dynamic Social Big Data Stream Learning. IEEE Access 2021, 9, 66408–66419. [Google Scholar] [CrossRef]
- Hamza, M.A.; Ejaz, U.; Kim, H.-C. Cyber5Gym: An Integrated Framework for 5G Cybersecurity Training. Electronics 2024, 13, 888. [Google Scholar] [CrossRef]
- Al-Fuhaidi, B.; Farae, Z.; Al-Fahaidy, F.; Nagi, G.; Ghallab, A.; Alameri, A. Anomaly-Based Intrusion Detection System in Wireless Sensor Networks Using Machine Learning Algorithms. Appl. Comput. Intell. Soft Comput. 2024, 2024, 2625922. [Google Scholar] [CrossRef]
- Pérez-Hernández, F.; Tabik, S.; Lamas, A.; Olmos, R.; Fujita, H.; Herrera, F. Object Detection Binary Classifiers methodology based on deep learning to identify small objects handled similarly: Application in video surveillance. Knowl.-Based Syst. 2020, 194, 105590. [Google Scholar] [CrossRef]
- Dhanke, J.; Patil, R.N.; Kumari, I.; Gupta, S.; Hans, S.; Kumar, K. Comparative study of machine learning algorithms for intrusion detection. Int. J. Intell. Syst. Appl. Eng. 2023, 12, 647–653. [Google Scholar]
- Gupta, S.; Kumar, S.; Singh, A. A hybrid intrusion detection system based on decision tree and support vector machine. In Proceedings of the 2020 IEEE 5th International Conference on Computing Communication and Automation (ICCCA 2020), Greater Noida, India, 30–31 October 2020; pp. 510–515. [Google Scholar]
- Lansky, J.; Ali, S.; Mohammadi, M.; Majeed, M.K.; Karim, S.H.T.; Rashidi, S.; Hosseinzadeh, M.; Rahmani, A.M. Deep Learning-Based Intrusion Detection Systems: A Systematic Review. IEEE Access 2021, 9, 101574–101599. [Google Scholar] [CrossRef]
- Awotunde, J.B.; Folorunso, S.O.; Imoize, A.L.; Odunuga, J.O.; Lee, C.-C.; Li, C.-T.; Do, D.-T. An Ensemble Tree-Based Model for Intrusion Detection in Industrial Internet of Things Networks. Appl. Sci. 2023, 13, 2479. [Google Scholar] [CrossRef]
- Akbar, R.; Zafer, A. Next-Gen Information Security: AI-Driven Solutions for Real-Time Cyber Threat Detection in Cloud and Network Environments. J. Cybersecur. Res. 2024, 12, 123–145. [Google Scholar]
- Rana, P.; Batra, I.; Malik, A.; Imoize, A.L.; Kim, Y.; Pani, S.K.; Goyal, N.; Kumar, A.; Rho, S. Intrusion detection systems in cloud computing paradigm: Analysis and overview. Complexity 2022, 2022, 3999039. [Google Scholar] [CrossRef]
- Teuwen, K.T.; Mulders, T.; Zambon, E.; Allodi, L. Ruling the Unruly: Designing Effective, Low-Noise Network Intrusion Detection Rules for Security Operations Centers. arXiv 2025, arXiv:2501.09808. [Google Scholar]
- Jimoh, R.G.; Imoize, A.L.; Awotunde, J.B.; Ojo, S.; Akanbi, M.B.; Bamigbaye, J.A.; Faruk, N. An Enhanced Deep Neural Network Enabled with Cuckoo Search Algorithm for Intrusion Detection in Wide Area Networks. In Proceedings of the 2022 5th Information Technology for Education and Development (ITED), Abuja, Nigeria, 1–3 November 2022; pp. 1–5. [Google Scholar]
- AbdulRaheem, M.; Oladipo, I.D.; Imoize, A.L.; Awotunde, J.B.; Lee, C.-C.; Balogun, G.B.; Adeoti, J.O. Machine learning assisted snort and zeek in detecting DDoS attacks in software-defined networking. Int. J. Inf. Technol. 2024, 16, 1627–1643. [Google Scholar] [CrossRef]
Disclaimer/Publisher’s Note: The statements, opinions and data contained in all publications are solely those of the individual author(s) and contributor(s) and not of MDPI and/or the editor(s). MDPI and/or the editor(s) disclaim responsibility for any injury to people or property resulting from any ideas, methods, instructions or products referred to in the content. |
© 2025 by the authors. Licensee MDPI, Basel, Switzerland. This article is an open access article distributed under the terms and conditions of the Creative Commons Attribution (CC BY) license (https://creativecommons.org/licenses/by/4.0/).












