Next Article in Journal
AGV Scheduling for Optimizing Irregular Air Cargo Containers Handling at Airport Transshipment Centers
Next Article in Special Issue
Dynamic Programming-Based Approach to Model Antigen-Driven Immune Repertoire Synthesis
Previous Article in Journal
Chebyshev’s Method for Multiple Zeros of Analytic Functions: Convergence, Dynamics and Real-World Applications
Previous Article in Special Issue
Analysis and Optimal Control of a Two-Strain SEIR Epidemic Model with Saturated Treatment Rate
 
 
Font Type:
Arial Georgia Verdana
Font Size:
Aa Aa Aa
Line Spacing:
Column Width:
Background:
Article

The Forecasting of the Spread of Infectious Diseases Based on Conditional Generative Adversarial Networks

by
Olga Krivorotko
*,† and
Nikolay Zyatkov
Sobolev Institute of Mathematics SB RAS, Akademician Koptuyg Ave. 4, 630090 Novosibirsk, Russia
*
Author to whom correspondence should be addressed.
These authors contributed equally to this work.
Mathematics 2024, 12(19), 3044; https://doi.org/10.3390/math12193044
Submission received: 12 August 2024 / Revised: 20 September 2024 / Accepted: 26 September 2024 / Published: 28 September 2024
(This article belongs to the Special Issue Applied Mathematics in Disease Control and Dynamics)

Abstract

New epidemics encourage the development of new mathematical models of the spread and forecasting of infectious diseases. Statistical epidemiology data are characterized by incomplete and inexact time series, which leads to an unstable and non-unique forecasting of infectious diseases. In this paper, a model of a conditional generative adversarial neural network (CGAN) for modeling and forecasting COVID-19 in St. Petersburg is constructed. It takes 20 processed historical statistics as a condition and is based on the solution of the minimax problem. The CGAN builds a short-term forecast of the number of newly diagnosed COVID-19 cases in the region for 5 days ahead. The CGAN approach allows modeling the distribution of statistical data, which allows obtaining the required amount of training data from the resulting distribution. When comparing the forecasting results with the classical differential SEIR-HCD model and a recurrent neural network with the same input parameters, it was shown that the forecast errors of all three models are in the same range. It is shown that the prediction error of the bagging model based on three models is lower than the results of each model separately.

1. Introduction

The COVID-19 pandemic caused by a novel coronavirus continues to pose as a serious public health risk. Despite global efforts to employ several health care strategies for minimizing the impact of the coronavirus on the community, there is still a great need to understand the dynamics of the virus as it spreads from human to human. Mathematical models with computational simulations have been very effective tools that help such global efforts to understand the dynamics of the infectious disease, to estimate key transmission parameters, and to make further improvements for controlling this disease.
The mathematical modeling of the spread of infectious diseases are based on data and can be described by the following approaches:
  • The disease statistics approach using regression and neural networks models [1,2,3,4]. This approach makes it possible to construct short-term forecasts of the spread of diseases based on sufficient time series (epidemiological statistics) and tomography (X-ray images) [5] data, but it does not use the physical features of the epidemiological process;
  • The differential approach using differential equations based on the mass balance law such as SIR-type models [6], models described by advection–diffusion equations [7,8], stochastic differential equations [9], and the mean-field approach [10]. The essence of the approach is to divide the entire population into homogeneous groups based on characteristics (Susceptible, Infected, Removed, etc.) with the possibility of interaction with each other, as well as taking into account diffusion and stochastic processes. The advantage of the differential approach is the ability to determine epidemic parameters that are not available for measurement (contagiousness, the likelihood of a severe form of the disease, the proportion of asymptomatic patients, etc.) provided that there is no influence of other processes (social, economic, new infections, etc.) and the emergence of new strains of the disease;
  • The multiagent approach using agent-based models [11,12]. The essence of the approach is to construct a synthetic population in which each agent is endowed with a set of characteristics that can change during interaction. The agent-based approach can take into account accompanying processes and restrictive measures, taking into account which long-term forecasts can be obtained under known epidemiological parameters and information about the modeling region. However, the problem of determining them is ill posed, that is, its solution may be non-unique and/or unstable.
Infectious disease distribution data are often multivariate time-series data. Therefore, it is necessary to solve the problem of predicting individual indicators of the epidemiological situation in the region under consideration over time (newly diagnosed cases, the number of hospitalized people, etc.). As a rule, medical data are not enough to build a stable model of neural networks [2]. We chose to model the spread of COVID-19 as an example, since the collected data from around the world and regions in the Russian Federation are sufficient to apply to neural network models. In [13], a deep learning approach is proposed for predicting the number of newly diagnosed cases and the mortality from COVID-19 over a period of 1–4 weeks in several areas of the USA. The model, based on a recurrent neural network with so-called Long Short-Term Memory (LSTM), is trained on several time-series samples simultaneously. The results show that adding the population activity index as a variable and using multiple samples to train the network improve the forecasting performance. The authors in [3] developed two models for real-time monitoring and forecasting of the evolution of the COVID-19 pandemic: a non-linear regression model and an error correction model. It allows one to detect pandemic peaks and make short- and long-term deterministic forecasts of the number of infections, deaths, and people requiring hospitalization and intensive care in Spain for the first outbreaks of COVID-19.
There are a number of other works demonstrating the good predictive ability of neural networks on time series 1 day (step) ahead. The main difficulty in using such models is to choose the model architecture, select optimal hyperparameters of neural network, and develop a deterministic prediction approach to describe processes with random properties. Classical machine learning and time-series approaches do not allow for probabilistic forecasts, or have strong assumptions on the form of the future distribution of the target variable. In addition, there are methods such as bootstraping on time-series data to create a confidence interval for the forecast. However, generating a confidence interval using this method is labor-intensive, because, for each random sample, it is necessary to train a neural network (there may be tens or hundreds of thousands of pieces of data in the sample). This leads to the inability to capture uncertainty, which is crucial for a variety of applications.
This paper proposes a mathematical model based on a generative-adversarial neural network (GAN), which allows the construction of a stochastic time-series forecast taking into account the randomness of the modeled process (the spread of the COVID-19 pandemic). The main advantage of GANs for modeling epidemiological processes is the ability to generate the necessary amount of data from a similar distribution of real data to build mathematical models of epidemic dynamics.
GAN were first proposed by I. Goodfellow [14] in 2014 and are usually used for generating pictures. This design consists of two neural networks: a generator (G) and a discriminator (D). G receives some noise, usually Gaussian, as input and returns the generated sample as output. D evaluates the authenticity of samples by taking input from either the output of G or real data, calculating the probability that the input is from real data. The training analog of a GAN is a zero-sum minimax game between the generator and the discriminator. Each has opposite goals. The role of the discriminator is to distinguish real data from synthetic data and thus expose the generator, while the role of the generator is to try to improve itself to generate data similar to the true data, which can confound the discriminator. GANs are trained through an adversarial process that consists of simultaneously training two different neural network models (G and D). During the learning process, D and G evolve alternately until they reach Nash equilibrium. The loss function of the underlying GAN is as follows:
min G max D L ( D , G ) = E x p r ( x ) ln D ( x ) + E z p z ( z ) ln ( 1 D ( G ( z ) ) ) ,
where x represents the real sample and p r ( x ) is the data distribution of the real sample. Variable z represents the random noise and p z ( z ) is the data distribution of the noise. G ( z ) represents the sample generated by G and E represents the mathematical expectation.
Establishing metrics to quantitatively show how well GANs produce synthetic data is still an ongoing research area [15]. Moreover, 1D generations cannot use the same metric for realism that is used in 2D generations, in part because there is no base line standard data set for 1D generations. Medical and biological time-series data require lengthy data collection and subject matter expertise. There is a standard log-loss metric [16], Wasserstein metric [17], Hausdorf metric [18], and others.
GANs can reproduce the process of uncertainty estimates, similar to the Bayesian approach, in contrast to the standard point estimates approach. GANs can be applied as an assumption-free model to produce a forecast distribution given the same single condition.
In previous papers, we applied a recurrent neural network for the construction of the deterministic short-term forecasts of daily diagnosed and critical cases caused by COVID-19 in Russian Federation regions using the mean squared error (MSE) loss-function [19,20]. This model used 20 features of epidemiological data and was not sensitive to stochastic variations in the pandemic process (new strains, socio-economic influence, migration, etc.).
In [21], we constructed the compartmental SEIR-HCD model, based on the mass balance law with seven compartments (Susceptible, Exposed, Infectious, Recovered, Hospitalized, Critical, and Dead) characterized by seven ordinary differential equations. The coefficients of differential equations describe epidemic and region-specific characteristics of infectious diseases (contagiousness, asymptomatic infectious rate, the mortality probability, and so on). The model parameters should depend on time (new strains, interventions, other infections, etc.) and socio-economic characteristics in order to describe the COVID-19 pandemic more accurately than when using classical SIR-type models with constant parameter for the modeling of one peak. The solution of the parameter identification problem for the SEIR-HCD model is non-unique and unstable.

Conditional GAN

Conditional generative adversarial networks (CGANs) are a natural extension to standard GANs [14] and were first explored by Mirza and Osindero [22]. Instead of having all data samples from the same underlying distribution, we assume that the data x come from a conditional distribution p x ( x | y ) , given some deterministic condition y.
The essence of making forecasts for a time series is that knowing the context for the previous K time steps t, t 1 , …, t ( K 1 ) ; thus, a forecast is built for the next L values of the time series t + 1 , , t + L . In this regard, the CGAN architecture is ideal for generating multiple possible forecast trajectories, which allows the GAN to generate specific patterns based on conditions. The same auxiliary condition y is passed to both the generator and the discriminator as additional input layers (Figure 1). The CGAN loss function looks like this:
min G max D L ( D , G ) = E x p r ( x | y ) ln D ( x ) + E z p z ( z ) ln ( 1 D ( G ( z | y ) ) ) ,
where ( x | y ) is real data with condition y, and ( z | y ) is a random noise with condition y.
Figure 1 shows the CGAN diagram we used. It consists of several components: a generator neural network G, a discriminator neural network D, prepared data in the form of pairs of conditions y [ t L + 1 ; t ] for the previous L 1 days and current day t, and real data x [ t + 1 ; t + K ] in the future K days.
The task of the discriminator D is that of using the condition y [ t L + 1 ; t ] to distinguish the real data x [ t + 1 ; t + K ] from fakes x f a k e [ t + 1 ; t + K ] (indicate the probability that the sample is true) using the same condition y [ t L + 1 ; t ] . Here, x f a k e = G ( z | y ) are fake data generated by G. Therefore, for the discriminator neural network D, the problem of supervised binary classification is posed. The x objects are assigned a class with label 1, the x f a k e objects are assigned a class with label 0, and the following residual error is minimized (binary cross entropy):
D l o s s = ln ( D ( x ) ) ln ( 1 D ( G ( z | y ) ) ) min D .
Note that this formula is similar to the following notation:
D l o s s = ln ( D ( x ) ) + ln ( 1 D ( G ( z | y ) ) ) max D .
On the other hand, the task of the generator G is to mislead the discriminator and, using the condition y [ t L + 1 ; t ] and white noise z, to generate a prediction x f a k e [ t + 1 ; t + K ] for the next K days such that the discriminator could not distinguish it from the real one. Therefore, for the neural network of the generator G, the task of binary classification with a teacher is set. To do this, x f a k e objects are assigned a class with label 1 and the following residual error is minimized (binary cross entropy):
G l o s s = ln ( D ( G ( z | y ) ) ) min G .
Note that this formula is similar to the following notation:
G l o s s = ln ( 1 D ( G ( z | y ) ) ) min G .
Considering that the neural networks of generator G and discriminator D optimize their weights at each learning step (stochastic gradient descent) in turn, the final error function of the CGAN, taking into account (2) and (3), will look like (1).
Our goal is to build probabilistic short-term forecasts of the spread of COVID-19 for St. Petersburg in Russian Federation based on a CGAN model and to find the application area of the CGAN model based on a comparison of the resulting average forecasts from the following well-used models: (1) a recurrent neural network; (2) a compartmental SEIR-HCD model, using the point estimates approach.
The paper is organized as follows. In Section 2, epidemiological data, processing, and the CGAN architecture are described. The numerical results of modeling and short-term forecasts of the spread of COVID-19 for St. Petersburg for new daily diagnosed people and a comparison with the recurrent neural network and SEIR-HCD model are demonstrated and analyzed in Section 3. A discussion of the results, areas of applicability of the CGAN model, and open questions are given in Section 4. The results obtained in this paper are reproducible using the code from our public repository: https://github.com/nzyatkov/covid19.cgan (accessed on 12 August 2024).

2. Materials and Methods

This section delves into the experimental setup, data collection and processing methods, CGAN model architecture, training procedures, and evaluation metrics employed in the development and testing of the predictive models.

2.1. Data Processing

2.1.1. Available Raw Data

We used raw data [23] on the dynamics of the COVID-19 pandemic in St. Petersburg. These data were compiled from the following website: https://www.gov.spb.ru/covid-19/ (accessed on 10 August 2024), publications on the telegram channel “St. Petersburg against coronavirus”, and media publications. To build a model based on CGAN, we used the following time series of COVID-19 propagation in St. Petersburg from 2020 to 2024:
  • Daily number of newly diagnosed COVID-19 cases (Figure 2);
  • Current number of hospitalized people as a result of COVID-19 (Figure 3);
  • Current number of COVID-19 patients requiring a ventilator (Figure 4);
  • Daily number of deaths due to COVID-19 (Figure 5);
  • Daily number of people tested for COVID-19 using a PCR test (Figure 6);
  • Daily number of newly diagnosed COVID-19 cases around the world (Figure 7).
We also used daily updated data on the results of testing for late IgG antibodies to SARS-CoV-2 in St. Petersburg from the INVITRO laboratory [24]. Figure 8 shows the dynamics of the percentage of people tested who had IgG antibodies for COVID-19. We also used the self-isolation index from Yandex [25], which describes the level of population activity on the street in a range from 0 to 5. To do this, the index developers compared the level of urban activity on a certain day during the pandemic and on a normal day before the pandemic. If it was the same as during rush hour on a regular weekday, then the level of self-isolation was considered low and was rated 0. If activity in the city was low, like at night, it was rated 5. Figure 9 shows the dynamics of the self-isolation index from Yandex.

2.1.2. Smoothing, Interpolation, and Removal of Outliers in Data

To reduce noise in the data, we smoothed the new daily cases of COVID-19, daily deaths due to COVID-19, and the number of PCR-tested in St. Petersburg residents with a 7-day exponential moving average. The choice of smoothing for 7 days was due to the peculiarity of the medical system in Russia: the number of patients on Monday and Tuesday was higher than on weekends due to delays in tests [26]. We smoothed the percentage of residents of St. Petersburg with late IgG antibodies for COVID-19 with a 14-day exponential average, because these data turned out to be the most noisy. We did not smooth out the rest of the data (hospitalized people, the number of newly diagnosed cases of COVID-19 around the world, the number of COVID-19 cases requiring ventilator, and the Yandex self-isolation index).
Raw data contain empty values and outliers. We filled in the empty values in the data using linear interpolation. The outliers, of which there were not many, were identified visually and removed.
Figure 10 shows an example of a processed time series (after smoothing, interpolation, and removal of outliers in the data) of the number of daily deaths due to COVID-19 in St. Petersburg from 2020 to 2024.
Table 1 shows the statistics of the processed data that we used in our research.

2.1.3. Data Augmentation

The number of daily diagnosed COVID-19 cases, normalized by the number of people tested. As a rule, the indicator of newly diagnosed cases (Figure 2) represents the number of cases detected by PCR test and may not reflect the real epidemiological dynamics in the city, because this indicator depends on the total number of daily PCR tests performed, which was not constant. Since we had information at our disposal on the number of daily PCR tests performed in St. Petersburg, we generated a new time series as the ratio of cases identified by PCR to the total number of PCR tests performed per day (Figure 6). Figure 11 shows such a time series after processing.
The constructed time series could more accurately indicate the dynamics of daily infected people with COVID-19 in St. Petersburg and was used in CGAN learning as well (see Section 2.1.5 for all the features used in CGAN learning).
Logarithmic transformation. The very nature of epidemiological outbreaks is characterized by their rare but sharp gradual growth and attenuation.
An analysis of the available time series (Figure 2, Figure 3, Figure 4, Figure 5, Figure 6, Figure 7, Figure 8 and Figure 9) describing the epidemiological situation showed that, for most of them, the following is the case:
  • The distributions are not normal and have fat tails;
  • The distributions are asymmetrical (skewed);
  • Most are not stationary according to the results of the ADF test (Augmented Dickey–Fuller test).
Figure 12, on the left, shows an example of a processed time series of daily deaths in St. Petersburg due to COVID-19 and the result of the ADF test for stationarity (p-value = 0.2262 , which indicates the non-stationary nature of the time series). The middle chart in Figure 12 allowed us to visually assess how close the distribution of deaths in St. Petersburg was to the normal distribution. The red line represents the dependence of the quantiles of a normal distribution on the quantiles of the same normal distribution. Black dots represent the dependence of the quantiles of the distribution of the number of daily deaths in St. Petersburg due to COVID-19 on the quantiles of the normal distribution. The closer the black dots are to the red line, the more the distribution of the number of daily deaths in St. Petersburg resembles normal. In Figure 12 on the right, the blue columns show a histogram of the density distribution of the number of daily deaths in St. Petersburg due to COVID-19, the black line represents the histogram using a continuous probability density curve using the kernel density estimation method, and the red curve is the normal distribution with mean and variance taken from the analyzed data.
To transform the time series to stationary, and also to remove asymmetry in the data, we used logarithmic transformations and the differences of these logarithms for the current day and δ days ago:
f δ ( t ) = ln ( f ( t ) + 1 ) ln ( f ( t δ ) + 1 )
Natural logarithms are used to convert an exponential growth model to a linear trend and stabilize variance. The difference between the logarithm of the current value and δ days ago allowed us to remove the linear trend and make the final series stationary.
Figure 13 shows an example of a transformed time series of daily deaths in St. Petersburg due to COVID-19 using the Formula (4) for δ = 7 , as well as a comparison of its distribution with the normal one. It can be seen that, after such a transformation, the distribution began to resemble a normal one, the series became stationary (the result of the ADF test p-value was 0, which indicates the stationarity of the time series), and the asymmetry in the distribution was eliminated (the non-transformed time series is illustrated in Figure 12). We carried out a similar procedure for different values of δ for newly diagnosed cases of COVID-19 in St. Petersburg, hospitalized people, the number of deaths, patients requiring ventilators, the number of people tested, and diagnosed cases of COVID-19 around the world (Figure 2, Figure 3, Figure 4, Figure 5, Figure 6 and Figure 7), and the number of newly diagnosed cases of COVID-19 normalized by the number of people tested (Figure 11). We justify the choice of δ for each series in the next Section 2.1.4.

2.1.4. Target Values (Labels)

The goal of our study was to predict new daily diagnosed cases of COVID-19 in the short term (1–5 days). For similar reasons as those described in the previous subsection, we represent our target time series F ( t + K ) using logarithmic transformations:
F ( t + K ) = ln ( f ( t + K ) + 1 ) ln ( SMA ( f ( t ) , 7 ) + 1 ) , K = 1 , , 5 .
To avoid noise in the target values, we used 7-day smoothing with a simple moving average: SMA ( f ( t ) , 7 ) = 1 7 j = 0 6 f ( t j ) . The formula for inversely transforming the obtained forecasts F ( t + K ) to obtain the real number of identified cases f ( t + K ) of COVID-19 in St. Petersburg on day t + K , K = 1 , , 5 , is as follows:
f ( t + K ) = ( SMA ( f ( t ) , 7 ) + 1 ) e F ( t + K ) 1 , K = 1 , , 5 .
Figure 14 shows the target time series F ( t + K ) , K = 1 , , 5 , for the forecasting of newly diagnosed cases of COVID-19 in St. Petersburg 1–5 days in advance.

2.1.5. Preparing Data for Deep Learning

Due to the limited amount of data available from 2020 to 2024 (about 600–1000 time points for each time series), we could not endlessly increase the number of features for the machine learning model. Therefore, to build a short-term forecast (1–5 days in advance) of newly diagnosed cases of COVID-19 in St. Petersburg, we selected the following 20 features:
  • The number of daily diagnosed cases of COVID-19;
  • The number of daily diagnosed COVID-19 cases, normalized by the number tested;
  • The number of daily diagnosed cases of COVID-19 around the world;
  • Logarithmic transformation according to formula (4) of the number of newly diagnosed cases for δ = 3 , 7 , 10 days, reflecting the growth rate of newly diagnosed cases in relation to the previous 3, 7, and 10 days;
  • Logarithmic transformation according to formula (4) of the number of newly diagnosed cases, normalized by the number of people tested for δ = 3 , 7 , 10 days, reflecting the growth rate of newly diagnosed cases, normalized by the number of people tested, in relation to the previous 3, 7, and 10 days;
  • Logarithmic transformation according to formula (4) of the number of hospitalized cases for δ = 3 , 7 , 10 days, reflecting the rate of increase in the number of hospitalized cases in relation to the previous 3, 7, and 10 days;
  • Logarithmic transformation according to formula (4) of the number of daily deaths as a result of COVID-19 in St. Petersburg for δ = 21 , reflecting the rate of increase in the number of deaths in relation to the previous 21 days;
  • Logarithmic transformation according to formula (4) of the number of diagnosed cases of COVID-19 around the world for δ = 7 , 14 , 21 , 28 , 42 , reflecting the growth rate of the number of diagnosed cases of COVID-19 around the world in relation to the previous 7, 14, 21, 28, and 42 days;
  • Percentage of St. Petersburg residents with late IgG antibodies for COVID-19 from the INVITRO laboratory;
  • Self-isolation index from Yandex reflecting the level of contact between the population in public places.
We prepared data for training and testing the machine learning model using the sliding time window method. The data were presented as a set of two-dimensional arrays of dimension L × M (where L denotes the size of the past time window with samples t L 1 , , t , and M denotes the number of time series involved in forecasting) and the corresponding true forecasts in the form of a vector of dimension K with samples t + 1 , , t + K , which needs to be predicted. In our work, we used the sliding window width L = 14 , which corresponds to a two-week observation of the dynamics of the development of COVID-19 in St. Petersburg. The number of features M is equal to 20. The forecast range K is equal to 5 days. Thus, based on the previous 14-day context of COVID-19 data in St. Petersburg, we were able to build a forecast for the next 5 days for new identified cases, and generate the 95% confidence interval (95% CI) of this forecast. A visual representation of data preparation for a machine learning model is shown in Figure 15.

2.1.6. Spliting Data into Training and Testing

Time-series data for CGAN learning (see Section 2.1.5) were divided into training (from the beginning to the end of the Omicron strain outbreak) and testing data (from the Deltacron outbreak beginning to the Pirola outbreak). The indication of the prevailing COVID-19 strains in St. Petersburg is given in the example in Figure 16 of the daily number of newly diagnosed cases of COVID-19 in St. Petersburg.

2.2. CGAN Architecture

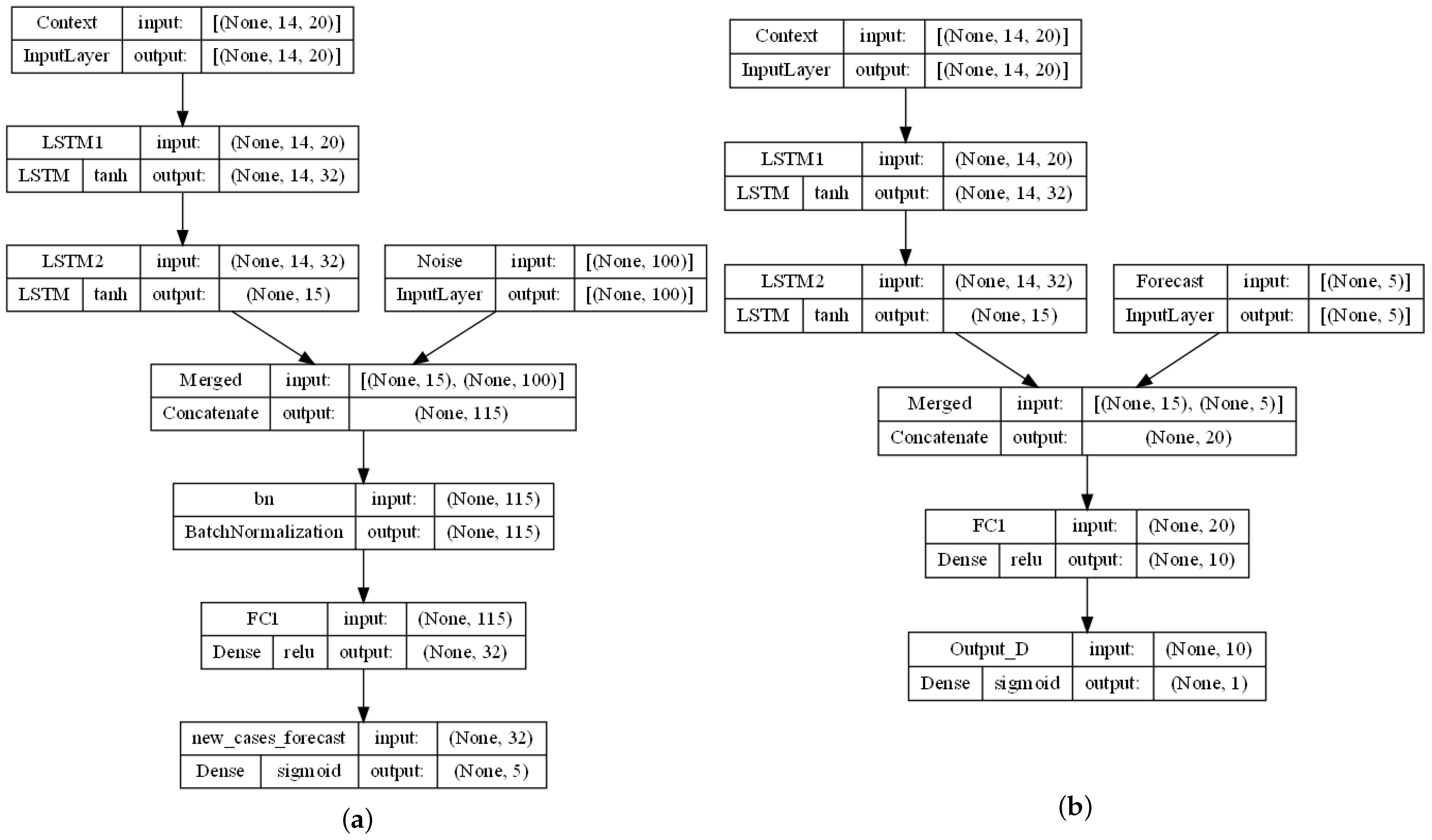
Figure 17a shows the generator architecture. The generator is a recurrent neural network that has two inputs: the data context y [ t ; t L + 1 ] for the last L time steps, consisting of M = 20 features characterizing the dynamics of the epidemiological situation of COVID-19 in St. Petersburg (see Section 2.1.5), and white noise z of dimension n o i s e _ d i m = 100 . The data context y [ t ; t L + 1 ] is transformed through two recurrent LSTM layers into a one-dimensional vector of dimension 15 and then merged with a white noise vector z. Next, we use a batch normalization layer to obtain normally distributed data, which we then transform using a fully connected layer of dimension 32 and the ReLU (Rectified Linear Unit) activation function:
R e L U ( x ) = max { 0 , x } .
In the final step, the resulting vector is transformed using a fully connected layer and the output is a vector of dimension 5—a generated forecast of newly diagnosed cases of COVID-19 in St. Petersburg for the next 5 days. The sigmoid function σ ( x ) is used to normalize the forecast between 0 and 1:
σ ( x ) = 1 1 + e x .
Figure 17b shows the discriminator architecture. The discriminator is a recurrent neural network that has two inputs: the data context y [ t ; t L + 1 ] for the last L time steps, consisting of M = 20 features characterizing the dynamics of the epidemiological situation of COVID-19 in St. Petersburg (see Section 2.1.5), and the real forecast x [ t + 1 ; t + K ] or the forecast generated by the generator x f a k e [ t + 1 ; t + K ] for the next K = 5 days. The data context y [ t ; t L + 1 ] (precedes the forecast or real future data in the segment [ t + 1 ; t + 5 ] in time) is transformed through two recurrent LSTM layers into a one-dimensional vector of dimension 15 and then merged with the real forecast x [ t + 1 ; t + 5 ] or the forecast generated by the generator x f a k e [ t + 1 ; t + K ] for the next K days after the context. The resulting vector is transformed using fully connected layer of dimension 10 and the ReLU activation function. In the final step, the resulting vector is transformed using a fully connected layer using the sigmoid function and a vector of dimension 1 is formed at the output, i.e., the probability that the forecast x/ x f a k e submitted to the discriminator is real.
Table 2 shows the CGAN hyperparameters and the values we chose.

3. Results

In this Section, the simulation results of COVID-19 propagation in St. Petersburg are demonstrated based on the CGAN model and its comparison with the forecasting results of COVID-19 spread based on differential and neural network models.

3.1. CGAN Modeling and Prediction Results

We trained the CGAN to make a probabilistic forecast of newly diagnosed COVID-19 cases in St. Petersburg for the following 5 days using training data from October 2020 to July 2022 (see Figure 16). Figure 18 shows the training loss curve depending on the epoch number for the generator (Figure 18a), discriminator (Figure 18b), and the total loss of the generator and discriminator (Figure 18c). It is worth noting that due to the complexity of the objective functional describing the minimax problem, joint training of the generator and the discriminator was unstable, since the improvement of the generator weights usually occurs due to the deterioration of the discriminator and vice versa. However, from the dynamics of the curve in Figure 18c, it can be seen that the system reached equilibrium around the 100th epoch and the total loss of the CGAN generator and discriminator no longer improved or worsened. Nevertheless, it is clear that, during the training period, the loss of both the generator (Figure 18a) and the discriminator (Figure 18b) decreased, that is, there was a learning process for both the neural networks of the generator and the discriminator.
Figure 19 shows the generator forecasting results (generating one trajectory—the red solid line) on the training data from October 2020 to July 2022 for 1, 3, and 5 days in advance and comparing them with the target values F ( t + 1 ) , F ( t + 3 ) , F ( t + 5 ) determined by Equation (5) (the black dotted line in Figure 19).
It is visually clear that the generator was successfully trained on the data despite the complexity of the target functional. The generator forecast results (generating one trajectory) for 1, 3, and 5 days ahead based on the test data (on which the CGAN was not trained) from July 2022 to January 2024 are shown in Figure 20.
To obtain forecasts of newly diagnosed cases of COVID-19 in St. Petersburg based on the test data and to estimate the confidence intervals (95% CI) of the forecasts, we performed the following:
  • Generated 10,000 target forecasts F ( t + 1 ) , F ( t + 3 ) , F ( t + 5 ) using the generator;
  • Transformed the obtained 10,000 forecasts using formula (6) to obtain forecasts of daily diagnosed cases of COVID-19 in St. Petersburg for the next t + 1 , t + 3 , and t + 5 days;
  • Calculated the average μ of 10,000 forecasts generated by the generator, and the standard deviation σ ^ .
Figure 21 shows the results of the forecast of newly identified cases of COVID-19, and the 95% CI of the forecasts in the interval [ 3 σ ^ ; 3 σ ^ ] in St. Petersburg for the following 1 (Figure 21a), 3 (Figure 21b), and 5 (Figure 21c) days for the COVID-19 outbreak from July 2022 to November 2022. In the first column of the figures, the black dotted curve represents the real data of newly diagnosed cases of COVID-19, the red solid line is the average of 10,000 generator forecasts f ( t + K ) , and the light red area is the 95% CI of the forecast in the interval [ 3 σ ^ ; 3 σ ^ ] . In the second column of the figures, the red line represents the dependence of the true forecasts as a function of themselves. The blue dots indicate the dependence of the average forecast generated by the generator on the true forecasts. The closer the blue dots are to the red line, the more accurate the forecasts generated by the generator. The third column of the figures shows histograms of the error calculated as the difference between the true forecast and the average forecast generated by the generator.
Figure 22 shows the results of the forecast of newly diagnosed cases of COVID-19 f ( t + K ) , and the 95% CI of the forecasts in the interval [ 3 σ ^ ; 3 σ ^ ] in St. Petersburg for the next K = 1 (Figure 22a), K = 3 (Figure 22b), and K = 5 (Figure 22c) days for the COVID-19 outbreak from October 2023 to January 2024.
The visualization of the forecasts and a comparison with the real data (see Figure 21 and Figure 22) show that the model predicted the development of an epidemic outbreak well, but did not predict the decline of the epidemic well enough.
Table 3 shows the calculated root mean square error (RMSE) and mean absolute error (MAE) of the forecast of newly diagnosed cases of COVID-19 based on the test data from July 2022 to January 2024 for the next 5 days, and the mean absolute percentage error (MAPE) of the forecast and real data. Note that the average number of daily diagnosed cases of COVID-19 during this period was 877. It can be seen that the further we tried to make a forecast into the future, the higher the error of this forecast. However, the MAPE in the forecast of diagnosed COVID-19 cases in St. Petersburg for next day was 10%.
Table 4 shows the percentage of successful hits within the 95% CI [ k σ ^ ; k σ ^ ] , constructed by the generator for k = 1 , 2 , 3 . The table shows that, for test data, the percentage of successful hits in the 95% CI [ 3 σ ^ ; 3 σ ^ ] was 68–90%.
As another example of the application of the CGAN with the same architecture to predict the spread of COVID-19, the Novosibirsk region (a region of the Russian Federation) was studied (see Figure 23).
Figure 23 shows the results of predicting the number of newly diagnosed cases of COVID-19 in the Novosibirsk region for 1 (a) and 5 (b) days ahead. Note that the Omicron outbreak was well predicted within the 95% CI of the method. Despite the fact that the statistical data contain errors in the collecting statistics, and the model does not take into account all socio-economic measures to contain the pandemic, the resulting forecast qualitatively describes the situation in the region.

3.2. Comparison with Other Models

We compared the simulation results of probabilistic forecasts for days t + 1 , , t + 5 of newly diagnosed cases of COVID-19 based on the CGAN with forecasts obtained by the SEIR-HCD compartmental model [21,27] and a recurrent neural network [19]. In all three models, we used a sliding time window of length L = 14 days, the data in which were used to predict the outbreak of newly diagnosed cases of COVID-19 in the next K = 5 days.
The SEIR-HCD model used the following data:
  • Daily number of newly diagnosed cases of COVID-19 in St. Petersburg;
  • Daily number of people tested for COVID-19 using PCR;
  • Current cumulative number of deaths due to COVID-19;
  • Current diagnosed number of people with COVID-19 in St. Petersburg in a mild form (under outpatient observation);
  • Current number of people with COVID-19 in St. Petersburg and in hospital (hospitalized cases);
  • Current number of people with COVID-19 in St. Petersburg who require ventilators (critical cases).
Using these data, a direct problem was constructed in the form of a numerical solution of the seven ordinary differential equations. To obtain the morbidity parameters q = { α e , α i , ϵ h c , μ } in the current time window L = 14 days, the inverse problem of minimizing by q > 0 the following misfit function was solved:
J ( q ) = t = 1 L I ( t ; q ) I r e a l ( t ) I r e a l ( t ) 2 .
where I ( t ; q ) is the number of COVID-19 cases in the region for the epidemic parameters q modeled by the SEIR-HCD model [21], I r e a l ( t ) denotes the estimate of how many people actually have COVID-19 in St. Petersburg and was calculated as the current identified number of people with COVID-19 in St. Petersburg divided by the correction factor: the daily number of diagnosed cases of COVID-19 divided by the daily number of people tested for COVID-19 by the PCR method (see [21] for more details).
The algorithm for the construction of the prediction scenarios of new daily diagnosed COVID-19 cases in St. Petersburg based on the SEIR-HCD model is as follows:
  • For L = 14 days of real data (see below), the epidemic parameters q R 4 were reconstructed using the Tree Parzen estimator based on the Bayesian approach (package OPTUNA https://optuna.org/ (accessed on 10 August 2024));
  • The SEIR-HCD model provided the optimized parameters q and newly diagnosed cases of COVID-19 (connected with I ( t ) ) for the next K = 5 days were identified;
  • The sliding window was moved by 1 day and the algorithm was repeated.
The recurrent neural network model used the same data to those used in the CGAN model. The architecture of this neural network and its optimal hyperparameters were taken from the following paper [20].
Figure 24 shows a comparison of the prediction results of newly diagnosed COVID-19 cases in St. Petersburg for the next 1, 3, and 5 days obtained using three models based on the test data from July 2022 to January 2024, on which the above models were not trained. The black dotted curve represents real forecasts for the following 1, 3, and 5 days, the red curve is the forecast obtained using the SEIR-HCD model, the purple curve is the forecast obtained using the recurrent neural network, and the blue curve is the mean forecast obtained using the CGAN through the generation of 10,000 prediction trajectories. The differential SEIR-HCD model reacted more sensitively to the rate of change in the number of newly diagnosed cases due to its properties: with constant epidemic parameters q, the SEIR-HCD solution is characterized by one outbreak of infections and a smooth change in other compartments (the red line in Figure 24 is more unstable due to the L = 14 -day sliding window). The prediction results for the LSTM (purple curve) and CGAN (blue curve) models are close to each other. But, the CGAN model produced a confidence interval of forecasting results that allowed us for evaluate the prediction accuracy.
Table 5 and Table 6 show the calculated root mean square error (RMSE) and mean absolute error (MAE) of the forecast of newly diagnosed COVID-19 cases for the next 5 days and the mean absolute percentage error (MAPE) of the forecast for the SEIR-HCD and recurrent neural network models, respectively. Here, the neural network (LSTM) simulation results were more accurate than the differential SEIR-HCD model results.
If we compare the errors of the three models (see Table 3, Table 5, and Table 6), we can conclude that the model predictions are closed to each other (with a maximum difference of 2–3%). Table 7 shows the model error obtained by bagging, i.e., averaging the CGAN, SEIR-HCD, and recurrent neural network model results. It can be seen that this approach reduced the error in forecasting.

4. Discussion

The paper builds a mathematical model of the spread and short-term forecast of COVID-19 in the regions of the Russian Federation based on a CGAN, which consists of two neural networks that seek to solve a minimax problem. The CGAN was trained on 20 time series and their transformations characterizing the spread of the COVID-19 pandemic in St. Petersburg. A comparison of the modeling and forecasting with two mathematical models: a recurrent neural network (LSTM) and a differential SEIR-HCD model, was carried out.
The prediction accuracy based on the CGAN was slightly worse than that obtained from the recurrent neural network with LSTM layers and the SEIR-HCD mathematical model. The amount of additional information for the CGAN was less than when constructing other models. The test data fell within the resulting confidence intervals constructed by the CGAN even for an anomalous outbreak of the Omicron strain.
It was possible to improve the forecasting accuracy of the CGAN model by reducing the condition space y and changing the architecture of the neural networks from recurrent to transformer, for example. To adapt the CGAN to time-series forecasting, it is also recommended to select a specific loss-function, taking into account the peculiarity of the CGAN, in which the binary classification problem is solved.
In [21], which are based on a deterministic differential mathematical SIR-type model, it was not possible to predict the outbreak of the disease. In [26], within the framework of the labor-intensive calculations of the agent-based model of the COVID-19 dynamics in the Novosibirsk region (the synthetic population was about 2.7 million people), it was possible to estimate the probability of an Omicron outbreak. However, modeling the COVID-19 pandemic in St. Petersburg (the synthetic population was about 5.6 million people) required more computing resources, which significantly increased the modeling time and the quality of forecasts. The advantage of using a CGAN model is the fast and efficient calculation of short-term forecasts of the epidemic development in regions of any size and the ability to generate data from a given distribution of statistics for efficient learning to predict the spread of a disease.

Author Contributions

Conceptualization, O.K. and N.Z.; methodology, O.K.; software, N.Z.; validation, O.K. and N.Z.; formal analysis, O.K.; investigation, O.K. and N.Z.; data curation, N.Z.; writing—original draft preparation, O.K. and N.Z.; writing—review and editing, O.K.; visualization, N.Z.; project administration, O.K. All authors have read and agreed to the published version of the manuscript.

Funding

This research was funded by the Government research assignment for Sobolev Institute of Mathematics SB RAS, project FWNF-2024-0002.

Data Availability Statement

Epidemiology data are collected at website: https://ai-biolab.ru/data/En (accessed on 10 August 2024). The CGAN architecture data presented in this study are available on GitHub: https://github.com/nzyatkov/covid19.cgan (accessed on 12 August 2024).

Conflicts of Interest

The authors declare no conflicts of interest.

Abbreviations

The following abbreviations are used in this manuscript:
ADF testAugmented Dickey–Fuller test
CGANsConditional generative adversarial networks
CIConfidence interval
COVID-19Coronavirus Disease 2019
GANsGenerative adversarial networks
LSTMLong short-term memory
MAEMean absolute error
MAPEMean absolute percentage error
MSEMean squared error
PCRPolymerase chain reaction
RMSERoot mean square error
SIRMathematical model of infectious disease dynamics based on mass balance law and population is assigned to compartments Susceptible, Infectious, and Removed
SEIR-HCDSIR type model with seven compartments: Susceptible, Exposed, Infectious, Recovered, Hospitalized, Critical, and Dead

References

  1. Raissi, M.; Ramezani, N.; Seshaiyer, P. On parameter estimation approaches for predicting disease transmission through optimization, deep learning and statistical inference methods. Lett. Biomath. 2019, 6, 1–26. [Google Scholar] [CrossRef]
  2. Wieczorek, M.; Silka, J.; Wozniak, M. Neural network powered COVID-19 spread forecasting model. Chaos Solitons Fractals 2020, 140, 110203. [Google Scholar] [CrossRef] [PubMed]
  3. González-Pérez, B.; Núñez, C.; Sánchez, J.L.; Valverde, G.; Velasco, J.M. Expert system to model and forecast time series of epidemiological counts with applications to COVID-19. Mathematics 2021, 9, 1485. [Google Scholar] [CrossRef]
  4. Jin, W.; Dong, S.; Yu, C.; Luo, Q. A data-driven hybrid ensemble AI model for COVID-19 infection forecast using multiple neural networks and reinforced learning. Comput. Biol. Med. 2022, 146, 105560. [Google Scholar] [CrossRef] [PubMed]
  5. Ezzoddin, M.; Nasiri, H.; Dorrigiv, M. Diagnosis of COVID-19 cases from chest X-ray images using deep neural network and LightGBM. In Proceedings of the 2022 International Conference on Machine Vision and Image Processing (MVIP), Ahvaz, Iran, 23–24 February 2022; pp. 1–7. [Google Scholar]
  6. Kermack, W.O.; McKendrick, A.G. A contribution to the mathematical theory of epidemics. Proc. R. Soc. Lond. A 1927, 115, 700–721. [Google Scholar]
  7. Allen, L.J.S. An Introduction to Mathematical Biology; Pearson/Prentice Hall: Upper Saddle River, NJ, USA, 2007. [Google Scholar]
  8. Brauer, F.; Driessche, P.; Wu, J. Mathematical Epidemiology; Springer: Berlin/Heidelberg, Germany, 2008. [Google Scholar]
  9. Allen, L.J. An introduction to stochastic epidemic models. In Mathematical Epidemiology; Brauer, F., van den Driessche, P., Wu, J., Eds.; Springer: Berlin, Germany, 2008; pp. 81–130. [Google Scholar]
  10. Roy, A.; Singh, C.; Narahari, Y. Recent advances in modeling and control of epidemics using a mean field approach. Sadhana 2023, 48, 207. [Google Scholar] [CrossRef]
  11. Kerr, C.C.; Stuart, R.M.; Mistry, D.; Abeysuriya, R.G.; Rosenfeld, K.; Hart, G.R.; Núñez, R.C.; Cohen, J.A.; Selvaraj, P.; Hagedorn, B.; et al. Covasim: An agent-based model of COVID-19 dynamics and interventions. PLoS Comput. Biol. 2021, 17, e1009149. [Google Scholar] [CrossRef] [PubMed]
  12. Salem, F.A.; Moreno, U.F. Covasim: A multi-agent-based simulation model for the spreading of diseases through social interactions during pandemics. J. Control Autom. Electr. Syst. 2022, 33, 1161–1176. [Google Scholar] [CrossRef]
  13. Nikparvar, B.; Rahman, M.M.; Hatami, F.; Thill, J.C. Spatio-temporal prediction of the COVID-19 pandemic in US counties: Modeling with a deep LSTM neural network. Sci. Rep. 2021, 11, 21715. [Google Scholar] [CrossRef] [PubMed]
  14. Goodfellow, I.; Pouget-Abadie, J.; Mirza, M.; Xu, B.; Warde-Farley, D.; Ozair, S.; Courville, A.; Bengio, Y. Generative adversarial nets. In Advances in Neural Information Processing Systems; Ghahramani, Z., Welling, M., Cortes, C., Lawrence, N., Weinberger, K.Q., Eds.; Curran Associates, Inc.: Red Hook, NY, USA, 2014; Volume 27. [Google Scholar]
  15. Borji, A. Pros and cons of gan evaluation measures. Comput. Vis. Image Underst. 2019, 179, 41–65. [Google Scholar] [CrossRef]
  16. Vuletic, M.; Prenzel, F.; Cucuringu, M. Fin-GAN: Forecasting and classifying financial time series via generative adversarial networks. Quant. Financ. 2024, 24, 175–199. [Google Scholar] [CrossRef]
  17. Smith, K.; Smith, A.O. Conditional GAN for timeseries generation. arXiv 2020, arXiv:2006.16477v1. [Google Scholar]
  18. Wang, S.; Wang, G.; Fu, Q.; Song, Y.; Liu, J. IH-TCGAN: Time-Series Conditional Generative Adversarial Network with Improved Hausdorff Distance for Synthesizing Intention Recognition Data. Entropy 2023, 25, 781. [Google Scholar] [CrossRef] [PubMed]
  19. Krivorotko, O.I.; Zyatkov, N.Y.; Kabanikhin, S.I. Modeling epidemics: Neural network based on data and SIR-model. Comput. Math. Math. Phys. 2023, 63, 1929–1941. [Google Scholar] [CrossRef]
  20. Krivorotko, O.; Zyatkov, N. Modeling of the COVID-19 epidemic in the Russian regions based on deep learning. In Proceedings of the 5th International Conference on Problems of Cybernetics and Informatics (PCI 2023), Baku, Azerbaijan, 28–30 August 2023; pp. 1–5. [Google Scholar]
  21. Krivorotko, O.I.; Zyatkov, N.Y. Data-driven regularization of inverse problem for SEIR-HCD model of COVID-19 propagation in Novosibirsk region. Eurasian J. Math. Comput. Appl. 2022, 10, 51–68. [Google Scholar] [CrossRef]
  22. Mirza, M.; Osindero, S. Conditional generative adversarial nets. arXiv 2014, arXiv:abs/1411.1784. [Google Scholar]
  23. Kouprianov, A. COVID-19.SPb.Monitoring. Monitoring COVID-19 Epidemic in St. Petersburg, Russia: Data and Scripts. 2021. Available online: https://github.com/alexei-kouprianov/COVID-19.SPb.monitoring (accessed on 10 August 2024).
  24. INVITRO-SARS-CoV-2-Index. Coronavirus: INVITRO Statistics on the Number of Patients with Detected Antibodies in in St. Petersburg. Available online: https://www.invitro.ru/moscow/l/invitro_monitor/ (accessed on 10 August 2024).
  25. Yandex Research—Self-Isolation Index. Available online: https://yandex.ru/company/researches/2020/podomam (accessed on 10 August 2024).
  26. Krivorotko, O.; Sosnovskaia, M.; Vashchenko, I.; Kerr, C.; Lesnic, D. Agent-based modeling of COVID-19 outbreaks for New York state and UK: Parameter identification algorithm. Infect. Dis. Model. 2022, 7, 30–44. [Google Scholar] [CrossRef] [PubMed]
  27. Unlu, E.; Léger, H.; Motornyi, O.; Rukubayihunga, A.; Ishacian, T.; Chouiten, M. Epidemic analysis of COVID-19 outbreak and counter-measures in France. medRxiv 2020. [Google Scholar] [CrossRef]
Figure 1. The architecture of a CGAN for a time series. Here, x f a k e = G ( z | y ) .
Figure 1. The architecture of a CGAN for a time series. Here, x f a k e = G ( z | y ) .
Mathematics 12 03044 g001
Figure 2. Daily number of newly diagnosed COVID-19 cases.
Figure 2. Daily number of newly diagnosed COVID-19 cases.
Mathematics 12 03044 g002
Figure 3. Current number of hospitalized people as a result of COVID-19.
Figure 3. Current number of hospitalized people as a result of COVID-19.
Mathematics 12 03044 g003
Figure 4. Current number of COVID-19 patients requiring a ventilator.
Figure 4. Current number of COVID-19 patients requiring a ventilator.
Mathematics 12 03044 g004
Figure 5. Daily number of deaths due to COVID-19.
Figure 5. Daily number of deaths due to COVID-19.
Mathematics 12 03044 g005
Figure 6. Daily number of people tested for COVID-19.
Figure 6. Daily number of people tested for COVID-19.
Mathematics 12 03044 g006
Figure 7. Daily number of newly diagnosed COVID-19 cases around the world.
Figure 7. Daily number of newly diagnosed COVID-19 cases around the world.
Mathematics 12 03044 g007
Figure 8. Percentage of the population with late IgG antibodies to COVID-19.
Figure 8. Percentage of the population with late IgG antibodies to COVID-19.
Mathematics 12 03044 g008
Figure 9. Population self-isolation index from Yandex in St. Petersburg.
Figure 9. Population self-isolation index from Yandex in St. Petersburg.
Mathematics 12 03044 g009
Figure 10. Daily number of deaths due to COVID-19 in St. Petersburg (after processing) from 2020 to 2024.
Figure 10. Daily number of deaths due to COVID-19 in St. Petersburg (after processing) from 2020 to 2024.
Mathematics 12 03044 g010
Figure 11. Number of daily diagnosed COVID-19 cases normalized by number people tested in St. Petersburg.
Figure 11. Number of daily diagnosed COVID-19 cases normalized by number people tested in St. Petersburg.
Mathematics 12 03044 g011
Figure 12. Number of processed daily deaths due to COVID-19 in St. Petersburg using the ADF test. The detailed description of the middle and right charts are given in text above.
Figure 12. Number of processed daily deaths due to COVID-19 in St. Petersburg using the ADF test. The detailed description of the middle and right charts are given in text above.
Mathematics 12 03044 g012
Figure 13. Number of processed daily deaths due to COVID-19 in St. Petersburg (7-day logarithmic transformation) using the ADF test. The detailed description of the middle and right charts are given in text above Figure 12.
Figure 13. Number of processed daily deaths due to COVID-19 in St. Petersburg (7-day logarithmic transformation) using the ADF test. The detailed description of the middle and right charts are given in text above Figure 12.
Mathematics 12 03044 g013
Figure 14. Target time series F ( t + K ) , K = 1 , , 5 , for the forecasting of newly diagnosed cases of COVID-19 in St. Petersburg 1-5 days in advance.
Figure 14. Target time series F ( t + K ) , K = 1 , , 5 , for the forecasting of newly diagnosed cases of COVID-19 in St. Petersburg 1-5 days in advance.
Mathematics 12 03044 g014
Figure 15. Scheme for preparing data for training and testing a machine learning model using the sliding time window method.
Figure 15. Scheme for preparing data for training and testing a machine learning model using the sliding time window method.
Mathematics 12 03044 g015
Figure 16. New daily diagnosed cases of COVID-19 in St. Petersburg indicating the strains of COVID-19 and their appearance in the region.
Figure 16. New daily diagnosed cases of COVID-19 in St. Petersburg indicating the strains of COVID-19 and their appearance in the region.
Mathematics 12 03044 g016
Figure 17. Architecture of generator (a) and discriminator (b) neural networks in the CGAN model.
Figure 17. Architecture of generator (a) and discriminator (b) neural networks in the CGAN model.
Mathematics 12 03044 g017
Figure 18. Training loss curve of the generator (a), discriminator (b), and total losses during training of the generator and discriminator (c) in the CGAN model.
Figure 18. Training loss curve of the generator (a), discriminator (b), and total losses during training of the generator and discriminator (c) in the CGAN model.
Mathematics 12 03044 g018
Figure 19. True forecasts of newly diagnosed cases of COVID-19 in St. Petersburg (black dotted curves) and a once-generated forecast by the generator (red solid line) for day t + 1 (a), t + 3 (b), and t + 5 (c) based on the training data from October 2020 to July 2022.
Figure 19. True forecasts of newly diagnosed cases of COVID-19 in St. Petersburg (black dotted curves) and a once-generated forecast by the generator (red solid line) for day t + 1 (a), t + 3 (b), and t + 5 (c) based on the training data from October 2020 to July 2022.
Mathematics 12 03044 g019
Figure 20. True forecasts of newly diagnosed cases of COVID-19 in St. Petersburg (black dotted curves) and a once-generated forecast by the generator (red solid line) for day t + 1 (a), t + 3 (b), and t + 5 (c) based on the test data from July 2022 to January 2024.
Figure 20. True forecasts of newly diagnosed cases of COVID-19 in St. Petersburg (black dotted curves) and a once-generated forecast by the generator (red solid line) for day t + 1 (a), t + 3 (b), and t + 5 (c) based on the test data from July 2022 to January 2024.
Mathematics 12 03044 g020
Figure 21. Results of the forecast of newly diagnosed cases of COVID-19 in St. Petersburg f ( t + K ) for the following K = 1 (a), K = 3 (b) and K = 5 (c) days for the COVID-19 outbreak from July 2022 to November 2022. First column: black dashed line—the real number of diagnosed cases of COVID-19 in St. Petersburg on day t + 1 (a), t + 3 (b), and t + 5 (c); light red area—95% CI of the forecast on day t + 1 (a), t + 3 (b), and t + 5 (c), generated by the generator; the red line is the average of 10,000 generated forecasts. Second column: the red line is the dependence of the true forecasts on day t + 1 (a), t + 3 (b), and t + 5 (c) on themselves; blue dots—the dependence of the generator forecasts on the true forecasts. Third column: histograms of absolute generator forecast errors versus true forecasts.
Figure 21. Results of the forecast of newly diagnosed cases of COVID-19 in St. Petersburg f ( t + K ) for the following K = 1 (a), K = 3 (b) and K = 5 (c) days for the COVID-19 outbreak from July 2022 to November 2022. First column: black dashed line—the real number of diagnosed cases of COVID-19 in St. Petersburg on day t + 1 (a), t + 3 (b), and t + 5 (c); light red area—95% CI of the forecast on day t + 1 (a), t + 3 (b), and t + 5 (c), generated by the generator; the red line is the average of 10,000 generated forecasts. Second column: the red line is the dependence of the true forecasts on day t + 1 (a), t + 3 (b), and t + 5 (c) on themselves; blue dots—the dependence of the generator forecasts on the true forecasts. Third column: histograms of absolute generator forecast errors versus true forecasts.
Mathematics 12 03044 g021
Figure 22. Results of the forecast of newly diagnosed cases of COVID-19 in St. Petersburg f ( t + K ) for the next K = 1 (a), K = 3 (b) and K = 5 (c) days for the COVID-19 outbreak from October 2023 to January 2024. First column: black dashed line—the real number of newly diagnosed cases of COVID-19 in St. Petersburg on day t + 1 (a), t + 3 (b), and t + 5 (c); light red area—95% CI of the forecast on day t + 1 (a), t + 3 (b), and t + 5 (c), generated by the generator; the red line is the average of 10,000 generated forecasts. Second column: the red line is the dependence of true forecasts on day t + 1 (a), t + 3 (b), and t + 5 (c) on themselves; blue dots—the dependence of the generator forecasts on the true forecasts. The third column describes histograms of absolute generator forecast errors versus true forecasts.
Figure 22. Results of the forecast of newly diagnosed cases of COVID-19 in St. Petersburg f ( t + K ) for the next K = 1 (a), K = 3 (b) and K = 5 (c) days for the COVID-19 outbreak from October 2023 to January 2024. First column: black dashed line—the real number of newly diagnosed cases of COVID-19 in St. Petersburg on day t + 1 (a), t + 3 (b), and t + 5 (c); light red area—95% CI of the forecast on day t + 1 (a), t + 3 (b), and t + 5 (c), generated by the generator; the red line is the average of 10,000 generated forecasts. Second column: the red line is the dependence of true forecasts on day t + 1 (a), t + 3 (b), and t + 5 (c) on themselves; blue dots—the dependence of the generator forecasts on the true forecasts. The third column describes histograms of absolute generator forecast errors versus true forecasts.
Mathematics 12 03044 g022
Figure 23. Results of the forecast of newly diagnosed cases of COVID-19 in the Novosibirsk region f ( t + K ) for the next K = 1 (a) and K = 5 (b) days for the COVID-19 outbreak from July 2022 to November 2022. First column: black dashed line—the real number of newly diagnosed cases of COVID-19 in the Novosibirsk region on day t + 1 (a) and t + 5 (b); light red area—95% CI of the forecast on day t + 1 (a) and t + 5 (b), generated by the generator; the red line is the average of 10,000 generated forecasts. Second column: the red line is the dependence of the true forecasts on day t + 1 (a) and t + 5 (b) on themselves; blue dots—the dependence of the generator forecasts on the true forecasts. The third column describes histograms of absolute generator forecast errors versus true forecasts.
Figure 23. Results of the forecast of newly diagnosed cases of COVID-19 in the Novosibirsk region f ( t + K ) for the next K = 1 (a) and K = 5 (b) days for the COVID-19 outbreak from July 2022 to November 2022. First column: black dashed line—the real number of newly diagnosed cases of COVID-19 in the Novosibirsk region on day t + 1 (a) and t + 5 (b); light red area—95% CI of the forecast on day t + 1 (a) and t + 5 (b), generated by the generator; the red line is the average of 10,000 generated forecasts. Second column: the red line is the dependence of the true forecasts on day t + 1 (a) and t + 5 (b) on themselves; blue dots—the dependence of the generator forecasts on the true forecasts. The third column describes histograms of absolute generator forecast errors versus true forecasts.
Mathematics 12 03044 g023
Figure 24. True forecasts of newly diagnosed cases of COVID-19 in St. Petersburg (black dots), base forecast obtained using the SEIR-HCD model (red curve), recurrent neural network (purple curve), and the average from 10,000 generated forecasts obtained using the CGAN (blue curve) for day t + 1 (a), t + 3 (b), and t + 5 (c) based on the test data from July 2022 to January 2024.
Figure 24. True forecasts of newly diagnosed cases of COVID-19 in St. Petersburg (black dots), base forecast obtained using the SEIR-HCD model (red curve), recurrent neural network (purple curve), and the average from 10,000 generated forecasts obtained using the CGAN (blue curve) for day t + 1 (a), t + 3 (b), and t + 5 (c) based on the test data from July 2022 to January 2024.
Mathematics 12 03044 g024
Table 1. Table with statistical description of the processed data.
Table 1. Table with statistical description of the processed data.
#SamplesMinMaxMeanSTD
New diagnoses14032919,27814642441
Hospitalized140356110,72040033156
New deaths140301072726
New tests1403157481,98415,75112,485
New cases (global)140384923,362,899479,328551,025
Yandex self-isolation index14030.33.70.990.77
INVITRO IgG14039.1%97.5%72.7%27%
New diagnoses/new tests14030.010.370.090.07
Table 2. CGAN hyperparameters for training on COVID-19 data in St. Petersburg.
Table 2. CGAN hyperparameters for training on COVID-19 data in St. Petersburg.
HyperparameterSaint Petersburg
Number of forecast days K = 5 days
Time window look back period (number of days used to obtain the forecast) L = 14 days
Number of training features M = 20
Training start date15 September 2020
Training end date1 July 2022
Validation end date11 March 2024
Optimization methodAdam
Descent coefficient in the gradient method (learning rate)lr = 0.0001
Batch size (number of training samples for the gradient descent method)20
Number of epochs (number of complete passes through the training dataset)200
Generator: noise vector dimension100
Generator and discriminator LSTM layer 1: dimension of the output32
Generator and discriminator LSTM layer 2: dimension of the output15
Generator and discriminator LSTM layers: dropout regularization ratio0.15
Generator and discriminator LSTM layers: recurrent dropout regularization ratio0.1
Generator Dense layer: dimension of the output32
Discriminator Dense layer: dimension of the output10
Table 3. CGAN model: root mean square error (RMSE), mean absolute error (MAE), and mean absolute percentage error (MAPE) of the forecast of newly diagnosed cases of COVID-19 in St. Petersburg based on the test data from July 2022 to January 2024 for the next 5 days and real data.
Table 3. CGAN model: root mean square error (RMSE), mean absolute error (MAE), and mean absolute percentage error (MAPE) of the forecast of newly diagnosed cases of COVID-19 in St. Petersburg based on the test data from July 2022 to January 2024 for the next 5 days and real data.
t + 1 t + 2 t + 3 t + 4 t + 5
RMSE133165209267372
MAE83 people104 people130 people162 people210 people
MAPE10%12%15%19%23%
Table 4. The percentage of successful hits in the confidence interval constructed by the CGAN for 1 σ ^ , 2 σ ^ and 3 σ ^ confidence intervals.
Table 4. The percentage of successful hits in the confidence interval constructed by the CGAN for 1 σ ^ , 2 σ ^ and 3 σ ^ confidence intervals.
t + 1 t + 2 t + 3 t + 4 t + 5
1 σ ^ 35%32%27%29%47%
2 σ ^ 61%55%51%59%76%
3 σ ^ 76%71%68%73%90%
Table 5. SEIR-HCD model: root mean square error (RMSE), mean absolute error (MAE), and mean absolute percentage error (MAPE) of the forecast of newly diagnosed cases of COVID-19 in St. Petersburg based on the test data from July 2022 to January 2024 for the next 5 days.
Table 5. SEIR-HCD model: root mean square error (RMSE), mean absolute error (MAE), and mean absolute percentage error (MAPE) of the forecast of newly diagnosed cases of COVID-19 in St. Petersburg based on the test data from July 2022 to January 2024 for the next 5 days.
t + 1 t + 2 t + 3 t + 4 t + 5
RMSE171194220245270
MAE100 people111 people124 people136 people149 people
MAPE12%14%16%19%21%
Table 6. Recurrent neural network model: root mean square error (RMSE), mean absolute error (MAE), and mean absolute percentage error (MAPE) of the forecast of newly diagnosed cases of COVID-19 in St. Petersburg based on the test data from July 2022 to January 2024 for the next 5 days.
Table 6. Recurrent neural network model: root mean square error (RMSE), mean absolute error (MAE), and mean absolute percentage error (MAPE) of the forecast of newly diagnosed cases of COVID-19 in St. Petersburg based on the test data from July 2022 to January 2024 for the next 5 days.
t + 1 t + 2 t + 3 t + 4 t + 5
RMSE143190233261329
MAE80 people103 people130 people149 people185 people
MAPE9%11%14%17%21%
Table 7. Bagging model: root mean square error (RMSE), mean absolute error (MAE), and mean absolute percentage error (MAPE) of the forecast of newly diagnosed cases of COVID-19 in St. Petersburg based on the test data from July 2022 to January 2024 for the next 5 days.
Table 7. Bagging model: root mean square error (RMSE), mean absolute error (MAE), and mean absolute percentage error (MAPE) of the forecast of newly diagnosed cases of COVID-19 in St. Petersburg based on the test data from July 2022 to January 2024 for the next 5 days.
t + 1 t + 2 t + 3 t + 4 t + 5
RMSE131155188217271
MAE79 people91 people108 people122 people148 people
MAPE9%11%13%15%17%
Disclaimer/Publisher’s Note: The statements, opinions and data contained in all publications are solely those of the individual author(s) and contributor(s) and not of MDPI and/or the editor(s). MDPI and/or the editor(s) disclaim responsibility for any injury to people or property resulting from any ideas, methods, instructions or products referred to in the content.

Share and Cite

MDPI and ACS Style

Krivorotko, O.; Zyatkov, N. The Forecasting of the Spread of Infectious Diseases Based on Conditional Generative Adversarial Networks. Mathematics 2024, 12, 3044. https://doi.org/10.3390/math12193044

AMA Style

Krivorotko O, Zyatkov N. The Forecasting of the Spread of Infectious Diseases Based on Conditional Generative Adversarial Networks. Mathematics. 2024; 12(19):3044. https://doi.org/10.3390/math12193044

Chicago/Turabian Style

Krivorotko, Olga, and Nikolay Zyatkov. 2024. "The Forecasting of the Spread of Infectious Diseases Based on Conditional Generative Adversarial Networks" Mathematics 12, no. 19: 3044. https://doi.org/10.3390/math12193044

APA Style

Krivorotko, O., & Zyatkov, N. (2024). The Forecasting of the Spread of Infectious Diseases Based on Conditional Generative Adversarial Networks. Mathematics, 12(19), 3044. https://doi.org/10.3390/math12193044

Note that from the first issue of 2016, this journal uses article numbers instead of page numbers. See further details here.

Article Metrics

Back to TopTop