Security Analysis and Improvement of Dual Watermarking Framework for Multimedia Privacy Protection and Content Authentication
Abstract
1. Introduction
- (1)
- Conduct a security test on the scheme [35] and find potential security vulnerabilities.
- (2)
- A cryptanalytic method is proposed to destroy, extract and replace the robust watermark successfully when the fragile watermarks cannot be detected.
- (3)
- An improved watermarking scheme is proposed to resist the attack methods proposed in this paper.
- (4)
- Further test the security and performance of the improved scheme.
2. Contents of the Original Scheme Framework
2.1. Original Framework
2.2. Watermark Preparation
| Algorithm 1: Two-Level Encryption Algorithm |
| Input: Watermark image W, Key: iteration number K1, |
| Output: Double-encrypted watermark image We |
| 1: The watermark image W is encrypted by Arnold to obtain WA, where the parameters a and b are known, (,) are the coordinates after the pixel (x, y) transformation, and N is the order of the pixel matrix: |
| 2: Convert the 32-bit key K2 to Gray code and flip it to obtain the key K3 = b1b2b3… b32 and divide it into K3o = b1b3b5… b31 and K3e = b2b4b6… b32 according to the parity bit. 3: Initialize the feedback bits Bo and Be, and perform the following operations to obtain Se and So: |
| 4: Perform the following XOR operation and concatenate the result to form an 8-bit sequence: |
| 5: Obtain the new values of Be and Bo and use them for the next cycle: |
| 6: Repeat steps 3–5 seven times, and use K3o, K3e and K2 to form a 64-bit key encoding sequence K4 to encrypt the watermark image WA after the Arnold encryption: |
| 7:End procedure. |
2.3. Embedding Algorithm
2.3.1. Embedding Robust Watermark
| Algorithm 2: Robust Watermark Embedding Algorithm |
| Input: Double-encrypted robust watermark image Web, B-channel image |
| Output: B-channel image Bw embedded with robust watermark ciphertext |
| 1: Subtract 128 from the pixel value of the B-channel image so that the pixel value range is in [−128, 128]. The single-stage wavelet transform is used to divide it into LL, LH, HL and HH sub-bands, and the size of each sub-band is M/2 × N/2: |
| 2: The LL sub-band is decomposed into n 8 × 8 non-overlapping blocks: |
| 3: Each 4 × 4 block is transformed by DCT. Calculate the difference between the two pre-defined DCT coefficients selected from a pair of 4 × 4 adjacent blocks. Double-encrypted robust watermark sequence bits are embedded in DCT-transformed sub-blocks by modifying the difference. The difference (Dif) between a selected pair of DCT coefficients from sub blocks Ba and Bb is defined in Equation (8): |
| 4: The difference is in any of the four predefined different areas. The occupied area is determined by the actual difference between the two comparison coefficients and the watermark bits to be embedded. In order to embed the ‘0’ bit, it is set in area 2 or area 4. Similarly, for embedded bit ‘1’, it is located in region 1 or region 3. |
| 5: Perform IDCT transformation on the modified image block, and then perform IDWT of the modified approximation coefficient LL and the original detail coefficient (HL, LH and HH sub-bands). |
| 6: Add 128 to the pixel value of the image after inverse transformation, so that the pixel value range is within [0, 255], that is, the B-channel image Bw embedded with robust watermark ciphertext is obtained. |
| 7: End procedure. |
2.3.2. Embedding Fragile Watermark
| Algorithm 3: Fragile Watermark Embedding Algorithm |
| Input: Double-encrypted fragile watermark image Wec, G-channel image |
| Output: G-channel image Gw embedded with fragile watermark ciphertext |
| 1: The G-channel image is divided into non-overlapping block of 8 × 8 and recorded as Gxy (x, y = 1, 2, 3… (M × N)/(64 × 64)), the block mean value after removing one predefined pixel is calculated: |
| 2: Adjust the block mean value according to the embedded watermark bit: |
| 3: When the formula condition is not satisfied, iterate and add 1 to the mean value m until it is satisfied. Otherwise, the modified mean value will be recorded as mn: |
| 4: Calculate the duplicate version and pixel of the watermark block . The watermark bit is embedded in the LSB of the pixel value: |
| 5: End procedure. |
2.4. Watermark Extraction
3. Security Analysis and Attack on the Original Scheme Framework
3.1. Security Analysis
3.1.1. Security Vulnerability 1
3.1.2. Security Vulnerability 2
3.2. Attack
3.2.1. Destroy Robust Watermark without Being Detected by Fragile Watermark
- The purpose of the attacker is to destroy the robustness of the dual watermark scheme by destroying the robust watermark. Because the embedding algorithm of the robust watermark in the original scheme is essentially based on the main idea of jitter modulation, and according to the correlation between block coefficients, after DWT transformation of the B-channel image of M × N, LL sub-band of M/2 × N/2 is divided into 8×8 sub-blocks, and then each sub-block is divided into 4 × 4 and conduct DCT transform, and the ciphertext robust watermark is embedded by modifying the DCT coefficients of some selected B channels. Therefore, after knowing the specific details of the watermark embedding algorithm, the attacker can destroy the robust watermark by modifying some DCT coefficients again.
- DCT transform has good decorrelation, usually with 8 × 8-pixel blocks. The smaller the block unit is, the lower the complexity of the image algorithm is. However, the performance of DCT decorrelation is weakened, which can easily cause obvious image block effect. The figure below shows the coefficient distribution diagram after a 4 × 4-pixel block is transformed by DCT which is from a size of M/2 × N/2 LL sub-band. One of the DCT coefficient blocks is recorded as Bm,n(x, y) (1 <= m, n <= M/8, 1 <= x, y <= 4), and the pixel points in the upper left corner are Bm,n(1,1) are DC coefficients, that is, the low-frequency signal part of this pixel block, which concentrates the main energy of the original image. The rest is AC coefficient, that is, a high-frequency signal part. The closer it is to the lower right corner, the smaller its value is and close to 0 (Figure 5).
- 3.
- The original scheme selects two adjacent 4 × 4 small pieces from an 8 × 8 sub-block and predefines the difference between the two DCT coefficients in the adjacent blocks. Then, the difference Dif is calculated according to the formula 15. Figure 6 is the visualization of the 4 × 4 sub-block difference direction matrix:
| Algorithm 4: Destroy Robust Watermark |
| Input: double watermark image |
| Output: extracted robust watermark and fragile watermark |
| 1: Convert the double watermark image into RGB color space image and split it into R-, G- and B-channel images. |
| 2: Subtract the pixel value of the B-channel image by 128 and perform DWT transformation, then divide the LL sub-band into 8×8 small pieces, and then divide each 8 × 8 small pieces into 4 × 4, and finally perform DCT transformation. |
| 3: Calculate the difference Dif, and change the DCT coefficient Bm,n(x, y) selected in the embedding algorithm. When the iterative correction u keeps the embedded watermark bit unchanged, the difference Dif is modified out of the original region. |
| IF mark(i) == 1 then |
| IF Dif > T + E |
| while Dif > T + E |
| Bm,n(x, y) = Bm,n(x, y) − u |
| Dif = Dif − u |
| End while |
| Elseif (Dif > −T/2) && (Dif < −E) |
| While Dif < −E |
| Bm,n(x, y) = Bm,n(x, y) + u |
| Dif = Dif + u |
| End while |
| Elseif (Dif < −T/2) && (Dif > −T + E) |
| While Dif > −T + E |
| Bm,n(x, y) = Bm,n(x, y) − u |
| Dif = Dif − u |
| End while |
| Else |
| Bm,n(x, y) = Bm,n(x, y) |
| Dif = Dif |
| End |
| Else mark(i) == 0 then |
| If (Dif > T/2) && (Dif < T − E) |
| While dif < T − E |
| Bm,n(x, y) = Bm,n(x, y) + u |
| Dif = Dif + u |
| End while |
| Elseif (Dif < T/2) && (Dif > E) |
| While Dif > E |
| Bm,n(x, y) = Bm,n(x, y) − u |
| Dif = Dif − u |
| End while |
| Elseif Dif < −T − E |
| While Dif < −T − E |
| Bm,n(x, y) = Bm,n(x, y) + u |
| Dif = Dif + u |
| End while |
| Else |
| Bm,n(x, y) = Bm,n(x, y) |
| Dif = Dif |
| End |
| End IF |
| 4: Apply inverse DCT to each block and combine the original HL, LL and LH sub-bands for IDWT operation. |
| 5: Add 128 to the pixel value of the attacked B-channel image and combine it with the G and B channels. |
| 6: Split the combined image, extract the robust watermark from the B-channel image to check the robustness, and extract the fragile watermark from the G-channel image to check the tamper location. |
| 7: End procedure. |
3.2.2. Extracting Robust Watermark without Being Detected by Fragile Watermark
| Algorithm 5: Extracting Robust Watermark Wb |
| Input: double watermark image, the watermark image known by the attacker and the robust watermark W1 and W2 contained therein |
| Output: original embedded robust watermark Wb |
| 1: Convert the double watermark image into an RGB color space image and split it into R-, G- and B-channel image, and extract the double-encrypted robust watermark Web from the B channel. |
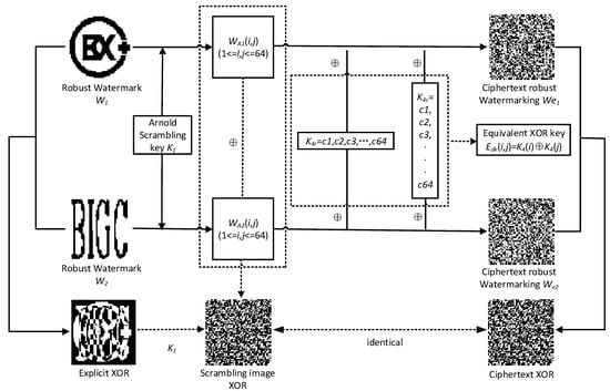
| 2: The attacker extracts the encrypted robust watermarks and from the known watermarked image, and according to the robust watermarks and , obtains formula 15 from Figure 9, and then obtains the scrambling key . |
| 3: The attacker select one of the known robust watermarks and to scramble it with using the scrambling key , and obtains the corresponding scrambling image , and then performs the following operations to obtain the equivalent XOR key: |
| 4: The attacker uses the scrambling key and the equivalent XOR key obtained above to decrypt the double-encrypted robust watermark Web and extract the original embedded robust watermark Wb. |
| 5: End procedure. |
3.2.3. Replacing Robust Watermark without Being Detected by Fragile Watermark
| Algorithm 6: Replacing Robust Watermark Wb |
| Input: double watermark image, attacker’s own watermark image Ws |
| Output: double watermark image of modified copyright information |
| 1: Convert the double watermark image into an RGB color space image and split it into R-, G- and B-channel images and extract the double-encrypted robust watermark Web from the B channel. |
| 2: Use the scrambling key K1 obtained in the previous section to perform Arnold scrambling on Ws to obtain WAS, and the equivalence XOR key is re-encrypted to produce a robust watermark ciphertext image Wes: |
| 3: Embed the tampered robust watermark ciphertext image Wes into channel B. |
| 4: The G and R channels remain unchanged, and the B channel embedded with the replacement watermark is combined to obtain the double watermark image with the tampered copyright information. |
| 5: End procedure. |
4. Improved Design Scheme with Resilience
4.1. Improvement Methods
4.1.1. Encryption Method of Robust Watermark
4.1.2. Establish an Association System between Robust Watermarking for Copyright Protection and Fragile Watermarking for Content Authentication
| Algorithm 7: Improved Double Watermark Algorithm |
| Input: carrier image I, robust watermark, fragile watermark, |
| Output: improved double watermark image |
| 1: Convert the carrier image into an RGB space image and split it into three channel images. |
| 2: R←Logical map (,u) //Generate random sequences R using chaotic system. |
| 3: ← sort(R) //Arrange the random number sequence R in ascending order. |
| 4: P ← , //Obtain the sequence P of the positions of the elements of in the sequence R. |
| 5: ← P() //Obtain scrambling robust watermark . |
| 6: Web(i) ← bitxor(We(i − 1), bitxor(Di,Wpi)) //The binary sequence D is obtained to diffuse the scrambled robust watermark image , and the ciphertext robust watermark is obtained. |
| 7: ← bitxor(,) //Obtain the improved fragile watermark. |
| 8: Embed the ciphertext robust watermark into channel B. The improved fragile watermark is embedded in the G channel, and the original fragile watermark is embedded in the LSB of the copied version pixel. |
| 9: The three-channel image is combined and converted into an RGB image, which is the improved double-watermarked image. |
| 10: End procedure |
4.2. Simulation Test and Robust Watermark Recovery Process for the Proposed Attack Method
| Algorithm 8: Simulation Test and Robust Watermark Recovery Process |
| Input: improved double watermark image |
| Output: restored robust watermark |
| 1: Split the improved double watermark image into R-, G- and B-channel images. |
| 2: Extract the ciphertext robust watermark from channel B. In the encryption mode of scrambling and diffusion structure proposed in this paper, the attacker cannot crack the scrambling and diffusion keys and cannot extract and replace the robust watermark and steal copyright information. //Extraction and replacement attack test. |
| 3: Change the DCT coefficient selected in the embedding process of channel B, so that the difference Dif is modified out of the original region when the embedding watermark bit is unchanged. //Destroying the attack test. |
| 4: Combine the damaged B channel with R and G channels. |
| 5: Extract the attacked ciphertext robust watermark from the B channel of the combined image, and extract the improved fragile watermark and fragile watermark successively from the G channel. |
| 6: Synchronize the fragile watermark with the attack on the ciphertext robust watermark by XOR and , and obtain the fragile watermark (Figure 13e), and use the extracted fragile watermark (Figure 13d) to position tampering and obtain (Figure 13f): |
| 7: After confirming the tampering location result, recover the attacked ciphertext robust watermark (Figure 13g) and further decrypt it to obtain the recovery result of the original attacked robust watermark (Figure 13h) //Restoring the tampered robust watermark. |
| For i from 1 to 64 Do |
| For j from 1 to 64 Do |
| If ( ~= ) |
| ← abs(1 ) |
| Else |
| ← |
| End |
| End |
| End |
| 8: ← Recover(,) //Restoring the attacked ciphertext robust watermark |
| 9: ← Decryption() //Recovered robust watermark |
| 10: The restored robust watermark is compared with the original robust watermark, and the result is that the all-zero image indicates that the two watermarks are identical |
| 11: End procedure. |
4.3. Performance Test
4.3.1. Perceived Quality Analysis
4.3.2. Robustness and Vulnerability Analysis
4.3.3. Tamper Detection and Recovery
5. Conclusions
Author Contributions
Funding
Data Availability Statement
Conflicts of Interest
References
- Samuel, A.; Sarfraz, M.I.; Haseeb, H.; Basalamah, S.; Ghafoor, A.A. Framework for Composition and Enforcement of Privacy-Aware and Context-Driven Authorization Mechanism for Multimedia Big Data. IEEE Trans. Multim. 2015, 17, 1484–1494. [Google Scholar] [CrossRef]
- Jing, X.Y.; Yan, Z.; Pedrycz, W. Security Data Collection and Data Analytics in the Internet: A Survey. IEEE Commun. Surv. Tutor. 2019, 21, 586–618. [Google Scholar] [CrossRef]
- Manazir, A.M.A.; Ihsan, A.; Bin Idris, M.Y.I.; Imran, M.; Shoaib, M. Countering Statistical Attacks in Cloud-Based Searchable Encryption. Int. J. Parallel Program. 2020, 48, 470–495. [Google Scholar]
- Wu, L.; Du, X.; Fu, X. Security threats to mobile multimedia applications: Camera-based attacks on mobile phones. IEEE Commun. Mag. Paper 2014, 52, 80–87. [Google Scholar] [CrossRef]
- Ma, S.; Zhang, T.; Wu, A.; Zhao, X. Lightweight and privacy-preserving data aggregation for mobile multimedia security. IEEE Access 2019, 7, 114131–114140. [Google Scholar] [CrossRef]
- Chen, S.C. Digital Assets and Blockchain-Based Multimedia Data Management. IEEE Multimed. 2022, 29, 5–7. [Google Scholar] [CrossRef]
- Ray, A.; Roy, S. Recent trends in image watermarking techniques for copyright protection: A survey. Int. J. Multimed. Inf. Retr. 2020, 9, 249–270. [Google Scholar] [CrossRef]
- Guo, X.; Huang, D.Y.; Xu, L.T. A robust zero-watermarking scheme based on non-negative matrix factorization for audio protection. PLoS ONE 2022, 17, e0270579. [Google Scholar] [CrossRef]
- Yuan, G.H.; Hao, Q. Digital Watermarking Secure Scheme for Remote Sensing Image Protection. China Commun. 2020, 17, 88–98. [Google Scholar] [CrossRef]
- Pan, J.-S.; Sun, X.-X.; Chu, S.-C.; Abraham, A.; Yan, B. Digital watermarking with improved SMS applied for QR code. Eng. Appl. Artif. 2021, 97, 104049. [Google Scholar] [CrossRef]
- Hurrah, N.N.; Khan, E.; Khan, U. CADEN: Cellular automata and DNA based secure framework for privacy preserving in IoT based healthcare. J. Ambient Intell. Hum. Comput. 2023, 14, 2631–2643. [Google Scholar] [CrossRef] [PubMed]
- Kadian, P.; Shiafali, M.; Arora, N.A. Robust Digital Watermarking Techniques for Copyright Protection of Digital Data: A Survey. Wirel. Pers. Commun. 2013, 118, 3225–3249. [Google Scholar] [CrossRef]
- Su, Q.; Niu, Y.; Zou, H.; Liu, X. A blind dual color images watermarking based on singular value decomposition. Appl. Math. Comput. 2013, 219, 8455–8458. [Google Scholar] [CrossRef]
- Sreenivas, K.; Kamkshi Prasad, V. Fragile watermarking schemes for image authentication: A survey. Int. J. Mach. Learn. Cybern. 2018, 9, 1193–1218. [Google Scholar] [CrossRef]
- Liu, X.L.; Lin, C.C.; Yuan, S.M. Blind Dual Watermarking for Color Images’ Authentication and Copyright Protection. IEEE Trans. Circuits Syst. Video Technol. 2018, 28, 1047–1055. [Google Scholar] [CrossRef]
- Swaraja, K.; Meenakshi, K.; Kora, P. An optimized blind dual medical image watermarking framework for tamper localization and content authentication in secured telemedicine. Biomed. Signal Process. Control 2020, 55, 101665. [Google Scholar]
- Ahmadi, S.; Bagheri, B.; Zhang, G.; Rabbani, M.; Boukela, L.; Jelodar, H. An intelligent and blind dual color image watermarking for authentication and copyright protection. Appl. Intell. 2021, 51, 1701–1732. [Google Scholar] [CrossRef]
- Kamili, A.; Hurrah, N.N.; Parah, S.A.; Bhat, G.M.; Muhammad, K. DWFCAT: Dual Watermarking Framework for Industrial Image Authentication and Tamper Localization. IEEE Trans. Ind. Inform. 2021, 17, 5108–5117. [Google Scholar] [CrossRef]
- Al-Otum, H.M.; Ellubani, A.A.A. Secure and effective color image tampering detection and self-restoration using a dual watermarking approach. Optik 2022, 262, 169280. [Google Scholar] [CrossRef]
- Sviatolsav, V.; Shelby, P.; Thierry, P. Attacks on Digital Watermarks: Classification, Estimation-Based Attacks, and Benchmarks. IEEE Commun. Mag. 2001, 39, 118–126. [Google Scholar]
- Cayre, F.; Fontaine, C.; Furon, T. Watermarking security: Theory and practice. IEEE Trans. Signal Process. 2005, 53, 3976–3987. [Google Scholar] [CrossRef]
- Teng, L.; Wang, X.Y.; Wang, X.K. Cryptanalysis and improvement of a chaotic system based fragile watermarking scheme. AEU-Int. J. Electron. Commun. 2013, 67, 540–547. [Google Scholar] [CrossRef]
- Botta, M.; Cavagnino, D.; Pomponiu, V. A successful attack and revision of a chaotic system based fragile watermarking scheme for image tamper detection. AEU-Int. J. Electron. Commun. 2015, 69, 242–245. [Google Scholar] [CrossRef]
- Rawat, S.; Raman, B. A chaotic system based fragile watermarking scheme for image tamper detection. AEU-Int. J. Electron. Commun. 2011, 65, 840–847. [Google Scholar] [CrossRef]
- Li, M.; Zhang, J.H.; Wen, W.Y. Cryptanalysis and improvement of a binary watermark-based copyright protection scheme for remote sensing images. Optik 2014, 125, 7231–7234. [Google Scholar] [CrossRef]
- Zhu, P.; Jia, F.; Zhang, J.L. A copyright protection watermarking algorithm for remote sensing image based on binary image watermark. Optik 2013, 124, 4177–4181. [Google Scholar] [CrossRef]
- Nan, H.; Fang, B.; Yang, W.B.; Qian, J.Y.; Li, M.; Liu, Y.; Zhang, Y.S. Cryptanalysis and Improvement of the Robust and Blind Watermarking Scheme for Dual Color Image. Math. Probl. Eng. 2015, 2015, 526174. [Google Scholar] [CrossRef]
- Su, Q.T.; Niu, Y.G.; Liu, X.X.; Yao, T. A novel blind digital watermarking algorithm for embedding color image into color image. Optik 2013, 124, 3254–3259. [Google Scholar] [CrossRef]
- Niyishaka, P.; Bhagvati, C. Image splicing detection technique based on Illumination-Reflectance model and LBP. Multim. Tools Appl. 2020, 80, 2161–2175. [Google Scholar] [CrossRef]
- Sivasubramanian, N.; Konganathan, G. A novel semi fragile watermarking technique for tamper detection and recovery using IWT and DCT. Computing 2020, 102, 1365–1384. [Google Scholar] [CrossRef]
- Benrhouma, O. Cryptanalysis and improvement of a semi-fragile watermarking technique for tamper detection and recovery. Multim. Tools Appl. 2022. [Google Scholar] [CrossRef]
- Dadkhah, S.; Abd, M.A.; Hori, Y.; Ella, H.A.; Sadeghi, S. An effective SVD-based image tampering detection and self-recovery using active watermarking. Signal Process. Image Commun. 2014, 29, 1197–1210. [Google Scholar] [CrossRef]
- Benrhouma, O.; Hermassi, H.; Belghith, S. Security analysis and improvement of an active watermarking system for image tampering detection using a self-recovery scheme. Multimed. Tools Appl. 2016, 76, 21133–21156. [Google Scholar] [CrossRef]
- Swaraja, K.; Meenakshi, K.; Kora, P. Hierarchical multilevel framework using RDWT-QR optimized watermarking in telemedicine. Biomed. Signal Process. Control 2021, 68, 10268. [Google Scholar]
- Hurrah, N.N.; Parah, S.A.; Loan, N.A.; Sheikh, J.A.; Elhoseny, M.; Muhammad, K. Dual watermarking framework for privacy protection and content authentication of multimedia. Future Gener. Comput. Syst. 2019, 94, 654–673. [Google Scholar] [CrossRef]
- Lu, Z.M.; Liao, X.W. Counterfeiting attacks on two robust watermarking schemes. Int. J. Innov. Comput. Inf. Control 2006, 2, 841–848. [Google Scholar]
- Kerckhofs, A. La cryptographie militaire. J. Sci. Militaires 1883, 9, 161–191. [Google Scholar]
- Li, M.; Xiao, D.; Zhang, Y.S. Attack and Improvement of the Fidelity Preserved Fragile Watermarking of Digital Images. Arab. J. Sci. Eng. 2016, 41, 941–950. [Google Scholar] [CrossRef]
- Abraham, J.; Paul, V. An imperceptible spatial domain color image watermarking scheme. J. King Saud. Univ. Comput. Inf. 2019, 31, 125–133. [Google Scholar] [CrossRef]

















| Dual Watermarked Images | PSNR (dB) | SSIM |
|---|---|---|
| Baboon | 41.3705 | 0.9953 |
| Sailboat | 42.0679 | 0.9928 |
| Yacht | 42.2113 | 0.9931 |
| Pepper | 42.2385 | 0.9875 |
| Tiffany | 41.8367 | 0.9918 |
| Lena | 42.1729 | 0.9964 |
| Dual Watermarked Images | ![]() | ![]() | ||
|---|---|---|---|---|
| Data Indicators | ||||
| Schemes | ||||
| Original | PSNR (dB) | 41.11 | 42.03 | |
| SSIM | 0.99 | 0.99 | ||
| Improved | PSNR (dB) | 41.37 | 42.17 | |
| SSIM | 0.99 | 0.99 | ||
| Attacks | Watermark | Baboon | Sailboat | Pepper | Lena | ||||
|---|---|---|---|---|---|---|---|---|---|
| BER | NCC | BER | NCC | BER | NCC | BER | NCC | ||
| Crop upper left (25%) | Robust | 7.32 | 0.99 | 7.68 | 0.99 | 6.89 | 1 | 7.35 | 0.99 |
| Fragile | 22.70 | 0.71 | 21.86 | 0.65 | 21.52 | 0.71 | 23.56 | 0.75 | |
| Crop lower right (25%) | Robust | 7.34 | 0.99 | 7.65 | 0.98 | 6.88 | 0.99 | 7.33 | 0.99 |
| Fragile | 22.35 | 0.70 | 23.58 | 0.67 | 21.68 | 0.65 | 22.26 | 0.74 | |
| Crop lower half (50%) | Robust | 14.04 | 0.98 | 15.37 | 0.99 | 13.81 | 0.99 | 14.71 | 0.98 |
| Fragile | 52.06 | 0.41 | 53.74 | 0.35 | 47.36 | 0.43 | 49.83 | 0.39 | |
| Median filter [3, 3] | Robust | 1.92 | 0.99 | 1.67 | 0.99 | 1.26 | 0.97 | 2.51 | 0.97 |
| Fragile | 48.31 | 0.48 | 45.29 | 0.42 | 46.85 | 0.51 | 47.37 | 0.54 | |
| Low pass filter | Robust | 4.05 | 0.99 | 3.17 | 0.96 | 2.73 | 0.98 | 3.27 | 0.98 |
| Fragile | 48.16 | 0.45 | 48.30 | 0.41 | 48.27 | 0.47 | 49.15 | 0.48 | |
| Average filter [3, 3] | Robust | 2.89 | 0.97 | 4.48 | 0.98 | 2.61 | 0.99 | 3.23 | 0.99 |
| Fragile | 48.93 | 0.51 | 47.25 | 0.49 | 50.10 | 0.53 | 46.91 | 0.50 | |
| Weiner filter [3, 3] | Robust | 2.16 | 0.98 | 1.81 | 0.99 | 0.79 | 0.99 | 1.59 | 0.96 |
| Fragile | 48.80 | 0.50 | 51.38 | 0.52 | 49.32 | 0.46 | 50.12 | 0.51 | |
| S & P noise (0.01) | Robust | 5.70 | 0.98 | 5.44 | 0.95 | 6.14 | 0.98 | 5.13 | 0.99 |
| Fragile | 39.28 | 0.73 | 36.06 | 0.68 | 38.42 | 0.74 | 35.84 | 0.71 | |
| Gaussian noise (0.001) | Robust | 0.09 | 0.99 | 0.15 | 0.97 | 0.39 | 0.96 | 0.08 | 0.99 |
| Fragile | 47.92 | 0.47 | 48.73 | 0.49 | 49.55 | 0.38 | 50.37 | 0.45 | |
| Speckle noise (0.01) | Robust | 3.24 | 0.99 | 3.58 | 0.99 | 2.42 | 0.99 | 1.73 | 0.97 |
| Fragile | 49.52 | 0.51 | 49.71 | 0.50 | 48.61 | 0.52 | 48.74 | 0.50 | |
| Poisson noise (0.01) | Robust | 3.19 | 0.96 | 2.68 | 0.97 | 2.71 | 0.98 | 3.25 | 0.96 |
| Fragile | 48.92 | 0.49 | 49.63 | 0.47 | 49.85 | 0.56 | 49.25 | 0.51 | |
| Attack Type | [39] | [35] | Improved | |||
|---|---|---|---|---|---|---|
| BER | NCC | BER | NCC | BER | NCC | |
| No attack | 0 | 1 | 0 | 1 | 0 | 1 |
| Salt and pepper (0.01) | 0.0391 | 0.97 | 0.0550 | 0.96 | 0. 0513 | 0.9863 |
| Poisson | 0.1270 | 0.9713 | 0.0028 | 0.996 | 0.0121 | 0.9742 |
| Speckle (0.01) | 0.1211 | 0.91 | 0.0161 | 0.97 | 0.0173 | 0.9659 |
| Average filter | 0.0771 | 0.9451 | 0.0417 | 0.96 | 0.0350 | 0.9736 |
| Gaussian LPF | 0.0010 | 0.9993 | 0.0024 | 1 | 0.0021 | 1 |
| Sharpening | 0.0781 | 0.9455 | 0.066 | 0.975 | 0.0729 | 0.9783 |
| Cropping (25%) | 0.2500 | 0.7500 | 0.0166 | 1 | 0.1738 | 1 |
| Cropping (50%) | 0.5000 | 0. 5000 | 0.0753 | 0.998 | 0.0642 | 0.9937 |
| Cropping (75%) | 0.7500 | 0. 2500 | 0.073 | 0.989 | 0.0969 | 0.9841 |
| LSB reset (1 or 2) | 0 | 1 | 0 | 1 | 0 | 1 |
| LSB reset (1–3) | 0.0117 | 1 | 0 | 1 | 0 | 1 |
| LSB reset (1–4) | 0.1104 | 0.9205 | 0.0567 | 0.974 | 0.0548 | 0.9582 |
| Resize (50%) | 0.0518 | 0.9633 | 0.001 | 0.99 | 0.0232 | 0.9985 |
| Combined Attacks | Watermark | [35] | Improved | ||
|---|---|---|---|---|---|
| BER | NCC | BER | NCC | ||
| S & P Noise (0.01) + Gaussian noise (0.001) | Robust | 6.83 | 0.97 | 6.54 | 0.98 |
| Fragile | 49.65 | 0.49 | 50.77 | 0.55 | |
| S & P Noise (0.01) + MF (3 × 3) | Robust | 2.39 | 0.98 | 2.18 | 0.98 |
| Fragile | 50.65 | 0.52 | 50.82 | 0.49 | |
| Rotation (10) + cropping (25%) | Robust | 10.13 | 0.96 | 10.52 | 0.97 |
| Fragile | 60.50 | 0.54 | 58.37 | 0.40 | |
| S & P Noise (0.01) + Crop (25%) | Robust | 11.66 | 0.96 | 12.81 | 0.96 |
| Fragile | 59.62 | 0.55 | 61.13 | 0.47 | |
| Scaling (400%) + Rotation (10) | Robust | 3.61 | 0.98 | 3.37 | 0.98 |
| Fragile | 61.02 | 0.48 | 63.02 | 0.39 | |
| S & P Noise (0.01) + MF (3 × 3) + Sharpening | Robust | 5.85 | 0.98 | 5.73 | 0.98 |
| Fragile | 60.19 | 0.49 | 59.42 | 0.46 | |
| Crop (25%) + Rotation (10) + Sharpening | Robust | 12.35 | 0.95 | 14.04 | 0.97 |
| Fragile | 61.45 | 0.35 | 60.29 | 0.41 | |
| Crop (25%) + Rotation (10) + Scaling (400%) | Robust | 12.43 | 0.95 | 11.79 | 0.97 |
| Fragile | 62.50 | 0.54 | 61.98 | 0.43 | |
Disclaimer/Publisher’s Note: The statements, opinions and data contained in all publications are solely those of the individual author(s) and contributor(s) and not of MDPI and/or the editor(s). MDPI and/or the editor(s) disclaim responsibility for any injury to people or property resulting from any ideas, methods, instructions or products referred to in the content. |
© 2023 by the authors. Licensee MDPI, Basel, Switzerland. This article is an open access article distributed under the terms and conditions of the Creative Commons Attribution (CC BY) license (https://creativecommons.org/licenses/by/4.0/).
Share and Cite
Li, M.; Yue, Y. Security Analysis and Improvement of Dual Watermarking Framework for Multimedia Privacy Protection and Content Authentication. Mathematics 2023, 11, 1689. https://doi.org/10.3390/math11071689
Li M, Yue Y. Security Analysis and Improvement of Dual Watermarking Framework for Multimedia Privacy Protection and Content Authentication. Mathematics. 2023; 11(7):1689. https://doi.org/10.3390/math11071689
Chicago/Turabian StyleLi, Ming, and Yange Yue. 2023. "Security Analysis and Improvement of Dual Watermarking Framework for Multimedia Privacy Protection and Content Authentication" Mathematics 11, no. 7: 1689. https://doi.org/10.3390/math11071689
APA StyleLi, M., & Yue, Y. (2023). Security Analysis and Improvement of Dual Watermarking Framework for Multimedia Privacy Protection and Content Authentication. Mathematics, 11(7), 1689. https://doi.org/10.3390/math11071689


