Studying Consensus and Disagreement during Problem Solving in Teams through Learning and Response Generation Agents Model
Abstract
:1. Introduction
2. Related Work
3. Learning and Response Generating Agent Model Overview
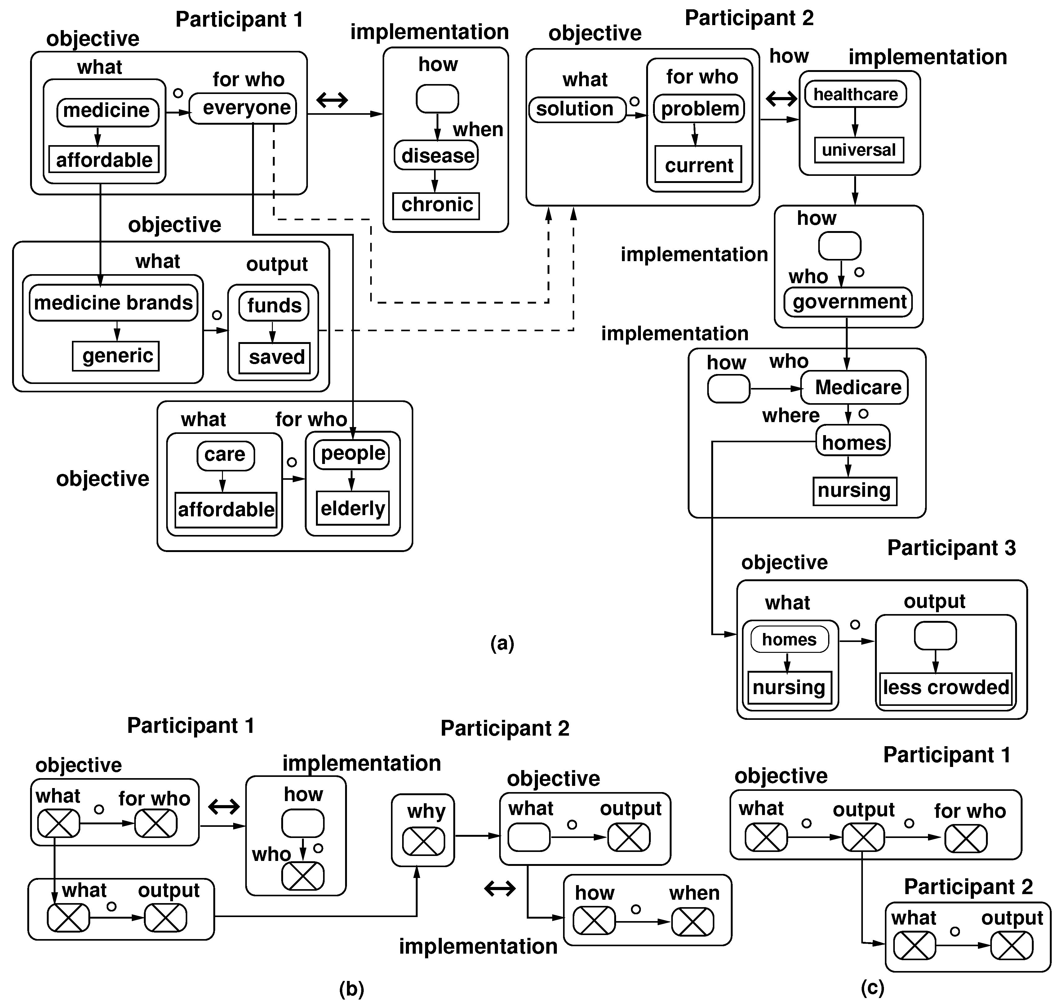
3.1. Response Structure and Symbolic Representation
3.2. Input Understanding during Agent Interaction
3.3. Response Creation during Agent Interaction
- Confidence corresponds to reaching a consensus among agents, indicating that they have similar perspectives (understandings) on a response, a response sequence, and their utilities (Figure 5a). As a result, agents create new responses that are motivations for the current what-for who-output-consequence clauses or create other outputs for the what-for who clauses for which exists agreement. As shown in Figure 5b, creating additional motivations reinforces the strength of the consensus reached about a response, its outcomes, and its consequences. Producing more outputs of similar utility adds more outputs and consequences to the current what-for who response clause. Figure 5c illustrates the situation. An existing output and consequence is further detailed by a subsequent response.
- Positive surprise indicates the situation in which an input includes a concept or clause that draws an agent’s surprise reflecting its approval of the corresponding concept (Figure 5a). The utility expected by the agent is lower than the utility of the received input. The agent uses the element of surprise to create other examples (responses), or it can further detail the response including the element of surprise (Figure 5d). Also, the element of surprise can be generalized and then used in a new response. This is shown in Figure 5e in which the output of response (what-for who clauses) creates what-for who clauses of the abstraction, or how clause is generalized into a more abstract what-for who clause.
- Negative surprise describes the situation in which the concept or clause causing the agent’s surprise is not valued by the agent (Figure 5a). The utility expected by the agent is higher than the utility of the received input. As a result, the element causing the surprise is utilized to motivate the separation of the new response from the input, such as in Figure 5f. Another subsequent response can generalize the element of disapproval (as in Figure 5e), and then use the generalization to motivate the disapproval through a why clause, such as in Figure 5f. The third option represents understanding the boundaries of the element of surprise. This is achieved by comparing the implementation (how frame) with the expected consequence of the output, as shown in Figure 5g.
- Disapproval corresponds to the situation in which agents have opposing understandings of the current response. Hence, the expected utility and the utility of the received input are opposite. As a result, the subsequent responses describe the following cases: motivation of the disapproval based on outputs and consequences (top of Figure 5h), explanation of the disapproval using motivation (why clause) (bottom of Figure 5h), and negation of what-for who clauses or their generalization followed by creation of an opposite alternative, e.g., new alternative what-for who clauses.
4. Implementation of the Model
- The change of emotion strength (valence) over time: Figure 7a shows the variation of the strength of an emotional state over time. The parameters of the strength plot (e.g., values , , , , , , defining the slopes of the linearized plots) are specific to each agent and set-up when the agent is created.
- Emotion transitions during interactions: The predefined rules for emotion integration change emotions as shown in Figure 7b. Each emotional state has sub-states, e.g., state-1, state-2, state-3, which correspond to the emotion strength in Figure 7a. Transitions between sub-states are controlled by cues (c) and the passing of time (t). The nature of the transitions and their controlling functions (describing conditions) are specific to each agent.
5. Experimental Results
5.1. Characteristics of Agent Interactions
5.2. Qualitative Comparison to Agents Using Commitment-Based Protocols
6. Discussion of LRGA Model
7. Conclusions
Author Contributions
Funding
Institutional Review Board Statement
Informed Consent Statement
Data Availability Statement
Conflicts of Interest
References
- Brennan, S.; Galati, A.; Kuhlen, A. Two Minds, One Dialog: Coordinating Speaking and Understanding. In The Psychology of Learning and Motivation: Advances in Research and Theory; Ross, B.H., Ed.; Volume 53: Psychology of Learning and Motivation; Academic Press: Cambridge, MA, USA, 2010; pp. 301–344. [Google Scholar] [CrossRef]
- Dorst, K. The core of ’design thinking’ and its application. Des. Stud. 2011, 32, 521–532. [Google Scholar] [CrossRef]
- Suk, K.; Lee, H. Problem Framing Activities Carried Out by Student Design Teams to Enhance Creativity: Comparative Analysis of High and Low Creative Teams. Arch. Des. Res. 2021, 34, 23–38. [Google Scholar] [CrossRef]
- Coursey, M.; Williams, B.; Kenworthy, J.; Paulus, P.; Doboli, S. Divergent and Convergent Group Creativity in an Asynchronous Online Environment. J. Creat. Behav. 2020, 54, 253–266. [Google Scholar] [CrossRef]
- Doboli, A.; Liu, X.; Li, H.; Doboli, S. Modeling Group Creativity as the Evolution of Community-level, Creative Problem Solving. In The Oxford Handbook; Oxford University Press: Oxford, UK, 2019. [Google Scholar]
- Doboli, A.; Doboli, S. A novel agent-based, evolutionary model for expressing the dynamics of creative open-problem solving in small groups. Appl. Intell. 2021, 51, 2094–2127. [Google Scholar] [CrossRef] [PubMed]
- Umbarkar, A.; Subramanian, V.; Doboli, A.; Doboli, S. Two Experimental Studies on Creative Concept Combinations in Modular Design of Electronic Embedded Systems. Des. Stud. 2014, 35, 80–109. [Google Scholar] [CrossRef]
- Tomasello, M. Origins of Human Communication; MIT Press: Cambridge, MA, USA, 2010. [Google Scholar]
- Malone, T.; Bernstein, M. Handbook of Collective Intelligence; The MIT Press: Cambridge, MA, USA, 2015. [Google Scholar]
- Abney, D.; Paxton, A.; Dale, R.; Kello, C. Complexity Matching in Dyadic Conversation. J. Exp. Psychol. Gen. 2014, 143, 2304–2315. [Google Scholar] [CrossRef] [PubMed] [Green Version]
- Smith, E.; Conrey, R. Agent-Based Modeling: A New Approach for Theory Building in Social Psychology. Personal. Soc. Psychol. Rev. 2007, 11, 87–104. [Google Scholar] [CrossRef] [PubMed]
- Furini, M.; Gaggi, O.; Mirri, S.; Montangero, M.; Pelle, E.; Poggi, F.; Prandi, C. Digital Twins and Artificial Intelligence: As Pillars of Personalized Learning Models. Commun. ACM 2022, 65, 98–104. [Google Scholar] [CrossRef]
- Doboli, A.; Doboli, S.; Duke, R.; Hong, S.; Tang, W. Dynamic Diagnosis of the Progress and Shortcomings of Student Learning using Machine Learning based on Cognitive, Social, and Emotional Features. arXiv 2022, arXiv:2204.13989. [Google Scholar] [CrossRef]
- Chaouche, A.; Fallah Seghrouchni, A.; Ilié, J.-M.; Saidouni, S. A Higher-order Agent Model for Ambient Systems. Procedia Comput. Sci. 2013, 21, 156–163. [Google Scholar] [CrossRef]
- Cacioppo, J.T.; Visser, P.S.; Pickett, C.L. (Eds.) Social Neuroscience: People Thinking about Thinking People; MIT Press: Cambridge, MA, USA, 2006. [Google Scholar]
- Lowe, R.; Almer, A.; Balkenius, C. Bridging Connectionism and Relational Cognition through Bi-directional Affective-Associative Processing. Open Inf. Sci. 2019, 3, 235–260. [Google Scholar] [CrossRef]
- Fauconnier, G.; Turner, M. The Way We Think. Conceptual Blending and The Mind’S Hidden Complexities; Basic Books: New York, NY, USA, 2002. [Google Scholar]
- Pickering, M.; Garrod, S. Toward a mechanistic psychology of dialogue. Behav. Brain Sci. 2004, 27, 169–190. [Google Scholar] [CrossRef] [PubMed]
- Shockley, K.; Richardson, D.; Dale, R. Conversation and Coordinative Structures. Top. Cogn. Sci. 2009, 1, 305–319. [Google Scholar] [CrossRef] [PubMed] [Green Version]
- Costello, F.J.; Keane, M.T. Testing two theories of conceptual combination: Alignment versus diagnosticity in the comprehension and production of combined concepts. J. Exp. Psychol. Learn. Mem. Cogn. 2001, 27, 255–271. [Google Scholar] [CrossRef]
- Fellbaum, C. WordNet. An Electronic Lexical Database; The MIT Press: Cambridge, MA, USA, 1998. [Google Scholar]
- Vesper, C.; Sangati, E.; Butepage, J.; Ciardo, F.; Crossey, B.; Effenberg, A.; Hristova, D.; Karlinsky, A.; McEllin, L.; Nijssen, S.; et al. Joint Action: Mental Representations, Shared Information and General Mechanisms for Coordinating with Others. Front. Psychol. 2016, 7, 2039. [Google Scholar] [CrossRef] [Green Version]
- Fusaroli, R.; Ryczaszek-Leonardi, J.; Tylén, K. Dialog as interpersonal synergy. New Ideas Psychol. 2014, 32, 147–157. [Google Scholar] [CrossRef] [Green Version]
- Lowe, R.; Almer, A.; Lindblad, G.; Gander, P.; Michael, J.; Vesper, C. Minimalist Social-Affective Value for Use in Joint Action: A Neural-Computational Hypothesis. Front. Comput. Neurosci. 2016, 10, 88. [Google Scholar] [CrossRef] [Green Version]
- Tanenhaus, M.; Spivey-Knowlton, M.; Eberhard, K.; Sedivy, J. Integration of visual and linguistic information in spoken language comprehension. Science 1995, 268, 1632–1634. [Google Scholar] [CrossRef] [Green Version]
- Fowler, C.; Richardson, M.; Marsh, K.; Shockley, K. Language Use, Coordination, and the Emergence of Cooperative Action; Springer: Berlin/Heidelberg, Germany, 2007; Volume 2008, pp. 261–279. [Google Scholar] [CrossRef]
- Horton, W.; Keysar, B. When do speakers take into account common ground? Cognition 1996, 59, 91–117. [Google Scholar] [CrossRef]
- Keysar, B.; Barr, D.; Balin, J.; Brauner, J. Taking Perspective in Conversation: The Role of Mutual Knowledge in Comprehension. Psychol. Sci. 2000, 11, 32–38. [Google Scholar] [CrossRef]
- Axelrod, R. The Complexity of Cooperation: Agent-Based Models of Competition and Collaboration; Princeton University Press: Princeton, NJ, USA, 1997. [Google Scholar]
- Baldoni, M.; Baroglio, C.; Capuzzimati, F.; Micalizio, R. Commitment-based Agent Interaction in JaCaMo+. Fundam. Inform. 2018, 159, 1–33. [Google Scholar] [CrossRef] [Green Version]
- Chopra, A.; Artikis, A.; Bentahar, J.; Dignum, F. Introduction to the special section on agent communication. ACM Trans. Intell. Syst. Technol. 2013, 4, 1. [Google Scholar] [CrossRef]
- Halpern, J.; Shore, R. Reasoning About Common Knowledge with Infinitely Many Agents. arXiv 1999, arXiv:cs/9909014. [Google Scholar] [CrossRef]
- Hubner, J.; Sichman, J. S-Moise+: A Middleware for Developing Organised Multi-agent Systems. In Proceedings of the International Conference on Agents, Norms and Institutions for Regulated Multi-Agent Systems, Utrecht, The Netherlands, 25–26 July 2005; Lecture Notes in Computer Science. Springer: Berlin/Heidelberg, Germany, 2006; Volume 3913, pp. 64–77. [Google Scholar] [CrossRef]
- Lapp, S.; Jablokow, K.; McComb, C. KABOOM: An agent-based model for simulating cognitive style in team problem solving. Des. Sci. 2019, 5, e13. [Google Scholar] [CrossRef] [Green Version]
- Lapp, S.; Jablokow, K.; McComb, C. Collaborating with style: Using an agent-based model to simulate cognitive style diversity in problem solving teams. In Proceedings of the International Design Engineering Technical Conferences and Computers and Information in Engineering Conference, Anaheim, CA, USA, 18–21 August 2019; American Society of Mechanical Engineers: New York, NY, USA, 2019; Volume 59278, p. V007T06A029. [Google Scholar] [CrossRef] [Green Version]
- Axelrod, R. The Dissemination of Culture: A Model with Local Convergence and Global Polarization. J. Confl. Resolut. 1997, 41, 203–226. [Google Scholar] [CrossRef] [Green Version]
- Iqbal, S.; Sha, F. Actor-Attention-Critic for Multi-Agent Reinforcement Learning. arXiv 2019, arXiv:1810.02912. [Google Scholar] [CrossRef]
- Liu, Y.; Wang, W.; Hu, Y.; Hao, J.; Chen, X.; Gao, Y. Multi-agent game abstraction via graph attention neural network. In Proceedings of the AAAI Conference on Artificial Intelligence, New York, NY, USA, 7–12 February 2020; Volume 34, pp. 7211–7218. [Google Scholar] [CrossRef]
- Zhang, S.; Zhang, Q.; Lin, J. Efficient Communication in Multi-Agent Reinforcement Learning via Variance Based Control. In Proceedings of the Advances in Neural Information Processing Systems, Vancouver, BC, Canada, 8–14 December 2019; Wallach, H., Larochelle, H., Beygelzimer, A., d’Alché-Buc, F., Fox, E., Garnett, R., Eds.; Curran Associates: New York, NY, USA, 2019; Volume 32. [Google Scholar]
- Das, A.; Gervet, T.; Romoff, J.; Batra, D.; Parikh, D.; Rabbat, M.; Pineau, J. Tarmac: Targeted multi-agent communication. In Proceedings of the International Conference on Machine Learning, PMLR, Long Beach, CA, USA, 10–15 June 2019; pp. 1538–1546. [Google Scholar]
- Chopra, A.; Artikis, A.; Bentahar, J.; Colombetti, M.; Dignum, F.; Fornara, N.; Jones, A.; Singh, M.; Yolum, P. Research directions in agent communication. ACM Trans. Intell. Syst. Technol. 2013, 4, 1–23. [Google Scholar] [CrossRef]
- Telang, P.; Singh, M.; Yorke-Smith, N. Maintenance of Social Commitments in Multiagent Systems. In Proceedings of the AAAI Conference on Artificial Intelligence, Virtually, 2–9 February 2021; AAAI Press: Cambridge, MA, USA, 2021; pp. 11369–11377. [Google Scholar] [CrossRef]
- Singh, M.; Chopra., A. Clouseau: Generating Communication Protocols from Commitments. In Proceedings of the AAAI Conference on Artificial Intelligence, New York, NY, USA, 7–12 February 2020; AAAI Press: Cambridge, MA, USA, 2020; pp. 7244–7252. [CrossRef]
- Bordini, R.; Hubner, J.; Tralamazza, D. Using Jason to Implement a Team of Gold Miners. In Proceedings of the International Conference on Computational Logic in Multi-Agent Systems, Hakodate, Japan, 8–9 May 2006; Springer: Berlin/Heidelberg, Germany, 2006; pp. 304–313. [Google Scholar] [CrossRef]
- Doboli, A.; Doboli, S. A Novel Learning and Response Generating Agent-based Model for Symbolic—Numeric Knowledge Modeling and Combination. In Proceedings of the IEEE Symposium Series on Computational Intelligence (SSCI), Orlando, FL, USA, 5–7 December 2021. [Google Scholar] [CrossRef]
- Doboli, A.; Umbarkar, A.; Doboli, S.; Betz, J. Modeling semantic knowledge structures for creative problem solving: Studies on expressing concepts, categories, associations, goals and context. Knowl.-Based Syst. 2015, 78, 34–50. [Google Scholar] [CrossRef]
- Ferent, C.; Doboli, A.; Doboli, S. An axiomatic model for concept structure description and its application to circuit design. Knowl.-Based Syst. 2013, 45, 114–133. [Google Scholar] [CrossRef]
- Ellsworth, P.; Scherer, K. Appraisal processes in emotion. In Handbook of the Affective Sciences; Davidson, R.J., Goldsmith, H.H., Scherer, K.R., Eds.; Oxford University Press: New York, NY, USA, 2003; pp. 572–595. [Google Scholar]
- Ortony, A.; Clore, G.; Collins, A. The Cognitive Structure of Emotions; Cambridge University Press: Cambridg, UK, 1988. [Google Scholar]
- Jiao, F.; Montano, S.; Ferent, C.; Doboli, A.; Doboli, S. Analog Circuit Design Knowledge Mining: Discovering Topological Similarities and Uncovering Design Reasoning Strategies. IEEE Trans. CADICS 2015, 34, 1045–1059. [Google Scholar] [CrossRef]
- Jiao, F.; Doboli, A. Knowledge-Intensive, Causal Reasoning for Analog Circuit Topology Synthesis in Emergent and Innovative Applications. In Proceedings of the Design, Automation and Test in Europe Conference (DATE), Grenoble, France, 9–13 March 2015; pp. 1144–1149. [Google Scholar]
- Barsalou, L. Perceptual symbol systems. Behav. Brain Sci. 1999, 22, 577–660. [Google Scholar] [CrossRef] [PubMed]
- Barsalou, L. Abstraction in perceptual symbol systems. Philos. Trans. R. Soc. Lond. B 2003, 358, 1177–1187. [Google Scholar] [CrossRef] [PubMed] [Green Version]
- Duke, R.; Doboli, A. Top-down Approach to Solving Speaker Diarization Errors in diaLogic System. In Proceedings of the IEEE International Symposium on Smart Electronic Systems (iSES), Warangal, India, 18–22 December 2022; pp. 213–218. [Google Scholar] [CrossRef]
- Deco, G.; Rolls, E. Attention, short-term memory, and action selection: A unifying theory. Prog. Neurobiol. 2005, 76, 236–256. [Google Scholar] [CrossRef] [PubMed] [Green Version]
- Spitzer, H.; Desimone, R.; Moran, J. Increased attention enhances both behavioral and neuronal performance. Science 1988, 240, 338–340. [Google Scholar] [CrossRef] [Green Version]
- Parkinson, B. What holds emotions together? Meaning and response coordination. Cogn. Syst. Res. 2009, 10, 31–47. [Google Scholar] [CrossRef]
- Gigerenzer, G.; Todd, P.; Group, A.R. Simple Heuristics That Make Us Smart; Oxford University Press: Oxford, UK, 1999. [Google Scholar]
- Li, H.; Liu, X.; Doboli, A.; Doboli, S. InnovA: A Cognitive Architecture for Computational Innovation through Robust Divergence and Its Application for Analog Circuit Design. IEEE Trans. Comput. Aided Des. Integr. Circuits Syst. 2018, 37, 1943–1956. [Google Scholar] [CrossRef]







| Agent | Same Utilities | Same Util. with Habit. | Same Util. with Alter. | Lower Utilities | Higher Utilities | Fast Version | Slow Version |
|---|---|---|---|---|---|---|---|
| Agent 1 | 68 (9.81%) | 47 (6.68%) | 19 (2.74%) | 124 (17.89%) | 108 (15.58%) | 205 (29.58%) | 160 (23.08%) |
| Agent 2 | 54 (7.79%) | 39 (5.62%) | 20 (2.88%) | 109 (15.72%) | 105 (15.15%) | 170 (24.53%) | 158 (22.79%) |
| Total | 17.6% | 12.3% | 5.62% | 33.61% | 30.73% | 54.11% | 45.87% |
| Red. amb. (%) | Ext. amb. (%) | (a) (%) | (b) (%) | (c) (%) | (d) (%) | (e) (%) | (f) (%) | (g) (%) | (h) (%) | (i) (%) | (j) (%) | Abs-1 (%) | Abs-2 (%) | Abs-3 (%) | Abs-4 (%) | Abs-5 (%) | Sep (%) | |
|---|---|---|---|---|---|---|---|---|---|---|---|---|---|---|---|---|---|---|
| same | 4.8 | 0.0 | 11.6 | 28.5 | 12.3 | 14.0 | 5.9 | 0.5 | 4.3 | 1.0 | 8.0 | 14.0 | N/A | N/A | N/A | N/A | N/A | N/A |
| same habit. | 2.0 | 1.0 | 2.0 | 37.0 | 2.0 | 0 | 3.0 | 0.0 | 3.0 | 0.0 | 19.5 | 31.0 | N/A | N/A | N/A | N/A | N/A | N/A |
| same alter. | 0.0 | 7.1 | 0.0 | 35.0 | 0.0 | 21.4 | 14.2 | 7.1 | 7.1 | 28.5 | 0.0 | 214 | N/A | N/A | N/A | N/A | N/A | N/A |
| lower | 7.2 | 2.5 | 3.6 | 7.2 | 11.3 | 5.1 | 3.0 | 3.6 | 3.6 | 7.73 | 12.3 | 13.9 | 5.29 | 1.96 | 1.96 | 5.8 | 7.8 | N/A |
| higher | 15.1 | 0.45 | 1.83 | 18.3 | 0.45 | 3.2 | 9.63 | 4.58 | 7.33 | 1.83 | 7.79 | 19.26 | N/A | N/A | 2.43 | 2.43 | N/A | 8.25 |
| Same | Same Utility | Same Utility | Lower | Higher | ||||||
|---|---|---|---|---|---|---|---|---|---|---|
| Metric | Utility | with Habituation | with Alternatives | Utility | Utility | |||||
| Agent1 | Agent2 | Agent1 | Agent2 | Agent1 | Agent2 | Agent1 | Agent2 | Agent1 | Agent2 | |
| Avg. length per node | 109.38 | 59.56 | 53.34 | 91.12 | 132 | 52.67 | 65.29 | 66.71 | 71.82 | 69.44 |
| max tot. length | 287.94 | 110.29 | 74.0 | 200.0 | 264.8 | 81.0 | 193.05 | 136.17 | 118.0 | 130.15 |
| min tot. length | 33.0 | 14.89 | 30.0 | 21.75 | 55.3 | 26.41 | 26.4 | 8.0 | 30.0 | 2.25 |
| Avg. avg. length per node | 0.041 | 0.011 | 0.016 | 0.045 | 0.053 | 0.016 | 0.025 | 0.025 | 0.014 | 0.022 |
| max avg. length per node | 0.184 | 0.021 | 0.063 | 0.012 | 0.133 | 0.006 | 0.108 | 0.057 | 0.023 | 0.088 |
| min avg. length per node | 0.01 | 0.01 | 0.01 | 0.223 | 0.016 | 0.008 | 0.0001 | −0.003 | 0.01 | 0.001 |
| Avg. adj. total length | −0.17 | 0.046 | 0.0076 | 0.016 | −0.24 | 0.025 | −0.021 | −0.008 | −0.02 | −0.031 |
| max adj. total length | −0.81 | −0.09 | −0.002 | −0.13 | −0.61 | 0.07 | −0.35 | −0.39 | −0.004 | −0.49 |
| min adj. total length | −0.24 | 0.13 | 0.0001 | 0.0001 | −0.01 | 0.014 | 0.14 | 0.0001 | 0.14 | 0.17 |
| Avg. avg. adj. length per node | −0.014 | 0.0007 | 0.0236 | 0.016 | −0.016 | −0.009 | −0.013 | −0.024 | −0.013 | −0.015 |
| max avg. adj. length per node | −0.04 | −0.005 | −0.005 | −0.093 | −0.017 | −0.013 | −0.028 | −0.002 | −0.009 | −0.013 |
| min avg. adj. length per node | −0.01 | 0.0019 | 0.013 | 0.0026 | −0.014 | −0.005 | 0.003 | −0.0001 | −0.0006 | −0.002 |
| Same | Same Utility | Same Utility | Lower | Higher | ||||||
|---|---|---|---|---|---|---|---|---|---|---|
| Metric | Utility | with Habituation | with Alternatives | Utility | Utility | |||||
| Agent1 | Agent2 | Agent1 | Agent2 | Agent1 | Agent2 | Agent1 | Agent2 | Agent1 | Agent2 | |
| Avg. total length | 131.25 | 129.46 | 145.35 | 90.41 | 96.18 | 118.45 | 234.17 | 154.82 | 191.58 | 125.58 |
| max total length | 267.0 | 204.0 | 308.0 | 257.0 | 161.0 | 187.0 | 352.0 | 294.0 | 265.0 | 320.15 |
| min total length | 14.0 | 24.0 | 5.0 | 25.0 | 29.0 | 37.0 | 18.0 | 48.0 | 34.0 | 14.0 |
| Avg. avg. length per node | 0.0049 | 0.0076 | 0.0033 | 0.003 | 0.0087 | 0.02 | 0.0056 | 0.006 | 0.0091 | 0.008 |
| max avg. length per node | 0.025 | 0.04 | 0.015 | 0.017 | 0.03 | 0.059 | 0.055 | 0.012 | 0.056 | 0.09 |
| min avg. length per node | −0.002 | 0.001 | −0.007 | −0.002 | −0.004 | 0.009 | −0.005 | −0.001 | −0.003 | 0.001 |
| Avg. adj. total length | 0.0043 | 0.0364 | 0.0141 | 0.042 | 0.021 | 0.16 | −0.0011 | 0.01 | −0.0029 | −0.0082 |
| max adj. total length | −0.13 | −0.26 | −0.14 | −0.59 | −0.11 | −0.24 | −0.14 | −0.13 | −0.23 | −0.15 |
| min adj. total length | 0.12 | 0.17 | 0.008 | 0.49 | 0.25 | 0.07 | 0.12 | 0.009 | 0.11 | 0.11 |
| Avg. avg. adj. length per node | −0.0034 | −0.0011 | −0.002 | −0.004 | −0.0075 | −0.0071 | 0.0022 | −0.0097 | −0.0014 | 0.0015 |
| max avg. adj. length per node | −0.004 | −0.008 | −0.004 | −0.0055 | −0.019 | −0.015 | −0.087 | −0.0018 | −0.006 | −0.0053 |
| min avg. adj. length per node | −0.0006 | −0.003 | 0.0009 | 0.0007 | −0.001 | −0.003 | −0.0005 | −0.0003 | −0.0007 | −0.0001 |
| Commitment-Based | LRGA | |
|---|---|---|
| Protocol Agents | ||
| Studied problem | Gold nuggets distributed on a 2D grid with obstacles | Agents create and communicate responses on improving a situation |
| Goal | Bring as many gold nuggets as possible to the depot | Reach consensus or disagreement about an idea |
| Theoretical grounding | Formal logic | Psychology and sociology for agent behavior, linguistics for responses |
| Problem parameters | Distance of nuggets from the depot | Dissimilarity of ideas and agent experiences |
| Solution space | Static neighborhoods based on four neighbors | Dynamically generated responses |
| Agent actions | Navigate grid, avoid obstacles, pick-up nuggets carry nugget, drop nugget, communicate about positions | Understand response, add details to a response, consider alternatives with same meaning, abstract, include rare concepts, combine abstractions, communicate created responses |
| Communication | Static, based on agent | Dynamic based on agent |
| mechanism | roles | expectations and urgency |
| Solution | Keep carrying a picked | Continue current idea by |
| continuity | nugget, move to neighbor | incremental changes |
| Solution | Drop nugget | Adopt new unrelated |
| discontinuity | [no jumps allowed] | idea to create own response |
| Situation interpretation | All agents perceive agent and nuggets positions in the same way | Ambiguities and different utilities can exist for the same inputs |
| Agent collaboration | Communicate positions, cannot jointly carry a nugget | Communicate ideas, agents can change the same idea |
| Repetition | Always sub-optimal | Can be beneficial |
Disclaimer/Publisher’s Note: The statements, opinions and data contained in all publications are solely those of the individual author(s) and contributor(s) and not of MDPI and/or the editor(s). MDPI and/or the editor(s) disclaim responsibility for any injury to people or property resulting from any ideas, methods, instructions or products referred to in the content. |
© 2023 by the authors. Licensee MDPI, Basel, Switzerland. This article is an open access article distributed under the terms and conditions of the Creative Commons Attribution (CC BY) license (https://creativecommons.org/licenses/by/4.0/).
Share and Cite
Doboli, A.; Curiac, D.-I. Studying Consensus and Disagreement during Problem Solving in Teams through Learning and Response Generation Agents Model. Mathematics 2023, 11, 2602. https://doi.org/10.3390/math11122602
Doboli A, Curiac D-I. Studying Consensus and Disagreement during Problem Solving in Teams through Learning and Response Generation Agents Model. Mathematics. 2023; 11(12):2602. https://doi.org/10.3390/math11122602
Chicago/Turabian StyleDoboli, Alex, and Daniel-Ioan Curiac. 2023. "Studying Consensus and Disagreement during Problem Solving in Teams through Learning and Response Generation Agents Model" Mathematics 11, no. 12: 2602. https://doi.org/10.3390/math11122602
APA StyleDoboli, A., & Curiac, D.-I. (2023). Studying Consensus and Disagreement during Problem Solving in Teams through Learning and Response Generation Agents Model. Mathematics, 11(12), 2602. https://doi.org/10.3390/math11122602

