Next Article in Journal
Motion-Compensated PET Image Reconstruction via Separable Parabolic Surrogates
Next Article in Special Issue
Measuring and Modelling the Concentration of Vehicle-Related PM2.5 and PM10 Emissions Based on Neural Networks
Previous Article in Journal
Lifts of a Quarter-Symmetric Metric Connection from a Sasakian Manifold to Its Tangent Bundle
Previous Article in Special Issue
Modeling the Operation of Signal-Controlled Intersections with Different Lane Occupancy
 
 
Font Type:
Arial Georgia Verdana
Font Size:
Aa Aa Aa
Line Spacing:
Column Width:
Background:
Article

Investigation of the Convergence of a Multi-Grid Algorithm for Solving the Task of Pressure in the Thin Lubricating Film of the Non-Newtonian Fluid

Department of Motor Transport, Institute of Engineering and Technology, South Ural State University, 76 Prospekt Lenina, 454080 Chelyabinsk, Russia
*
Author to whom correspondence should be addressed.
Mathematics 2023, 11(1), 54; https://doi.org/10.3390/math11010054
Submission received: 23 November 2022 / Revised: 15 December 2022 / Accepted: 20 December 2022 / Published: 23 December 2022

Abstract

The article describes a multi-grid algorithm for integrating the Reynolds equation for hydrodynamic pressures in the lubricating film of a heavy-loaded journal bearing. This equation is the basic one in solving the tasks of designing friction units of piston- and rotary machines. Lubrication sources of various configurations in the form of grooves and holes located on the friction surfaces were taken into account. The version of the multi-grid algorithm developed by the authors is based on Brandt’s work. At each level of grids, not only the convergence of the solution is controlled, but also the rate of convergence. The pressure equation was approximated by finite differences using the control volume method and passed to a system of algebraic equations, which were solved by the Seidel method. Bessel formulas were used as the interpolation operator. The function for taking into account the non-Newtonian properties of the lubricant is based on the power law. Comparison of the developed algorithm with other versions showed high efficiency. The use of multi-grid algorithms makes it possible to perform multi-variant calculations of the dynamics of heavily loaded bearings. As a result of the calculations, the characteristics of the connecting rod bearing of the heat engine, as well as the multilayer bearing of the turbocharger, are presented.

1. Introduction

In the classical hydrodynamic theory of lubrication, the movement of fluid in a thin lubricating film of tribo-units is described by three fundamental laws [1,2,3]:
  • preservation of momentum in a limited volume of liquid;
  • preservation of mass in the form of a flow continuity equation;
  • preservation of energy, which reflects the equality of the change in time of the total energy of the allocated volume of liquid and the superposition of the work of the mass forces applied to this volume, and the amount of heat supplied from an external source per unit time.
For heavily loaded tribo-units, the equations of motion of their moving elements are added to the equations compiled on the basis of conservation laws.
Theories and methods for studying hydrodynamic tribo-units are characterized by a set of methods for solving interrelated tasks [4,5,6]:
  • Solving the equations of dynamics of multi-mass mechanical systems, including the equations of motion of moving elements of tribo-units to determine the trajectory of the center of the journal in the bearing.
  • Solutions to tasks of continuous medium dynamics for determining pressures in a lubricating layer separating friction surfaces of non-ideal geometry with an arbitrary law of their motion.
  • Assessment of the thermal state of the system “shaft-lubricating film-bush”.
  • Determination and optimization of integral hydro-mechanical characteristics of bearings.
A comprehensive solution of the above tasks is the main condition for creating tribo-units with an increased capacity and reliability that meet modern requirements and working conditions.
However, the joint solution of these tasks causes great difficulties, since it requires the development of highly efficient mathematical techniques and methods, algorithms and calculation technologies.
Usually, various methods for solving tasks of dynamics are divided into two main groups: numerical methods of continuum mechanics and methods for modeling multi-mass mechanical systems. Typical representatives of the first class are the finite element method (FEM) or the finite difference method (FDM), which is mainly used for calculations involving all kinds of deformable structures, viscous liquids and gases [7,8,9].
The algorithm presented in the article can be used to evaluate the performance of various friction units of machines and mechanisms, including: multilayer plain bearings of turbocharger rotors; heavily loaded crankshaft bearings of an internal combustion engine; piston-ring-cylinder connection; diesel engine bearings and large steam turbine bearings.

2. Formulation of the Problem/Literature Review

The Reynolds equation is the basic one when calculating the performance of multilayer plain bearings of lightly loaded turbocharger rotors, determining their stability characteristics [10], as well as when calculating the hydro-mechanical characteristics of heavily loaded bearings of thermal machines and mechanisms. Wear resistance, thermal stress, fatigue life of the antifriction layer of liners directly or indirectly depend on the hydro-mechanical characteristics of the bearings. The Reynolds equation for hydrodynamic pressures in a thin lubricating film in a coordinate system fixed on a bearing is written as [11]:
φ F ρ ¯ h ¯ n + 2 p ¯ φ + 1 a 2 z ¯ F ρ ¯ h ¯ n + 2 p ¯ z ¯ = φ F ω ρ ¯ h ¯ + τ ρ ¯ h ¯   .
Here z ¯ = 2 z / B , 1 < z ¯ < 1 , a = B / 2 r , t ¯ = ω 0 t , p ¯ = p p a ·   ψ 2 / μ 0 ω 0 , ρ ¯ = ρ / ρ 0 ; μ ¯ = μ / μ 0 ; h ¯ = h / h 0 ; ψ = h 0 / r ; ω ¯ = ω / ω 0 ; τ = ω 0 t , h is lubricating layer thickness; μ is effective (calculated) lubricant viscosity; h 0 , μ 0 , ρ 0 , ω 0 is characteristic thickness of the lubricating film, lubricant viscosity, density, journal rotation speed; p , p a is hydrodynamic and atmospheric pressure; ω is absolute angular velocity of rotation of the journal; r , B is bearing radius and width
F = ϕ ¯ 2 ϕ ¯ 1 ϕ ¯ 0 ϕ ¯ 1 ,   F ω = ω ¯ 1 + ω ¯ 21 1 ϕ ¯ 1 ϕ ¯ 0 ,   ϕ ¯ k = 0 1 y ¯ k μ ¯ d y ¯ .
Dimensionless lubricating film thickness h ¯ and its derivative h ¯ / τ are determined by the formulas h ¯ = 1 χ cos φ δ , h ¯ / τ = χ ˙ cos φ δ χ δ ˙ sin φ δ , where χ = e / h 0 , e is absolute eccentricity of the journal center; χ ˙ , δ ˙ are derivatives with respect to dimensionless time.
When integrating Equation (1) in region Ω = φ 0.2 π ; z ¯ a , a , the Swift–Stieber boundary conditions are most often used, which are written in the form of the following restrictions on the function p ¯ φ , z ¯ :
p ¯ φ , z ¯ = ± a = p ¯ a ;   p ¯ ( φ , z ¯ ) = p ¯ ( φ + 2 π , z ¯ ) ; p ¯ φ , z ¯ 0 , p ¯ φ , z ¯ = p ¯ S o n   φ , z ¯ Ω S ,   S = 1 , 2 S * ,
where Ω S is lubrication source area where the pressure is constant and equal to the supply pressure p S , S * —number of sources.
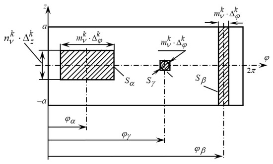
The scan of the lubricating film in the presence of lubrication sources of various shapes on the friction surface is shown in Figure 1, where axis O φ coincides with the axis of symmetry of the lubricating film. Loops S α and S β limit, respectively, closed (not in contact with the ends of the bearing) and open (in contact with the ends) grooves; S γ is the square introduced into the design model to approximate the contour of the hole.
In closed grooves, i.e., in areas S α that include boundaries S α , α = 1 , 2 , , α * , the pressure is set equal to the supply pressure p s . In open grooves, i.e., in areas S β , β = 1 , 2 , , β * , the change in the dimensionless pressure along the coordinate z is described by a linear function p β φ S β , z = p + 0.5 p + p · z + a / a , where p ± are the dimensionless pressures at the endfaces, i.e., at z = ± a . In particular, if an excess z = a pressure is maintained at p s , and the end z = a connects with the atmosphere ( p + = 0 ), this equation will take the form p β φ S β , z = p s 0.5 p s z + a / a .
The set of restrictions on the function p φ , z for the bearing with lubrication sources will be written for the moment in the form.
p φ , z = p φ + 2 π , z = 0 , Ω 0 φ 2 π , a z a   ; p ± , z = ± a   ; p ν φ , z S ν , ν = 1 , 2 , , ν ¯ , ν ¯ = α , β , γ .
The location of the sources is given by the coordinates of their geometric centers (angles φ α ,   φ β ,   φ γ ), and their length by the formulas:
b ν φ k = m ν k · Δ φ k , b ν z k = n ν k · Δ z k ;   m ν k = int ( b φ / Δ φ k ) ,   n ν k = int ( b z / Δ z k )
where b φ k , b z k are dimensionless extensions of sources in the direction of the axes φ and z on the grid k ; Δ φ k , Δ z k are grid step sizes k ; m ν k , n ν k are scale factors.
Recently, preference has been increasingly given to numerical-analytical methods based on finite-difference approximation of differential operators of a boundary value task with free boundaries, which make it possible to obtain solutions for bearings of arbitrary geometry. Among the numerical methods, the most widely used methods are finite difference methods (FDM) [12,13,14] and variation difference methods using finite element (FEM) [15,16,17,18] approximating models.
Numerical methods based on finite-difference approximation of the boundary value task of hydrodynamic pressure make it possible to obtain solutions for bearings with a complex geometry of the lubricating layer, and to take into account the presence of lubricant sources on the friction surface; the algorithms for their implementation are flexible and universal.
The Reynolds Equation (1) after its difference approximation is reduced to a system of algebraic equations, which, taking into account restrictions (2), is usually solved by the iterative Seidel method, and less often using one of the well-known modifications of the method of longitudinal-transverse sweeps [19]. The algorithm for implementing restrictions (2) is that each time during iterations at some point in the region Ω the condition p ¯ > 0 is not met, the pressure at this point is reset to zero. This technique was used by El-Bach and El-Tayeb [20] when calculating the pressure field in a bearing lubricated with carbonated lubricants.
An economical way to find a solution to Equation (1) is associated with the use of multi-grid algorithms [21], in which the carrier region Ω is approximated by a sequence of rectangular grids S 1 , S 2 , S k ¯ , with appropriate step sizes
S k = φ i = Δ φ i 1   ;   i = 1 , , M k ; M k = M · 2 k 1 ;   Δ φ k = 2 π / M k ; z j = a + Δ z j 1 ; j = 1 , , N k ; N k = N · 2 k 1 + 1   ;     Δ z k = 2 a / N k ; k = 1 , , k ¯ .
where M and N is number of discretization nodes of the plane Ω in coordinate directions φ and z on the first (largest) grid; k ¯ is number of grids (sampling levels); Δ φ k and Δ z k are grid steps by coordinates φ and z : Δ 1 = 2 Δ 2 = 4 Δ 3 = = 2 k ¯ 1 Δ k ¯ .
When using multi-grid algorithms [21,22,23,24], the time spent on integrating the Reynolds equation is reduced by several orders of magnitude. In this regard, the popularity of multi-grid algorithms for integrating second-order equations, to which the Reynolds equation belongs, is understandable. The idea of multi-grid algorithms was first presented in the work of P.P. Fedorenko [23] and further developed by Brandt [21,24]. The effectiveness of their application was demonstrated in the works of V.N. Prokopiev et al. [25,26], who showed that the use of multi-grid algorithms for integrating the Reynolds equation reduces the time spent by dozens of times [25]. The authors of [27] successfully considered geometric multi-grid methods that use information about grids of different nesting levels to solve nonlinear tasks described by parabolic type equations. They showed that a significant advantage of nonlinear multi-grid methods is the absence of the need for linearization and the construction of Jacobians, which somewhat simplifies the software implementation of these algorithms.
Among the numerical methods for solving equations for pressures in a thin lubricating layer, not only FDM, but also FEM have received the most widespread use in recent years in the literature. In the work of Byung-Jik Kim and Kyung-Woong Kim [28], the Reynolds equation was solved by the finite element method. FEM have found wide application for statically loaded bearings in solving EHD lubrication tasks [28,29,30] due to the extremely simple docking of hydrodynamic and elastic subproblems. The disadvantage of such calculations is the excessive cost of resources for the solution.
More than 1000 billion floating point operations per second (1 TFLOPS) of computing power is required to solve many of today’s tasks. A large number of computational algorithms using the sequential programming model have been developed at present. However, it is not always possible to create an efficient parallel algorithm to implement many of them.
Often, to obtain an approximate solution with high accuracy, a grid with a high density of nodes is used, while the calculation time increases significantly, and thus the use of multiprocessor computers becomes relevant to reduce the calculation time. For example, D.V. Degi and A.V. Starchenko [31], when solving the task of the flow of a viscous incompressible fluid in a cavity with a moving top cover, used the obtained property of parallel algorithms to speed up calculations on grids with more than 106 nodes by several tens of times. There are other works [32,33,34] that use the power of supercomputers to solve engineering tasks, including tasks of hydrodynamics. It was noted in [33] that the development of software packages for solving hydroaerodynamic tasks, such as ANSYS CFX, ANSYS FLUENT, STAR-CD, FlowVision, etc., has reached a high level of efficiency, accuracy, and flexibility. All these packages allow solving tasks of continuum mechanics using models built on the basis of the Navier–Stokes equations. However, the difficulty of using such powerful and, for the most part, commercial packages is due to the need to simultaneously solve the tasks of hydrodynamics, the theory of elasticity, heat transfer, etc. There are also tasks with the correct assignment of boundary conditions, matching of input and output data when using different packages. This is especially noticeable when solving elasto-hydrodynamic tasks requiring the use of iterative procedures.
Methods for solving tasks on pressure in a thin lubricating layer, for the most part, are designed to find the pressure distribution in a Newtonian fluid layer. The rheological properties of any fluid in shear are fully characterized by its viscosity. The viscosity of a lubricant is practically the only parameter that can be used to characterize and take into account the rheological behavior of a lubricant when determining hydrodynamic pressures using the Reynolds equation. Therefore, the task of substantiating the mathematical model of viscosity is fundamental. Existing attempts to apply these methods for a lubricant with non-Newtonian properties lead to an unjustified increase in the calculation time and simplification of the applied mathematical models.

3. The Ideology of Multi-Grid Algorithms for Integrating Second-Order Differential Equations

Equation (1) with conditions (2) in the grid domain S k with grid steps Δ φ k and Δ z k is approximated by finite differences and with difficulties in the form of a difference equation.
L k p ¯ k = F k ,
where L is a differential operator, and L k p ¯ k are the expressions corresponding to it, including values p ¯ k at neighboring nodes, F k is the right side of Equation (1).
Task (4) with a constraint p ¯ 0 is called the linear complementarity task and is solved by any iterative method in two stages.
The solution of complementarity tasks is considered in detail in [23,35].
Firstly, after the s-th iteration, the preliminary pressure value is found.
p ¯ k , s + 1 / 2 = p ¯ k , s + Δ p ¯ k , s + 1
and then its projection
p ¯ k , s + 1 = max 0 , p ¯ k , s + 1 / 2
Such a two-stage iterative method is hereinafter referred to as the projection method.
The simplest version of the multi-grid algorithm studied by the author implements R.P. Fedorenko [23] and looks like this. We start the solution on the first (largest) grid. The convergent solution of Equation (6) is found using projection iterations (7, 8), achieving the specified accuracy. The resulting solution is transferred to the grid of the next finer level
p ¯ k + 1 = I k k + 1 p ¯ k ,
where the symbol I k k + 1 means the interpolation operation from S k to S k + 1 and is used as an initial approximation to find a convergent solution, which is then passed to the next lower level, etc. This algorithm is called the direct multi-grid algorithm (DM) [23,24].
The modern version of the multi-grid algorithm for integrating second-order differential equations, which includes the Reynolds equation, developed in collaboration, is based on the A. Brandt scheme and is further called AMA (multi-grid adaptive algorithm).
As in the direct multi-grid algorithm, the solution obtained on a coarse grid k is interpolated to a finer grid k + 1 and used as an initial approximation for the solution obtained using this intermediate grid.
A series of projection iterations is carried out on the grid k + 1 to suppress the high-frequency components of the error (smoothing the errors of the solution V k + 1 ). After each iteration, the convergence of the solution is controlled
p ¯ k s ε k ,
as well as the rate of convergence
p ¯ k s / p ¯ p r e v k s η
Here, the operator s is a pre-selected norm, ε is a small number,
p ¯ k = p ¯ k , s + 1 p ¯ k , s ,   p ¯ p r e v k = p ¯ k , s p ¯ k , s 1
η = 0.5 is theoretical rate of convergence.
If, after several projection iterations, condition (10) is not satisfied, but condition (11) is met, which means the convergence slows down, we switch to a coarser grid, i.e., grid of the previous level. On a coarse grid, we determine the correction that needs to be made to the smoothed approximate solution p ˜ k + 1 obtained on the grid k + 1 .
We replace the equation on a fine grid.
L k + 1 p ¯ k + 1 + V k + 1 L k + 1 p ¯ k + 1 = r ˜ k + 1 ,
where
r ˜ k + 1 = ( F k + 1 L k + 1 p ¯ k + 1 )
is the residual.
By equivalent equation on a coarse grid
L k + 1 I k + 1 k p ¯ k + V k L k I k + 1 k p ¯ k = I ¯ k + 1 k r ˜ k + 1
Here I k + 1 k and I ¯ k + 1 k are interpolation operators (optionally) from S k + 1 to S k . To avoid the appearance of additional nonlinear terms in Equation (14), instead of V k , we introduce a new unknown w k , which represents the sum of the initial (preliminary) approximation p ˜ k + 1 = p ¯ p r e v k + 1 and correction V k + 1 on a coarse grid.
As a result, Equation (15) takes the form
L k w k = f k ,
where
f k = L k I k + 1 k p ˜ k + I ¯ k + 1 k r ˜ k + 1 .
Note that not solution w k itself, but function V k = w k I k + 1 k p ˜ k is an approximation on a coarse grid of a smoothed function V k defined on ( k + 1 ) grid. Therefore, if w k is the solution to Equation (15), then the approximation found earlier on a fine grid is refined using the ratio:
p ¯ r e f k + 1 = p ¯ p r e v k + 1 + I k k + 1 w k I k + 1 k p ¯ p r e v k

4. Difference Approximation of the Reynolds Equation for Non-Newtonian Fluids

To integrate Equation (1) with constraints (2) or (3), uniform grid domains (4) were introduced.
The grid with the number k + 1 is the result of splitting the cells of the k -th grid in half. The ratio between the sizes of grid cells of adjacent levels
Δ ( 1 ) = 2 Δ ( 2 ) = 4 Δ ( 3 ) = 2 k ¯ 1 Δ ( k ¯ )
Equation (1) in divergent form takes the form:
  B   φ +   C   z = M ( φ , t ¯ ) ,
where
B = ϕ ¯ 2 ϕ ¯ 1 ϕ ¯ 0 ϕ ¯ 1 h ¯ n + 2   p ¯   φ ;   C = ϕ ¯ 2 ϕ ¯ 1 ϕ ¯ 0 ϕ ¯ 1 h ¯ n + 2   p ¯   z ¯ ;   M ( φ , z ¯ ) = ω ¯ 1 + ω ¯ 21 1 ϕ ¯ 1 ϕ ¯ 0 h ¯ φ χ ˙ cos φ δ χ δ ˙ sin φ δ + h ¯ Δ τ .
When constructing difference algorithms for the numerical differential solution of tasks, it is important that the construction of the finite-difference scheme be conservative, i.e., correctly reflecting the main backbones (mass, heat, energy, etc.) underlying the original differential task.
Integrating Equation (19) over the area S i j (Figure 2), and passing in its left side to the contour integral, we obtain a conservative scheme in the form.
B i + 1 2 , j B i 1 2 , j 1 Δ φ + C i , j + 1 2 C i , j 1 2 1 Δ z = M i j ,
where
B i ± 1 2 , j = ϕ ¯ 2 ϕ ¯ 1 ϕ ¯ 0 ϕ ¯ 1 h ¯ n + 2   p ¯   φ i ± 1 2 , j m + 1 ;
C i , j ± 1 2 = ϕ ¯ 2 ϕ ¯ 1 ϕ ¯ 0 ϕ ¯ 1 h ¯ n + 2   p ¯   z ¯ i , j ± 1 2 m + 1 ;
M i j = ω ¯ 1 + ω ¯ 21 1 ϕ ¯ 1 ϕ ¯ 0 Δ h Δ φ χ ˙ cos φ δ m + 1 χ δ ˙ sin φ δ m + 1 + Δ h Δ Δ t
and the index m + 1 denotes the time layer.
Approximating the spatial derivatives by central differences, we find (subscripts m + 1 omitted):
a i j p ¯ i j + a i 1 , j p ¯ i 1 , j + a i + 1 , j p ¯ i + 1 , j + a i , j 1 p ¯ i , j 1 + a i , j + 1 p ¯ i , j + 1 = b i j .
Here
a i 1 , j = 1 Δ φ 2 ϕ ¯ 2 ϕ ¯ 1 ϕ ¯ 0 ϕ ¯ 1 h ¯ n + 2 i 1 2 , j ; a i + 1 , j = 1 Δ φ 2 ϕ ¯ 2 ϕ ¯ 1 ϕ ¯ 0 ϕ ¯ 1 h ¯ n + 2 i + 1 2 , j ; a i , j 1 = 1 Δ z 2 ϕ ¯ 2 ϕ ¯ 1 ϕ ¯ 0 ϕ ¯ 1 h ¯ i n + 2 ; a i , j + 1 = 1 Δ z 2 ϕ ¯ 2 ϕ ¯ 1 ϕ ¯ 0 ϕ ¯ 1 h ¯ i n + 2 ; a i j = ( a i 1 , j + a i + 1 , j + a i , j 1 + a i , j + 1 ) ; b i j = M j i .
The system of linear algebraic Equation (25) is a detailed record of the operator Equation (6), and the ideology of multi-grid algorithms described above was used to solve it.
The set of restrictions on the function p φ , z for the bearing with lubrication sources is used in the form (3).
In multi-grid algorithms for integrating the Reynolds equation on a coarse (first) grid, the sources were specified as pressure lines for the groove and points for the hole. On the second and third grids, the sizes of the sources were calculated by Equation (4), and thus, their boundaries could be set with the accuracy of the sizes of the cells of the finest grid Δ φ k ¯ , Δ z k ¯ .
When solving Equation (1), the non-Newtonian properties that modern lubricants have are taken into account.

5. Modeling Non-Newtonian Properties of Lubricants

Lubricant is an integral element of the design of many friction units. Traditionally, when modeling friction units, the viscosity-temperature properties of lubricants are taken into account. However, modern oils are structurally complex substances and their rheological behavior differs from that of a Newtonian fluid. The main feature of the rheological behavior of many oils is the nonlinearity of the dependence of viscosity on shear rate, which must be taken into account when calculating the hydromechanical characteristics of friction units, for example, rotor bearings of turbochargers of internal combustion engines. Thus, there was a need for a complex rheological model of the lubricant. This model should take into account viscosity as a function of lubricant temperature, hydrodynamic pressure in a thin lubricant layer and shear rate:
μ T , p , γ ˙ = μ 1 · C 1 e C 2 / T э + C 3 + β T э · p , 1 γ ˙ 10 2 ; I 2 n T э 1 / 2 · C 1 e C 2 / T э + C 3 + β T э · p , 10 2 γ ˙ 10 6 ; μ 2 · C 1 e C 2 / T э + C 3 + β T э · p ,   γ ˙ > 10 6 ,
where γ ˙ = I 2 , I 2 = V x / y 2 + V z / y 2 , C 1 , C 2 , C 3 are constants, which reflect empirical features of the lubricant.
At Section 1 in the range of shear rates from 1 to 10 2   s 1 the oil behaves as a Newtonian fluid with a viscosity μ 1 . At Section 2 in the range of shear rates from 10 2 to 10 6   s 1 it is characteristic that the decrease in viscosity follows a power law. In Section 3, where the shear rate is greater than 10 6 s 1 , the oil behaves as a Newtonian fluid with the viscosity μ 2 .
The effect of natural or synthetic surfactants on the rheological behavior of oils in thin films is of great technical interest. In order to take into account the phenomenon of formation of a boundary layer on the metal surfaces of friction units, the following rheological model was proposed [36,37,38,39]:
μ i = μ 0 + μ s exp ( h i / l h )
where μ s is the parameter representing the conditional value of viscosity at infinitesimal distance from the limiting surface. We assume that the viscosity of hydrocarbon oils near a solid surface is equal to the viscosity of solid paraffin.
Dependence (27) in this case describes the change in viscosity μ h with distance of h i from the metal surface.
In a layer limited by two surfaces, possible distinctions between the adsorptive properties and the structuring influence of various materials need to be considered. These distinctions are described by parameters l h 1 , l h 2
μ i = μ 0 + μ s exp h i l h 1 + exp h i h l h 2
Calculation of h s and l h is carried out by numerical methods proceeding from:
μ e f = μ μ 0 , h , h s , l h F μ e f , h s = F min .
The model of the additive interaction of the adsorptive layers (28) allows us to explain a number of experimental data. It can be also used for an explanation of the dependence of the viscosity of suspensions on the sizes of particles. However, this model does not consider the interaction of the adsorptive layers formed on two surfaces. Therefore, it can be applied only at thickness values of the lubricant layer which considerably exceed 2 h s , i.e., in the presence of a lubricant with the usual viscosity.
With further increase of loading inevitably there is an interaction of the adsorptive layers as described in [37,38].
Thus, the value of viscosity across the thickness of the lubricating layer varies from value μ s , which lies within 10 4 10 6   Pa · s , to the values of viscosity in the middle of the lubricating layer μ * T , p , γ ˙ . Figure 3 schematically shows the change in the viscosity of the lubricant along the y coordinate, directed along the normal to the friction surface. Coordinate y 1 corresponds to the value of the boundary lubricating layer h s . Coordinate x corresponds to the change in the angular φ coordinate.
Generalizing models (26) and (28), we write down the rheological model for the viscosity of the lubricant at each point of the discrete grid in three coordinates φ , z , y characterizing the position of the elementary volume of the lubricant enclosed between two friction surfaces,
μ = μ * T , p , γ ˙ + 1 ϑ μ s exp y k / l h , y k = 0 h , ϑ = 0 , h min < h c r i t . ; 1 , h min h c r i t . , ,
where μ * T , p , γ ˙ is determined by expression (26).
When solving technical tasks of modeling friction units with lubrication, the influence of the boundary lubricating layer appears only at those moments of time when the calculated minimum layer thickness becomes less than the allowable value inf h min < h c r i t . , i.e., with a possible transition from the hydrodynamic friction mode to the mixed one.
When calculating the field of hydrodynamic pressures in a thin lubricating layer of non-Newtonian fluids (Equation (1)), the viscosity model (30) takes into account the non-Newtonian properties of the lubricant and presence of adsorption layers.

6. Numerical Implementation of Multi-Grid Algorithms

To determine the discretization parameters, namely, the number of discretization nodes of the region S k (Equation (5)) along the coordinate directions φ and z ¯ , the number of grids (sampling levels) and the size of the grid steps along the coordinates, we used the calculated values of the hydromechanical characteristics obtained by solving the system of algebraic Equation (25) by the Gauss–Seidel projection method with varying calculation accuracy ε . As reference values of hydromechanical characteristics, we used the calculation results obtained in [26] for a given accuracy ε = 10 6 on a fine mesh with the number of nodes M k ¯ = 192 ,   N k ¯ = 49 .
The characteristics were calculated for the symmetrical bearing with a dimensionless width a = 0.5 at μ ¯ = 1 , ω ¯ 21 = 1 , δ = 0 as a function of the relative eccentricity χ and the parameter q ˜ = 2 χ ˙ / ω ¯ 21 .
Taking into account the symmetry of the diagram of hydrodynamic pressures relative to the axis z ¯ , only the region 0 z ¯ a was considered. The initial array of values p i j φ , z ¯ was assumed to be zero, and in expression (10) the norm was used:
p ¯ k ¯ s = i , j p ¯ i j s + 1 i , j p ¯ i j s i , j p ¯ i j s
The integrals required to calculate the characteristics were calculated using the Simpson method. The maximum hydrodynamic pressure p ¯ max and the coordinate φ max corresponding to it were determined in two stages. Initially, at z ¯ = 0 , by enumeration over all nodes of the grid of a given level, node φ i was found, in which p ¯ is maximum. At the second stage p ¯ max and φ max were clarified. To do this, in the vicinity of the i-th node, using the approximate differentiation formula based on the Lagrange interpolation formula, we determined the derivative
  p ¯   φ = 1 Δ φ 1 2 p ¯ i 1 2 η 3 p ¯ i 2 η 2 + 1 2 p ¯ i + 1 2 η 1 ,
where η = φ φ i 1 / Δ φ —interpolation step.
By equating the derivative   p ¯ /   φ to zero, the relative value η max was determined, by which point φ max is separated from point φ i 1 :
η max = p ¯ i + 1 4 p ¯ i + 3 p ¯ i 1 2 p ¯ i + 1 2 p ¯ i + p ¯ i 1 .
The maximum pressure p ¯ max was calculated using Newton’s interpolation formula
p ¯ max = p ¯ i 1 + p ¯ i p ¯ i 1 η max + 1 2 p ¯ i + 1 2 p ¯ i + p ¯ i 1 η max η max 1 ,
and the coordinate corresponding to it, from the obvious relation
φ max = φ i 1 + η max Δ φ
All calculations were performed with rougher termination criteria for the number of iterations: ε = 10 4 ;   ε = 10 3 . It was found that at   ε = 10 3 , the relative errors Δ of calculating the dimensionless lubricant consumption Q ¯ at χ 0.9 can reach 15%; for other characteristics, these errors do not exceed 5%. At ε = 10 4 , the errors in determining all the characteristics of the lubricating layer are not higher than 2.5%. As the grid level decreases ( M k ¯ = 96 ,   N k ¯ = 25 and ε = 10 4 ), the errors increase and at χ = 0.975 they reach the value of 5%. In the operating range of eccentricities 0.1 χ 0.95 , the relative errors in determining all characteristics do not exceed 3%. Similar results were obtained for other values a from the range 0.25 a 1.5 . Taking this into account, the sizes of Δ φ and Δ Z cells of the finest grid ( k ¯ = 3 ) were selected from condition M k ¯ = 96 ,   N k ¯ = 25 ; in expression (10), which controls the convergence according to the norm (31), ε k ¯ = 10 4 was taken. On the intermediate grid ( k = 2 ), the number of grid nodes was reduced to ( M k × N k ) = ( 48 × 13 ) , and on the first ( k = 1 ), the coarsest mesh, up to ( M k × N k ) = ( 24 × 7 ) .
In the DM algorithm, convergence criterion ε k ¯ = 10 4 remained unchanged at the second and first discretization levels. In the AMA algorithm, when moving from the third to the second grid, according to the criterion of slowing down the convergence rate (11) in expression (10), ε k = δ ˜ P k + 1 . The value of δ ˜ = 0.125 was selected by numerical experiments from the range recommended by Brandt.
As operator I k k + 1 for transferring grid functions from the coarse grid (the lower level) to the fine grid (the higher level), locally one-dimensional linear or cubic interpolation operators are usually used.
However, linear interpolation did not provide sufficient accuracy. The use of cubic interpolation led to the appearance of unwanted negative values of the interpolated function. A rather simple and accurate method of interpolation turned out to be a method based on Bessel formulas (numbering of nodes is shown in Figure 4):
f 1 2 = 1 16 f 1 + 9 f 0 + 9 f 1 f 2   ; f 3 2 = 1 16 f 1 5 f 0 + 15 f 1 + 5 f 2   ; f 1 2 = 1 16 f 2 5 f 1 + 15 f 0 + 5 f 1   .
When switching from the coarse to the fine grid, the values of the function at coinciding nodal points (points with integer numbers in Figure 4) are preserved. At points belonging only to a fine grid (points with fractional numbers in Figure 4), the values of the functions are recalculated first in the direction of axis φ , and then z ¯ . At points adjacent to the boundaries of the integration region, formulas for f 1 / 2 and f 3 / 2 are applied, and at other points—for f 1 / 2 .
Inequality p ¯ i φ i , z ¯ i 0 from conditions (2) requires that p ¯ k be non-negative at every point. Condition (3) ensures that p ¯ k + 1 is non-negative at each iteration.
Moreover, with an appropriate choice of operator I k + 1 k , approximations p ¯ k are also non-negative. However, Equation (16) does not preserve non-negativity when returning from S k to S k + 1 , which was observed when debugging the algorithm. Of course, all negative components of p ¯ i j are set to zero already at the first projection iteration by S k + 1 , but, nevertheless, their appearance slowed down the convergence. To ensure the non-negativity of hydrodynamic pressures immediately after returning from the grid S k , after the calculation according to Equation (18), the AMA initially using the following procedure was provided:
p k = 1 = p r e f k + 1 ,   if   p r e f k + 1 0 ; p p r e v k + 1 ,   if   p r e f k + 1 < 0 .
An alternative procedure, which turned out to be more efficient, is written as
p ¯ k = 1 = p ¯ r e f k + 1 ,   if   p ¯ r e f k + 1 0 ; 0 ,   if   p ¯ r e f k + 1 < 0 .
In the DM algorithm, all negative values of p ¯ k + 1 from Equation (9) are set to zero. In the developed version of AMA, the same operators for transferring solutions and residuals from fine grids to coarse ones ( I k + 1 k = I ¯ k + 1 k ) were used. Five- and nine-dot operators were tested:
I k + 1 k 1 16 0 2 0 2 8 2 0 2 0 , 1 16 1 2 1 2 4 2 1 2 1
The latter expression is ultimately preferred. Thus, in AMA, the recalculation of grid functions θ ˜ = p ¯ , r ˜ when transferring from the fine grid to the coarser grid is performed by the formula
θ ˜ k = I k + 1 k θ ˜ k + 1 = 1 16 θ ˜ i 1 , j 1 k + 1 + 2 θ ˜ i 1 , j k + 1 + θ ˜ i 1 , j + 1 k + 1 + 2 θ ˜ i , j 1 k + 1 + 4 θ ˜ i , j k + 1 + 2 θ ˜ i , j + 1 k + 1 + + θ ˜ i 1 , j 1 k + 1 + 2 θ ˜ i + 1 , j k + 1 + θ ˜ i + 1 , j + 1 k + 1   .
The scheme of the final version of the AMA is shown in Figure 5.
Different levels of the grid are marked with numbers 1, 2, 3. The maximum allowable numbers of iterations at each level are marked with numbers next to the circles. The converged solution is shown by double lines.
In accordance with the scheme of the AMA algorithm, the search for the solution started on the grid of the lowest level ( k = 1 ) (the largest grid) and was performed until the convergence condition (10) was satisfied. With the help of the interpolation operator (32), the converged solution was transferred as an initial approximation to the second level, where iterations and estimation of the convergence rate (11) at each step continued.
If the convergence rate slowed down or all the iterations provided by the AMA algorithm were performed, and the solution was not yet obtained, the transition to the coarse grid (34) was performed, where Equation (16) was solved for the corrections. Then the return to the fine mesh (18) was carried out, and so on, until a solution is found on the second level grid. From numerical experiments it was found that the number of cycles (returns to the coarse grid) required to obtain the solution on the second grid does not exceed three.
If the solution is obtained before all three cycles are completed, then the remaining cycles are simply not executed, and this solution is considered obtained and transferred to the third level grid as the initial approximation. On the third grid, the described procedure is repeated, but the allowable number of cycles is increased to ten. In practice, in most cases, two or three cycles are enough to find the solution on the third grid.
The effectiveness of multi-grid algorithms can be judged by estimating the total number of conventional units Σ C U , which is to a certain extent proportional to the time spent on obtaining the solution. A conventional unit is the “price” of one iteration on the finest grid. Approximately, i.e., without taking into account the “price” of auxiliary operations, for example, the transfer of grid functions from fine grids to large ones and back is the “price” of one iteration on the grid k :
( У Е ) k = 4 ( k k ¯ )
Thus, the total “price” (in conventional units) of the solution obtained using k grids is determined by summing the number of iterations I t k on grids with weight factors defined by relation (34).
For an algorithm with three grid levels (three-grid algorithm)
У Е = 1 16 I t 1 + 1 4 I t 2 + I t 3
The number of iterations on grids and the total number of conventional units for various algorithms for solving the Reynolds equation are presented in Table 1 and Table 2, from which it follows that multi-grid algorithms are more than an order of magnitude more efficient than single grid ones in terms of time consumption. The adaptive algorithm (AMA) is about twice as efficient as the DM algorithm.

7. Examples of Using the Multi-Grid Algorithm

The use of multi-grid algorithms makes it possible to perform calculations of complexly loaded tribo-units, taking into account the non-Newtonian properties of modern lubricants.
For multilayer plain bearings of a turbocharger, hydrodynamic pressure diagrams were calculated in the internal lubricating layer of the support with various types of lubrication sources on the bushing surface. The calculation results are shown in Figure 6, Figure 7 and Figure 8 ( χ = 0.5 ; E = 0 ; G = 1 ; a = 0.5 ).
The algorithm described above has been successfully applied to calculate the dynamics of a flexible asymmetric turbocharger rotor. Turbochargers of different dimensions were considered. For example, Turbochargers −7, 8,…23. In these designs, the diameters of the shafts varied from 8 to 16 mm. The ratio of external and internal clearances is varied from 1.8 to 2.4. The rotor speed was varied from 10,000 rpm to 200,000 rpm.
To obtain a converged stable trajectory of the rotor in the space of the bearing clearance, it is necessary to take 30,000–40,000 time steps. The use of the developed algorithm makes it possible to reduce the calculation time by 8–10 times. For example, to calculate one variant of the dynamics of the Turbochargers −8 rotor at a speed of 90,000 rpm on a fine (third) grid, 7 h must be spent. Using the adaptive algorithm reduces the calculation time to 40 min.
The authors have experience in using an adaptive algorithm to calculate the dynamics of large-sized steam turbine bearings (bearing diameter is 0.6 m; radial clearance is 1.15 mm; bearing width is 0.335 m; rotor speed is 3000 rpm).
In addition, the adaptive algorithm was used to calculate the hydromechanical characteristics (pressure, friction losses, minimum lubricating layer thickness, lubricant consumption, etc.) of the ICE crankshaft plain bearings.
The use of the multi-grid AMA algorithm makes it possible to evaluate the effect of a high-viscosity boundary layer on the hydromechanical characteristics of heavily-loaded tribo-units. For this, the bearing of the lower head of the engine connecting rod with a dimension of 13/15 was calculated. The results were obtained for two calculation options:
  • The lubricant is considered as a Newtonian fluid, the temperature in the lubricant layer is constant, T = 100 °C, the boundary layer is not taken into account.
  • The lubricant is considered as a Newtonian fluid, the temperature in the lubricating layer is constant, T = 100 °C, the presence of a boundary layer with parameters μ s = 10 6   Pa · s , l h = 56 · 10 9   m , obtained experimentally is taken into account.
The number of nodes along the thickness of the lubricating layer was assumed to be 300. The calculation results are shown in Table 3.
As can be seen from the results obtained, when the high-viscosity boundary layer is taken into account in the calculation process, hydromechanical characteristics are obtained, the values of which differ significantly from similar data obtained without taking into account the adsorption layer. Due to the influence of the highly viscous boundary layer, friction losses increase by 20%, and the thickness of the lubricating layer increases by 23%.

8. Conclusions

1. To solve the Reynolds equation when determining the field of hydrodynamic pressures, an adaptive multi-grid algorithm based on a finite-difference approximation of differential operators of a boundary value task with free boundaries is presented. The application of this algorithm makes it possible to obtain the field of hydrodynamic pressures in the lubricating layer of heavily loaded tribo-units with irregular geometry, taking into account the presence of various shaped lubricant supply sources on the friction surfaces.
2. In the course of numerical studies, the best ratios of the number of nodes M and N of the discretization of region S k along the coordinate directions φ and z ¯ , as well as k ¯ —the discretization level, were established. To obtain a solution with an accuracy of ε = 10 4 , it is necessary to discretize the carrier area of the tribo-unit in such a way that the number of nodes on the last (finest) grid is not less than M k ¯ = 96 ,   N k ¯ = 25 . The number of iterations on the finest grid compared to the single-grid method is reduced from 500 to 3…5. In this case, the relative errors in calculating the field of hydrodynamic pressures in the lubricating layer of a non-Newtonian fluid do not exceed 10−4, and the errors in determining all characteristics of the lubricating layer do not exceed 2.5%. The maximum level discretization to achieve a given precision of ε = 10 4  is 3.
3. The algorithm has been developed for calculating hydrodynamic pressures in the lubricating layer, taking into account the non-Newtonian properties of the lubricant, in particular, the dependence of viscosity on shear rate and pressure.
4. The results obtained showed that taking into account high-viscosity layers leads to an increase in the calculated minimum thickness of the lubricating layer by 40–45%, temperature by 6–7%, and maximum hydrodynamic pressures by 4–5%.
The complexity of performing multivariant calculations was that in order to be able to take into account the adsorbed high-viscosity layer, it is necessary to increase the number of grid nodes to at least 300 in the process of constructing a discrete grid over the thickness of the lubricating layer. With a larger partition, it is impossible to obtain a result reflecting the effect of the adsorbed layer, since the thickness of this layer for different types of lubricants ranges from 0.3 to 10 microns.

Author Contributions

Conceptualization, E.Z.; Methodology, E.Z., I.M. and I.L.; Validation, E.Z.; Formal Analysis, E.Z.; Investigation, E.Z. and I.L.; Resources, E.Z. and I.L.; Data collection, E.Z., I.M. and I.L.; Writing original drafts, E.Z. and I.L.; Writing—Review and Editing, E.Z. and V.H.; Visualization, V.H.; Oversight, I.L.; Project Administration, E.Z.; Funding Acquisition, E.Z. and I.L. All authors contributed significantly to the completion of this manuscript by conceived and developed the study, and wrote and improved the paper. All authors have read and agreed to the published version of the manuscript.

Funding

This research was funded by the Russian Science Foundation grant number 22-29-20156.

Data Availability Statement

Not available.

Acknowledgments

The authors thank South Ural State University (SUSU) for supporting.

Conflicts of Interest

The authors declare no conflict of interest.

References

  1. Cameron, A. Theory of Lubricants in Engineering; Mashgiz: Moscow, Russia, 1962; 296p. [Google Scholar]
  2. Kodnir, D.S. Contact Hydrodynamic Lubrication of Machine Parts; Mashinostroenie: Moscow, Russia, 1976; 632p. [Google Scholar]
  3. Korovchinsky, M.V. Theoretical Foundations of the Operation of Journal Bearings; Mashgiz: Moscow, Russia, 1959; 403p. [Google Scholar]
  4. Rozhdestvensky, Y.; Lazarev, E.; Doikin, A. Effect of the Heat Insulating Coating of the Piston Crown on Characteristics of the piston-Cylinder Liner Pair. Procedia Eng. 2016, 150, 541–546. [Google Scholar] [CrossRef]
  5. Prokopiev, V.N.; Boyarshinova, A.K.; Gavrilov, K.V. Algorithm of mass conservation during calculating the dynamics of loaded sliding supports. Probl. Mech. Eng. Reliab. Mach. 2004, 4, 32–38. [Google Scholar]
  6. Zakharov, S.M.; Zharov, I.A. Tribological criteria for assessing the performance of internal combustion engines crankshafts journal bearings. Frict. Wear 1996, 17, 606–615. [Google Scholar]
  7. Vorozhtsov, E.V. Difference Methods for Solving Problems of Continuum Mechanics; Publishing House of NSTU: Nizhny Novgorod, Russia, 1998; 86p. [Google Scholar]
  8. Dmitrienko, Y.I. Nonlinear Continuum Mechanics; Fizmatlit Publishing House: Moscow, Russia, 2009; 624p. [Google Scholar]
  9. Prosvetov, G.I. Continuum Mechanics; Alfa-Press Publishing House: Moscow, Russia, 2011; 112p. [Google Scholar]
  10. Zadorozhnaya, E.A.; Cherneyko, S.V.; Kurochkin, M.I. A study the axial and radial rotor stability of the turbo machinery with allowance the geometry of the surface and properties of the lubricating fluid. Tribol. Ind. 2015, 37, 455–463. [Google Scholar]
  11. Rozhdestvensky, Y.; Gavrilov, K.; Doikin, A. Forced Diesel Piston Tribological Parameters Improvement. Procedia Eng. 2017, 206, 647–650. [Google Scholar] [CrossRef]
  12. Petrusev, A.S. Difference Schemes and Their Analysis; MIPT Publishing House: Moscow, Russia, 2004; 89p. [Google Scholar]
  13. Jagadeesha, K.M.; Nagaraju, T.; Sharma, S.C.; Jain, S.C. 3D Surface Roughness Effects on Transient Non-Newtonian Response of Dynamically Loaded Journal Bearings. Tribol. Trans. 2012, 55, 32–42. [Google Scholar]
  14. Yang, Y.-K.; Jeng, M.-C. Analysis of Viscosity Interaction and Heat Transfer on the Dual Conical-Cylindrical Bearing. Tribol. Trans. 2004, 47, 77–85. [Google Scholar] [CrossRef]
  15. Ebrat, O.; Mourelatos, Z.P.; Vlahopoulos, N.; Vaidyanathan, K. Calculation of Journal Bearing Dynamic Characteristics Including Journal Misalignment and Bearing Structural Deformation. Tribol. Trans. 2004, 47, 94–102. [Google Scholar] [CrossRef]
  16. Nagaraju, T.; Sharma, S.C.; Jain, S.C. Performance of Externally Pressurized Non-Recessed Roughened Journal Bearing System Operating with Non-Newtonian Lubricant. Tribol. Trans. 2003, 46, 404–413. [Google Scholar] [CrossRef]
  17. Khushnood, S.; Malik, A.; Rashid, B.; Azim, R.A. Experimental and Finite Element Analysis of Hydrodynamic Lubrication of Rotary Diesel Fuel Injection Pump. Tribol. Lubr. Eng. 2004, 2, 1015–1024. [Google Scholar]
  18. Kim, T.-J.; Han, J.-S. Comparison of the Dynamic Behavior and Lubrication Characteristics of a Reciprocating Compressor Crankshaft in Both Finite and Short Bearing Models. Tribol. Trans. 2004, 47, 61–69. [Google Scholar] [CrossRef]
  19. Alimov, I.; Pirnazarova, T.; Kholmatova, I. On a numerical method for solving the hydrodynamic problem of underground leaching. J. Phys. Conf. Ser. 2019, 1260, 102001. [Google Scholar] [CrossRef]
  20. El-Butch, A.M.A.; El-Tayeb, N. Surface Roughness Effects on Thermo-Hydrodynamic Lubrication of Journal Bearings Lubricated with Bubbly Oil. Tribol. Lubr. Eng. 2004, 2, 999–1006. [Google Scholar] [CrossRef]
  21. Brant, A.; Cryer, C.W. Multigrid Algorithms for the Solution of Linear Complementarity. Problems Arising from Free Boundary Problems. SIAM/J. Sci. Stat. Comput. 1983, 4, 655–684. [Google Scholar] [CrossRef]
  22. Samarsky, A.A.; Nikolaev, E.S. Methods for Solving Grid Equations; Science: Moscow, Russia, 1978; pp. 73–103. [Google Scholar]
  23. Fedorenko, R.P. On the rate of convergence of one iterative process. Zh. Vychisl. Mat. Mat. Fiz. 1964, 4, 559–564. [Google Scholar]
  24. Brant, A. Multi-Level Adaptive Solution to Boundary. Value Problems. Math. Comput. 1977, 31, 333–390. [Google Scholar] [CrossRef]
  25. Prokopiev, V.N.; Boyarshinova, A.K.; Zadorozhnaya, E.A. Multinet integration algorithms of Reynolds equation in the dynamics problems of complex-loaded plain bearings. Probl. Mech. Eng. Reliab. Mach. 2005, 5, 16–21. [Google Scholar]
  26. Prokopiev, V.N.; Boyarshinova, A.K.; Zadorozhnaya, E.A. Adaptive multigrid algorithm for integrating the Reynolds equation for hydrodynamic pressures in the lubricating layer of heavily loaded journal bearings. Bull. SUSU 2001, 6, 61–67. [Google Scholar]
  27. Maksimov, D.Y.; Filatov, M.A. Study of Nonlinear Multigrid Methods for Solving Single-Phase Filtration Problems. M.V. Keldysh IPM 2011, 26. Preprints. Available online: http://library.keldysh.ru/preprint.asp?id=2011-43 (accessed on 1 September 2019).
  28. Byung-Jik, K.; Kyung-Woong, K. Termo-Elastohydrodinamic Analysis of Connecting Rod Bearing in Internal Combustion Engine. J. Tribol. 2001, 123, 444–454. [Google Scholar]
  29. Olson, E.G.; Booker, J.F. EHD Analysis with Distributed Structural Inertia. Trans. ASME 2001, 123, 463–468. [Google Scholar] [CrossRef]
  30. Genka, O. Solution of an elastic-hydrodynamic problem for dynamically loaded connecting rod bearings. In Problems of Friction and Lubrication; American Society of Mechanical Engineers: New York, NY, USA, 1985; Volume 3, pp. 70–76. [Google Scholar]
  31. Degi, D.V.; Starchenko, A.V. Numerical solution of the Navier-Stokes equations on computers with parallel architecture. Bull. Tomsk State Univ. Math. Mech. 2012, 2, 88–98. [Google Scholar]
  32. Bogoslovsky, N.N.; Esaulov, A.O.; Starchenko, A.V. Parallel implementation of the SIMPLE CFD algorithm. In Siberian School Seminar on Parallel Computing; Tomsk University Press: Tomsk, Russia, 2002; pp. 118–124. [Google Scholar]
  33. Vasiliev, V.A.; Nitsky, A.Y.; Kraposhin, M.V.; Yuskin, A.V. Investigation of the possibility of hydroaerodynamic problems parallel computing using the open source software package OpenFOAM. In Supercomputer Technologies and Open Source Software: A Scientific Articles Collection; Chelyabinsk State University Publishing House: Chelyabinsk, Russia, 2013; pp. 19–26. [Google Scholar]
  34. Shimkovich, D.G. Femap & Nastran: Engineering Analysis by the Finite Element Method; DMK Press: Moscow, Russia, 2008; 704p. [Google Scholar]
  35. Popov, L.D. Introduction to the Theory, Methods and Economic Applications of Complementarity Problems: Textbook; Publishing House of the Ural University: Yekaterinburg, Russia, 2001; 124p. [Google Scholar]
  36. Muhortov, I.V.; Usoltsev, N.A.; Zadorozhnaya, E.A.; Levanov, I.G. Improved model of rheological properties of the boundary layer of lubricant. Frict. Lubr. Mach. Mech. 2010, 5, 8–19. [Google Scholar]
  37. Mukhortov, I.V. Multilayer Adsorption Lubricants and Its Inclusion in the Theory of Fluid Friction; Bulletin SUSU series “Engineering”; SUSU Publishing Center: Chelyabinsk, Russia, 2011; Volume 18, pp. 62–67. [Google Scholar]
  38. Mukhortov, I.; Zadorozhnaya, E.; Levanov, I. Multimolecular adsorption lubricants and its integration in the theory fluid friction. In Proceedings of the STLE 68th STLE Annual Meeting & Exhibition, Detroit Marriott at the Renaissance Center, Detroit, MI, USA, 5–9 May 2013; pp. 147–149. [Google Scholar]
  39. Mukchortov, I.; Zadorozhnaya, E.; Levanov, I.; Pochkaylo, K. The influence of poly-molecular adsorption on the rheological behaviour of lubricating oil in a thin layer. FME Trans. 2015, 43, 218–222. [Google Scholar]
Figure 1. The scan of the lubricating film in the presence of lubrication sources of various shapes on the friction surface.
Figure 1. The scan of the lubricating film in the presence of lubrication sources of various shapes on the friction surface.
Mathematics 11 00054 g001
Figure 2. Node numbering by area for discretization of the Reynolds equation.
Figure 2. Node numbering by area for discretization of the Reynolds equation.
Mathematics 11 00054 g002
Figure 3. Lubricant viscosity change over layer thickness.
Figure 3. Lubricant viscosity change over layer thickness.
Mathematics 11 00054 g003
Figure 4. Node numbering when transferring grid functions from the coarse grid to the fine one.
Figure 4. Node numbering when transferring grid functions from the coarse grid to the fine one.
Mathematics 11 00054 g004
Figure 5. Scheme of the multi-grid AMA algorithm.
Figure 5. Scheme of the multi-grid AMA algorithm.
Mathematics 11 00054 g005
Figure 6. Diagram of hydrodynamic pressures in the lubricating layer with six holes.
Figure 6. Diagram of hydrodynamic pressures in the lubricating layer with six holes.
Mathematics 11 00054 g006
Figure 7. Diagram of hydrodynamic pressures in the lubricating layer with the circumferential groove.
Figure 7. Diagram of hydrodynamic pressures in the lubricating layer with the circumferential groove.
Mathematics 11 00054 g007
Figure 8. Diagram of hydrodynamic pressures in the lubricating layer with three longitudinal grooves.
Figure 8. Diagram of hydrodynamic pressures in the lubricating layer with three longitudinal grooves.
Mathematics 11 00054 g008
Table 1. Comparison of the efficiency of algorithms for solving the Reynolds equation.
Table 1. Comparison of the efficiency of algorithms for solving the Reynolds equation.
qThe Total “Price”Dimensionless Eccentricity, χ
0.10.30.50.70.90.950.975
Single Grid Algorithm
−2.0 Σ C U = I t 3 735743747747741738737
0.0 Σ C U = I t 3 727716691641528464408
2.0 Σ C U = I t 3 721699662593430345272
Three Grid DM Algorithm
−2 I t 1 38383838383837
I t 2 50494645403634
I t 3 49454233323028
Σ C U 63.8759.6255.8746.6244.3741.3738.81
0 I t 1 37363533272421
I t 2 1091421393732
I t 3 2266637062
Σ C U 6.816.511.6813.3174.4380.7571.31
2 I t 1 37363431231815
I t 2 781936433628
I t 3 2224757764
Σ C U 6.066.258.8714.9387.1887.1271.93
Table 2. Comparison of the efficiency of algorithms for solving the Reynolds equation.
Table 2. Comparison of the efficiency of algorithms for solving the Reynolds equation.
qThe Total “Price”Dimensionless Eccentricity, χ
0.10.30.50.70.90.950.975
Adaptive AMA Algorithm with Three Grids
−2 I t 1 44444442424243
I t 2 23242619191921
I t 3 17171712171714
Σ C U 25.526.7526.2519.3724.3724.3721.93
0 I t 1 39383937333227
I t 2 771217303429
I t 3 2257273228
Σ C U 6.186.1210.4313.5636.5642.536.93
2 I t 1 39383837312621
I t 2 771217343429
I t 3 2224323532
Σ C U 6.186.127.3710.5642.4345.1240.56
Table 3. Evaluation of the influence of a high-viscosity boundary layer on the hydromechanical characteristics of heavily loaded tribo-units.
Table 3. Evaluation of the influence of a high-viscosity boundary layer on the hydromechanical characteristics of heavily loaded tribo-units.
Hydromechanical CharacteristicsCalculation
Option 1
Calculation
Option 2
Relative Error
δ , %
Mean integral power loss due to friction N , W601.2722.920.2
Mean-integral value of the temperature of the lubricating layer, T, °C107.3115.47.6
Mean integral end flow through tribo-unit Q , l/s0.018180.0147918.6
Mean integral value of the minimum thickness of the lubricating layer h min , µm4.0485.00623.7
Maximum hydrodynamic pressure in the lubricating layer for the loading cycle sup p max , MPa276.9292.65.7
The smallest value of the minimum thickness of the lubricating layer for the loading cycle inf h min , µm2.2152.63819.1
Disclaimer/Publisher’s Note: The statements, opinions and data contained in all publications are solely those of the individual author(s) and contributor(s) and not of MDPI and/or the editor(s). MDPI and/or the editor(s) disclaim responsibility for any injury to people or property resulting from any ideas, methods, instructions or products referred to in the content.

Share and Cite

MDPI and ACS Style

Zadorozhnaya, E.; Levanov, I.; Mukhortov, I.; Hudyakov, V. Investigation of the Convergence of a Multi-Grid Algorithm for Solving the Task of Pressure in the Thin Lubricating Film of the Non-Newtonian Fluid. Mathematics 2023, 11, 54. https://doi.org/10.3390/math11010054

AMA Style

Zadorozhnaya E, Levanov I, Mukhortov I, Hudyakov V. Investigation of the Convergence of a Multi-Grid Algorithm for Solving the Task of Pressure in the Thin Lubricating Film of the Non-Newtonian Fluid. Mathematics. 2023; 11(1):54. https://doi.org/10.3390/math11010054

Chicago/Turabian Style

Zadorozhnaya, Elena, Igor Levanov, Igor Mukhortov, and Vlad Hudyakov. 2023. "Investigation of the Convergence of a Multi-Grid Algorithm for Solving the Task of Pressure in the Thin Lubricating Film of the Non-Newtonian Fluid" Mathematics 11, no. 1: 54. https://doi.org/10.3390/math11010054

APA Style

Zadorozhnaya, E., Levanov, I., Mukhortov, I., & Hudyakov, V. (2023). Investigation of the Convergence of a Multi-Grid Algorithm for Solving the Task of Pressure in the Thin Lubricating Film of the Non-Newtonian Fluid. Mathematics, 11(1), 54. https://doi.org/10.3390/math11010054

Note that from the first issue of 2016, this journal uses article numbers instead of page numbers. See further details here.

Article Metrics

Back to TopTop