Interval Uncertainty Quantification for the Dynamics of Multibody Systems Combing Bivariate Chebyshev Polynomials with Local Mean Decomposition
Abstract
:1. Introduction
2. Problem Statement
2.1. Deterministic Dynamics Formulation
2.2. Non-Deterministic Dynamics Formulation
3. Bivariate Chebyshev Method Combing with Local Mean
3.1. Local Mean Decomposition
3.2. Bivariate Chebyshev Polynomial Combing with Local Mean Decomposition
- (1)
- Initialize the input interval parameters. Produce the sample points of univariate functions and bivariate functions and obtain the corresponding sample responses according to the deterministic solver.
- (2)
- Using the LMD, obtain the instantaneous amplitude, instantaneous phase, and residual for each sample responses.
- (3)
- Based on the Chebyshev polynomials, construct the surrogate model for the univariate amplitude function, the bivariate amplitude function, and the residual function using Equation (30), respectively.
- (4)
- Analogously, establish the surrogate model for the instantaneous phase and residual.
- (5)
- Establish the coupling surrogate model for the mono-component response and add the mono-component’s surrogate and the residual surrogate to establish the entire surrogate model of the system response using Equation (32).
- (6)
- Use the scanning method to obtain the lower bound and the upper bound of the system. The flowchart of the BC-LMD is illustrated in Figure 1.
4. Numerical Examples
4.1. Crank-Slider Mechanism
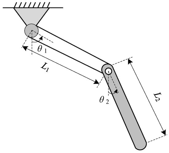
4.2. Double Pendulum
5. Conclusions
- (1)
- Response bounds obtained by the BCM will deteriorate with the increase of time history in the context of interval time-dependent dynamic response analysis, particularly aggressive when multiple interval parameters or large uncertainty levels are involved.
- (2)
- Compared with the results obtained by the BCM, the BC-LMD can provide a tightly bound enclosure in the long-time history interval dynamic analysis of multibody systems.
- (3)
- The BC-LMD can decompose a multivariate amplitude and phase function into several univariate and bivariate amplitude functions, which preferably reduces the computational burden of construction of the surrogate model.
- (4)
- Due to the end effect and mode mixing of the LMD, the results obtained by the BC-LMD presented a slight deviation compared the reference result, which should be further investigated.
Author Contributions
Funding
Conflicts of Interest
References
- Rong, B.; Rui, X.; Tao, L.; Wang, G. Theoretical Modeling and Numerical Solution Methods for Flexible Multibody System Dynamics. Nonlinear Dyn. 2019, 98, 1519–1553. [Google Scholar] [CrossRef]
- Faes, M.; Moens, D. Recent Trends in the Modeling and Quantification of Non-Probabilistic Uncertainty. Arch. Comput. Methods Eng. 2020, 27, 633–671. [Google Scholar] [CrossRef]
- Hasofer, A.M. Convex Models of Uncertainty in Applied Mechanics. Struct. Saf. 1992, 11, 147–148. [Google Scholar] [CrossRef]
- Wang, Z.; Tian, Q.; Hu, H. Dynamics of Spatial Rigid–Flexible Multibody Systems with Uncertain Interval Parameters. Nonlinear Dyn. 2016, 84, 527–548. [Google Scholar] [CrossRef]
- Cui, J.; Zhao, Z.-H.; Liu, J.-W.; Hu, P.-X.; Zhou, R.-N.; Ren, G.-X. Uncertainty Analysis of Mechanical Dynamics by Combining Response Surface Method with Signal Decomposition Technique. Mech. Syst. Signal Process. 2021, 158, 107570. [Google Scholar] [CrossRef]
- Moens, D.; Vandepitte, D. Recent Advances in Non-Probabilistic Approaches for Non-Deterministic Dynamic Finite Element Analysis. Arch. Comput. Methods Eng. 2006, 13, 389–464. [Google Scholar] [CrossRef]
- Liu, Y.; Wang, X.; Li, Y. An Improved Bayesian Collocation Method for Steady-State Response Analysis of Structural Dynamic Systems with Large Interval Uncertainties. Appl. Math. Comput. 2021, 411, 126523. [Google Scholar] [CrossRef]
- Sandu, A.; Sandu, C.; Ahmadian, M. Modeling Multibody Systems with Uncertainties. Part I: Theoretical and Computational Aspects. Multibody Syst. Dyn. 2006, 15, 369–391. [Google Scholar] [CrossRef]
- Wan, H.-P.; Ren, W.-X.; Todd, M.D. Arbitrary Polynomial Chaos Expansion Method for Uncertainty Quantification and Global Sensitivity Analysis in Structural Dynamics. Mech. Syst. Signal Process. 2020, 142, 106732. [Google Scholar] [CrossRef]
- Sandu, C.; Sandu, A.; Chan, B.J.; Ahmadian, M. Treating Uncertainties in Multibody Dynamic Systems Using a Polynomial Chaos Spectral Decomposition. In Proceedings of the Design Engineering, Anaheim, CA, USA, 1 January 2004; ASMEDC: Anaheim, CA, USA, 2004; pp. 821–829. [Google Scholar]
- Ryan, P.S.; Baxter, S.C.; Voglewede, P.A. Automating the Derivation of the Equations of Motion of a Multibody Dynamic System with Uncertainty Using Polynomial Chaos Theory and Variational Work. J. Comput. Nonlinear Dyn. 2020, 15, 011004. [Google Scholar] [CrossRef]
- Voglewede, P.; Smith, A.H.C.; Monti, A. Dynamic Performance of a SCARA Robot Manipulator with Uncertainty Using Polynomial Chaos Theory. IEEE Trans. Robot. 2009, 25, 206–210. [Google Scholar] [CrossRef]
- Kewlani, G.; Crawford, J.; Iagnemma, K. A Polynomial Chaos Approach to the Analysis of Vehicle Dynamics under Uncertainty. Veh. Syst. Dyn. 2012, 50, 749–774. [Google Scholar] [CrossRef]
- Wu, J.; Luo, Z.; Zhang, N.; Zhang, Y. Dynamic Computation of Flexible Multibody System with Uncertain Material Properties. Nonlinear Dyn. 2016, 85, 1231–1254. [Google Scholar] [CrossRef] [Green Version]
- Hanss, M.; Turrin, S. A Fuzzy-Based Approach to Comprehensive Modeling and Analysis of Systems with Epistemic Uncertainties. Struct. Saf. 2010, 32, 433–441. [Google Scholar] [CrossRef]
- Xie, L.; Liu, J.; Zhang, J.; Man, X. Evidence-Theory-Based Analysis for Structural-Acoustic Field with Epistemic Uncertainties. Int. J. Comput. Methods 2017, 14, 1750012. [Google Scholar] [CrossRef]
- Muhanna, R.; Mallela, V.R.R.; Mullen, R. Advances in Interval Finite Element Modelling of Structures. Life Cycle Reliab. Saf. Eng. 2013, 2, 15–22. [Google Scholar]
- Daouk, S.; Louf, F.; Dorival, O.; Champaney, L.; Audebert, S. Uncertainties in Structural Dynamics: Overview and Comparative Analysis of Methods. Mech. Ind. 2015, 16, 404. [Google Scholar] [CrossRef]
- Qiu, Z.; Zheng, Y.; Wang, L. Review: Recent Developments in the Non-Probabilistic Finite Element Analysis. J. Harbin Inst. Technol. (New Ser.) 2017, 24, 1–8. [Google Scholar]
- Wang, L.; Xia, H.; Zhang, X.; Lv, Z. Non-Probabilistic Reliability-Based Topology Optimization of Continuum Structures Considering Local Stiffness and Strength Failure. Comput. Meth. Appl. Mech. Eng. 2019, 346, 788–809. [Google Scholar] [CrossRef]
- Wang, L.; Wang, X. Dynamic Loads Identification in Presence of Unknown but Bounded Measurement Errors. Inverse Probl. Sci. Eng. 2015, 23, 1313–1341. [Google Scholar] [CrossRef]
- Alefeld, G.; Mayer, G. Interval Analysis: Theory and Applications. J. Comput. Appl. Math. 2000, 121, 421–464. [Google Scholar] [CrossRef] [Green Version]
- Bünger, F. Shrink Wrapping for Taylor Models Revisited. Numer. Algorithms 2018, 78, 1001–1017. [Google Scholar] [CrossRef]
- Qiu, Z.; Wang, X. Parameter Perturbation Method for Dynamic Responses of Structures with Uncertain-but-Bounded Parameters Based on Interval Analysis. Int. J. Solids Struct. 2005, 42, 4958–4970. [Google Scholar] [CrossRef]
- Yin, S.; Yu, D.; Yin, H.; Xia, B. A Unified Method for the Response Analysis of Interval/Random Variable Models of Acoustic Fields with Uncertain-but-Bounded Parameters. Int. J. Numer. Meth. Eng. 2017, 111, 503–528. [Google Scholar] [CrossRef]
- Xia, B.; Yu, D. Modified Sub-Interval Perturbation Finite Element Method for 2D Acoustic Field Prediction with Large Uncertain-but-Bounded Parameters. J. Sound Vib. 2012, 331, 3774–3790. [Google Scholar] [CrossRef]
- Qiu, Z.; Xia, Y.; Yang, J. The Static Displacement and the Stress Analysis of Structures with Bounded Uncertainties Using the Vertex Solution Theorem. Comput. Meth. Appl. Mech. Eng. 2007, 196, 4965–4984. [Google Scholar] [CrossRef]
- Wu, J.; Luo, Z.; Zhang, Y.; Zhang, N.; Chen, L. Interval Uncertain Method for Multibody Mechanical Systems Using Chebyshev Inclusion Functions. Int. J. Numer. Methods Eng. 2013, 95, 608–630. [Google Scholar] [CrossRef]
- Wu, J.; Zhang, Y.; Chen, L.; Luo, Z. A Chebyshev Interval Method for Nonlinear Dynamic Systems under Uncertainty. Appl. Math. Model. 2013, 37, 4578–4591. [Google Scholar] [CrossRef]
- Fu, C.; Feng, G.; Ma, J.; Lu, K.; Yang, Y.; Gu, F. Predicting the Dynamic Response of Dual-Rotor System Subject to Interval Parametric Uncertainties Based on the Non-Intrusive Metamodel. Mathematics 2020, 8, 736. [Google Scholar] [CrossRef]
- Liu, Y.; Wang, X.; Wang, L. A Dynamic Evolution Scheme for Structures with Interval Uncertainties by Using Bidirectional Sequential Kriging Method. Comput. Meth. Appl. Mech. Eng. 2019, 348, 712–729. [Google Scholar] [CrossRef]
- Hu, Q.; Liu, Z.; Yang, C.; Xie, F. Research on Dynamic Transmission Error of Harmonic Drive with Uncertain Parameters by an Interval Method. Precis. Eng. 2021, 68, 285–300. [Google Scholar] [CrossRef]
- Wu, J.; Luo, Z.; Zhang, N.; Zhang, Y.; Walker, P.D. Uncertain Dynamic Analysis for Rigid-Flexible Mechanisms with Random Geometry and Material Properties. Mech. Syst. Signal Process. 2017, 85, 487–511. [Google Scholar] [CrossRef] [Green Version]
- Wang, Z.; Tian, Q.; Hu, H.; Flores, P. Nonlinear Dynamics and Chaotic Control of a Flexible Multibody System with Uncertain Joint Clearance. Nonlinear Dyn. 2016, 86, 1571–1597. [Google Scholar] [CrossRef]
- Xiang, W.; Yan, S. Dynamic Analysis of Space Robot Manipulator Considering Clearance Joint and Parameter Uncertainty: Modeling, Analysis and Quantification. Acta Astronaut. 2020, 169, 158–169. [Google Scholar] [CrossRef]
- Feng, X.; Zhang, Y.; Wu, J. Interval Analysis Method Based on Legendre Polynomial Approximation for Uncertain Multibody Systems. Adv. Eng. Softw. 2018, 121, 223–234. [Google Scholar] [CrossRef]
- Wang, L.; Yang, G. An Interval Uncertainty Propagation Method Using Polynomial Chaos Expansion and Its Application in Complicated Multibody Dynamic Systems. Nonlinear Dyn. 2021, 105, 837–858. [Google Scholar] [CrossRef]
- Sun, D.; Zhang, B.; Liang, X.; Shi, Y.; Suo, B. Dynamic Analysis of a Simplified Flexible Manipulator with Interval Joint Clearances and Random Material Properties. Nonlinear Dyn. 2019, 98, 1049–1063. [Google Scholar] [CrossRef]
- Wei, T.; Li, F.; Meng, G. A Bivariate Chebyshev Polynomials Method for Nonlinear Dynamic Systems with Interval Uncertainties. Nonlinear Dyn. 2022, 107, 793–811. [Google Scholar] [CrossRef]
- Faes, M.; Cerneels, J.; Vandepitte, D.; Moens, D. Identification and Quantification of Multivariate Interval Uncertainty in Finite Element Models. Comput. Meth. Appl. Mech. Eng. 2017, 315, 896–920. [Google Scholar] [CrossRef]
- Smith, J.S. The Local Mean Decomposition and Its Application to EEG Perception Data. J. R. Soc. Interface 2005, 2, 443–454. [Google Scholar] [CrossRef]
- Liu, Z.; Jin, Y.; Zuo, M.J.; Feng, Z. Time-Frequency Representation Based on Robust Local Mean Decomposition for Multicomponent AM-FM Signal Analysis. Mech. Syst. Signal Process. 2017, 95, 468–487. [Google Scholar] [CrossRef]
- Xu, H.; Rahman, S. Decomposition Methods for Structural Reliability Analysis. Probabilistic Eng. Mech. 2005, 20, 239–250. [Google Scholar] [CrossRef]













| Parameter | Value (Unit) | Parameter | Value (Unit) |
|---|---|---|---|
| Length of crank (L1) | 0.15 (m) | Mass of crank | 0.37 (kg) |
| Length of connector (L2) | 0.56 (m) | Mass of connector | 0.77 (kg) |
| τ | −0.5 (N·m) | Mass of slider | 0.45 (kg) |
| c | 1 (N/(m/s)) | k | 5 (N/m) |
| Parameters | Value (Unit) |
|---|---|
| Length of top rod (L1) | 0.2 (m) |
| Length of bottom rod (L2) | 0.3 (m) |
| Mass of top rod (m1) | 1 (kg) |
| Mass of bottom rod (m2) | 1 (kg) |
| Gravitational acceleration (g) | 9.81 (m/s2) |
Publisher’s Note: MDPI stays neutral with regard to jurisdictional claims in published maps and institutional affiliations. |
© 2022 by the authors. Licensee MDPI, Basel, Switzerland. This article is an open access article distributed under the terms and conditions of the Creative Commons Attribution (CC BY) license (https://creativecommons.org/licenses/by/4.0/).
Share and Cite
Jiang, X.; Bai, Z. Interval Uncertainty Quantification for the Dynamics of Multibody Systems Combing Bivariate Chebyshev Polynomials with Local Mean Decomposition. Mathematics 2022, 10, 1999. https://doi.org/10.3390/math10121999
Jiang X, Bai Z. Interval Uncertainty Quantification for the Dynamics of Multibody Systems Combing Bivariate Chebyshev Polynomials with Local Mean Decomposition. Mathematics. 2022; 10(12):1999. https://doi.org/10.3390/math10121999
Chicago/Turabian StyleJiang, Xin, and Zhengfeng Bai. 2022. "Interval Uncertainty Quantification for the Dynamics of Multibody Systems Combing Bivariate Chebyshev Polynomials with Local Mean Decomposition" Mathematics 10, no. 12: 1999. https://doi.org/10.3390/math10121999
APA StyleJiang, X., & Bai, Z. (2022). Interval Uncertainty Quantification for the Dynamics of Multibody Systems Combing Bivariate Chebyshev Polynomials with Local Mean Decomposition. Mathematics, 10(12), 1999. https://doi.org/10.3390/math10121999
