Next Article in Journal
A Unified Scheduling Model for Agile Earth Observation Satellites Based on DQG and PPO
Next Article in Special Issue
Perspectives and Trends in Flight Dynamics and Simulation
Previous Article in Journal
A Mamba-Based Hierarchical Partitioning Framework for Upper-Level Wind Field Reconstruction
Previous Article in Special Issue
Composite Actuation and Adaptive Control for Hypersonic Reentry Vehicles: Mitigating Aerodynamic Ablation via Moving Mass-Aileron Integration
 
 
Font Type:
Arial Georgia Verdana
Font Size:
Aa Aa Aa
Line Spacing:
Column Width:
Background:
Article

Addressing Calibration Challenges for Large-Stroke Blade Pitch Control in Tiltrotor Aircraft via an Improved Cubic Polynomial Fitting Algorithm

1
State Key Laboratory of Electromagnetic Energy, Naval University of Engineering, Wuhan 430033, China
2
Department of Basic Courses, Naval University of Engineering, Wuhan 430033, China
3
China Helicopter Research and Development Institute, Jingdezhen 333000, China
*
Author to whom correspondence should be addressed.
Aerospace 2025, 12(9), 843; https://doi.org/10.3390/aerospace12090843
Submission received: 26 August 2025 / Revised: 15 September 2025 / Accepted: 17 September 2025 / Published: 18 September 2025
(This article belongs to the Special Issue Flight Dynamics, Control & Simulation (2nd Edition))

Abstract

Tiltrotor aircraft, due to their vertical takeoff and landing capability and efficient high-speed cruise performance, are increasingly valuable in both modern military and civilian applications. However, traditional calibration methods for blade pitch control often lack the precision required for large actuator strokes, which limits the control accuracy. This study aims to overcome these limitations by introducing an improved polynomial fitting algorithm to model the nonlinear relationship between the blade pitch control angles and actuator strokes. Using a specific rotor model, a coordinate system was established for the pitch control mechanism and spatial geometric relationships were derived. Experimental comparisons demonstrate that the proposed cubic polynomial fitting algorithm reduces the collective pitch error by approximately 57% and cyclic pitch error by 33%, markedly outperforming traditional linear fitting methods. These improvements significantly enhance the control precision and operational stability. The findings provide a reliable theoretical and practical basis for improving tiltrotor flight performance and safety.

1. Introduction

Tiltrotor aircraft, with their unique capabilities for vertical takeoff and landing (VTOL) and high-speed cruising, are increasingly valuable in both modern military and civilian applications [1,2]. During a routine flight, the rotational speed of the rotor blades of a tiltrotor aircraft is maintained constant, and the aircraft’s maneuverability is achieved through blade pitch control [3]. Although pitch control errors generally do not directly cause the aircraft to become unstable, they can significantly affect critical flight phases, such as takeoff, transition, and landing. Due to aerodynamic interference, the pitch control in high-axial-flow conditions is sensitive to power fluctuations [4]. An inaccurate pitch can prevent the aircraft from generating sufficient lift, affecting the precision of flight trajectories and potentially leading to safety incidents under extreme conditions. Therefore, precise pitch control is crucial for tiltrotor aircraft, as accurate pitch control can improve the flight efficiency and enhance the flight stability [5].
The pitch control system of a tiltrotor aircraft is characterized by three control parameters: collective pitch, longitudinal cyclic pitch, and lateral cyclic pitch [6,7]. Since directly measuring these parameters on the rotor is complex, the system uses an open-loop control strategy that estimates changes in control angles from the actuator stroke [8,9]. However, the relationship between the actuator stroke and rotor control angles is complex and not readily apparent, highlighting the need for a transformation equation that accurately relates these variables [10]. A potential solution involves deriving a transformation formula through spatial geometric calculations based on the dimensions of the model. However, due to inevitable gaps and errors that occur during the manufacturing, assembly, and operation of the model, the precision of theoretical calculations is often unsatisfactory. Consequently, a measurement-based approach is typically employed to obtain the transformation formula between actuator stroke and rotor control angles.
An extensive analysis of measurement techniques from the existing literature was conducted. As shown in Table 1, which evaluates five typical methods across four key dimensions, a systematic comparison was performed between photogrammetry [11], coordinate measurement arms [12], inertial measurement units (IMUs) [13,14], and direct measurement [15]. This comparison led to the selection of the direct measurement method due to its optimal balance of versatility, efficiency, and low cost. The specific procedure involves prescribing actuator strokes and then recording the corresponding inclinometer sensor readings after rotor model installation, thereby obtaining a data set correlating three pitch angles with actuator strokes, which is subsequently used for data fitting to derive the transformation relationship.
Regarding the fitting model selection, prior research by Li Xinmin et al. for conventional helicopters concluded a linear relationship between the automatic tilting angle variation and the rotor control angles [16], leading to the common adoption of a simplified linear polynomial fitting method [17]. However, this linear approach may introduce significant deviations when applied to tiltrotor aircraft, failing to meet high-performance control requirements. The key reason is that although tiltrotor aircraft share pitch control similarities with conventional helicopters, their operational range of the collective pitch is substantially increased, reaching up to 45 ° during transition and fixed-wing modes compared with the typical 15 ° in conventional helicopters. Linear approximation only holds when the motion range is small, and the geometric nonlinearity of the pitch control mechanism will become prominent with a 45 ° large stroke, making linear fitting unable to match the actual mapping relationship. This large-stroke operation necessitates further exploration of the transformation relationship, as the linear model becomes insufficient.
Beyond the increased stroke, tiltrotor aircraft present unique calibration challenges that are absent in conventional helicopters. The transition phase between helicopter and airplane modes introduces complex, time-varying dynamics where the rotor disc is partially tilted [18]. This tilt significantly alters the kinematic chain and the aerodynamic loads on the pitch control linkages, further exacerbating nonlinear effects [19]. Furthermore, the need for simultaneous and precise control of collective, longitudinal cyclic, and lateral cyclic pitches to manage coupled flight dynamics (e.g., wing–rotor interactions) places exceptionally high demands on the calibration accuracy [20,21].
To address the aforementioned challenges, this study begins with an in-depth analysis of the model structure using spatial analytic geometry. Taking a specific rotor model as a case study, we elucidate the complex nonlinear relationship between the three pitch control angles and the actuator strokes in a tiltrotor aircraft. Considering the unique characteristics of the total tilt range, a novel multivariate cubic matrix regression algorithm is proposed. Additionally, a new validation and calibration method, along with its corresponding procedure, has been developed. The effectiveness of the proposed method has been rigorously verified through experimental studies. By comparing conventional helicopter fitting methods with the tiltrotor-specific approach presented here, our results demonstrate the clear superiority of the latter. This work effectively addresses key implementation challenges in tiltrotor control systems and provides a solid theoretical and practical foundation for achieving precise control of a tiltrotor aircraft.

2. Derivation of Transmission Relationships

2.1. Establishment of Coordinate System

Figure 1 illustrates the coordinate system XOY , defined as the plane containing the common circle on which the bases of the three actuators are fixed. The center of this circle is denoted as O, with a radius of R 0 . The actuators are uniformly distributed around the circle, with each pair separated by an angle of 120 ° . The upper hooks of the actuators, labeled A 1 , A 2 , and A 3 , connect to the stationary ring of the swash plate, which is part of the automatic tilting mechanism. These connection points also lie on a common circle with center O 1 and radius R 1 . The diagram further indicates the rotor shaft, the moving and stationary rings, and the y-axis of the coordinate system.

2.2. Derivation of Spatial Geometrical Relationships

2.2.1. Solution for the Position of the Lower Stationary Ring

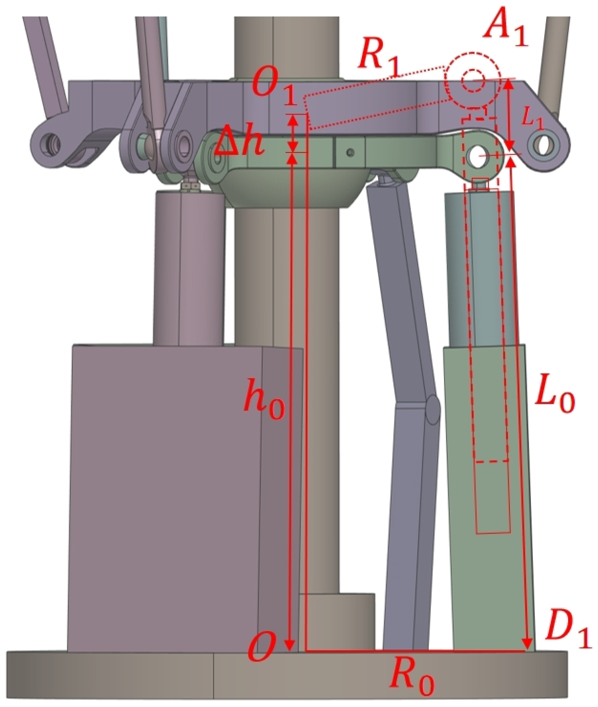
Assuming the collective pitch is 0 ° , the initial length of each of the three actuators, defined as the sum of the outer cylinder length and the initial extension, is L 0 . At this juncture, the height of the center of the stationary ring is designated as h 0 . When the stroke values of the actuators vary, the swash plate moves vertically in response [22]. It is posited that when the extensions of the three actuators from the base L 0 are L 1 , L 2 , and L 3 , the center of the stationary ring rises by Δ h . By employing the spatial positional relationships between and constraints of these mechanisms, the value of Δ h can be accurately determined.
It is assumed that the base of actuator No. 1 is positioned along the x-axis, with the fixed point designated as D 1 (where D 1 lies on circle O ) . A sectional analysis of actuator No. 1 is performed as follows.
As illustrated in Figure 2, let A 1 ( a 1 x , a 1 y , a 1 z ) be defined such that the length of A 1 O 1 equals R 1 . Consequently, the following relationship is satisfied:
a 1 x 2 + [ a 1 z ( h 0 + Δ h ) ] 2 = R 1 2
Next, considering the right-angled triangle with A 1 D 1 as the hypotenuse, the Pythagorean theorem gives
( R 0 a 1 x ) 2 + a 1 z 2 = ( L 0 + L 1 ) 2
Following this pattern, corresponding equations for A 2 ( a 2 x , a 2 y , a 2 z ) and A 3 ( a 3 x , a 3 y , a 3 z ) can be derived in a similar manner. Moreover, since O 1 is the incenter of triangle Δ A 1 A 2 A 3 , the average of the z-coordinates of A 1 , A 2 , and A 3 must equal h 0 + Δ h , leading to
a 1 z + a 2 z + a 3 z 3 = h 0 + Δ h
Collectively, these relationships form the following system of equations, which integrates the geometric constraints from the triangle’s structure and the incenter property:
a i x 2 + [ a i z ( h 0 + Δ h ) ] 2 = R 1 2 ( i = 1 , 2 , 3 ) ( R 0 a i x ) 2 + a i z 2 = ( L 0 + L i ) 2 ( i = 1 , 2 , 3 ) a 1 z + a 2 z + a 3 z 3 = h 0 + Δ h
By substituting the values of L 1 , L 2 , and L 3 into the aforementioned equations, the value of Δ h can be solved, as it encapsulates all the geometric relationships established thus far.

2.2.2. Determination of Upper Pitch Link Coordinates

The azimuth angle refers to the angle measured in the horizontal plane from a reference direction (typically the positive x-axis) to the projection of the point on the plane, as shown in Figure 3.
Let B 1 ( b 1 x , b 1 y , b 1 z ) , B 2 ( b 2 x , b 2 y , b 2 z ) , and B 3 ( b 3 x , b 3 y , b 3 z ) denote the connection points between the variable pitch links and the moving ring when the collective pitch is 0 ° . Additionally, let C 1 ( c 1 x , c 1 y , c 1 z ) , C 2 ( c 2 x , c 2 y , c 2 z ) , and C 3 ( c 3 x , c 3 y , c 3 z ) represent the connection points between the variable pitch links and the rocker arms at the same condition. Assume that the azimuth angle of B 1 is 0 ° . Consequently, the azimuth angles of B 2 and B 3 are 120 ° and 240 ° , respectively.
The height difference between the centers of the moving and stationary rings is denoted as h 1 . By combining the height difference Δ h , calculated in the previous section, with the installation azimuth angles of the three actuators, i.e., α 1 , α 1 + 120 ° , and α 1 + 240 ° , the spatial coordinates of B 1 , B 2 , and B 3 can be determined.
The structure above the rotating ring is depicted in Figure 4 and Figure 5. The intersection of the variable pitch axis with the rotor hub axis (z-axis) is denoted as O 3 .
Let L g represent the length of the control rod. Therefore, the following equation can be expressed:
( c i x b i x ) 2 + ( c i y b i y ) 2 + ( c i z b i z ) 2 = L g 2
Let E 1 ( e 1 x , e 1 y , e 1 z ) be the perpendicular foot from point C 1 to the pitch axis of blade No. 1. Let the perpendicular distance from the top of the pitch link to the variable pitch axis of the blade be R 3 ; then, the following equation is satisfied:
( c 1 x e 1 x ) 2 + ( c 1 y e 1 y ) 2 + ( c 1 z e 1 z ) 2 = R 3 2
Let R 4 represent the distance from the top of the pitch link to point O 3 . During the rotation of the pitch link, which drives the rocker arm around the blade pitch axis, this distance remains constant. Assuming that the coordinates of O 3 are ( 0 , 0 , h 2 ) , the following equation holds:
c 1 x 2 + c 1 y 2 + ( c 1 z h 2 ) 2 = R 4 2
Simultaneously solving Equations (5)–(7) allows for the determination of the coordinates of point C 1 . Similarly, the coordinates of points C 2 and C 3 can also be calculated.

2.2.3. Calculation of Blade Pitch Angles

The method described herein employs vector operations to determine the pitch angle of each rotor blade. Let θ 1 denote the angle between the vectors G 1 C 1 ¯ and G 1 C 1 ¯ . The cosine of the angle Δ θ 1 is expressed as follows:
cos ( Δ θ 1 ) = G 1 C 1 ¯ · G 1 C 1 ¯ | G 1 C 1 ¯ | · | G 1 C 1 ¯ |
By substituting the coordinates of point C 1 , the angle θ 1 can be calculated. Similarly, substituting the coordinates of points C 2 and C 3 allows for the determination of the angles θ 2 and θ 3 , respectively.

2.2.4. Principles of Pitch Control Angle Calculation

For a rotor with right-handed rotation, the pitch angle θ of the rotor blade at the azimuth angle ψ satisfies the following equation:
θ = θ 7 + θ s cos ( ψ + α ) + θ c sin ( ψ + α )
θ 7 denotes the collective pitch angle, θ s signifies the longitudinal cyclic pitch angle, θ c represents the lateral cyclic pitch angle, and α indicates the aerodynamic lead angle. By substituting the pitch angle values θ 1 , θ 2 , and θ 3 obtained in the previous section into Equation (9), the three control angles θ 7 , θ s , and θ c can be calculated.

2.3. Practical Calculation Example

Based on the formulas derived above, the relationship between the actuator stroke and pitch control angles can be established. For example, in a specific model of a single-rotor helicopter, the actual parameters of various components are presented in Table 2.
When all three actuators extend by the same stroke value, both the lateral and longitudinal cyclic pitch angles are 0 ° . At this point, only the collective pitch angle changes. Consequently, the relationship between the actuator stroke values and collective pitch angle can be calculated.
Figure 6 illustrates that when the range of collective pitch changes exceeds 40 ° , a distinct nonlinear relationship emerges between the actuator stroke and the collective pitch angle.
When the actuators extend by different stroke values, all the pitch control angles change accordingly. To demonstrate the relationship between actuator stroke values and lateral and longitudinal pitch angles, the strokes of actuators L 2 and L 3 are fixed at 40 mm while actuator L 1 is varied.
Figure 7 shows the nonlinear relationship between the actuator stroke and cyclic pitch angles in both the lateral and longitudinal directions.

2.4. Error Analysis

As discussed earlier, the relationship between the actuator stroke and pitch control angles can be determined using geometric solution methods. However, this approach is rarely used in actual calibration due to the following limitations:
1.
Inevitable gaps and errors during manufacturing, assembly, and operation of the model render the precision of theoretical calculations unsatisfactory;
2.
The need to solve equations multiple times results in slow computation, which fails to meet the real-time requirements for flight control.
Therefore, flight control systems typically employ an alternative method, i.e., curve fitting, to describe the relationship between the actuator stroke and pitch control angles.

3. Polynomial Fitting-Based Pitch Calibration Algorithm

The calibration process is illustrated in Figure 8.
The specific process of pitch calibration using the fitting method is as follows: On-site measurements are conducted to obtain the relationships between the pitch angles of the rotor blades at various azimuth angles and the actuator strokes. These pitch angles are then converted into pitch control angles. The resulting data are substituted into a fitting expression to form an overdetermined system of equations. This system is subsequently solved using the least squares method to derive the conversion formula.

3.1. Parameters to Be Measured Before Calibration

1.
Initial installation angle θ 0
The initial installation angle of a rotor blade is defined as the angle between the blade and the rotational plane at the time of installation. It is typically determined as the angular difference between a point at 0.7 R (where R is the rotor radius) and the measurement point at the blade root. This angle is a fixed value.
2.
Aerodynamic lead angle α
To mitigate the coupling effects of the lateral cyclic pitch, blade pitch control must be advanced. This control angle is referred to as the aerodynamic lead angle [23]. It is based on the fundamental natural frequency of blade flapping and is typically determined through aerodynamic experiments [24,25].
3.
Bias angle of rotor shaft
As shown in Figure 9, β is the angle between the rotor shaft and the X O Z plane, while γ is the angle between the rotor shaft and the YOZ plane.

3.2. Measurement and Processing of Pitch Angle Data

Control angles cannot be directly measured and must be converted from pitch angles. During the calibration process, the stroke values of three actuators are initially specified. Following this, when the actuators adjust their strokes accordingly, an angular measurement device is employed to record the horizontal pitch angles at the root of the rotor blades across multiple azimuth angles. To minimize the measurement errors, data are typically collected at four representative azimuth angles: 0 ° , 90 ° , 180 ° , and 270 ° . This results in the corresponding angles θ 0 , θ 90 , θ 180 , and θ 270 .
The pitch angles at the four specified azimuth angles are calculated using the initial installation angle θ 0 , the lateral misalignment angle of the rotor shaft β , and the longitudinal misalignment angle γ according to the following formulas:
θ f 0 = θ 0 θ 0 + β cos ( 0 ° ) γ sin ( 0 ° ) θ f 90 = θ 90 θ 0 + β cos ( 90 ° ) γ sin ( 90 ° ) θ f 180 = θ 180 θ 0 + β cos ( 180 ° ) γ sin ( 180 ° ) θ f 270 = θ 270 θ 0 + β cos ( 270 ° ) γ sin ( 270 ° )

3.3. Calculation of Pitch Control Angles

Substitute the pitch angle data into Equation (9):
θ f 0 = θ 7 + θ s cos ( α ) + θ c sin ( α ) θ f 90 = θ 7 + θ s cos ( 90 ° + α ) + θ c sin ( 90 ° + α ) θ f 180 = θ 7 + θ s cos ( 180 ° + α ) + θ c sin ( 180 ° + α ) θ f 270 = θ 7 + θ s cos ( 270 ° + α ) + θ c sin ( 270 ° + α )
These equations can be represented in matrix form as follows:
θ f 0 θ f 90 θ f 180 θ f 270 = T θ s θ c θ 7
where
T = cos ( α ) sin ( α ) 1 cos ( 90 ° + α ) sin ( 90 ° + α ) 1 cos ( 180 ° + α ) sin ( 180 ° + α ) 1 cos ( 270 ° + α ) sin ( 270 ° + α ) 1
Given that θ f 0 , θ f 90 , θ f 180 , and θ f 270 are known quantities, the unknown variables θ s , θ c , and θ 7 in the equation can be calculated using the following formula:
θ s θ c θ 7 = T * θ f 0 θ f 90 θ f 180 θ f 270
In the above expression, T * refers to the Moore–Penrose pseudoinverse matrix of T.
According to this methodology, specifying a set of stroke values for the three actuators allows for the determination of the corresponding pitch control angles θ 7 , θ s , and θ c .

3.4. Modeling the Relationship Between Actuator Stroke and Control Angles

When the range of the collective pitch is limited to less than 15 ° , the linearity improves significantly. Consequently, the linear fitting method is commonly employed during the pitch calibration process for conventional helicopters, owing to its simplicity and effectiveness.
However, based on the derivations and calculations presented in this paper, it is evident that when the collective pitch variation exceeds 45 ° , a distinct nonlinear relationship exists between the actuator stroke and the three control angles. If a linear fitting approach is still employed, although the errors in the lateral cyclic pitch and longitudinal cyclic pitch, which are two of the control angles, are relatively small, the error in the collective pitch is significantly larger. Consequently, for tiltrotor aircraft, it is advisable to use a polynomial to describe the corresponding relationship between the pitch angles and the actuator strokes.
Selecting an appropriate polynomial order is critical in the polynomial fitting of the relationship between the actuator stroke and pitch control angles. To identify the suitable polynomial order for the relationship, polynomial fittings of orders 1, 2, and 3 were conducted.
As shown in Figure 10 and Table 3, the cubic polynomial fit achieves a mean squared error (MSE) of approximately 0.00017791 and a Coefficient of Determination ( R 2 ) of 1.00000, indicating exceptional precision. Importantly, the cubic polynomial is the lowest-order fit that satisfies the MSE requirement of less than 0.5, and its residual error is far smaller than the resolution of the sensors used in this study; this objective hardware limitation means any further reduction in the MSE from higher-order polynomials is undetectable and offers no practical benefit. Moreover, higher-order polynomials are prone to overfitting, which impairs the model’s generalization ability and may lead to unpredictable behavior in real-time control applications. Increasing the polynomial order beyond three would therefore lead to unnecessary computational complexity without a significant improvement in the accuracy or practical performance. Thus, the cubic polynomial provides the optimal balance between accuracy and computational efficiency for this application.
The relationship between the actuator stroke and control angles can be described in matrix form as follows:
L = A θ 3 + B θ 2 + C θ + D
where
L = L 1 L 2 L 3 , θ = θ S θ C θ 7 , A = a 11 a 12 a 13 a 21 a 22 a 23 a 31 a 32 a 33 , B = b 11 b 12 b 13 b 21 b 22 b 23 b 31 b 32 b 33 , C = c 11 c 12 c 13 c 21 c 22 c 23 c 31 c 32 c 33 , D = d 1 d 2 d 3
The coefficient matrices A, B, C, and D in Equation (14) encapsulate the physical characteristics of the pitch control linkage system:
  • The cubic coefficient matrix A primarily characterizes the strong geometric nonlinearity arising from extreme ranges of motion of the pitch links and swash plate tilt.
  • The quadratic coefficient matrix B captures moderate nonlinear effects.
  • The linear coefficient matrix C represents the first-order kinematic relationship between the actuator displacement and pitch angle change, which dominates under small-stroke conditions and is consistent with the linear model used for conventional helicopters.
  • The constant vector D denotes the initial offset of each actuator, corresponding to the actuator strokes required to achieve the zero position of all pitch control angles.
Expanding Equation (14) results in the following three equations:
a 11 θ s 3 + a 12 θ c 3 + a 13 θ 7 3 + b 11 θ s 2 + b 12 θ c 2 + b 13 θ 7 2 + c 11 θ s + c 12 θ c + c 13 θ 7 + d 1 = L 1 a 21 θ s 3 + a 22 θ c 3 + a 23 θ 7 3 + b 21 θ s 2 + b 22 θ c 2 + b 23 θ 7 2 + c 21 θ s + c 22 θ c + c 23 θ 7 + d 2 = L 2 a 31 θ s 3 + a 32 θ c 3 + a 33 θ 7 3 + b 31 θ s 2 + b 32 θ c 2 + b 33 θ 7 2 + c 31 θ s + c 32 θ c + c 33 θ 7 + d 3 = L 3
Each set of stroke and pitch control angle data produces three equations. To solve for the 30 unknowns in matrices A, B, C, and D outlined in Equation (14), a minimum of 10 sets of measurement data are required.
Suppose n sets of measurement data are collected. Each data set includes a triplet of control angles ( θ s i , θ c i , θ 7 i ) and the corresponding measured strokes ( L 1 i , L 2 i , L 3 i ) for the three actuators, where i = 1 , 2 , , n indexes the data set. Given n > 10 sets of such data, a total of 3 n equations can be formulated and divided into three groups:
a 11 θ s 1 3 + a 12 θ c 1 3 + a 13 θ 7 1 3 + b 11 θ s 1 2 + b 12 θ c 1 2 + b 13 θ 7 1 2 + c 11 θ s 1 + c 12 θ c 1 + c 13 θ 7 1 + d 1 = L 11 a 11 θ s n 3 + a 12 θ c n 3 + a 13 θ 7 n 3 + b 11 θ s n 2 + b 12 θ c n 2 + b 13 θ 7 n 2 + c 11 θ s n + c 12 θ c n + c 13 θ 7 n + d 1 = L 1 n
a 21 θ s 1 3 + a 22 θ c 1 3 + a 23 θ 7 1 3 + b 21 θ s 1 2 + b 22 θ c 1 2 + b 23 θ 7 1 2 + c 21 θ s 1 + c 22 θ c 1 + c 23 θ 7 1 + d 1 = L 21 a 21 θ s n 3 + a 22 θ c n 3 + a 23 θ 7 n 3 + b 21 θ s n 2 + b 22 θ c n 2 + b 23 θ 7 n 2 + c 21 θ s n + c 2 θ c n + c 23 θ 7 n + d 2 = L 2 n
a 31 θ s 1 3 + a 32 θ c 1 3 + a 33 θ 7 1 3 + b 31 θ s 1 2 + b 32 θ c 1 2 + b 33 θ 7 1 2 + c 31 θ s 1 + c 32 θ c 1 + c 33 θ 7 1 + d 3 = L 31 a 31 θ s n 3 + a 32 θ c n 3 + a 33 θ 7 n 3 + b 31 θ s n 2 + b 32 θ c n 2 + b 33 θ 7 n 2 + c 31 θ s n + c 32 θ c n + c 33 θ 7 n + d 3 = L 3 n
Using the system of Equation (16) as an example, this overdetermined system can be expressed in the standard matrix equation form P X = Q :
θ s 1 3 θ c 1 3 θ 7 1 3 θ s 1 θ c 1 θ 7 1 1 θ s 2 3 θ c 2 3 θ 7 2 3 θ s 2 θ c 2 θ 7 2 1 θ s n 3 θ c n 3 θ 7 n 3 θ s n θ c n θ 7 n 1 a 11 a 12 a 13 b 11 b 12 b 13 c 11 c 12 c 13 d 1 = L 11 L 12 L 1 n
By employing the formula X = ( P T P ) 1 P T Q , the least squares solution for X can be obtained. The other systems of equations can be solved using the same method, thereby facilitating the determination of the coefficient matrices A, B, C, and D in Equation (14).
Although non-polynomial methods such as neural networks could theoretically capture complex nonlinearities, they were not selected due to their higher computational complexity, substantial data requirements, and lack of interpretability. The data collection process for our calibration method is time-consuming and must be conducted under strict environmental controls; polynomial fitting offers a favorable balance between accuracy, computational efficiency, and ease of implementation.

4. Verification Experiment

To verify the superiority of the newly proposed calibration algorithm over traditional methods in the pitch calibration of a tiltrotor aircraft, an experimental validation was designed in this study.

4.1. Experimental Procedure

The verification test process is illustrated in Figure 11.
A detailed description of the operational steps for the verification experiment is provided below:
Step 1: A calibration sequence was developed to cover the full range of pitch angles used in practical applications. The sequence includes 60 actuator stroke value sets (which were estimated based on practical experience) to ensure comprehensive coverage. Specifically, the collective pitch angle is set to range from 2 ° to 40 ° , while the longitudinal and lateral cyclic pitch angles are set to range from 8 ° to 8 ° . These ranges are designed to encompass the angles likely to be utilized in real-world scenarios, including extreme conditions. Subsequently, a standard pitch calibration process is performed, during which the corresponding pitch control angles for each set of stroke values are determined.
Step 2: Employ both linear and cubic fitting methods to compute the required coefficient matrices for each. Select 10 sets of typical operating conditions and calculate the corresponding coefficient matrices. Subsequently, utilize the linear fitting formula to derive inspection sequence I and the cubic fitting formula to derive inspection sequence II.
Step 3: After obtaining the two inspection sequences, apply the operations from Step 1 to both sequences to determine the pitch control angles corresponding to each set of stroke values. This step is essential for verifying the accuracy of the calibration algorithm.
Step 4: Compare the two sets of pitch control angles obtained from the methods described in Step 3 with the typical control angles from Step 2. Analyze the differences in error magnitude and distribution to evaluate the applicability and accuracy of the two fitting methods in pitch calibration.

4.2. Experimental Platform

The experimental setup, as illustrated in Figure 12, comprises a tiltrotor prototype equipped with three electromechanical actuators and BWN425 dual-axis inclination sensors mounted at the blade root and rotor hub. Figure 12a depicts a schematic of the sensor installation on the full-scale prototype, where a sensor is securely attached via custom-designed fixtures to each of the blade root and the rotor hub shaft, ensuring precise alignment and minimal measurement drift. Figure 12b shows a photograph of a 1:5 scaled prototype during the calibration of a single rotor. Due to size constraints of the scaled model, a simplified mounting method was employed to fix the sensor, which still maintained measurement integrity within the specified tolerance. Data acquisition was automated via a CAN bus system, enabling real-time recording of pitch angles at azimuth positions of 0 ° , 90 ° , 180 ° , and 270 ° . While detailed mechanical designs remain commercially confidential, the key experimental parameters are summarized in Table 4.

4.2.1. Electric Actuators

This study employed electromechanical actuators, which offer advantages such as high displacement accuracy (0.01 mm) and automated control. This accuracy specification, guaranteed by the supplier, was further validated in-house prior to experimentation. Using a high-precision laser displacement sensor (with a resolution of 1 μm), we performed repeated displacement tests under controlled conditions ( 23 ± 1   ° C , 50 ± 5 % ) , which confirmed that the displacement deviation remained within ± 0.01 mm , thereby ensuring the reliability of our experimental data.

4.2.2. Inclination Sensors

In our calibration system, an inclination sensor coupled with a fixture is affixed to the feathering bearing assembly to determine the blade pitch angle. Similarly, the measurement of the lateral skew angle β and the longitudinal skew angle γ of the rotor shaft is facilitated by the attachment of the inclination sensor and fixture to the rotor shaft. The employed inclination sensors are BWN425 dual-axis sensors produced by Wuxi Bewis Sensing Technology LLC, Wuxi, Jiangsu, China, boasting an inclination measurement accuracy of up to 0 . 02 ° . The data communication between the inclination sensor and the computer is managed via a CAN bus, enabling the automatic transmission of sensor readings to the computer for automated analysis.

5. Results

The experimental results, presented in Table 5 and Table 6, provide a comparative analysis of the error verification for both the traditional linear polynomial fitting algorithm and the improved cubic fitting algorithm. The absolute error is defined as the difference between the actual control angles and the target control angles, with the results summarized in Table 7.

6. Discussion

The findings, summarized graphically in Figure 13, indicate that the improved algorithm consistently demonstrates lower average errors and standard deviations compared with the traditional method, highlighting a significant advancement in precision. Specifically, for the collective pitch, the improved algorithm achieves an average error of 0 . 03 ° , while the traditional method records an average error of 0 . 07 ° . Additionally, the standard deviation for the improved algorithm stands at 0 . 02 ° , which is markedly lower than the 0 . 07 ° associated with the traditional method.
In the context of a longitudinal cyclic pitch, both fitting methods produce identical average errors and standard deviations. Conversely, a significant difference is observed in lateral cyclic pitch, where the improved algorithm achieves an average error of 0 . 03 ° , outperforming the traditional method’s 0 . 09 ° . Additionally, the improved algorithm’s standard deviation of 0 . 02 ° is superior to the traditional algorithm’s standard deviation of 0 . 11 ° , further emphasizing its enhanced performance.
Overall, the experimental results substantiate that the improved cubic fitting algorithm reduces the error in collective pitch control by approximately 57% and in cyclic pitch control by about 33%. This substantial improvement underscores the algorithm’s effectiveness in minimizing errors and enhancing control precision, thereby significantly surpassing the earlier approaches. As indicated in the preceding sections, the precision of the sensors used in this study is 0 . 02 ° . Given this fundamental limit in sensor accuracy, it is theoretically impossible for any algorithm to achieve an error reduction beyond this threshold. Therefore, the performance of the proposed algorithm represents the optimal achievable improvement within the constraints of the sensor precision.

Limitations and Future Work

While the proposed cubic fitting algorithm demonstrates superior performance under controlled calibration conditions, this study has certain limitations that define the scope of its current validation and point toward necessary future research.
  • Inherent constraints of sensor accuracy—The calibration accuracy is limited by the 0 . 02 ° measurement resolution of the BWN425 dual-axis inclination sensors used. The error of the proposed cubic fitting algorithm has already approached this physical limit; future work may explore the integration of higher-precision sensors to verify whether further algorithm optimization is necessary and it is feasible to overcome this constraint.
  • Robustness to real-world variability—This study has not yet been fully adapted to the complex conditions of real operational scenarios: First, the interference of electrical noise and vibration on sensor readings was not considered, and subsequent work needs to introduce digital filtering techniques, such as Kalman filtering, in pitch angle data processing to improve the anti-interference capability. Second, the study assumed ideal behavior of actuators and linkages, without addressing the degradation of the model accuracy caused by actuator backlash or swash plate bearing wear; developing an online or periodic recalibration strategy to compensate for such gradual temporal drift will be a valuable extension of this work.

7. Conclusions

This study successfully addresses the critical calibration challenge for large-stroke pitch control in a tiltrotor aircraft. The main results achieved with our approach are threefold:
1.
We developed a novel multivariate cubic matrix regression algorithm that explicitly captures the inherent geometric nonlinearities of the swashplate mechanism under large strokes, which are neglected by traditional linear models used for conventional helicopters.
2.
Experimental validation demonstrates that our algorithm delivers a substantial improvement in precision, reducing the collective pitch error by 57% and the lateral cyclic pitch error by 33% compared with the traditional linear fitting method. The achieved accuracy is at the physical limit of our sensor resolution ( 0 . 02 ° ), representing the optimal performance attainable with the current experimental setup.
3.
Beyond the algorithm itself, we have established a complete, efficient, and low-cost calibration framework that integrates precise measurement, data processing, and model solving, which is readily applicable in field settings.
From an engineering application perspective, this method offers notable advantages:
  • Economy: Compared with traditional high-precision equipment, such as photogrammetric devices and coordinate measuring arms, the system reduces costs by over 80% and minimizes labor through automated CAN bus data transmission.
  • Efficiency: The automated calibration process shortens the time for a single calibration to less than 30 min. The real-time computation complexity of the deployed fitting formula is O ( 1 ) , satisfying dynamic response requirements.
Notably, the core value of this method lies in its universality for three-actuator pitch control systems: whether for aerial tiltrotors, conventional helicopters, multirotor UAVs, or propellers of underwater unmanned submersibles, as long as they adopt a three-actuator pitch control structure, high-precision calibration can be achieved through the “measurement–fitting–verification” framework. This method provides a universal solution for the calibration of multi-input, multi-output nonlinear systems across domains.
Future research can focus on optimizing the algorithmic adaptability in dynamic measurement scenarios and exploring environmental factors’ impacts on fitting accuracy to enhance the robustness in complex working conditions.

Author Contributions

Conceptualization, H.F. and J.C.; Methodology, H.F. and J.C.; Software, H.F., S.L. and J.C.; Validation, H.F., S.L. and K.L.; Formal analysis, H.F.; Investigation, H.F., S.L. and K.L.; Data curation, H.F. and S.L.; Writing—original draft, H.F.; Writing—review and editing, J.C. and S.L.; Resources, J.C.; Supervision, J.C.; Project administration, J.C. All authors have read and agreed to the published version of the manuscript.

Funding

This research was funded by the National Natural Science Foundation of China, grant number 51977216.

Institutional Review Board Statement

Not applicable.

Data Availability Statement

The data presented in this study are available upon request from the corresponding author.

Conflicts of Interest

The authors declare no conflicts of interest.

References

  1. Maisel, M.D. The History of the XV-15 Tilt Rotor Research Aircraft: From Concept to Flight; National Aeronautics and Space Administration, Office of Policy and Plans: Washington, DC, USA, 2000. [Google Scholar]
  2. Yu, Z.; Zhang, J.; Wang, X. Study of Modeling and Optimal Take-Off Scheme for a Novel Tilt-Rotor UAV. Sensors 2022, 22, 9736. [Google Scholar] [CrossRef] [PubMed]
  3. Wang, X.; Cai, L. Mathematical modeling and control of a tilt-rotor aircraft. Aerosp. Sci. Technol. 2015, 47, 473–492. [Google Scholar] [CrossRef]
  4. Kim, H.; Lee, J.; Lee, D.; Yee, K. Improved Conceptual Design of eVTOL Aircraft: Considering Rotor–Rotor Interactional Effects. Int. J. Aeronaut. Space Sci. 2025, 26, 863–882. [Google Scholar] [CrossRef]
  5. Wang, C.; Tan, W.; Sun, L.; Jiao, J. Flying qualities based time-varying stability augmentation system design for tiltrotor conversion control. Chin. J. Aeronaut. 2024, 37, 366–385. [Google Scholar] [CrossRef]
  6. Li, S.; Wang, Y.; Zhang, H. Research on adaptive feedforward control method for Tiltrotor Aircraft/Turboshaft engine system based on radial basis function neural network. Aerosp. Sci. Technol. 2024, 150, 109180. [Google Scholar] [CrossRef]
  7. Zhao, Y.; Yuan, Y.; Chen, R. Influence of differential longitudinal cyclic pitch on flight dynamics of coaxial compound helicopter. Chin. J. Aeronaut. 2023, 36, 207–220. [Google Scholar] [CrossRef]
  8. Wang, Q.; Wu, W. Modelling and analysis of tiltrotor aircraft for flight control design. Inf. Technol. J. 2014, 13, 885. [Google Scholar] [CrossRef][Green Version]
  9. Kirst, G.; Wang, X. Mode transition control of large-size tiltrotor aircraft. arXiv 2024, arXiv:2411.06753. [Google Scholar] [CrossRef]
  10. Nannam, H.C.; Keerthi, G.; Geetha, U.; Tejaswini, G.S. Comparative Analysis of Open Loop and Closed Loop Control of Dc-Dc Converter. In Proceedings of the 2023 International Conference on Ambient Intelligence, Knowledge Informatics and Industrial Electronics (AIKIIE), Ballari, India, 2–3 November 2023; IEEE: Piscataway, NJ, USA, 2023; pp. 1–5. [Google Scholar] [CrossRef]
  11. Zappa, E.; Liu, R.; Trainelli, L.; Ferrario, A.; Cordisco, P.; Terraneo, M.; Grassetti, R.; Redaelli, M. Laser and vision-based measurements of helicopter blade angles. Measurement 2018, 118, 29–42. [Google Scholar] [CrossRef]
  12. Huang, Y.; Cheng, W.; Li, Y.; Li, W. An optoelectronic system for the in-flight measurement of helicopter rotor blades’ motions and strains. In Proceedings of the Optical Metrology and Inspection for Industrial Applications II, Beijing, China, 5–7 November 2012; SPIE: Bellingham, WA, USA, 2012; Volume 8563, pp. 211–217. [Google Scholar] [CrossRef]
  13. Fu, X.; He, L.; Qiu, H. MEMS gyroscope sensors for wind turbine blade tip deflection measurement. In Proceedings of the 2013 IEEE International Instrumentation and Measurement Technology Conference (I2MTC), Minneapolis, MN, USA, 6–9 May 2013; IEEE: Piscataway, NJ, USA, 2013; pp. 1708–1712. [Google Scholar] [CrossRef]
  14. Allred, C.J.; Churchill, D.; Buckner, G.D. Real-time estimation of helicopter rotor blade kinematics through measurement of rotation induced acceleration. Mech. Syst. Signal Process. 2017, 91, 183–197. [Google Scholar] [CrossRef]
  15. Liu, Z.J.; Liu, F.H. Research on a New Technology and Its Application for Rotor Pitch Operation and Auto Calibration. Meas. Control Technol. 2008, 10, 39–41+44. [Google Scholar] [CrossRef]
  16. Li, X.M.; Huang, J.P. The Realizable Method of Control System of Rotor Model Test-bed. Helicopter Tech. 1999, 2, 26–31. [Google Scholar]
  17. Zhang, G.C. A Development of the Automatic Device for Local Calibration of the Helicopter Test Stand Based on Artificial Neural Network. Ph.D. Thesis, Chongqing University, Chongqing, China, 2010. [Google Scholar]
  18. Yomchinda, T.; Horn, J.; Cameron, N. Integrated flight control design and handling qualities analysis for a tilt rotor aircraft. In Proceedings of the AIAA Atmospheric Flight Mechanics Conference, Chicago, IL, USA, 10–13 August 2009; AIAA: Reston, VA, USA, 2009; p. 6058. [Google Scholar] [CrossRef]
  19. Appleton, W.; Smith, D.A.; Filippone, A.; Bojdo, N. Pitch control optimisation of tiltrotor aircraft. In Proceedings of the 77th Annual Forum the Vertical Flight Society, Virtual, 10–14 May 2021. [Google Scholar]
  20. Lu, K.; Zhao, S.; Ma, Y.; Wu, S.; Su, C. The investigation on flight quality of tilt-rotor aircraft. Aircr. Eng. Aerosp. Technol. 2021, 93, 1582–1590. [Google Scholar] [CrossRef]
  21. Wen, J.; Song, Y.; Wang, H.; Han, D.; Yang, C. Hybrid Adaptive Control for Tiltrotor Aircraft Flight Control Law Reconfiguration. Aerospace 2023, 10, 1001. [Google Scholar] [CrossRef]
  22. Achten, P.A.J.; Eggenkamp, S.; Potma, H.W. Swash plate oscillation in a variable displacement floating cup pump. In Proceedings of the 13th Scandinavian International Conference on Fluid Power, Linköping, Sweden, 3–5 June 2013; pp. 163–176. [Google Scholar] [CrossRef]
  23. Halley, D.H. ABC helicopter stability, control, and vibration evaluation on the Princeton dynamic model track. In Proceedings of the American Helicopter Society 29th Annual National Forum, Washington, DC, USA, 9–11 May 1973; American Helicopter Society: Fairfax, VA, USA, 1973. [Google Scholar]
  24. Ruddell, A.J. Advancing blade concept (ABC™) development. J. Am. Helicopter Soc. 1977, 22, 13–23. [Google Scholar] [CrossRef]
  25. Ruddell, A.J.; Macrino, J.A. Advancing blade concept (ABC) high speed development. In Proceedings of the American Helicopter Society 36th Annual Forum, Washington, DC, USA, 13–14 May 1980; American Helicopter Society: Fairfax, VA, USA, 1980. [Google Scholar]
Figure 1. Coordinate system.
Figure 1. Coordinate system.
Aerospace 12 00843 g001
Figure 2. Lower mechanism schematic diagram.
Figure 2. Lower mechanism schematic diagram.
Aerospace 12 00843 g002
Figure 3. Rotor blade rotation directions on the swash plate. (a) Clockwise (left-hand) rotation as viewed from above; (b) counterclockwise (right-hand) rotation as viewed from above.
Figure 3. Rotor blade rotation directions on the swash plate. (a) Clockwise (left-hand) rotation as viewed from above; (b) counterclockwise (right-hand) rotation as viewed from above.
Aerospace 12 00843 g003
Figure 4. Front view of the upper mechanism.
Figure 4. Front view of the upper mechanism.
Aerospace 12 00843 g004
Figure 5. Plan view of the upper mechanism from above.
Figure 5. Plan view of the upper mechanism from above.
Aerospace 12 00843 g005
Figure 6. Relationship of actuator stroke and collective pitch angle.
Figure 6. Relationship of actuator stroke and collective pitch angle.
Aerospace 12 00843 g006
Figure 7. Actuator stroke L 1 vs. pitch control angles. (a) Relationship between L 1 and lateral cyclic pitch angle. (b) Relationship between L 1 and longitudinal cyclic pitch angle.
Figure 7. Actuator stroke L 1 vs. pitch control angles. (a) Relationship between L 1 and lateral cyclic pitch angle. (b) Relationship between L 1 and longitudinal cyclic pitch angle.
Aerospace 12 00843 g007
Figure 8. Calibration process flowchart.
Figure 8. Calibration process flowchart.
Aerospace 12 00843 g008
Figure 9. Angles between rotor hub axis and planes. (a) Horizontal angle β . (b) Longitudinal angle γ .
Figure 9. Angles between rotor hub axis and planes. (a) Horizontal angle β . (b) Longitudinal angle γ .
Aerospace 12 00843 g009
Figure 10. Polynomial fitting results of different orders.
Figure 10. Polynomial fitting results of different orders.
Aerospace 12 00843 g010
Figure 11. Verification experiment flowchart.
Figure 11. Verification experiment flowchart.
Aerospace 12 00843 g011
Figure 12. Experimental platform. (a) Schematic diagram of the experimental platform. (b) Photograph of the scaled tiltrotor aircraft prototype during calibration.
Figure 12. Experimental platform. (a) Schematic diagram of the experimental platform. (b) Photograph of the scaled tiltrotor aircraft prototype during calibration.
Aerospace 12 00843 g012
Figure 13. Comparison of fitting errors between the traditional linear and proposed cubic methods. (a) Average absolute errors for different pitch control angles. (b) Standard deviations of the errors.
Figure 13. Comparison of fitting errors between the traditional linear and proposed cubic methods. (a) Average absolute errors for different pitch control angles. (b) Standard deviations of the errors.
Aerospace 12 00843 g013
Table 1. Systematic comparison and engineering evaluation of blade angle measurement methods.
Table 1. Systematic comparison and engineering evaluation of blade angle measurement methods.
MethodAccuracyCostIdeal Use CaseKey Limitations
Interferometry 0 . 1 ° 0 . 3 ° Very HighLab high-precision staticComplex setup; not for field use
Photogrammetry 0 . 1 ° 0 . 3 ° HighNon-contact (no sensor install)Light-sensitive; complex data processing
Coordinate Measurement Arms< 0 . 04 ° Very HighOffline high-precision calib/verifLow efficiency; not in real time
IMU 0 . 1 ° 0 . 4 ° MediumReal-time dynamic deformationCumulative errors; vibration-sensitive
Direct Measurement 0 . 1 ° 0 . 15 ° LowField calibration; static or quasi-static measurementRequires physical contact
Table 2. Geometric parameters of case study rotor.
Table 2. Geometric parameters of case study rotor.
Parameter DescriptionSymbolValueTolerance (±)UnitsReference Diagram
Aerodynamic lead angle α 400.1deg-
Actuator azimuth α 1 00.1deg-
The vertical height from the moving ring center point to the fixed point at the bottom of the actuator h 0 3401mmFigure 2
Vertical difference between the rotating ring and stationary ring h 1 100.1mm-
Vertical coordinate of point O 3 h 2 7201mm-
Length of three actuators at collective pitch 0 ° L 0 3401mmFigure 2
Length of pitch link L g 2500.1mmFigure 4
Radius of the common circle of the actuator’s fixed points R 0 1700.5mmFigure 2
Radius of the common circle for the top connection points of actuators R 1 1500.5mmFigure 2
Distance from the bottom of the pitch link to the rotor shaft R 2 2100.5mmFigure 4
Distance from the apex of the pitch link to the rotor shaft R 3 2300.5mmFigure 5
Distance from the apex of the pitch link to point O 3 R 4 2700.5mmFigure 5
Table 3. Polynomial fitting results.
Table 3. Polynomial fitting results.
Polynomial OrderMSER2
121.3810.98994
20.80370.99962
30.000177911.00000
Table 4. Key specifications and parameters of the experimental setup.
Table 4. Key specifications and parameters of the experimental setup.
ParameterValue/DescriptionNote
Prototype Scale1:5Relative to a full-scale tiltrotor aircraft
Number of Actuators3Electromechanical
Actuator Stroke Range[−50, 90] mmCovers the required pitch control range
Blade Pitch Angle Measurement Points 0 ° , 90 ° , 180 ° , 270 °
Data CommunicationCAN busAutomated data acquisition
Table 5. Test results of the linear polynomial fitting algorithm.
Table 5. Test results of the linear polynomial fitting algorithm.
Given ValueActuator StrokeActual ValueError
Θ 7 , ° Θ s , ° Θ c , ° L 1 , mm L 2 , mm L 3 , mm θ 7 , ° θ s , ° θ c , ° θ 7 Θ 7 θ s Θ s θ c Θ c
0012−40.18−39.59−39.660.00−0.0312.060.00−0.030.06
3012−40.40−46.99−32.112.990.0312.04−0.010.030.04
0−312−31.71−44.16−43.810.04−3.0112.040.04−0.010.04
4212−46.12−46.41−26.824.002.0212.040.000.020.04
0316−33.46−19.80−20.36−0.062.9316.00−0.06−0.070.00
−3016−24.77−16.97−32.06−3.03−0.0215.99−0.03−0.02−0.01
00259.229.879.59−0.13−0.0624.79−0.13−0.06−0.21
003547.2247.9147.47−0.16−0.0834.67−0.16−0.08−0.33
004585.2385.9585.36−0.16−0.0844.93−0.16−0.08−0.07
Table 6. Test results of the cubic fitting algorithm.
Table 6. Test results of the cubic fitting algorithm.
Given ValueActuator StrokeActual ValueError
Θ 7 , ° Θ s , ° Θ c , ° L 1 , mm L 2 , mm L 3 , mm θ 7 , ° θ s , ° θ c , ° θ 7 Θ 7 θ s Θ s θ c Θ c
0012−40.27−39.73−39.740.02−0.0412.070.02−0.040.07
3012−40.49−46.92−32.222.950.0412.03−0.050.040.03
0−312−31.86−44.12−43.810.02−2.9812.030.020.020.03
4212−46.11−46.32−26.953.962.0112.04−0.040.010.04
0316−33.20−19.83−20.21−0.032.8816.03−0.03−0.120.03
−3016−24.65−17.05−31.76−2.95−0.0216.010.05−0.020.01
00259.9810.4610.59−0.03−0.0424.99−0.03−0.04−0.01
003548.2748.7948.94−0.02−0.0334.98−0.02−0.03−0.02
004585.1785.9985.81−0.060.0044.97−0.060.00−0.03
Table 7. Statistics of two methods.
Table 7. Statistics of two methods.
Fitting MethodAverage ErrorStandard Deviation of Error
( θ 7 Θ 7 ) avg , ° ( θ s Θ s ) avg , ° ( θ c Θ c ) avg , ° ( θ 7 Θ 7 ) std , ° ( θ s Θ s ) std , ° ( θ c Θ c ) std , °
Traditional methods0.070.040.090.070.030.11
Improved methods0.030.040.030.020.020.02
Disclaimer/Publisher’s Note: The statements, opinions and data contained in all publications are solely those of the individual author(s) and contributor(s) and not of MDPI and/or the editor(s). MDPI and/or the editor(s) disclaim responsibility for any injury to people or property resulting from any ideas, methods, instructions or products referred to in the content.

Share and Cite

MDPI and ACS Style

Feng, H.; Li, S.; Li, K.; Chen, J. Addressing Calibration Challenges for Large-Stroke Blade Pitch Control in Tiltrotor Aircraft via an Improved Cubic Polynomial Fitting Algorithm. Aerospace 2025, 12, 843. https://doi.org/10.3390/aerospace12090843

AMA Style

Feng H, Li S, Li K, Chen J. Addressing Calibration Challenges for Large-Stroke Blade Pitch Control in Tiltrotor Aircraft via an Improved Cubic Polynomial Fitting Algorithm. Aerospace. 2025; 12(9):843. https://doi.org/10.3390/aerospace12090843

Chicago/Turabian Style

Feng, Hang, Shangyu Li, Kaicheng Li, and Junquan Chen. 2025. "Addressing Calibration Challenges for Large-Stroke Blade Pitch Control in Tiltrotor Aircraft via an Improved Cubic Polynomial Fitting Algorithm" Aerospace 12, no. 9: 843. https://doi.org/10.3390/aerospace12090843

APA Style

Feng, H., Li, S., Li, K., & Chen, J. (2025). Addressing Calibration Challenges for Large-Stroke Blade Pitch Control in Tiltrotor Aircraft via an Improved Cubic Polynomial Fitting Algorithm. Aerospace, 12(9), 843. https://doi.org/10.3390/aerospace12090843

Note that from the first issue of 2016, this journal uses article numbers instead of page numbers. See further details here.

Article Metrics

Back to TopTop