Research on the Design of Aviation and Aerospace Hatch Door Mechanisms and Their Future Bionic Prospects
Abstract
1. Introduction
2. Research on Door Opening and Closing Mechanisms of Traditional Transportation Vehicles
2.1. Landing Vehicle Door
2.1.1. Subway
2.1.2. Passenger Car
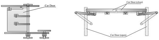
2.1.3. Car
2.1.4. Ergonomics of Land Civil Tools
2.2. Civil Ship
2.2.1. Hatch Door Opening Method and Related Mechanism
2.2.2. Classification by Ship Use and Related Mechanisms
2.2.3. Ergonomics of Marine Civil Tools
2.3. Civil Aviation
2.3.1. Cabin Hatch Form and Main Mechanism
2.3.2. Cabin Hatch: Various Functional Module Mechanisms
- 1.
- Locking mechanism
- 2.
- Sealing mechanism
- 3.
- Drive mechanism or motion control mechanism
- 4.
- New design
2.3.3. Main Uses of Hatch and Related Mechanisms
- 1.
- Boarding doors
- 2.
- Cargo doors
- 3.
- Emergency doors
- 4.
- Landing gear doors
2.3.4. Ergonomics of Aviation
2.4. Summary of Civilian Systems
3. Research on Cabin Opening and Closing Mechanisms of the New Carrier System
3.1. Landing Military System
3.1.1. Military Armored Vehicle
3.1.2. Military Battle Tank
3.2. Marine Military System
3.2.1. Military Classification and Related Introduction
3.2.2. Submersible Watertight Hatches
3.3. Military Aviation System
3.3.1. Helicopter Doors
3.3.2. Door Gunner
3.4. Spacecraft
3.4.1. Crewed Spacecraft
- It can be opened and closed conveniently from inside and outside the cabin. (By using transmission mechanisms to achieve internal and external operations and sealing the cabin).
- It requires little force and a short time when operating. (By using a higher gear transmission ratio to reduce the operating time).
- It needs to withstand repeated opening and closing operations on the ground.
- It needs to ensure the safety of astronauts when operating. (By being equipped with a handle and locking mechanism to prevent misuse).
3.4.2. Space Station
3.4.3. Space Shuttle
3.5. Other Extreme Environmental Systems
3.6. Summary of Military and Space Systems
4. Guidance for the Engineering Design of Aerospace Door Mechanisms
4.1. Engineering Design Process in the Technical Department
4.2. Design Standard Definition and Discussion
4.3. Research Progress on Improving the Design Process
4.4. Actual Use Test or Inspection
- Reliability and durability issues. The mechanism needs to maintain high reliability and long-term durability in various extreme environments. Numerous studies have highlighted the wear and degradation of mechanical components under different environmental conditions. For instance, NASA-STD-8729.1 [129] introduces in detail the safety, reliability, maintainability, and quality assurance requirements in the aerospace design process.
- Multi-failure mode analysis. In practical applications, mechanical mechanisms may experience multiple failure modes. Analyzing these modes and their impact on the overall reliability of the system is crucial. Research indicates that integrating databases and expert systems can effectively identify and address these failure modes, thereby enhancing overall system reliability [130].
- Thermal vacuum testing. Thermal vacuum testing is a critical step to ensure aerospace mechanisms function correctly under extreme temperature and vacuum conditions. These tests include thermal cycling, thermal balance, and bake-out tests to ensure thermal stability and functional integrity in space environments.
5. Bionic Door Mechanism and Related Designs
5.1. Bionic Design for Anti-Collision Door Structure and Stiffener
5.2. Bionic Design to Hinge Connection Mechanism Design and Others
5.3. Integration of Claus Mattheck’s Principles
5.4. Architecture and Mechanical/Structural Elements of the Bionic Door Mechanism
5.5. Comparison of Standard Kinematic Mechanisms and Specifications for Qualification Tests
5.6. Summary of Bionic Door Mechanism Design
6. Conclusions
Author Contributions
Funding
Institutional Review Board Statement
Informed Consent Statement
Data Availability Statement
Conflicts of Interest
References
- Liu, B.N.; Sun, X.B.; Gu, C.J.; Zhang, W.D. Classifying and repairing of canopy. China Shiprep. 2006, 19, 19–20+23. (In Chinese) [Google Scholar] [CrossRef]
- Yao, X.H.; Deng, J.F.; Feng, Y.W. The Doors Design of Transport Airplane, 1st ed.; National Defense Industry Press: Beijing, China, 2017. [Google Scholar]
- Johnson, G. Worldwide Spacecraft Crew Hatch History; Report No.: 20100027421; Safety & Mission Assurance Flight Safety Office: Houston, TX, USA, 2009.
- Schaefer, K.E. Environmental physiology of submarines and spacecraft; Atmospheric requirements of confined spaces. Arch. Environ. Health 1964, 9, 320–331. [Google Scholar] [CrossRef]
- Wang, W.H.; He, T.F.; Huang, W.; Shen, R.; Wang, Q. Optimization of switch modes of fully enclosed platform screen doors during emergency platform fires in underground metro station. Tunn. Undergr. Space Technol. 2018, 81, 277–288. [Google Scholar] [CrossRef]
- Anisimov, A.V.; Krokhin, I.A.; Likhoded, A.I.; Malinin, A.A.; Panichkin, N.G.; Sidorov, V.V.; Titov, V.A. Dynamic loading and stress life analysis of permanent space station modules. Mech. Solids 2016, 51, 660–671. [Google Scholar] [CrossRef]
- Jing, D.X. Development of two popular science exhibits on bus door mechanisms. Technol. Innov. 2019, 6, 52–53+56. (In Chinese) [Google Scholar] [CrossRef]
- Liu, B.Q. An introduction to the cargo ship hatch cover equipment. Tianjin Hanghai 2005, 26, 19–21. (In Chinese) [Google Scholar] [CrossRef]
- Ji, J.Q.; Liu, Z.Q.; You, W. Analysis of the principles and characteristics of manned spacecraft door mechanism. Manned Spacefl. 2003, 1, 34–39. (In Chinese) [Google Scholar]
- Chen, T.X.; Shi, L.M.; Zhang, L.; Liu, F.; Zang, X.Y.; Chang, J.; Ma, K.; Liang, D.P.; Sun, W.; Shi, W.J.; et al. Structure and mechanism system design and optimization of China manned spacecraft. Int. J. Aerosp. Eng. 2022, 31, 117–129. (In Chinese) [Google Scholar] [CrossRef]
- chinaerospace.com [Internet]. 2024 Commercial Aerospace Industry Research Report. 2024. Available online: https://www.chinaerospace.com/article/show/589d3fd89a97ac2dfabd85717a924d3d/ (accessed on 15 June 2024).
- Xu, R.J. Analysis and research on a load-bearing driving mechanism of a subway built-in door system flows. Mech. Electr. Inf. 2019, 19, 19–21+23. (In Chinese) [Google Scholar] [CrossRef]
- Chen, J. Renovation of exterior closed doors for Guangzhou subway vehicles. Era Car 2013, 16, 163–164. (In Chinese) [Google Scholar] [CrossRef]
- Zhang, P.; Liu, L. Analysis on the structural principle of the plug door of CRH380B EMU. Urban Mass Transit. 2021, 18, 81–84. (In Chinese) [Google Scholar] [CrossRef]
- Li, Y. Installation and debugging of pneumatic door pump for double folding passenger door. Bus Technol. Res. 2001, 23, 38–39. (In Chinese) [Google Scholar] [CrossRef]
- Bian, X.L.; Qi, J.X. New electric swing-out sliding door unit. Bus Technol. Res. 2005, 43, 40–41. (In Chinese) [Google Scholar] [CrossRef]
- Strolz, M.; Mortl, A.; Graf, M.; Buss, M. Development, control, and evaluation of an actuated car door. J. Trans. Haptics 2009, 2, 170–180. [Google Scholar] [CrossRef]
- Luzon-Narro, J.; Arregui-Dalmases, C.; Hernando, L.M.; Core, E.; Narbona, A.; Selgas, C. Innovative passive and active countermeasures for near side crash safety. Int. J. Crashworthiness 2014, 19, 209–221. [Google Scholar] [CrossRef]
- Krumholz, S. Adjustable Door Kit Assembly. U.S. Patent 20070013208A1, 18 January 2007. [Google Scholar]
- Mohamed, Z.; Yusuff, R.M. Automotive ergonomics: Passenger cars interior dimension parameters and comfort. In Proceedings of the International Conference on Ergonomics, Kuala Lumpur, Malaysia, 3–5 December 2007. [Google Scholar]
- Shamsuddin, K.; Mokhtar, N.; Aris, M.; Razak, T.A. Investigation of ergonomics design for the vehicle door handle for proton (BLM) and perodua (VIVA). Int. J. Eng. Sci. Res. Technol. 2015, 4, 360–366. [Google Scholar]
- Zhang, F.Y.; Guo, J.J.; Zhang, L. Ergonomic simulation analysis and improved design of subway car handrails. Packag. Eng. 2023, 44, 19–26. (In Chinese) [Google Scholar] [CrossRef]
- Liu, T. Structural design and analysis of a self-locking hatch. Ship Sci. Technol. 2021, 43, 186–189. (In Chinese) [Google Scholar]
- Bei, B. Design of moon pool hatch cover for a certain type of submarine rescue boat. Ship Boat 2012, 23, 71–74. (In Chinese) [Google Scholar]
- Zhou, T.Y.; Shi, H.S. Design of folding hatch cover on the middle deck of refrigerated ship. China Water Transp. 2017, 17, 1–3+6. (In Chinese) [Google Scholar]
- Xie, Y.; Zhang, C. Application of a single-pull hatch cover on refrigerated ships. Guangdong Shipbuild. 2018, 37, 46–48. (In Chinese) [Google Scholar]
- Zhu, Y. Research on the structural strength of container ship hatch covers. Ship Supplies Mark. 2023, 31, 19–21. (In Chinese) [Google Scholar] [CrossRef]
- Zhao, X.; Zhu, T.G.; Gao, X. Calculation and Analysis of Structural Strength of Container Ship Hatch Covers. Ship Ocean. Eng. 2023, 52, 113–116. (In Chinese) [Google Scholar]
- Zhang, L. Measures to solve the difficulty of opening and closing chain-type hatch covers on aging cargo ships. Technol. Innov. Appl. 2015, 5, 102–103. (In Chinese) [Google Scholar]
- Tang, G.K. Research on the technology of converting lift-off type into foldable hatch cover. Guangdong Shipbuild. 2017, 36, 64–66. (In Chinese) [Google Scholar]
- Yu, C.; Yang, G.S. Analysis on the layout position of folding hatch cover rollers. China Water Transp. 2017, 17, 13–14. (In Chinese) [Google Scholar]
- Wang, Z.X.; Zhang, H.G.; Wang, G.H.; Gan, X.Z. Design of stacked hatch cover device for cargo ships. Mech. Eng. 2018, 17, 66–68. (In Chinese) [Google Scholar] [CrossRef]
- American Bureau of Shipping. Guidance Notes for the Application of Ergonomics to Marine Systems, 3rd ed.; ABS: New York, NY, USA, 2013; pp. 127–131. [Google Scholar]
- Chen, Y.H. Civil aviation aircraft cabin door structural design. Equip. Manag. Maint. 2023, 44, 60–62. (In Chinese) [Google Scholar] [CrossRef]
- Zhang, X.L.; Zhao, X.L. Civil aircraft door stop design and tolerance analysis. Aircr. Des. 2019, 39, 69–72. (In Chinese) [Google Scholar] [CrossRef]
- Ma, Y.; Li, Z.L. Research on hatch lifting mechanism based on virtual hinge opening mechanism. Civ. Aircr. Des. Res. 2019, 33, 93–96. (In Chinese) [Google Scholar] [CrossRef]
- Zhang, X.L. Application of intermittent motion mechanism on the aircraft door. In Proceedings of the 2015 China (Tianjin) Electromechanical Equipment Innovation Design and Industrial Development Summit Forum of the Conference, Tianjin, China, 1 November 2015; pp. 166–168. (In Chinese). [Google Scholar]
- Ma, C. Application of combined mechanism in civil aircraft door design. Mod. Ind. Econ. Inform. 2015, 5, 57–59. (In Chinese) [Google Scholar] [CrossRef]
- Peng, R.H.; Hang, L.B.; Wu, B.R.; Qiu, X. Design of multi-mode motion opening mechanism for passenger aircraft cabin doors based on Bricard mechanism. J. Mech. Transm. 2023, 47, 50–57. (In Chinese) [Google Scholar] [CrossRef]
- Ma, Y. Research on solutions for translational hatch door lifting mechanism. Aircr. Des. 2021, 41, 36–38+53. (In Chinese) [Google Scholar] [CrossRef]
- Zheng, W.J.; Wu, Y.; Zhi, W.J.; Liu, D. Simulation and Analysis of Automatic Passenger Door Actuation System. In Proceedings of the 2021 Asia-Pacific International Symposium on Aerospace Technology (APISAT 2021), Volume 1. APISAT 2021, Jeju, South Korea, 15–17 November 2021; Lecture Notes in Electrical Engineering. Lee, S., Han, C., Choi, J.Y., Kim, S., Kim, J.H., Eds.; Springer: Singapore, 2021; Volume 912. [Google Scholar] [CrossRef]
- Guo, X.Q.; Zheng, W.J.; Lv, G.C. Design of a hatch door lifting and locking mechanism. Aircr. Des. 2017, 37, 56–57+76. (In Chinese) [Google Scholar] [CrossRef]
- Wang, W. A brief discussion on the scheme design of civil aircraft cabin door latch mechanism. Technol. Enterp. 2014, 23, 191–192. (In Chinese) [Google Scholar] [CrossRef]
- Jiang, H.Q. Research on a new locking method of emergency hatch door locking mechanism. Mod. Manuf. Technol. Equip. 2014, 50, 21–22+64. (In Chinese) [Google Scholar] [CrossRef]
- Ma, Y. Research on the design of pressure locking mechanism of civil aircraft door. Civ. Aircr. Des. Res. 2021, 35, 44–47. (In Chinese) [Google Scholar] [CrossRef]
- Zhu, S.; Ge, Z.; Ma, T.; Wan, F.; Zhang, C.; Liu, G.; Wei, H. Modeling and fault simulation of aircraft lock mechanism. In Proceedings of the Prognostics and Health Management. PHM 2022: Prognostics and Health Management Conference, London, UK, 27–29 May 2022; pp. 228–231. [Google Scholar] [CrossRef]
- Peng, J.Y.; Hang, L.B. New gust lock mechanism for large passenger aircraft cabin doors. Agric. Equip. Veh. Eng. 2023, 61, 46–50. (In Chinese) [Google Scholar]
- Jiang, D.Y.; Chen, T.Y.; Xie, J.Z.; Cui, W.; Song, B. A mechanical system reliability degradation analysis and remaining life estimation method—With the example of an aircraft hatch lock mechanism. Reliab. Eng. Syst. Saf. 2023, 230, 108922. [Google Scholar] [CrossRef]
- Franke, G.B.; Zatko, V.; Lion, A.; Johlitz, M. Elastomeric door seal analysis under aircraft cabin pressure. J. Rubber Res. 2021, 24, 301–318. [Google Scholar] [CrossRef]
- Zheng, W.; Pang, H.; Zhi, W.; Liu, D. Door opening actuation system and dynamics simulation of civil aircraft. In Proceedings of the Aircraft Utility Systems. AUS 2022: International Conference on Aircraft Utility Systems, Nanchang, China, 17–20 August 2022; pp. 54–58. [Google Scholar] [CrossRef]
- Zhi, W.; Chen, A.; Zheng, W.; Liu, D. Study on application of large civil aircraft passenger door actuation system based on super capacitor. In Proceedings of the AUS 2022: International Conference on Aircraft Utility Systems, Nanchang, China, 17–20 August 2022; pp. 49–53. [Google Scholar] [CrossRef]
- Du, J.B.; Huang, Z.T.; Yang, R.Z. Optimization of the motion control mechanism of the hatch door of airliner. Struct. Multidiscip. Optim. 2014, 51, 1173–1186. [Google Scholar] [CrossRef]
- Wang, Y.; Dou, D.; Dong, X. Dynamic Features of Non-Return Mechanism in Hatch Door of Amphibious Aircraft. Aerospace 2023, 10, 227. [Google Scholar] [CrossRef]
- Zhang, W.X.; Ding, X.L. Research on configuration transformation and kinematics of metamorphic mechanism for operating the hatch door. In Proceedings of the 7th World Congress on Intelligent Control and Automation, Chongqing, China, 25–27 June 2008; pp. 9066–9071. [Google Scholar] [CrossRef]
- Zhang, W.B.; Ma, D.W. Research on structural optimization design method of civil aircraft boarding door hinge arm. Civ. Aircr. Des. Res. 2020, 34, 6–11. (In Chinese) [Google Scholar] [CrossRef]
- Wang, J. Design of civil aircraft boarding door lifting mechanism. Aircr. Des. 2020, 40, 16–20. (In Chinese) [Google Scholar] [CrossRef]
- Yuan, Q.F. Analysis of the boarding gate mechanism of a certain model of aircraft. China Sci. Technol. Inf. 2017, 29, 26–27. (In Chinese) [Google Scholar]
- Wang, M.S.; Zhu, Y.; Ji, S.H. Optimized design of door-ladder integrated boarding gate mechanism. J. Sichuan Ordnance 2013, 34, 76–79. (In Chinese) [Google Scholar]
- Zhi, W.J.; Li, J.G.; Zhang, C.; Liu, D.; Du, X. Design of a new type of boarding gate opening speed limiting device. J. Beijing Univ. Aeronaut. Astronaut. 2022, 50, 1–14. (In Chinese) [Google Scholar] [CrossRef]
- Ye, T. Optimal Design and Analysis of Side-Opening Boarding Doors for Passenger Aircraft. Master’s Thesis, Nanjing University of Aeronautics and Astronautics, Nanjing, China, 2019. [Google Scholar]
- Maraghe, A.; Puncoch, M. Hinge Mechanism for Aircraft Door. European Patent EP 0317037A2, 21 November 1988. [Google Scholar]
- Zheng, W.J.; Zhi, W.J.; Du, X.J. Analysis and optimization of civil aircraft cargo door opening mechanism. In Proceedings of the 2020: China Aviation Industry Technical Equipment Engineering Association Annual Meeting, Xi’an, China, 5 November 2020; p. 4. [Google Scholar] [CrossRef]
- Luo, T.; Zhang, Y.N. Analysis and optimization of operating force of cargo door of a certain type of aircraft. In Proceedings of the ATC 2019: Altair Technology Conference, Shanghai, China, 10–12 July 2019; p. 8. [Google Scholar]
- Ma, Y.; Li, Z.L. Design of drive mechanism for typical cargo door opening of civil aircraft. Aircr. Des. 2019, 39, 20–23. (In Chinese) [Google Scholar] [CrossRef]
- Zhang, X.L.; Ma, Y. Design and analysis of the opening mechanism of the bulk cargo door of a certain type of civil aircraft. Mech. Eng. 2022, 54, 57–58+62. (In Chinese) [Google Scholar] [CrossRef]
- Wang, D.Y.; Xu, H.B.; Wang, X.L.; Wu, H.; Nie, Z. Safety design method of a civil aircraft cargo door actuation system. J. Eng. 2020, 98, 954–957. [Google Scholar] [CrossRef]
- Yu, L. Air tightness test and data analysis of the rear cargo door of a certain type of aircraft. Aircr. Des. 2021, 41, 42–46. (In Chinese) [Google Scholar] [CrossRef]
- Sun, Z.C.; Yu, T.X.; Pang, H.; Song, B.F. Failure mechanism and reliability analysis of the rear cargo door lock of transport aircraft. Eng. Fail. Anal. 2021, 122, 105182. [Google Scholar] [CrossRef]
- Liu, Z.Y. Research on the Opening and Movement Mechanism of Emergency Doors on the Wings of Civil Aircraft. Master’s Thesis, Harbin Institute of Technology, Harbin, China, 2015. [Google Scholar] [CrossRef]
- Ukadgaonker, V.G.; Awasare, P.J.; Gade, S.V. Stress analysis of door and window of a passenger aircraft. Aeronaut. J. 2000, 104, 409–414. [Google Scholar] [CrossRef]
- Yin, Y.; Yang, Y.X.; Xu, K.; Nie, H.; Wei, X. Bifurcation Characteristics of Emergency Extension of a Landing Gear Mechanism Considering Aerodynamic Effect. J. Aerosp. Eng. 2021, 34, 04021046. [Google Scholar] [CrossRef]
- Hong, N.; Wei, X.H.; Chen, H.; Zhang, M. Fault Analysis and Solution of an Airplane Nose Landing Gear’s Emergency Lowering. J. Aircr. 2016, 53, 1–11. [Google Scholar] [CrossRef]
- Xie, X.Y. Research on the Design of Passenger Cabin Human and Machine Dimensions of a Certain Wide-Body Aircraft. Master’s Thesis, Nanjing University of Aeronautics and Astronautics, Nanjing, China, 2021. [Google Scholar] [CrossRef]
- Guo, F.; Sun, Y.C.; Guo, Y.Y. Ergonomic design criteria and verification of business aircraft cabin space dimensions. Chin. J. Ergon. 2019, 25, 37–41. (In Chinese) [Google Scholar] [CrossRef]
- Zhang, Y.J.; Sun, Y.C.; Chen, Y.C.; Chen, A. Framework for Ergonomics Design of Transport Category Airplane Cockpit. Procedia Eng. 2014, 80, 573–580. [Google Scholar] [CrossRef]
- CCAR-25-R4; Airworthiness Standards of Transport Aircraft. The General Administration of Civil Aviation of China (CAAC): Beijing, China, 2016.
- 14 CFR § 25.1; Airworthiness Standards: Transport Category Airplanes. Federal Aviation Administration (FAA): Washington, DC, USA, 2000.
- EASA CS-25; Certification Specifications for Large Aero Planes. European Aviation Safety Agency (EASA): Cologne, Germany, 2007.
- McLean, G.A.; United States. Access-to-Egress: A Meta-Analysis of the Factors That Control Emergency Evacuation through the Transport Airplane Type-III Overwing Exit: Final Report; Report No.: DOT/FAA/AM-01/2; Department of Transportation, Federal Aviation Administration (FAA), Office of Aviation Medicine: Washington, DC, USA, 2001.
- parker.com [Internet]. Pneumatic Door Assist System for Armored Vehicles. 2023. Available online: https://www.parker.com/ (accessed on 15 October 2023).
- trimarkcorp.com [Internet]. Intuitive Motion Control System. 2023. Available online: https://www.trimarkcorp.com/mobile/CommandDoor.asp (accessed on 15 October 2023).
- thomsonlinear.com [Internet]. Power Door Opener and Interlocked Combat Lock for Military Vehicles. 2023. Available online: https://www.thomsonlinear.com/ (accessed on 15 October 2023).
- Wei, J.L. Structural design of flip-up doors under armored vehicles. Automob. Appl. Technol. 2019, 44, 156–158. (In Chinese) [Google Scholar] [CrossRef]
- Yang, S. Vehicle door limiting structure for military vehicle. China Patent CN 202500417U, 9 December 2011. [Google Scholar]
- Ji, Y.G.; Qin, Y.; Wang, K.M.; Cao, H.C. Door Opening Limit Mechanism, Door Panel Assembly and Armored Vehicle. China Patent CN 111719970A, 30 March 2019. [Google Scholar]
- Huang, H.L.; Chongqing Dajiang Zhifang Special Equipment Co., Ltd. A Wheeled Armored Vehicle Rear Door Opening Limiter Structure. China Patent CN 112554689B, 22 December 2020. [Google Scholar]
- Marshall, J.; Marshall, R.L. Armored Vehicle Door Release System. U.S. Patent 9347249B2, 19 September 2014. [Google Scholar]
- Pavlov, K.; Johnson, W.E. Military Vehicle Door Quick-Release Mechanism. U.S. Patent 20200392770, 17 December 2020. [Google Scholar]
- military.china.com.cn [Internet]. Black Hawk Main Battle Tank. 2023. Available online: http://military.china.com.cn/node_7162131.htm (accessed on 15 October 2023).
- Sprafke, U.; Fehr, M. Hatch for Combat Vehicle, Especially for Main Battle Tank. European Patent EP 1621844A1, 13 July 2005. [Google Scholar]
- Chen, H.; Li, F.C. Design of quadrilateral zero-Poisson’s ratio metamaterial and its application in ship explosion-proof hatch door. Ocean. Eng. 2022, 266, 112667. [Google Scholar] [CrossRef]
- Hu, Y.; Yang, Q.S. Research on sealing ability of hatch cover of large-depth manned submersible. In Proceedings of the Ninth Plenary Meeting of the Ship Mechanics Academic Committee, Wuxi, China, 23 August 2018; Ship Mechanics Academic Committee of China Shipbuilding Engineering Society, Ed.; 2018; p. 9. [Google Scholar] [CrossRef]
- Yu, S.; Hu, Y.; Wang, F.; Yang, Q. Research on the door opening and closing mechanism of manned submersible in the whole sea. Mach. Des. Res. 2017, 33, 59–62+66. (In Chinese) [Google Scholar] [CrossRef]
- Xu, K.; Zhao, F.H.; Luo, S.; Xue, W. Design and test of automatic opening and closing hatch cover for large diving depth. Ship Eng. 2022, 44, 36–41. (In Chinese) [Google Scholar] [CrossRef]
- Jin, B.X.; Zhan, C.M. Structural design of underwater opening and closing hatch winch. Mech. Eng. 2016, 48, 228–229. (In Chinese) [Google Scholar] [CrossRef]
- Xi, J.S. Research on the design of helicopter sliding door slide rail. China Plant Eng. 2019, 35, 139–140. (In Chinese) [Google Scholar] [CrossRef]
- Wu, S.B.; Wang, W.; Hong, B. Analysis of alarm failure of sliding door locking system of a certain type of helicopter. Aviat. Maint. Eng. 2015, 60, 95–96. (In Chinese) [Google Scholar] [CrossRef]
- Xu, J.T. Test and simulation of helicopter door hydraulic retractable system. China Sci. Technol. Inf. 2022, 34, 30–33. (In Chinese) [Google Scholar] [CrossRef]
- Wang, X.F.; Zhang, W.; Wu, L.; Li, T.N. Design of linkage retracting and retracting mechanism between main landing gear and cabin door of flying wing aircraft. Mech. Electr. Eng. Technol. 2011, 40, 71–73. (In Chinese) [Google Scholar] [CrossRef]
- Ou, W.; Qu, L. Research on application of helicopter door machine gun. Helicopter Tech. 2023, 51, 55–60. (In Chinese) [Google Scholar] [CrossRef]
- Yuan, X.X.; Xiao, K.Y.; Wu, J. Door design based on near space manned aircraft. Manned Spacefl. 2018, 24, 218–226. (In Chinese) [Google Scholar] [CrossRef]
- Tian, Z.Y.; Gao, Z.H.; Wang, M. Optimization design of movement and structural parameters of hatch door expansion and retraction mechanism. Mach. Build. Autom. 2018, 47, 27–31. (In Chinese) [Google Scholar] [CrossRef]
- Zhang, Z.F.; Lin, W.; Cheng, H.; Fan, B.B.; Pi, G.; Luan, H. Optimal design of spacecraft hatch expansion and retraction mechanism based on digital twin. Comput. Integr. Manuf. Syst. 2019, 25, 1371–1380. [Google Scholar] [CrossRef]
- Zhang, W.X.; Ding, X.L.; Dai, J.S. Design and Stability of Operating Mechanism for a Spacecraft Hatch. Chin. J. Aeronaut. 2009, 22, 453–458. [Google Scholar] [CrossRef]
- Zhao, B.H.; Zhang, B.; Bai, Z.Y. Design analysis of the spacecraft hatch zero-gravity environment simulation unloading system. Astronaut. Syst. Eng. Technol. 2019, 3, 21–27. (In Chinese) [Google Scholar]
- Lavalle, S.M.; Kuffner, J.J. Randomized kinodynamic planning. In Proceedings of the Robotics and Automation. 1999: IEEE International Conference on Robotics and Automation, Detroit, MI, USA, 10–15 May 1999; pp. 473–479. [Google Scholar] [CrossRef]
- Qian, H.K.; Shen, X.P.; Zhang, C.F. Design of spacecraft electric and manual integrated cabin door locking mechanism. Aerosp. Shanghai 2015, 32, 56–62. (In Chinese) [Google Scholar] [CrossRef]
- Evernden, B.A.; Guzman, O.J. ORION—Crew Module Side Hatch: Proof Pressure Test Anomaly Investigation; Report No.: 20170010438; Johnson Space Center: Houston, TX, USA, 2018. [Google Scholar]
- Wang, L.; Sun, L.C.; Zhang, H.F.; Shi, J.; Guo, C.; Sun, L.; Yuan, C.; Ren, G.; Zhang, Z.; Qi, J. Spacecraft hatch leak testing. Vacuum 2021, 189, 110233. [Google Scholar] [CrossRef]
- NASA-STD-3001; NASA Spaceflight Human-System Standard Volume 2: Human Factors, Habitability, and Environmental Health. National Aeronautics and Space Administration: Washington, DC, USA, 2023.
- Steve, U.; Oleg, L. Implementation of Leak Test Methods for the International Space Station (ISS) Elements, Systems and Components. In Proceedings of the ESTEC. 6th International Symposium on Environmental Testing for Space Programs, Noordwijk, The Netherlands, 12–14 June 2007. [Google Scholar]
- Zhang, H.F.; Sun, L.C.; Liu, E.J.; Shi, J.J.; Ren, G.H. Development of manned spacecraft cabin door vacuum leak detection equipment. Vac. Cryog. 2018, 24, 327–331. (In Chinese) [Google Scholar] [CrossRef]
- Zhang, H.F.; Sun, L.C.; Wang, L.; Liu, E.; Shi, J.; Sun, L. Research on manned spacecraft cabin door leak detection technology. Vacuum 2022, 59, 8–11. (In Chinese) [Google Scholar] [CrossRef]
- Luo, B.; Ji, Y.M.; Wu, J. Overall design and technical characteristics of the Mengtian Experimental Module of the space station. Shanghai Aerosp. 2023, 40, 1–14. (In Chinese) [Google Scholar] [CrossRef]
- Andrews, T.; Rebecca, S.; Walter, D. NASA Marshall Space Flight Center Human Factors Engineering Analysis of Various Hatch Sizes. In Proceedings of the International Conference on Applied Human Factors and Ergonomics (AHFE), Washington, DC, USA, 24–28 July 2019. [Google Scholar] [CrossRef]
- Ye, C.; He, K.W.; Zhang, P.H.; Liu, W.X.; Zhang, Z.Y. Automatic Disassembly and Assembly Device for Shield Door Mud Door Safety Pin. China Patent CN 204609557U, 30 April 2015. [Google Scholar]
- Wang, Z.T.; Zhao, J.M.; Herren Knecht (Guangzhou) Tunnelling Equipment Co., Ltd. A Quick Locking Device for Shield Machine Cabin Door. China Patent CN 204552370U, 11 February 2015. [Google Scholar]
- Weiss, S.I.; Amir, R. Aerospace Industry. Encyclopedia Britannica, 1 July 2024. Available online: https://www.britannica.com/technology/aerospace-industry (accessed on 17 May 2024).
- NASA-STD-5017; Design and Development Requirements for Mechanisms. National Aeronautics and Space Administration: Washington, DC, USA, 2022.
- NASA-STD-6016; Standard Materials and Processes Requirements for Spacecraft. National Aeronautics and Space Administration: Washington, DC, USA, 2021.
- NASA-STD-5001; Structural Design and Test Factors of Safety for Spaceflight Hardware. National Aeronautics and Space Administration: Washington, DC, USA, 2014.
- NASA-STD-5006; General Welding Requirements for Aerospace Materials. National Aeronautics and Space Administration: Washington, DC, USA, 2015.
- NASA-STD-5002; Load Analyses of Spacecraft and Payloads. National Aeronautics and Space Administration: Washington, DC, USA, 2019.
- NASA-HDBK-5010; Fracture Control Implementation Handbook for Payloads, Experiments, and Similar Hardware. National Aeronautics and Space Administration: Washington, DC, USA, 2017.
- NASA-STD-5018; Strength Design and Verification Criteria for Glass, Ceramics, and Windows in Human Space Flight Applications. National Aeronautics and Space Administration: Washington, DC, USA, 2011.
- ARP4754B; Guidelines for Development of Civil Aircraft and Systems. Society of Automotive Engineers International: Warrendale, PA, USA, 2023.
- MIL-STD-810H; Department of Defense Test Method Standard, Environmental Engineering Considerations and Laboratory Tests. U.S. Army Test and Evaluation Command: Aberdeen Proving Ground, MD, USA, 2019.
- Alam, M.A.; Ya, H.H.; Sapuan, S.M.; Mamat, O.; Parveez, B.; Yusuf, M.; Masood, F.; Ilyas, R.A. Recent Advancements in Advanced Composites for Aerospace Applications: A Review. In Advanced Composites in Aerospace Engineering Applications; Mazlan, N., Sapuan, S., Ilyas, R., Eds.; Springer: Cham, Switzerland, 2022; pp. 319–339. [Google Scholar] [CrossRef]
- NASA-STD-8729.1; Nasa Reliability and Maintainability (R&M) Standard for Spaceflight and Support Systems. National Aeronautics and Space Administration: Washington, DC, USA, 2017.
- Song, K.; Zhang, Y.; Shen, L. Reliability Assessment and Improvement for Aircraft Lock Mechanism with Multiple Failure Modes. J. Fail. Anal. Prev. 2021, 21, 640–648. [Google Scholar] [CrossRef]
- Xu, F.X.; Wang, J.Y.; Lin, H. Multi-objective biomimetic optimization design of stiffeners for automotive door based on vein unit of dragonfly wing. Proc. Inst. Mech. Eng. Part C J. Mech. Eng. Sci. 2022, 236, 4551–4564. [Google Scholar] [CrossRef]
- Xiao, Z.M.; Wu, L.F.; Zhu, D.C.; Li, F. Rib Reinforcement Bionic Topology Optimization under Multi-Scale Cyclic Excitation. Mathematics 2023, 11, 2478. [Google Scholar] [CrossRef]
- Lu, G.C.; Wang, C.Y.; Zhao, W.Z.; Wang, Y.S. A Cactus Bionic Structure Anti-Collision Door and Its Optimized Design Method. China Patent CN 109808467(A), 4 March 2019. [Google Scholar]
- Wang, W.W.; Zhao, W.Z.; Wang, C.Y. A Bionic Clover Negative Poisson’s Ratio Door Anti-Collision System and Its Hierarchical Optimization Method. China Patent CN 114103607(A), 14 October 2021. [Google Scholar]
- Yang, Z.X.; Li, X.; Tang, J.Y.; Huang, H.; Zhao, H.W.; Cheng, W.M.; Liu, S.W.; Li, C.Y.; Xiong, M.J. A Bionic Stick–Slip Piezo-Driven Positioning Platform Designed by Imitating the Structure and Movement of the Crab. J. Bionic Eng. 2023, 20, 2590–2600. [Google Scholar] [CrossRef]
- Ling, M.X.; Yuan, L.; Zhang, X.M. Bionic design of a curvature-adjustable flexure hinge inspired by red blood cells. Precis. Eng. 2023, 81, 124–134. [Google Scholar] [CrossRef]
- Jia, F.D.; Ning, X. An Anti-Escape Space Debris Storage One-Way Door Based on Spider Web Bionic Structure. China Patent CN 112061430(A), 7 September 2020. [Google Scholar]
- Mattheck, G.C. Trees: The Mechanical Design, 1st ed.; Springer: Berlin/Heidelberg, Germany, 1991. [Google Scholar] [CrossRef]
- Mattheck, G.C. Design in Nature: Learning from Trees, 1st ed.; Springer: Berlin/Heidelberg, Germany, 1998. [Google Scholar] [CrossRef]








| Type | Energy Supply | Advantage | Disadvantage |
|---|---|---|---|
| Built-in Side Sliding Doors | Electric | Simple, easy to repair | Excessive resistance, significant noise |
| External Doors | Electric | Low occupancy for the interior space | Poor sealing |
| Sliding Doors | Electric | High security | Low reliability |
| Type | Advantage | Disadvantage |
|---|---|---|
| Folding doors | Simple opening process | Higher air resistance and power consumption and airflow noise |
| Swinging-out parallel moving passenger doors | The larger opening and closing degree | High cost and may hurt passengers |
| Pendulum-type (electric) doors | Tight and reliable | Occupy a larger space |
| Type * | Peculiarity | Common Type |
|---|---|---|
| Straight doors | Easy access | NM |
| Reverse doors | High security | Common |
| Upper doors | NM | Commonly found in sedans, sports cars, and low-chassis vehicles |
| Type * | Advantage | Disadvantage | Driving Mode | Storage Location | Hatch Position | Preferred Ship Type |
|---|---|---|---|---|---|---|
| Tumbling type | Small size Easy to operate | Difficult to modernize and specialize | Chain type | NM | NM | NM |
| Folding type | Quick switch Adjustable range | Difficult to maintain hydraulic systems | Hinge type | Higher than hatch end | Open deck or middle deck | General cargo ships, multi-purpose ships, refrigerated ships, bulk carriers below 35,000 t |
| Side-shifting type | Simple Reliable structure | Suitable for heavier covers | Gear, rack, or chain | Lower than hatch end | Open deck | 40,000–150,000 t large bulk carriers, mineral oil dual-purpose ships |
| Hoisting type | Lighter single-piece hatch Simple structure | Requires hanging device | Boom type | Stacked on Ships or Docks | Open deck or middle deck | Small and medium-sized general cargo ships, multi-purpose ships, large container ships |
| Roller type | Quick switch | Not suitable for large cargo ships | Chain type | NM | NM | NM |
| Dimension | Requirements | |
|---|---|---|
| A | Dimension of Opening (Circular or Rectangular) | ≥810 mm (32 in.) |
| B | Ladder to edge of opening separation | ≤50 mm (2 in.) |
| Type * | Mechanics | Operating Direction | Hatch Position | Principle | Features |
|---|---|---|---|---|---|
| Blocked hatch | NM | Inwards | Located INSIDE the fuselage after opening | The stop block restricts the movement of the hatch when the body is pressurized to ensure that the hatch is closed | 1. ONLY withstands cabin internal pressure |
| Semi-blocked hatch | NM | Inwards | Located OUTSIDE the fuselage after opening | NM | 1. Pressurization inside the cabin is beneficial to improving the air tightness of the cabin hatch 2. DOES NOT occupy body space |
| Non-blocked hatch | Hinge, close slide | NM | NM | NM | 1. Except for internal, ALSO bears the shear force of the fuselage |
| Hatch Location | Inside | Outside | |||||||
|---|---|---|---|---|---|---|---|---|---|
| Passageway | 6″ | 10″ | 13″ | 20″ | 6″ | 10″ | 13″ | 20″ | |
| Density | Motive | ||||||||
| Low (30) | Low | 48.05 | 49.53 | 48.45 | 49.15 | 55.17 | 66.21 | 51.58 | 45.89 |
| High | 51.33 | 66.13 | 53.33 | 44.30 | 56.07 | 48.94 | 51.45 | 51.41 | |
| Medium (50) | Low | 85.67 | 91.80 | 87.14 | 88.45 | 84.87 | 89.57 | 84.00 | 71.89 |
| High | 84.45 | 82.86 | 94.02 | 78.84 | 83.04 | 93.75 | 84.00 | 71.89 | |
| High (70) | Low | 116.69 | 120.37 | 127.75 | 106.03 | 106.12 | 134.99 | 122.08 | 100.96 |
| High | 124.61 | 120.15 | 134.18 | 114.43 | 119.87 | 121.56 | 109.32 | 108.99 | |
| Type | Mechanical System | Advantage | Disadvantage | Use Case |
|---|---|---|---|---|
| Hinged Door | Hinge | Simple structure. Easy to maintain | Large space when opening. Fragile | Traditional |
| Sliding Door | Slide rail; Connecting rod | Large opening. Small external space occupied | Difficult to maintain Affect structural layout | Transportation General purpose |
| Hatch Name * | Time | Country | Body Shape | Main Mechanical Structure | Mechanical Layout | Drive Mode | Turn on Direction | Open Time and Force | Pros and Cons | |
|---|---|---|---|---|---|---|---|---|---|---|
| Mercury | 1958 | US | Tapered Cross Section | Bolt | NM | Manual, Explosion | Outward | NM | NM | |
| Gemini B | 1965–1966 | US | Side Square | Handle, Hinge | NM | Manual, Pyrotechnic actuators | Outward | NM | NM | |
| Apollo | 1961–1972 | US | Side Square | Ratchet Handle, Hinge | Surrounding Layout | Manual | Outward | Open In 3 s. Leave in 30 s | The hatch body: integrated | |
| Orion | 2014 | US | Side Square | Ratchet Handle, Hinge | Surrounding Layout | Manual | Outward | NM | NM | |
| Dragon | 2010 | US | Side Square | NM | Between hatch and bulkhead | Manual | Outward | NM | NM | |
| CST-100 | 2019 | US | Side D-Square | Hinge, Pneumatic Spring | Side | Manual, Pneumatic | Outward | NM | NM | |
| Vostok andVoskhod | 1964 | FSU | NM | Hinge? | NM | Manual, Inflatable Airlock | Inward (Pressure Seal) | NM | NM | |
| Soyuz | Crew Cabin | 1967–1991 | FSU | NM | NM | NM | Manual | Inward (Pressure Seal) | NM | NM |
| Transfer Hatch | NM | Removable Crank | NM | NM | NM | |||||
| Progress (Unmanned Supply Spacecraft) | 1978 | FSU | NM | NM | NM | NM | Inward (Pressure Seal) | NM | NM | |
| PPTS | 2026–2027 | Russia | NM | NM | NM | NM | NM | NM | NM | |
| Shenzhou | 1999–2023 | CN | NM | NM | NM | NM | Inward (Pressure Seal), Outward (Thermal Protection) | NM | NM | |
| Hatch Type | Body Shape | Main Mechanical Structure | Mechanical Layout | Drive Mode | Turn on Direction | Pros and Cons |
|---|---|---|---|---|---|---|
| manual hatches with equal strength beams | Round | Door frame, Hinge, Equally Strong Beams, Locking mechanism | Radial Layout | Manual | Inward | Despite finite element optimization of equally strong beams; hatch remains heavy. |
| manual hatches with spiral compression | Round | Screw Pair, Sliding Pair, Force Amplifying Lever, Groove | Radial Layout | Manual | Inward | Easy to operate with a high multiplication factor of force |
| manual hatches with planetary gear loading | Round | Door frame, Door Axis, Locking and Unlocking mechanism | Radial Layout | Manual | Inward | Easy to operate, greatly affected by the pressure difference on both sides of the hatch |
| Hatch Name * | Time | Country | Body Shape | Main Mechanical Structure | Mechanical Layout | Drive Mode | Turn on Direction | Open Time and Force | Pros and Cons | |
|---|---|---|---|---|---|---|---|---|---|---|
| Skylab | CM | 1973–1974 | US | Side Square | Ratchet Handle, Hinge | Surrounding Layout | Manual | Outward (Pressure Seal) | NM | NM |
| EVA | Side Square | Handle, Hinge | NM | Manual, Pyrotechnic actuators | Outward (Pressure Seal) | |||||
| ASTP (Apollo Soyuz) | CM | 1975 | US | Side Square | Ratchet Handle, Hinge | Surrounding Layout | Manual | Outward (Pressure Seal) | NM | NM |
| DM | NM | NM | NM | NM | Inward (Pressure Seal) | |||||
| ISS (International) | Russia | 2000 | Russia | NM | NM | NM | NM | Inward (Pressure Seal) | 105° Sealing 2 s 25 kg | NM |
| US | 1998 | US | NM | NM | NM | NM | Inward (Pressure Seal) | NM | NM | |
| EU | 2008 | EU | NM | NM | NM | NM | Inward (Pressure Seal) | NM | NM | |
| Japan | 2008 | Japan | NM | NM | NM | NM | Inward (Pressure Seal) | NM | NM | |
| Almaz | CM | 1973–1976 | Russia | NM | NM | NM | NM | Outward (Pressure Seal) | NM | NM |
| Salyut | CM | 1971–1982 | Russia | NM | NM | NM | NM | Inward (Pressure Seal) | NM | NM |
| Mir | DTM | 1986–2001 | Russia | NM | NM | NM | NM | Inward (Pressure Seal) | NM | NM |
| EVA | NM | NM | NM | NM | Outward (Pressure Seal) | NM | NM | |||
| Columbus Lab | 2008 | EU | Ellipse | NM | Radial Layout | Electric Drive | Outward (Pressure Seal) | NM | oval shape is well sealed and saves space in the module | |
| Environment | Design Parameters |
|---|---|
| Sealed cabin environment | Sealed cabin leakage rate: ≤0.045 kg/d |
| Nominal value of air temperature in human activity area in sealed cabin: 23 °C; allowed fluctuation range: 19–26 °C | |
| Cabin pressure: 81.3–104.3 kPa | |
| O2 partial pressure: 20–24 kPa; CO2 ≤ 0.8 kPa | |
| The surface temperature inside the cabin shall not be lower than 12 °C to ensure that no condensation occurs in the working cabin. | |
| Noise indicators in astronaut activity areas: ≤60 dB | |
| Wind speed in astronaut activity areas: 0.08–0.50 m/s |
| Hatch Name * | Time | Country | Body Shape | Main Mechanical Structure | Mechanical Layout | Drive Mode | Turn on Direction | Open Time and Force | Pros and Cons | |
|---|---|---|---|---|---|---|---|---|---|---|
| Space Shuttle Orbiter | Side Hatch | 1981 | US | Round | Hinges, Torque Tubes, support accessories | Surrounding Layout | NM | Outward (Pressure Seal) | 40 inches 133 kg | NM |
| External Airlock | Round | Hinges, Flange | Surrounding Layout | Pyrotechnic actuators | (Dual Pressure Seal) | NM | NM | |||
| Overhead Escape | Top Square | Expanding Tube Assemblies (fuses, bolts, etc.) | Surrounding Layout | Explosion | Inward (Pressure Seal) | NM | NM | |||
| Buran | 1988 | Russia | Side Square | NM | NM | NM | Inward (Pressure Seal), Outward (Thermal Protection) | NM | NM | |
| Hermes Space Shuttle | Hatch 1 | 1992 | EU | D Shaped | NM | Radial Layout | Manual | Sliding Cabin Door | NM | The sliding cabin door opening method saves interior cabin space |
| Hatch 2 | D Shaped | NM | Radial Layout | Manual | Inward | NM | The mechanism is greatly affected by the pressure difference on both sides of the hatch | |||
| Hatch 3 | D Shaped | NM | Surrounding Layout | Manual | Outward | NM | The mechanism is less affected by the pressure difference on both sides of the hatch | |||
| Manual Cabin Door of the Space Laboratory | Interior Door | 1983–1998 | EU | Round | Cam, Spring, Roller | Surrounding Layout | Manual | Outward | NM | Instead of using pressure sealing, more pressing points are used to meet sealing requirements |
| Exterior Door | Round | Drive Wheel, Hinge, Spring | Surrounding Layout | Manual | Inward | NM | The hook requires high processing accuracy and is difficult to process | |||
| Code | Content Overview and Corresponding Sections | Applicable Requirements for Door Design |
|---|---|---|
| NASA-STD-5017 [119] | Chapter 4 requirements cover the design requirements for various structural components, such as springs, bearings, and dampers. | Designers can refer to the relevant design requirements for components. Overall, considerations should include a. stiffness, b. mounting alignment tolerances, c. temperature-induced distortions, d. load-induced distortions., and e. interface friction. |
| NASA-STD-5001 [121] | Chapter 4 requirements cover testing-related requirements such as the selection criteria for safety factors in Section 4.1 and design and test safety factors in Section 4.2. | Designers can refer to this standard during door testing. It details the test procedures, prototype verification, and test factors for different materials. |
| NASA-STD-5006 [122] | Chapter 4 requirements cover welding requirements, such as welding processes in Section 4.5 and welding requirements in Section 4.9. | Manufacturing personnel can refer to this standard during door fabrication, especially for welding aerospace materials. |
| NASA-STD-5002 [123] | Chapter 4 requirements cover payload design requirements, such as load distribution cycles in Section 4.1 and component design in Section 4.3.2. | Designers can refer to this standard for load distribution and design requirements during preliminary design or simulation analysis of the door. |
| NASA-HDBK-5010 [124] | The standard covers fracture-related design requirements in Chapter 5 for component fracture control and in Chapter 6 for fracture methodology assessment. | Designers can refer to this standard for fracture evaluation and analysis of components or the entire system. |
| NASA-STD-6016 [120] | The standard covers material processes and design requirements for numerous materials. | Designers can refer to this standard to ensure the selected materials for the door and its components meet the specified process and design life requirements. |
| NASA-STD-5018 [125] | The standard mainly covers safety and structural integrity requirements for glass, windows, and similar structures. | If the door is designed with observation functions, the design of the glass and window parts should refer to this standard. |
| Mechanical and Structural Elements | Inspiration or Reference | Case | Function |
|---|---|---|---|
| Bionic Reinforcements | Based on natural optimization patterns | Reinforcing ribs inspired by dragonfly wing patterns | Ensuring the door can withstand high stresses without excessive weight |
| Adaptive Hinges | Natural joints, e.g., crab joints and red blood cells | The hinges provide both flexibility and strength | Allowing the door to operate smoothly while handling the mechanical stresses involved |
| Energy Absorption Materials | Inspired by cacti and spider webs | Materials that mimic the energy absorption properties of natural structures | Enhancing the door’s resilience against impacts |
Disclaimer/Publisher’s Note: The statements, opinions and data contained in all publications are solely those of the individual author(s) and contributor(s) and not of MDPI and/or the editor(s). MDPI and/or the editor(s) disclaim responsibility for any injury to people or property resulting from any ideas, methods, instructions or products referred to in the content. |
© 2024 by the authors. Licensee MDPI, Basel, Switzerland. This article is an open access article distributed under the terms and conditions of the Creative Commons Attribution (CC BY) license (https://creativecommons.org/licenses/by/4.0/).
Share and Cite
Cui, Z.; Wu, H.; Zhou, M.; Cui, Z.; Huang, H.; Liu, Z. Research on the Design of Aviation and Aerospace Hatch Door Mechanisms and Their Future Bionic Prospects. Aerospace 2024, 11, 601. https://doi.org/10.3390/aerospace11080601
Cui Z, Wu H, Zhou M, Cui Z, Huang H, Liu Z. Research on the Design of Aviation and Aerospace Hatch Door Mechanisms and Their Future Bionic Prospects. Aerospace. 2024; 11(8):601. https://doi.org/10.3390/aerospace11080601
Chicago/Turabian StyleCui, Zhiwu, Haochang Wu, Ming Zhou, Zhihe Cui, Hao Huang, and Ziyu Liu. 2024. "Research on the Design of Aviation and Aerospace Hatch Door Mechanisms and Their Future Bionic Prospects" Aerospace 11, no. 8: 601. https://doi.org/10.3390/aerospace11080601
APA StyleCui, Z., Wu, H., Zhou, M., Cui, Z., Huang, H., & Liu, Z. (2024). Research on the Design of Aviation and Aerospace Hatch Door Mechanisms and Their Future Bionic Prospects. Aerospace, 11(8), 601. https://doi.org/10.3390/aerospace11080601

