Numerical Calculation of Gas–Liquid Two-Phase Flow in Tesla Valve
Abstract
1. Introduction
2. Mathematical Models and Simulation Methods
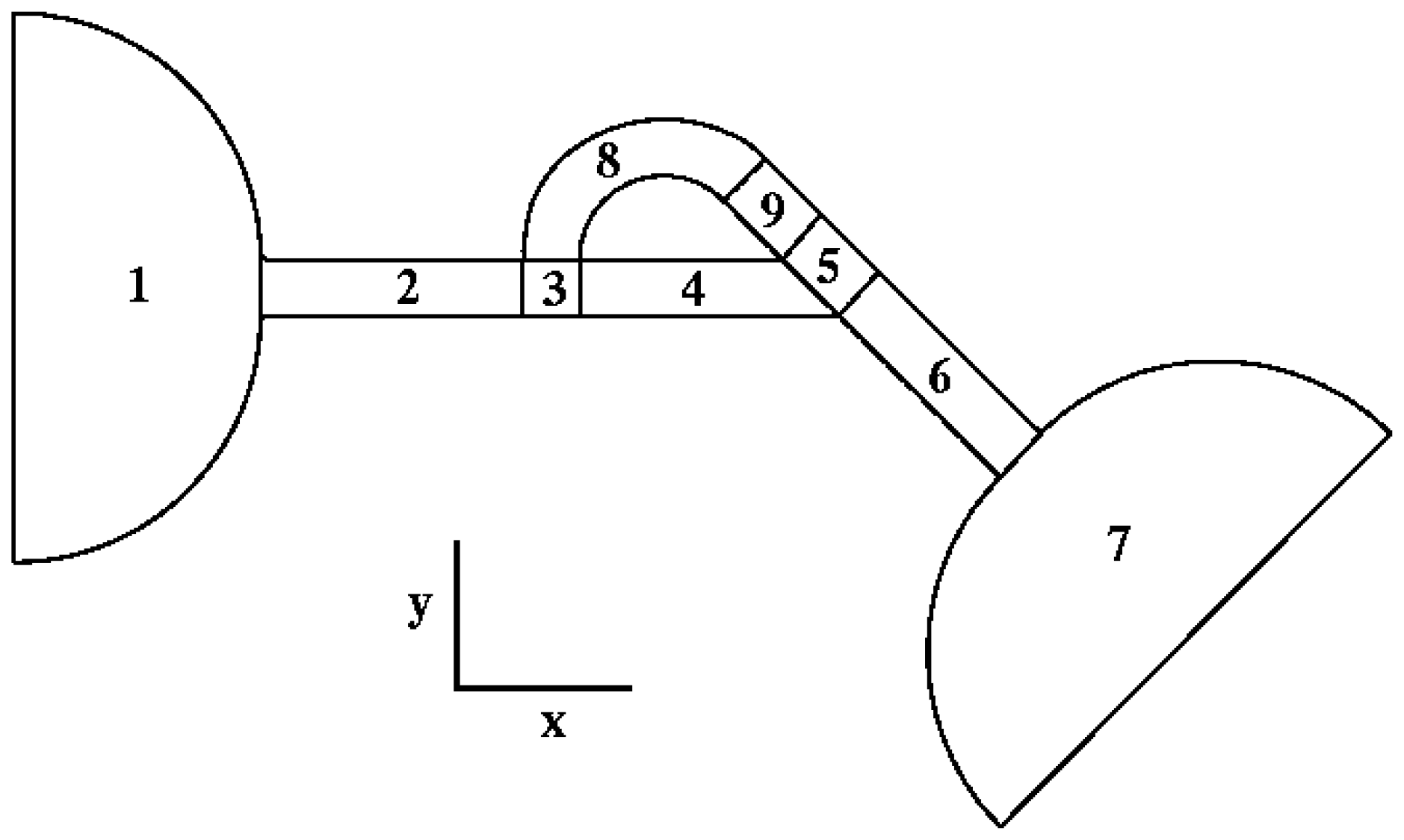
2.1. Geometric Model and Mesh Generation
2.2. Mathematical Model
2.3. Boundary Conditions
3. Model Verification
4. Numerical Simulation Results
4.1. Two-Phase Flow Pattern
4.1.1. Slug Flow
4.1.2. Annular Flow
4.1.3. Bubbly Flow
4.2. Diodicity
5. Conclusions
- The flow pattern in the Tesla valve is related to the inlet velocity. At the low inlet velocity (0.1–0.2 m/s), the flow pattern is slug flow. The bubbles are distributed evenly at different positions in the Tesla valve, and affected by surface tension, the bubble resistance is large, resulting in a small difference between the velocity of the main pipe and the arc branch pipe.
- When the inlet velocity is 0.4 m/s, the main flow pattern in the Tesla valve is annular flow and the gas–liquid phase separation flows through different flow channels, which is related to the pressure gradient generated by centrifugal force.
- At a higher inlet velocity (0.6–0.8 m/s), bubbly flow and slug flow coexist. Due to the dominant role of inertia force, its flow characteristics are closer to single-phase flow, which generates different velocities at different locations, resulting in different flow patterns.
- Within the study range, the difference in the forward and reverse pressure drops of two-phase flow was smaller than that of single-phase flow. The two-phase diodicity remained around 1.0, and decreased first and then increased with the change in inlet velocity, reaching minimum values of 0.78 at 0.2 m/s and 1.44 at 0.8 m/s.
Author Contributions
Funding
Data Availability Statement
Conflicts of Interest
References
- Li, D.; Liu, X.; Deng, W. Application of heat pipe technology in spacecraft thermal control. Spacecr. Environ. Eng. 2016, 33, 9. [Google Scholar]
- Zhang, Y.; Chen, F.; Tian, F. Development on Heat Dissipation Technique of Airborne Electronic Equipment. Aeronaut. Comput. Tech. 2012, 4, 117–120. [Google Scholar]
- Chen, E. The Heating Design Study of Electronic Equipment. Refrigeration 2009, 3, 59–64. [Google Scholar]
- Yang, F. Research on the Thermal Analysis of PCB Circuit. Power Electron. 2011, 45, 91–92. [Google Scholar]
- Nikola, T. Valvular Conduit. U.S. Patent 1329559, 3 February 1920. [Google Scholar]
- Chen, C.; Shen, F.; Liu, Z. Analysis of Internal Flow Field and Research on Configuration Factors of Tesla Valve. In Proceedings of the China Mechanics Conference and the 100th Anniversary Commemorative Conference of Qian Xuesen’s Birthday, Harbin, China, 22–24 August 2011. [Google Scholar]
- Huang, J. Theoretical and Experimental Research on Valveless Piezoelectric Pump with Flow Resistance Difference Tubes; Nanjing University of Aeronautics and Astronautics: Nanjing, China, 2013. [Google Scholar]
- Bardell, R.L. The Diodicity Mechanism of Tesla-Type No-Moving-Parts Valves; University of Washington: Seattle, WA, USA, 2000. [Google Scholar]
- Bendib, S.; Français, O.; Tabeling, P.; Willaime, H. Analytical study and characterization of micro-channel and passive micro-diode. In Proceedings of the 12th Micromechanics Europe Workshop, Cork, Ireland, 16–18 September 2001; pp. 147–150. [Google Scholar]
- Turowski, M.; Chen, Z.; Przekwas, A. Automated generation of compact models for fluidic microsystems. Analog Integr. Circuits Signal Process. 2001, 29, 27–36. [Google Scholar] [CrossRef]
- Thompson, S.M.; Paudel, B.; Jamal, T.; Walters, D.K. Numerical investigation of multistaged tesla valves. J. Fluids Eng. 2014, 136, 081102. [Google Scholar] [CrossRef]
- Xu, Y.; Lin, S.; Den, Y. Research on Topology Optimization Design of Tesla-Type No-Moving-Parts Microvalves. Comput. Simul. 2014, 31, 373–376. [Google Scholar]
- Forster, F.K.; Bardell, R.L.; Afromowitz, M.A.; Sharma, N.R.; Blanchard, A. Design, fabrication and testing of fixed-valve micro-pumps. Asme Publ. Fed 1995, 234, 39–44. [Google Scholar]
- Forster, F.K.; Bardell, R.L.; Blanchard, A.P.; Afromowitz, M.A.; Sharma, N.R. Micropumps with Fixed Valves. U.S. Patent 5876187, 2 March 1999. [Google Scholar]
- Wang, H.; Yao, H.; Du, C. A Micro-pump Based on the Hydro-inertia Effect. Piezoelectr. Acoustoopt. 2006, 28, 43–45. [Google Scholar]
- Izzo, I.; Accoto, D.; Menciassi, A.; Schmitt, L.; Dario, P. Modeling and experimental validation of a piezoelectric micropump with novel no-moving-part valves. Sens. Actuators A Phys. 2007, 133, 128–140. [Google Scholar] [CrossRef]
- Thompson, S.; Ma, H.; Wilson, C. Investigation of a flat-plate oscillating heat pipe with Tesla-type check valves. Exp. Therm. Fluid Sci. 2011, 35, 1265–1273. [Google Scholar] [CrossRef]
- De Vries, S.; Florea, D.; Homburg, F.; Frijns, A.J.H. Design and operation of a Tesla-type valve for pulsating heat pipes. Int. J. Heat Mass Transf. 2017, 105, 1–11. [Google Scholar] [CrossRef]
- Thome, J.R. Boiling in microchannels: A review of experiment and theory. Int. J. Heat Fluid Flow 2004, 25, 128–139. [Google Scholar] [CrossRef]
- Liu, X.; Zhang, S.; Cheng, L.; Chang, W. Flow pattern transition criteria of flow boiling in confined mini/micro-channel. CIESC J. 2013, 64, 1573–1579. [Google Scholar]
























| Property | Water Liquid | Water Vapor |
|---|---|---|
| Density (kg/m3) | 958.36 (100 °C) | 0.5978 (100 °C) |
| Viscosity (Pa∙s) | 2.82 × 10−4 (100 °C) | 1.22 × 10−5 (100 °C) |
| Surface tension coefficient (N/m) | 0.0589 (100 °C) | - |
| Evaporation temperature (°C) | 100 | - |
| Condensation temperature (°C) | - | 100 |
Disclaimer/Publisher’s Note: The statements, opinions and data contained in all publications are solely those of the individual author(s) and contributor(s) and not of MDPI and/or the editor(s). MDPI and/or the editor(s) disclaim responsibility for any injury to people or property resulting from any ideas, methods, instructions or products referred to in the content. |
© 2024 by the authors. Licensee MDPI, Basel, Switzerland. This article is an open access article distributed under the terms and conditions of the Creative Commons Attribution (CC BY) license (https://creativecommons.org/licenses/by/4.0/).
Share and Cite
Gong, J.; Li, G.; Liu, R.; Wang, Z. Numerical Calculation of Gas–Liquid Two-Phase Flow in Tesla Valve. Aerospace 2024, 11, 409. https://doi.org/10.3390/aerospace11050409
Gong J, Li G, Liu R, Wang Z. Numerical Calculation of Gas–Liquid Two-Phase Flow in Tesla Valve. Aerospace. 2024; 11(5):409. https://doi.org/10.3390/aerospace11050409
Chicago/Turabian StyleGong, Jie, Guohua Li, Ran Liu, and Zijuan Wang. 2024. "Numerical Calculation of Gas–Liquid Two-Phase Flow in Tesla Valve" Aerospace 11, no. 5: 409. https://doi.org/10.3390/aerospace11050409
APA StyleGong, J., Li, G., Liu, R., & Wang, Z. (2024). Numerical Calculation of Gas–Liquid Two-Phase Flow in Tesla Valve. Aerospace, 11(5), 409. https://doi.org/10.3390/aerospace11050409
