Research on High-Dynamic Tracking Algorithms for FH-BOC Signals
Abstract
1. Introduction
2. Overview of the FH-BOC Modulation Scheme
2.1. FH-BOC Signal Model
2.2. The Autocorrelation Function and Power Spectral Density of FH-BOC
3. Carrier Tracking Algorithm Based on Kalman Filtering
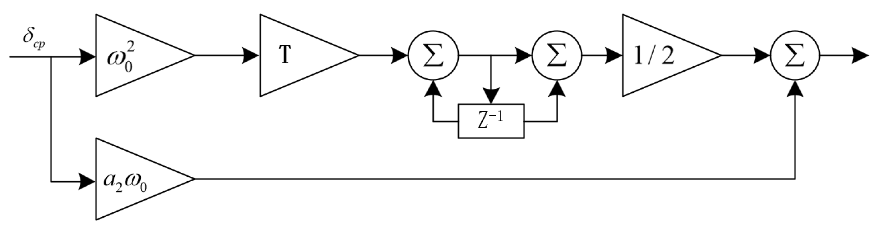
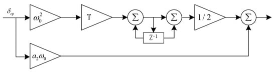
3.1. Linear Kalman Filter-Based Carrier Tracking Loop Design
3.2. Adaptive Kalman Filter-Based Carrier Tracking Loop Design
3.3. Comparison of Carrier Tracking Algorithms
4. Pseudocode and FH Subcarrier Tracking Algorithm
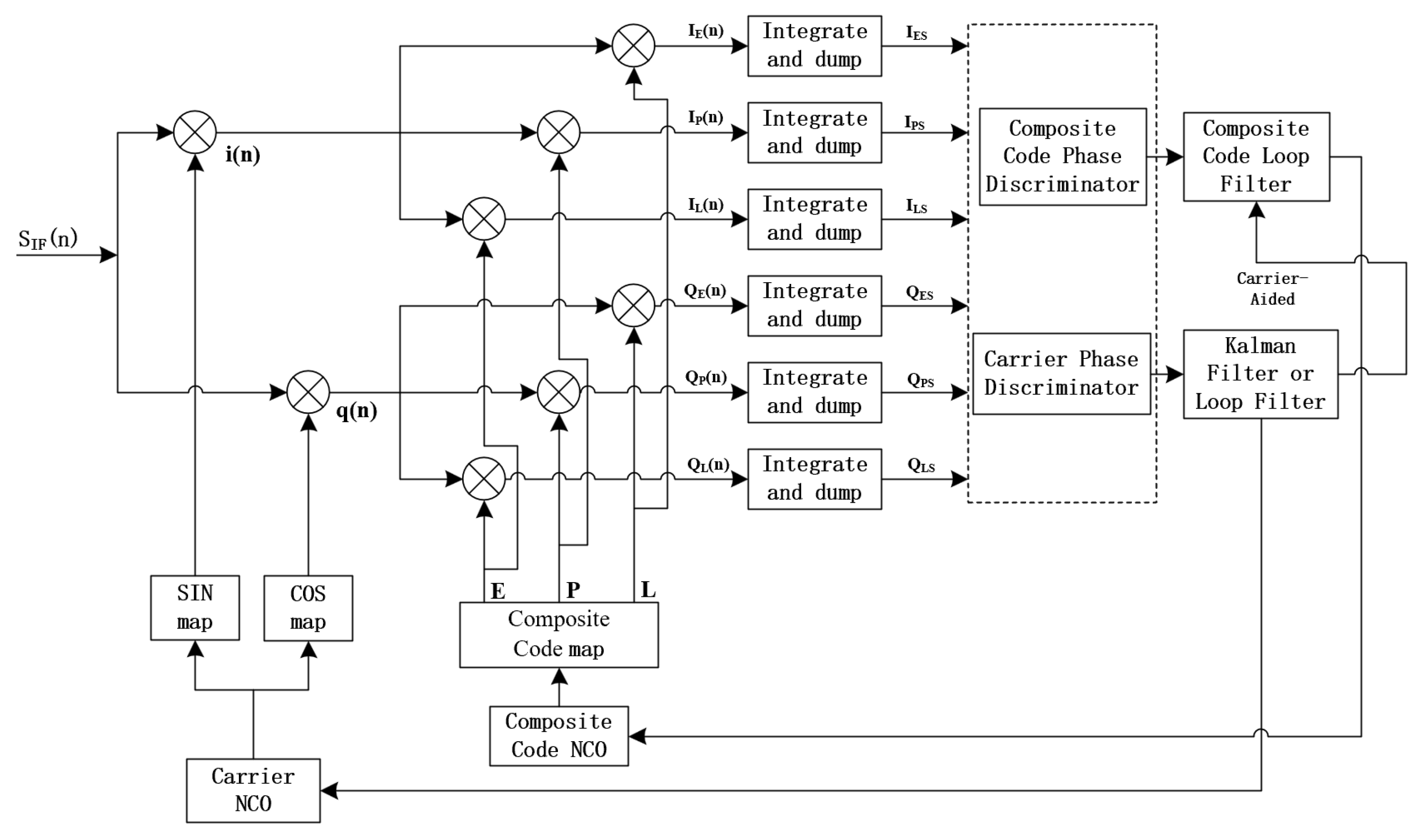
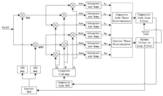
4.1. Design of FH-BOC Modulation Composite Code-Tracking Loop
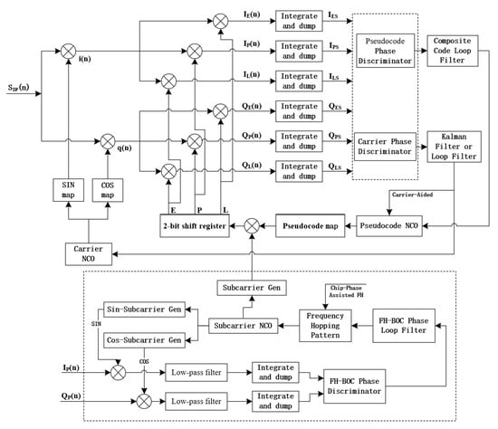
4.2. Design of Frequency-Hopping Subcarrier Phase-Locked Loop
4.3. Comparison of Pseudocode and FH Subcarrier Tracking Algorithm
5. Conclusions
Author Contributions
Funding
Data Availability Statement
Conflicts of Interest
References
- Wang, L.; Chen, R.; Xu, B.; Zhang, X.; Li, T.; Wu, C. The challenges of LEO based navigation augmentation system—Lessons learned from Luojia-1A satellite. In Proceedings of the China Satellite Navigation Conference (CSNC) 2019, Beijing, China, 22–25 May 2019; Volume 2, pp. 298–310. [Google Scholar]
- Ye, L.; Yang, Y.; Jing, X.; Ma, J.; Deng, L.; Li, H. Single-satellite integrated navigation algorithm based on broadband LEO constellation communication links. Remote Sens. 2021, 13, 703. [Google Scholar] [CrossRef]
- Ge, H.; Li, B.; Jia, S.; Nie, L.; Wu, T.; Yang, Z.; Shang, J.; Zheng, Y.; Ge, M. LEO enhanced global navigation satellite system (LeGNSS): Progress, opportunities, and challenges. Geo-Spat. Inf. Sci. 2022, 25, 1–13. [Google Scholar] [CrossRef]
- Shehaj, E.; Capuano, V.; Botteron, C.; Blunt, P.; Farine, P.A. GPS Based Navigation Performance Analysis within and beyond the Space Service Volume for Different Transmitters’ Antenna Patterns. Aerospace 2017, 4, 44. [Google Scholar] [CrossRef]
- Tripathi, V.; Caizzone, S. Virtual Validation of In-Flight GNSS Signal Reception during Jamming for Aeronautics Applications. Aerospace 2024, 11, 204. [Google Scholar] [CrossRef]
- Spilker, J.J., Jr. GPS signal structure and performance characteristics. Navigation 1978, 25, 121–146. [Google Scholar] [CrossRef]
- Betz, J.W. Binary offset carrier modulations for radionavigation. Navigation 2001, 48, 227–246. [Google Scholar] [CrossRef]
- Betz, J.W. The offset carrier modulation for GPS modernization. In Proceedings of the 1999 National Technical Meeting of The Institute of Navigation, San Diego, CA, USA, 25–27 January 1999; pp. 639–648. [Google Scholar]
- Burian, A.; Lohan, E.S.; Renfors, M.K. Efficient delay tracking methods with sidelobes cancellation for BOC-modulated signals. EURASIP J. Wirel. Commun. Netw. 2007, 2007, 72626. [Google Scholar] [CrossRef]
- Hodgart, M.; Blunt, P.; Unwin, M. The optimal dual estimate solution for robust tracking of binary offset carrier (BOC) modulation. In Proceedings of the 20th International Technical Meeting of the Satellite Division of the Institute of Navigation (ION GNSS 2007), Fort Worth, TX, USA, 25–28 September 2007; pp. 1017–1027. [Google Scholar]
- Ye, L.; Yang, Y.; Jing, X.; Li, H.; Yang, H.; Xia, Y. Altimeter+ INS/giant LEO constellation dual-satellite integrated navigation and positioning algorithm based on similar ellipsoid model and UKF. Remote Sens. 2021, 13, 4099. [Google Scholar] [CrossRef]
- Fan, T.; Zhang, T.; Zhang, H.; Mo, J.; Niu, X. A double sideband combined tracking method for Galileo E5 AltBOC signals. Satell. Navig. 2023, 4, 27. [Google Scholar] [CrossRef]
- Arora, D.; Patidar, P. Analysis of Correlation Loss for MBOC Signals. In Proceedings of the 36th International Technical Meeting of the Satellite Division of The Institute of Navigation (ION GNSS+ 2023), Denver, CO, USA, 11–15 September 2023; pp. 3499–3512. [Google Scholar]
- Ma, J.; Yang, Y.; Li, H.; Li, J. FH-BOC: Generalized low-ambiguity anti-interference spread spectrum modulation based on frequency-hopping binary offset carrier. GPS Solut. 2020, 24, 70. [Google Scholar] [CrossRef]
- Ma, J.; Yang, Y.; Ye, L.; Deng, L.; Li, H. Dual-Sideband Constant-Envelope Frequency-Hopping Binary Offset Carrier Multiplexing Modulation for Satellite Navigation. Remote Sens. 2022, 14, 3871. [Google Scholar] [CrossRef]
- Ma, J.; Yang, Y. A generalized anti-interference low-ambiguity dual-frequency multiplexing modulation based on the frequency-hopping technique. IEEE Access 2020, 8, 95288–95300. [Google Scholar] [CrossRef]
- Li, H.; Feng, G.; Zhu, Z. Deep Space TT&C Transponder Technology; Tsinghua University Press: Beijing, China, 2014; p. 197. [Google Scholar]
- Li, H. Principles and Design Methods of Deep Space TT&C System; Tsinghua University Press: Beijing, China, 2014; p. 344. [Google Scholar]
- Ward, P.W.; Betz, J.W.; Hegarty, C.J. Satellite signal acquisition, tracking, and data demodulation. In Understanding GPS: Principles and Applications; Artech House: Norwood, MA, USA, 2006; pp. 153–241. [Google Scholar]
- Vila-Valls, J.; Closas, P.; Navarro, M.; Fernandez-Prades, C. Are PLLs dead? A tutorial on Kalman filter-based techniques for digital carrier synchronization. IEEE Aerosp. Electron. Syst. Mag. 2017, 32, 28–45. [Google Scholar] [CrossRef]
- Tabassum, T.E.; Xu, Z.; Petrunin, I.; Rana, Z.A. Integrating GRU with a Kalman Filter to Enhance Visual Inertial Odometry Performance in Complex Environments. Aerospace 2023, 10, 923. [Google Scholar] [CrossRef]
- Hamm, C.R.; Bevly, D.M. Simulated performance analysis of a composite vector tracking and navigation filter. In Proceedings of the 18th International Technical Meeting of the Satellite Division of The Institute of Navigation (ION GNSS 2005), Long Beach, CA, USA, 13–16 September 2005; pp. 478–487. [Google Scholar]
- Kreye, C.; Eissfeller, B.; Winkel, J.Ó. Improvements of GNSS receiver performance using deeply coupled INS measurements. In Proceedings of the 13th International Technical Meeting of the Satellite Division of The Institute of Navigation (ION GPS 2000), Salt Lake City, UT, USA, 19–22 September 2000; pp. 844–854. [Google Scholar]
- Kreye, C.; Eissfeller, B.; Ameres, G. Architectures of GNSS/INS Integrations: Theoretical Approach and Practical Tests. Available online: https://citeseerx.ist.psu.edu/document?repid=rep1&type=pdf&doi=7c18c82f6ab7e332bf0186b80383714113d1a68e (accessed on 1 January 2022).
- Li, B.; Guo, W.; Niu, X.; Ziedan, N.I.; Liu, J. Parameters Design Method of Kalman Filter-Based Tracking Loop in GNSS/INS Deep Integration. In Proceedings of the China Satellite Navigation Conference (CSNC) 2017, Shanghai, China, 23–25 May 2017; Volume 1, pp. 933–943. [Google Scholar]
- Cheng, Y.; Zhang, S.; Wang, X.; Wang, H.; Yang, H. Kalman Filter with Adaptive Covariance Estimation for Carrier Tracking under Weak Signals and Dynamic Conditions. Electronics 2024, 13, 1288. [Google Scholar] [CrossRef]
- Lian, P. Improving Tracking Performance of PLL in High Dynamic Applications. Master’s Thesis, University of Calgary, Calgary, AB, Canada, November 2004. [Google Scholar]
- Lopez-Salcedo, J.A.; Del Peral-Rosado, J.A.; Seco-Granados, G. Survey on robust carrier tracking techniques. IEEE Commun. Surv. Tutorials 2013, 16, 670–688. [Google Scholar] [CrossRef]
- Klokov, A.; Kanouj, M.; Mironchev, A. A novel carrier tracking approach for GPS signals based on Gauss-Hermite Kalman filter. Electronics 2022, 11, 2215. [Google Scholar] [CrossRef]
- Li, W.; Liu, S.; Zhou, C.; Zhou, S.; Wang, T. High dynamic carrier tracking using Kalman filter aided phase-lock loop. In Proceedings of the 2007 International Conference on Wireless Communications, Networking and Mobile Computing, Shanghai, China, 21–25 September 2007; pp. 673–676. [Google Scholar]
- Mu, R.; Chu, Y.; Zhang, H.; Liang, H. A Multiple-Step, Randomly Delayed, Robust Cubature Kalman Filter for Spacecraft-Relative Navigation. Aerospace 2023, 10, 289. [Google Scholar] [CrossRef]
- Julien, O.; Macabiau, C.; Bertrand, E. Analysis of Galileo E1 OS unbiased BOC/CBOC tracking techniques for mass market applications. In Proceedings of the 2010 5th ESA Workshop on Satellite Navigation Technologies and European Workshop on GNSS Signals and Signal Processing (NAVITEC), Noordwijk, The Netherlands, 8–10 December 2010; pp. 1–8. [Google Scholar]
- Ren, J.; Jia, W.; Chen, H.; Yao, M. Unambiguous tracking method for alternative binary offset carrier modulated signals based on dual estimate loop. IEEE Commun. Lett. 2012, 16, 1737–1740. [Google Scholar] [CrossRef]
- Borio, D. Double phase estimator: New unambiguous binary offset carrier tracking algorithm. IET Radar, Sonar Navig. 2014, 8, 729–741. [Google Scholar] [CrossRef]
- Vilnrotter, V.A.; Hinedi, S.; Kumar, R. Frequency estimation techniques for high dynamic trajectories. IEEE Trans. Aerosp. Electron. Syst. 1989, 25, 559–577. [Google Scholar] [CrossRef]
- Soken, H.E.; Hajiyev, C. Adaptive fading UKF with Q-adaptation: Application to picosatellite attitude estimation. J. Aerosp. Eng. 2013, 26, 628–636. [Google Scholar] [CrossRef]
- Song, M.; Astroza, R.; Ebrahimian, H.; Moaveni, B.; Papadimitriou, C. Adaptive Kalman filters for nonlinear finite element model updating. Mech. Syst. Signal Process. 2020, 143, 106837. [Google Scholar] [CrossRef]
- Kaplan, E.D.; Hegarty, C. Understanding GPS/GNSS: Principles and Applications; Artech House: Norwood, MA, USA, 2017. [Google Scholar]
- Li, H.; Fan, M.; Huang, Y.; Cheng, C.; Li, P.; Zhang, Z. Compensation for time-tag bias of Doppler measurement from Chang’e-3 probe. Sci. Sin. Inf. 2020, 50, 1932. [Google Scholar] [CrossRef]
- Wang, W.; Lu, Z.; Tian, Y.; Bian, L.; Wang, G.; Zhang, L. Doppler-Aided Positioning for Fused LEO Navigation Systems. Aerospace 2023, 10, 864. [Google Scholar] [CrossRef]

















| Simulation Parameter | Value |
|---|---|
| Signal modulation scheme | |
| Carrier radio frequency | 32 GHz |
| Intermediate frequency | 140 MHz |
| Sampling frequency | 400 MHz |
| Doppler motion model | JPL high-dynamic signal model |
| Initial residual frequency | 250 Hz |
| Coherent integration time | 1 ms |
| Loop Tracking Accuracy | 45 dB·Hz | 50 dB·Hz | 55 dB·Hz | 60 dB·Hz | |
|---|---|---|---|---|---|
| 2nd-Order FLL-Aided 3rd-Order PLL | Carrier Phase Tracking std (°) | 21.94 | 15.34 | 12.83 | 11.97 |
| Doppler Tracking std (Hz) | 82.08 | 44.83 | 25.14 | 14.36 | |
| 3rd-Order linear Kalman tracking | Carrier Phase Tracking std (°) | 8.50 | 4.66 | 2.97 | 2.09 |
| Doppler Tracking std (Hz) | 18.54 | 9.39 | 4.86 | 2.96 | |
| Adaptive Kalman tracking | Carrier Phase Tracking std (°) | 4.56 | 2.75 | 1.60 | 1.01 |
| Doppler Tracking std (Hz) | 5.55 | 3.26 | 2.05 | 1.35 | |
| Loop Order | Noise Bandwidth (Hz) | Natural Radian Frequency | Filter Values |
|---|---|---|---|
| 2 | 2 Hz | ||
| Simulation Parameter | Value |
|---|---|
| Signal modulation scheme | |
| Employed pseudocode | CA code |
| Pseudocode length | 1023 (chips) |
| Pseudocode rate | 1.023 (MHz) |
| Doppler motion model | JPL high-dynamic signal model |
| Initial residual composite code phase | 0.01 (chips) |
| Coherent integration time | 1 (ms) |
| Loop Tracking Accuracy | 45 dB·Hz | 50 dB·Hz | 55 dB·Hz | 60 dB·Hz |
|---|---|---|---|---|
| Pseudorange measurement std (cm) | 4.4899 | 2.5724 | 1.4415 | 0.8208 |
| Loop Tracking Accuracy | 45 dB·Hz | 50 dB·Hz | 55 dB·Hz | 60 dB·Hz |
|---|---|---|---|---|
| Pseudorange measurement std (cm) | 8.5489 | 4.5646 | 2.4174 | 1.1356 |
Disclaimer/Publisher’s Note: The statements, opinions and data contained in all publications are solely those of the individual author(s) and contributor(s) and not of MDPI and/or the editor(s). MDPI and/or the editor(s) disclaim responsibility for any injury to people or property resulting from any ideas, methods, instructions or products referred to in the content. |
© 2024 by the authors. Licensee MDPI, Basel, Switzerland. This article is an open access article distributed under the terms and conditions of the Creative Commons Attribution (CC BY) license (https://creativecommons.org/licenses/by/4.0/).
Share and Cite
Li, X.; Zhao, S.; Hou, X.; Wang, L.; Zhang, Y. Research on High-Dynamic Tracking Algorithms for FH-BOC Signals. Aerospace 2024, 11, 987. https://doi.org/10.3390/aerospace11120987
Li X, Zhao S, Hou X, Wang L, Zhang Y. Research on High-Dynamic Tracking Algorithms for FH-BOC Signals. Aerospace. 2024; 11(12):987. https://doi.org/10.3390/aerospace11120987
Chicago/Turabian StyleLi, Xue, Shun Zhao, Xinyue Hou, Lulu Wang, and Yinsen Zhang. 2024. "Research on High-Dynamic Tracking Algorithms for FH-BOC Signals" Aerospace 11, no. 12: 987. https://doi.org/10.3390/aerospace11120987
APA StyleLi, X., Zhao, S., Hou, X., Wang, L., & Zhang, Y. (2024). Research on High-Dynamic Tracking Algorithms for FH-BOC Signals. Aerospace, 11(12), 987. https://doi.org/10.3390/aerospace11120987

