Education Deserts and Local Outcomes: Spatial Dimensions of Educational Inequalities in Romania
Abstract
1. Introduction
1.1. Defining Education Deserts
1.2. Measuring Spatial Accessibility to Education
1.3. Living Far from School
1.4. Romanian Educational Context
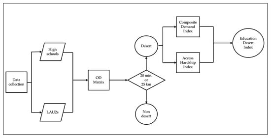
2. Materials and Methods
2.1. Study Area
2.1.1. The Romanian Educational System
2.1.2. The High School-Aged Population
2.2. Data Source
2.3. Methods
2.3.1. Identification of Education Deserts
2.3.2. Evaluation of the Degree of Education Desertification
- the weight assigned to indicator i (in this case, all are equal to 1)
- the raw value of indicator i for unit j
- the normalisation function, which depends on the direction of the indicator (whether a higher value means a better or worse situation)
- the weight assigned to the indicator
- he raw value of indicator i for LAU 2 unit j
- the standardised value of indicator i for unit j obtained through a normalisation procedure
3. Results
3.1. Education Deserts in Romania
3.2. Composite Demand Index
3.3. Access Hardship Index
3.4. Education Desert Index
4. Discussion
Limitations of the Study
5. Conclusions
Author Contributions
Funding
Data Availability Statement
Conflicts of Interest
References
- Žalėnienė, I.; Pereira, P. Higher Education for Sustainability: A Global Perspective. Geogr. Sustain. 2021, 2, 99–106. [Google Scholar] [CrossRef]
- Mayhew, S. A Dictionary of Geography, 5th ed.; Oxford University Press: Oxford, UK, 2015; ISBN 978-0-19-968085-6. [Google Scholar]
- Hallett, L.F.; McDermott, D. Quantifying the Extent and Cost of Food Deserts in Lawrence, Kansas, USA. Appl. Geogr. 2011, 31, 1210–1215. [Google Scholar] [CrossRef]
- Allcott, H.; Diamond, R.; Dubé, J.-P.; Handbury, J.; Rahkovsky, I.; Schnell, M. Food Deserts and the Causes of Nutritional Inequality. Q. J. Econ. 2019, 134, 1793–1844. [Google Scholar] [CrossRef]
- Ploeg, M.V.; Breneman, V.; Farrigan, T.; Hamrick, K.; Hopkins, D.; Kaufman, P.; Lin, B.-H.; Nord, M.; Smith, T.; Williams, R.; et al. Access to Affordable and Nutritious Food: Measuring and Understanding Food Deserts and Their Consequences; Diane Publishing: Darby, PA, USA, 2010. [Google Scholar]
- Beaulac, J.; Kristjansson, E.; Cummins, S. A Systematic Review of Food Deserts, 1966–2007. Prev. Chronic Dis. 2009, 6, A105. [Google Scholar]
- Mathis, W.S.; Berenbrok, L.A.; Kahn, P.A.; Appolon, G.; Tang, S.; Hernandez, I. Vulnerability Index Approach to Identify Pharmacy Deserts and Keystone Pharmacies. JAMA Netw. Open 2025, 8, e250715. [Google Scholar] [CrossRef]
- Qato, D.M.; Daviglus, M.L.; Wilder, J.; Lee, T.; Qato, D.; Lambert, B. ‘Pharmacy Deserts’ Are Prevalent in Chicago’s Predominantly Minority Communities, Raising Medication Access Concerns. Health Aff. 2014, 33, 1958–1965. [Google Scholar] [CrossRef]
- Catalano, G.; Khan, M.M.M.; Chatzipanagiotou, O.P.; Pawlik, T.M. Pharmacy Accessibility and Social Vulnerability. JAMA Netw. Open 2024, 7, e2429755. [Google Scholar] [CrossRef]
- Dubas-Jakóbczyk, K.; Gonzalez, A.I.; Domagała, A.; Astier-Peña, M.P.; Vicente, V.C.; Planet, A.; Quadrado, A.; Serrano, R.M.; Abellán, I.S.; Ramos, A.; et al. Medical Deserts in Spain—Insights from an International Project. Health Plan. Manag. 2024, 39, 708–721. [Google Scholar] [CrossRef]
- AHEAD. National Policy Dialogue: Romania-Policy Options for Addressing Medical Deserts. 2023. Available online: https://ahead.health/wp-content/uploads/2023/07/AHEAD_Romania-policy-brief_English_REUPLOAD-1.pdf (accessed on 20 September 2025).
- Brînzac, M.G.; Kuhlmann, E.; Dussault, G.; Ungureanu, M.I.; Cherecheș, R.M.; Baba, C.O. Defining Medical Deserts—An International Consensus-Building Exercise. Eur. J. Public Health 2023, 33, 785–788. [Google Scholar] [CrossRef]
- Petre, A.A. Spatial Distribution of Human Capital in Romania. Hum. Geogr.—J. Stud. Res. Hum. Geogr. 2021, 16, 229–241. [Google Scholar] [CrossRef]
- Widener, M.J.; Shannon, J. When Are Food Deserts? Integrating Time into Research on Food Accessibility. Health Place 2014, 30, 1–3. [Google Scholar] [CrossRef]
- Abel, J.R.; Deitz, R. Do Colleges and Universities Increase Their Region’s Human Capital? J. Econ. Geogr. 2012, 12, 667–691. [Google Scholar] [CrossRef]
- Hillman, N.W. Geography of College Opportunity: The Case of Education Deserts. Am. Educ. Res. J. 2016, 53, 987–1021. [Google Scholar] [CrossRef]
- González Canché, M.S. Nearby College Enrollment and Geographical Skills Mismatch: (Re) Conceptualizing Student Out-Migration in the American Higher Education System. J. High. Educ. 2018, 89, 892–934. [Google Scholar] [CrossRef]
- Klasik, D.; Blagg, K.; Pekor, Z. Out of the Education Desert: How Limited Local College Options Are Associated with Inequity in Postsecondary Opportunities. Soc. Sci. 2018, 7, 165. [Google Scholar] [CrossRef]
- Muhaimin, A.A.; Gamal, A.; Setianto, M.A.S.; Larasati, W.L. The Spatial Justice of School Distribution in Jakarta. Heliyon 2022, 8, e11369. [Google Scholar] [CrossRef]
- Tieken, M.C.; Auldridge-Reveles, T.R. Rethinking the School Closure Research: School Closure as Spatial Injustice. Rev. Educ. Res. 2019, 89, 917–953. [Google Scholar] [CrossRef]
- Turley, R.N.L. College Proximity: Mapping Access to Opportunity. Sociol. Educ. 2009, 82, 126–146. [Google Scholar] [CrossRef]
- Tatit, P.; Adhinugraha, K.; Taniar, D. Navigating the Maps: Euclidean vs. Road Network Distances in Spatial Queries. Algorithms 2024, 17, 29. [Google Scholar] [CrossRef]
- Zheng, Z.; Xia, H.; Ambinakudige, S.; Qin, Y.; Li, Y.; Xie, Z.; Zhang, L.; Gu, H. Spatial Accessibility to Hospitals Based on Web Mapping API: An Empirical Study in Kaifeng, China. Sustainability 2019, 11, 1160. [Google Scholar] [CrossRef]
- Wang, J.; Su, Y.; Chen, Z.; Tang, L.; Wang, G.; Wang, J. Assessing the Spatial Accessibility of Urban Medical Facilities in Multi-Level and Multi-Period Scales Based on Web Mapping API and an Improved Potential Model. IJGI 2022, 11, 545. [Google Scholar] [CrossRef]
- Liu, A.; Kelobonye, K.; Zhou, Z.; Xu, Q.; Xu, Z.; Han, L. School Commuting Mode Shift: A Scenario Analysis for Active School Commuting Using GIS and Online Map API. IJGI 2020, 9, 520. [Google Scholar] [CrossRef]
- Hillman, N.; Weichman, T. Education Deserts: The Continued Significance of “Place” in the Twenty-First Century; Viewpoints: Voices from the Field; American Council on Education: Washington, DC, USA, 2016. [Google Scholar]
- Yang, Y.; Sun, Y.; Yang, Y. Analysis of Spatial Accessibility for Rural School Redistricting in West China: A Case Study of the Primary Schools in Zhenyuan County, Yunnan Province. In Proceedings of the 2017 4th International Conference on Information Science and Control Engineering (ICISCE), Changsha, China, 21–23 July 2017; IEEE: Changsha, China, 2017; pp. 193–197. [Google Scholar]
- Zhu, Y.; Zinda, J.A.; Liu, Q.; Wang, Y.; Fu, B.; Li, M. Accessibility of Primary Schools in Rural Areas and the Impact of Topography: A Case Study in Nanjiang County, China. Land 2023, 12, 1134. [Google Scholar] [CrossRef]
- Vitale Brovarone, E.; Cotella, G. Improving Rural Accessibility: A Multilayer Approach. Sustainability 2020, 12, 2876. [Google Scholar] [CrossRef]
- Allen, J.M.; Wright, S.; Cranston, N.; Watson, J.; Beswick, K.; Hay, I. Raising Levels of School Student Engagement and Retention in Rural, Regional and Disadvantaged Areas: Is It a Lost Cause? Int. J. Incl. Educ. 2018, 22, 409–425. [Google Scholar] [CrossRef]
- Xiang, L.; Stillwell, J.; Burns, L.; Heppenstall, A.; Norman, P. A Geodemographic Classification of Sub-Districts to Identify Education Inequality in Central Beijing. Comput. Environ. Urban Syst. 2018, 70, 59–70. [Google Scholar] [CrossRef]
- Xiang, L.; Stillwell, J.; Burns, L.; Heppenstall, A. Measuring and Assessing Regional Education Inequalities in China under Changing Policy Regimes. Appl. Spat. Anal. 2020, 13, 91–112. [Google Scholar] [CrossRef]
- Ogryzek, M.; Podawca, K.; Cienciała, A. Geospatial Tools in the Analyses of Land Use in the Perspective of the Accessibility of Selected Educational Services in Poland. Land Use Policy 2022, 122, 106373. [Google Scholar] [CrossRef]
- Andersson, E.; Malmberg, B.; Östh, J. Travel-to-School Distances in Sweden 2000–2006: Changing School Geography with Equality Implications. J. Transp. Geogr. 2012, 23, 35–43. [Google Scholar] [CrossRef]
- Gao, Y.; He, Q.; Liu, Y.; Zhang, L.; Wang, H.; Cai, E. Imbalance in Spatial Accessibility to Primary and Secondary Schools in China: Guidance for Education Sustainability. Sustainability 2016, 8, 1236. [Google Scholar] [CrossRef]
- Xu, Y.; Song, W.; Liu, C. Social-Spatial Accessibility to Urban Educational Resources under the School District System: A Case Study of Public Primary Schools in Nanjing, China. Sustainability 2018, 10, 2305. [Google Scholar] [CrossRef]
- Wang, Y.; Liu, Y.; Xing, L.; Zhang, Z. An Improved Accessibility-Based Model to Evaluate Educational Equity: A Case Study in the City of Wuhan. IJGI 2021, 10, 458. [Google Scholar] [CrossRef]
- Jiang, L.; Chen, J.; Tian, Y.; Luo, J. Spatial Pattern and Influencing Factors of Basic Education Resources in Rural Areas around Metropolises—A Case Study of Wuhan City’s New Urban Districts. IJGI 2022, 11, 576. [Google Scholar] [CrossRef]
- Yao, L.; Lv, M.; Li, T.; Wang, D.; Cao, X. Exploring the Evolution of the Accessibility of Educational Facilities and Its Influencing Factors in Mountainous Areas: A Case Study of the Rocky Desertification Area in Yunnan, Guangxi, and Guizhou. IJGI 2022, 11, 296. [Google Scholar] [CrossRef]
- Weiss, D.J.; Nelson, A.; Gibson, H.S.; Temperley, W.; Peedell, S.; Lieber, A.; Hancher, M.; Poyart, E.; Belchior, S.; Fullman, N.; et al. A Global Map of Travel Time to Cities to Assess Inequalities in Accessibility in 2015. Nature 2018, 553, 333–336. [Google Scholar] [CrossRef]
- Rodriguez-Segura, D.; Kim, B.H. The Last Mile in School Access: Mapping Education Deserts in Developing Countries. Dev. Eng. 2021, 6, 100064. [Google Scholar] [CrossRef]
- Asnawi, S.; Dimyati, M.; Yusuf, R. Education Deserts Mapping of Public Middle Schools in Bogor City: A Step Towards Educational Equity. IOP Conf. Ser. Earth Environ. Sci. 2024, 1353, 012037. [Google Scholar] [CrossRef]
- Alexander, M.; Massaro, V.A. School Deserts: Visualizing the Death of the Neighborhood School. Policy Futures Educ. 2020, 18, 787–805. [Google Scholar] [CrossRef]
- Ewing, R.; Schroeer, W.; Greene, W. School Location and Student Travel Analysis of Factors Affecting Mode Choice. Transp. Res. Rec. J. Transp. Res. Board 2004, 1895, 55–63. [Google Scholar] [CrossRef]
- Pooley, C.G.; Turnbull, J.; Adams, M. Journey to School in Britain since the 1940s: Continuity and Change. Area 2005, 37, 43–53. [Google Scholar] [CrossRef]
- Müller, S.; Tscharaktschiew, S.; Haase, K. Travel-to-School Mode Choice Modelling and Patterns of School Choice in Urban Areas. J. Transp. Geogr. 2008, 16, 342–357. [Google Scholar] [CrossRef]
- Mei, D.; Xiu, C.; Feng, X.; Wei, Y. Study of the School–Residence Spatial Relationship and the Characteristics of Travel-to-School Distance in Shenyang. Sustainability 2019, 11, 4432. [Google Scholar] [CrossRef]
- Rekha, R.S.; Radhakrishnan, N.; Mathew, S. Spatial Accessibility Analysis of Schools Using Geospatial Techniques. Spat. Inf. Res. 2020, 28, 699–708. [Google Scholar] [CrossRef]
- Lotfata, A.; Tao, R.; Su, Y. Evaluating the Walking Accessibility of Cook County’s Public Schools to Use as Open Space. Int. J. Urban Sci. 2023, 27, 1–18. [Google Scholar] [CrossRef]
- Marique, A.-F.; Dujardin, S.; Teller, J.; Reiter, S. School Commuting: The Relationship between Energy Consumption and Urban Form. J. Transp. Geogr. 2013, 26, 1–11. [Google Scholar] [CrossRef]
- Arretche, M. The Geography of Access to Basic Services in Brazil. In Paths of Inequality in Brazil; Arretche, M., Ed.; Springer International Publishing: Cham, Switzerland, 2019; pp. 137–161. ISBN 978-3-319-78183-9. [Google Scholar]
- Chairassamee, N.; Chancharoenchai, K.; Saraithong, W. Getting There: How Commuting Time and Distance Impact Students’ Health. PLoS ONE 2024, 19, e0314687. [Google Scholar] [CrossRef]
- Hamnett, C.; Butler, T. ‘Geography Matters’: The Role Distance Plays in Reproducing Educational Inequality in East London. Trans. Inst. Br. Geogr. 2011, 36, 479–500. [Google Scholar] [CrossRef]
- Das, B.; Das, A. Is Distance to Secondary School a Barrier to Secondary and Higher Education in India? Millenn. Asia 2023, 14, 102–126. [Google Scholar] [CrossRef]
- Yue, Z.; Zhao, K. Understanding the Effectiveness of Higher Education System: Evidences from Market Outcomes of Early University Graduates in Seven European Countries. Sustainability 2020, 12, 7761. [Google Scholar] [CrossRef]
- Park, P.N.; Sanders, S.R.; Cope, M.R.; Muirbrook, K.A.; Ward, C. New Perspectives on the Community Impact of Rural Education Deserts. Sustainability 2021, 13, 12124. [Google Scholar] [CrossRef]
- Gibbons, S.; Vignoles, A. Geography, Choice and Participation in Higher Education in England. Reg. Sci. Urban Econ. 2012, 42, 98–113. [Google Scholar] [CrossRef]
- Falch, T.; Lujala, P.; Strøm, B. Geographical Constraints and Educational Attainment. Reg. Sci. Urban Econ. 2013, 43, 164–176. [Google Scholar] [CrossRef]
- Engberg, J.; Gill, B.; Zamarro, G.; Zimmer, R. Closing Schools in a Shrinking District: Do Student Outcomes Depend on Which Schools Are Closed? J. Urban Econ. 2012, 71, 189–203. [Google Scholar] [CrossRef]
- Mandic, S.; Sandretto, S.; Hopkins, D.; Wilson, G.; Kidd, G.; García Bengoechea, E. School Choice, Distance to School and Travel to School Patterns among Adolescents. J. Transp. Health 2023, 33, 101704. [Google Scholar] [CrossRef]
- Frenette, M. Too Far to Go On? Distance to School and University Participation. Educ. Econ. 2006, 14, 31–58. [Google Scholar] [CrossRef]
- Schultz, T.W. Capital Formation by Education. J. Political Econ. 1960, 68, 571–583. [Google Scholar] [CrossRef]
- Long, Y.; Jia, C.; Luo, X.; Sun, Y.; Zuo, W.; Wu, Y.; Wu, Y.; Kaierdebieke, A.; Lin, Z. The Impact of Higher Education on Health Literacy: A Comparative Study between Urban and Rural China. Sustainability 2022, 14, 12142. [Google Scholar] [CrossRef]
- Cutler, D.M.; Lleras-Muney, A. Understanding Differences in Health Behaviors by Education. J. Health Econ. 2010, 29, 1–28. [Google Scholar] [CrossRef]
- Lochner, L.; Moretti, E. The Effect of Education on Crime: Evidence from Prison Inmates, Arrests, and Self-Reports. Am. Econ. Rev. 2004, 94, 155–189. [Google Scholar] [CrossRef]
- Vitale, M.; Millward, H.; Spinney, J. School Siting and Mode Choices for School Travel: Rural–Urban Contrasts in Halifax, Nova Scotia, Canada. Case Stud. Transp. Policy 2019, 7, 64–72. [Google Scholar] [CrossRef]
- Kirshner, B.; Gaertner, M.; Pozzoboni, K. Tracing Transitions: The Effect of High School Closure on Displaced Students. Educ. Eval. Policy Anal. 2010, 32, 407–429. [Google Scholar] [CrossRef]
- Bell, C.A. Space and Place: Urban Parents’ Geographical Preferences for Schools. Urban Rev. 2007, 39, 375–404. [Google Scholar] [CrossRef]
- Institutul National de Statistică. Populația Școlară. 2024. Available online: https://insse.ro/cms/sites/default/files/com_presa/com_pdf/sistemul_educational_2024_r.pdf (accessed on 15 September 2025).
- EUROSTAT Early Leavers from Education and Training. Statistics Explained. Available online: https://ec.europa.eu/eurostat/statistics-explained/SEPDF/cache/1150.pdf (accessed on 10 October 2025).
- OECD. Education at a Glance 2024 Sources, Methodologies and Technical Notes; OECD Publishing: Paris, France, 2024. [Google Scholar]
- OECD. Responsive School Systems: Connecting Facilities, Sectors and Programmes for Student Success; OECD Reviews of School Resources; OECD Publishing: Paris, France, 2018; ISBN 978-92-64-30669-1. [Google Scholar]
- Muntele, I.; Istrate, M.; Bunduc, F. Educational Disparities in Romania. A Multilevel Analysis of the National Assessment Examination Succes Rate. Rom. J. Geogr. 2020, 64, 43–55. [Google Scholar]
- Buza, V.; Tușa, E. Disparities in School Performance in Romania. A Geostatistical Analysis of Baccalaureate Results between 2015–2022. RREM 2024, 16, 391–428. [Google Scholar] [CrossRef]
- Petre, A.A.; Dumitrache, L.; Mareci, A.; Cioclu, A. The Urban–Rural Education Divide: A GIS-Based Assessment of the Spatial Accessibility of High Schools in Romania. IJGI 2025, 14, 183. [Google Scholar] [CrossRef]
- Mareci, A.; Dumitrache, L.; Nae, M.; Tudoricu, A.; Cioclu, A. A Qualitative Exploration of Experiences of Asylum Seekers and People with Refugee Backgrounds in Accessing the Education System in Romania. Sustainability 2023, 15, 4120. [Google Scholar] [CrossRef]
- Petre, A.A.; Mirea, I.A. Spatial Accessibility to Supermarkets in Dâmbovița County. In Foodscapes; Kühne, O., Fischer, J.D., Sedelmeier, T., Hochschild, V., Staniscia, B., Manetti, C., Dumitrache, L., Talos, A.-M., Menéndez Rexach, A., De Marcos Fernández, A., Eds.; RaumFragen: Stadt—Region—Landschaft; Springer Fachmedien Wiesbaden: Wiesbaden, Germany, 2023; pp. 89–104. ISBN 978-3-658-41498-6. [Google Scholar]
- Cioclu, A.; Dumitrache, L.; Mareci, A.; Nae, M. Tackling Cardiovascular Care Deserts in Romania: Expanding Population Access in Underserved Areas. Healthcare 2024, 12, 2577. [Google Scholar] [CrossRef]
- Alexa, S.; Baciu, E.-L. School Dropout and Early School Leaving in Romania: Tendencies and Risk Factors. RREM 2021, 13, 18–38. [Google Scholar] [CrossRef]
- Miron, M.; Mistrean, L. A Comparative Analysis of School Dropout Causes in Rural and Urban Romania. ESM 2024, 2, 134–144. [Google Scholar] [CrossRef]
- Ministry of Education. Strategia Privind Reducerea Părăsirii Timpurii a Școlii În România. Available online: https://www.edu.ro/sites/default/files/_fi%C8%99iere/Invatamant-Preuniversitar/2015/Strategie-PTS/Strategia-PTS-2015.pdf (accessed on 24 September 2025).
- Petre, F.-B.; Teodorescu, C.; Cioclu, A. School Dropout in Satellite Towns around Bucharest, Romania. Soc. Sci. 2024, 13, 285. [Google Scholar] [CrossRef]
- Huang, Q.; Cui, X.; Ma, L. The Equity of Basic Educational Facilities from the Perspective of Space. Sustainability 2023, 15, 12031. [Google Scholar] [CrossRef]
- Huang, C.; Feng, Y.; Wei, Y.; Sun, D.; Li, X.; Zhong, F. Assessing Regional Public Service Facility Accessibility Using Multisource Geospatial Data: A Case Study of Underdeveloped Areas in China. Remote Sens. 2024, 16, 409. [Google Scholar] [CrossRef]
- Ielenicz, M.; Pătru, I.; Săndulache, I.; Răzvan, O.; Comănescu, L. România: Carpații: Caracteristici Generale (Partea I); Bucharest University Press: Bucharest, Romania, 2009. [Google Scholar]
- Suditu, B.; Nae, M.; Neguţ, S.; Dumitrache, L.; Gheorghilaş, A. Suburban Landscapes in Romania from ‘Forting-Up’ to ‘Informal-Up’ and Limits of Public Action. Eur. J. Sci. Theol. 2014, 10, 125–138. [Google Scholar]
- Romanian Parliament. Law No. 198/2023 Law on Pre-University Education; Modified and Updated by the Government Emergency Ordinance 156/2024; Monitorul Oficial 613/2023; Monitorul Oficial Publishing House: Bucharest, Romania, 2023. [Google Scholar]
- Kerekes, K.; Pirău, H.; Kis, B.-Á.; Ábrahám, B. Factors Influencing Educational Choices of Romanian Rural Youth. Stud. Agr. Econ. 2017, 119, 130–138. [Google Scholar] [CrossRef]
- National Institute of Statistics (NIS). Tempo Online Statistics. 2025. Available online: http://statistici.insse.ro:8077/tempo-online/#/pages/tables/insse-table (accessed on 10 September 2025).
- National Agency for Cadastre and Real Estate Advertising (ANCPI). Geoportal ANCPI. Available online: https://geoportal.ancpi.ro/portal/home/ (accessed on 10 September 2025).
- Campos-Sánchez, F.S.; Abarca-Álvarez, F.J.; Molina-García, J.; Chillón, P. A GIS-Based Method for Analysing the Association Between School-Built Environment and Home-School Route Measures with Active Commuting to School in Urban Children and Adolescents. Int. J. Environ. Res. Public Health 2020, 17, 2295. [Google Scholar] [CrossRef]
- Charreire, H.; Casey, R.; Salze, P.; Simon, C.; Chaix, B.; Banos, A.; Badariotti, D.; Weber, C.; Oppert, J.-M. Measuring the Food Environment Using Geographical Information Systems: A Methodological Review. Public Health Nutr. 2010, 13, 1773–1785. [Google Scholar] [CrossRef] [PubMed]
- Verma, V.R.; Dash, U. Geographical Accessibility and Spatial Coverage Modelling of Public Health Care Network in Rural and Remote India. PLoS ONE 2020, 15, e0239326. [Google Scholar] [CrossRef]
- Popescu, A.; Tindeche, C.; Mărcuță, A.; Mărcuță, L. Rural Areas in Romania—Discrepancies Versus Urban Areas and European Union. Scientific Papers. Series “Management, Economic Engineering in Agriculture and rural development”. 2022, 22. Available online: https://www.cabidigitallibrary.org/doi/pdf/10.5555/20220202805 (accessed on 8 December 2025).
- Tarulescu, R.; Tarulescu, S.; Chiru, A.; Covaciu, D.; Butnariu, S.; Szigeti, R.; Niculescu, M. Study on the Implementation of an Efficient Rural Public Transport System. In CONAT 2024 International Congress of Automotive and Transport Engineering; Chiru, A., Covaciu, D., Eds.; Proceedings in Automotive Engineering; Springer Nature: Cham, Switzerland, 2025; pp. 50–61. ISBN 978-3-031-77634-2. [Google Scholar]
- Marga, A. Reform of Education in Romania in the 1990s: A Retrospective. High. Educ. Eur. 2002, 27, 123–135. [Google Scholar] [CrossRef]
- Anchan, J.P.; Fullan, M.; Polyzoi, E. (Eds.) Change Forces in Post-Communist Eastern Europe; Routledge: Oxfordshire, UK, 2003; ISBN 978-1-134-40100-0. [Google Scholar]
- Pegado, A.; Roberto, M.S.; Luz, R.; Pereira, C.; Alvarez, M.-J. Portuguese College Students’ Perceptions of Barriers to Healthy Sleep and Strategies to Overcome Them: A Mix Method Study. SAGE Open 2025, 15, 21582440251355368. [Google Scholar] [CrossRef]
- Hyndych, A.; El-Abassi, R.; Mader, E.C. The Role of Sleep and the Effects of Sleep Loss on Cognitive, Affective, and Behavioral Processes. Cureus 2025, 17, 1–12. [Google Scholar] [CrossRef] [PubMed]
- Buza, V. Spatial Dimensions of Illiteracy in Romania, 1992–2011. Front. Sociol. 2022, 7, 953870. [Google Scholar] [CrossRef]
- Antonescu, D.; Florescu, I.C. The Dynamics of Regional Inequalities in Romania. Comparative Analysis between the Major Crises—Financial and Sanitary. Cent. Eur. J. Geogr. Sustain. Dev. 2024, 6, 5–29. [Google Scholar] [CrossRef]
- Fina, S. Unequal Romania: Regional Socio-Economic Disparities in Romania. In Friedrich-Ebert-Stiftung Romania; Friedrich Ebert Stiftung: Bonn, Germany; Berlin, Germany, 2021; Available online: https://library.fes.de/pdf-files/bueros/bukarest/18052-20210623.pdf (accessed on 10 October 2025).
- Zamfir, A.-M. Urban Rural Educational Inequalities and Human Capital Polarization in Romania. Rev. Rom. Pentru Educ. Multidimens. 2017, 9, 157–165. [Google Scholar] [CrossRef]
- Law No. 141/2025 on Certain Fiscal and Bugetary Measures; Monitorul Oficial 699/2025; Monitorul Oficial Publishing House: Bucharest, Romania, 2025.
- Otovescu, C.; Otovescu, A. The Depopulation of Romania—Is It an Irreversible Process? Rev. de Cercet. si Interv. Soc. 2019, 65, 370–388. [Google Scholar] [CrossRef]
- Muntele, I.; Istrate, M.; Athes, H.; Bănică, A. An Overview of Population Dynamics in Romanian Carpathians (1912–2021): Factors, Spatial Patterns and Urban–Rural Disparities. Land 2023, 12, 1756. [Google Scholar] [CrossRef]
- Egelund, N.; Laustsen, H. School Closure: What Are the Consequences for the Local Society? Scand. J. Educ. Res. 2006, 50, 429–439. [Google Scholar] [CrossRef]
- Ivan, L.; Pricopie, R.; Frunzaru, V.; Cismaru, D.; Corbu, N. The Risk of Dropping Education for Romanian High School Students. Structural Factors and Educational Policies. Procedia—Soc. Behav. Sci. 2012, 46, 2312–2321. [Google Scholar] [CrossRef][Green Version]
- Nagy, J.A.; Benedek, J.; Ivan, K. Measuring Sustainable Development Goals at a Local Level: A Case of a Metropolitan Area in Romania. Sustainability 2018, 10, 3962. [Google Scholar] [CrossRef]
- Dumitrache, L.; Nae, M.; Simion, G.; Taloș, A.-M. Modelling Potential Geographical Access of the Population to Public Hospitals and Quality Health Care in Romania. Int. J. Environ. Res. Public Health 2020, 17, 8487. [Google Scholar] [CrossRef]






| Areas | High School-Aged Population | No. of LAU2 (%) |
|---|---|---|
| Non-desert | 772,194 | 2086 (65.6%) |
| Desert | 138,443 | 1092 (34.3%) |
| No data | 75 | 3 (0.09%) |
| Regions | No. (%) of the High School Age Population Living in an Education Desert | No. (%) of LAU2s Part of an Education Desert |
| North-East | 30,435 (13.3%) | 167 (30.3%) |
| South-East | 20,946 (18.0%) | 155 (40.1%) |
| South | 23,526 (18.0%) | 186 (32.8%) |
| South-West | 11,181 (13.3%) | 133 (29.7%) |
| West | 8935 (11.7%) | 120 (37.2%) |
| North-West | 19,652 (16.6%) | 163 (36.5%) |
| Centre | 22,510 (20.3%) | 165 (39.9%) |
| Bucharest-Ilfov | 617 (0.7%) | 3 (6.5%) |
| Education Deserts with High CDI | Education Deserts with Medium CDI | Education Deserts with Low CDI | |
|---|---|---|---|
| Location | No. of High School-Aged Population | ||
| North-East | 16,115 | 9721 | 4599 |
| South-East | 10,080 | 7591 | 3275 |
| South | 6516 | 9296 | 7714 |
| South-West | 2714 | 2011 | 6456 |
| West | 2143 | 2976 | 3816 |
| North-West | 7138 | 7002 | 5512 |
| Centre | 10,860 | 7314 | 4336 |
| Bucharest-Ilfov | - | 168 | 449 |
| Education Deserts with High AHI | Education Deserts with Medium AHI | Education Deserts with Low AHI | |
|---|---|---|---|
| Location | No. of High School-Aged Population | ||
| North-East | 13,032 | 11,313 | 6090 |
| South-East | 8000 | 6394 | 6552 |
| South | 4727 | 8970 | 9829 |
| South-West | 3775 | 2369 | 5037 |
| West | 3361 | 3049 | 2525 |
| North-West | 5839 | 6998 | 6815 |
| Centre | 9341 | 7931 | 5238 |
| Bucharest-Ilfov | - | - | 617 |
| Education Deserts with High EDI | Education Deserts with Medium EDI | Education Deserts with Low EDI | |
|---|---|---|---|
| Location | No. of High School-Ages Population | ||
| North-East | 16,250 | 10,843 | 3342 |
| South-East | 9527 | 6485 | 4934 |
| South | 5523 | 8890 | 9113 |
| South-West | 3001 | 2108 | 6072 |
| West | 2831 | 2950 | 3154 |
| North-West | 6885 | 6769 | 5998 |
| Centre | 10,342 | 7232 | 4936 |
| Bucharest-Ilfov | - | 168 | 449 |
Disclaimer/Publisher’s Note: The statements, opinions and data contained in all publications are solely those of the individual author(s) and contributor(s) and not of MDPI and/or the editor(s). MDPI and/or the editor(s) disclaim responsibility for any injury to people or property resulting from any ideas, methods, instructions or products referred to in the content. |
© 2025 by the authors. Published by MDPI on behalf of the International Society for Photogrammetry and Remote Sensing. Licensee MDPI, Basel, Switzerland. This article is an open access article distributed under the terms and conditions of the Creative Commons Attribution (CC BY) license (https://creativecommons.org/licenses/by/4.0/).
Share and Cite
Petre, A.-A.; Dumitrache, L.; Mareci, A.; Cioclu, A. Education Deserts and Local Outcomes: Spatial Dimensions of Educational Inequalities in Romania. ISPRS Int. J. Geo-Inf. 2025, 14, 490. https://doi.org/10.3390/ijgi14120490
Petre A-A, Dumitrache L, Mareci A, Cioclu A. Education Deserts and Local Outcomes: Spatial Dimensions of Educational Inequalities in Romania. ISPRS International Journal of Geo-Information. 2025; 14(12):490. https://doi.org/10.3390/ijgi14120490
Chicago/Turabian StylePetre, Angelo-Andi, Liliana Dumitrache, Alina Mareci, and Alexandra Cioclu. 2025. "Education Deserts and Local Outcomes: Spatial Dimensions of Educational Inequalities in Romania" ISPRS International Journal of Geo-Information 14, no. 12: 490. https://doi.org/10.3390/ijgi14120490
APA StylePetre, A.-A., Dumitrache, L., Mareci, A., & Cioclu, A. (2025). Education Deserts and Local Outcomes: Spatial Dimensions of Educational Inequalities in Romania. ISPRS International Journal of Geo-Information, 14(12), 490. https://doi.org/10.3390/ijgi14120490

