Next Article in Journal
Interpretable Review Spammer Group Detection Model Based on Knowledge Distillation and Counterfactual Generation
Next Article in Special Issue
Management of Mobile Resonant Electrical Systems for High-Voltage Generation in Non-Destructive Diagnostics of Power Equipment Insulation
Previous Article in Journal
Optimized Real-Time Decision Making with EfficientNet in Digital Twin-Based Vehicular Networks
Previous Article in Special Issue
Experimental Study on Human Kinetic Energy Harvesting with Wearable Lifejackets to Assist Search and Rescue
 
 
Font Type:
Arial Georgia Verdana
Font Size:
Aa Aa Aa
Line Spacing:
Column Width:
Background:
Article

Maximum Harvesting Power Algorithm in Magnetic Energy Harvester Considering Different Temperatures

1
Automotive Engineering, Department of Smart Mobility Engineering, Keimyung University, Daegu 42601, Republic of Korea
2
Core Component Team, Samsung Electronics, 129, Samsung-ro, Yeongtong-gu, Suwon-si 16228, Republic of Korea
*
Author to whom correspondence should be addressed.
Electronics 2025, 14(6), 1085; https://doi.org/10.3390/electronics14061085
Submission received: 4 February 2025 / Revised: 23 February 2025 / Accepted: 3 March 2025 / Published: 10 March 2025
(This article belongs to the Special Issue Energy Harvesting and Energy Storage Systems, 3rd Edition)

Abstract

A major challenge for practical magnetic energy harvesting (MEH) applications is achieving stable harvested power with high power density under a wide range of temperature variation. The amount of power harvested from the MEH is sensitive to ambient temperature because the characteristics of the magnetic material are greatly affected by temperature. From a practical point of view, previous studies have limitations because they do not consider thermal effects at all. In this paper, a novel control algorithm form maximum harvesting power in MEH is proposed by considering dynamic changes in temperature for the first time. In order to tackle this problem, a temperature-dependent B-H curve model is proposed, which considers the effect of temperature variation on the magnetic core. This study is the first to integrate thermal effects at the design stage of MEH. Theoretical analysis using the proposed B-H curve model demonstrates that the nonlinear behavior of magnetic materials can be accurately predicted under varying temperature conditions. Based on the above analysis, it was possible to extract the maximum harvested power while predicting shifts in the magnetic saturation point across a wide temperature range. Experimental results validate the effectiveness of the proposed design method, achieving a 26.5% higher power density compared to conventional methods that neglect thermal effects.

1. Introduction

With the recent increase in global demand for electrical energy, power systems have become larger and more complex to meet growing energy consumption. This increasing complexity is anticipated to heighten the stress, disturbances, and vulnerability of power systems. To address these challenges and ensure high reliability, it is critical to perform continuous inspections and implement preventive maintenance to achieve fault-free operation [1]. Typically, utility assets are exposed to damage from natural hazards such as fallen trees, wildfires, and so on. At the same time, the majority of maintenance tasks still heavily rely on manual labor. Since most utility assets involve high voltage and high current environments, the maintenance and inspection work is extremely risky for technical personnel.
To solve these issues, various applications have been developed, including wireless sensors [2,3], inspection robots [4,5], and uncrewed aerial vehicles (UAVs) [6], as shown in Figure 1. These devices enable utility operators to maintain high reliability while monitoring and managing extensive areas. In addition, human exposure to hazardous high-voltage environments can be eliminated, and maintenance costs can be significantly reduced. While these devices are efficient, they require an independent power source for continuous operation. Indeed, physical connection to a power supply is infeasible due to the large potential differences near high-voltage power lines. Consequently, most of these devices rely heavily on battery power, which necessitates periodic replacement. To overcome the limitations of current power supplies, energy harvesting is being explored as a practical solution to make these systems self-sustainable, eliminating dependence on battery power.
There are various candidate energy sources for harvesting near power lines. In [7], several energy harvesting methods were compared from a practical perspective. Referring to the above paper, our research concluded that MEH was a suitable method near power lines in three major aspects. Firstly, MEH has high reliability as a power supply. MEH is relatively less affected by weather conditions compared to other energy harvesting technologies, such as photovoltaic energy harvesting. These characteristics make MEH a reliable power supply for applications beyond sensor devices to tens of watts. Secondly, the MEH has a high power density compared to other energy sources [8]. This characteristic minimizes the impact on the power line, such as additional undesired sag caused by the weight of the harvester. Finally, MEH has the distinct advantage of being applicable to indoor environments, such as underground transmission lines, unlike other harvesting methods. Among these advantages, power density is the most critical design factor in MEH, so many related studies have been conducted [8,9,10,11,12,13,14].
One major hurdle in MEH design is the degradation in power density caused by magnetic saturation. When the MEH operates in the saturation region, the magnetic flux density ceases to change, resulting in a reduction of harvested power to zero. For this reason, previous studies have focused on preventing or overcoming saturation. In [10], the threshold current, which is the current at which the magnetic core is saturated, was determined based on the maximum flux density of the magnetic material. In [11], the output was improved by using the saturation region in reverse. It was confirmed that the maximum output is generated in the region called the ‘soft saturation region’. To operate in this region, the load voltage is controlled using B-H curve modeling. In [12], the saturation was overcome by using a reverse magnetic field through an additional power circuit. To manipulate the magnetic field, the optimal load voltage was analyzed based on the previously mentioned B-H curve model. To summarize the previous research, the power density was improved by adjusting the load voltage based on the B-H curve model.
However, from a practical point of view, MEH is easily affected by temperature depending on the weather conditions, installation location, primary current intensity, and housing design. In particular, the magnetic core is sensitive to temperature. This may produce a variation in the magnetic flux density, as shown in Figure 2, which may affect the output performance as a result [13]. If temperature effects are not accounted for at the design stage, the saturation voltage may be set higher than the intended value. This can cause the magnetic core to enter saturation prematurely due to temperature changes. In [13], the resonance condition was used by adding a compensation capacitor to minimize reactive power. However, as the temperature rises, the impedance matching condition changes and the output power is rather reduced. These challenges have not yet been addressed. Consequently, the optimal load voltage may be inaccurately predicted, leading to a significant reduction in output power. In any case, from a practical point of view, it is necessary to consider the effect of temperature rise on maximum power extraction in the MEH design.
In this paper, we propose a robust MEH design method with improved power density using a control algorithm considering magnetic saturation induced by temperature changes. For the first time, we analyze the MEH for maximum power extraction by considering the relationship between magnetic saturation and temperature variation. In order to consider temperature effects in MEH design, circuit parameters and saturation conditions were obtained through temperature-dependent B-H curve modeling.
To validate the impact of temperature variation, ferrite was selected as the magnetic material, and harvested power was measured under varying temperature conditions ranging from 25 to 200 °C. This range is based on the temperature characteristics of ferrite PL-7 [15] by considering Curie temperature. Using the proposed algorithm, the maximum harvested power of MEH under different temperature conditions improved compared to conventional methods.
Consequently, our research differs from and extends conventional works [2,3,4,5,6,7,8,9,10,11,12,13,14,15,16,17,18] in many respects, as follows:
(1)
Modeling and procedures for maximum harvested power were developed while considering temperature effects
(2)
Improved power density was obtained under different temperature conditions, compared to the conventional model
The paper is organized as follows: Details on the output power model are given in Section 2. Section 3 gives a detailed description of the proposed design methodology. Section 4 presents a detailed description of the measurement setup and experiment results. Finally, the conclusions are given in Section 5.

2. Theoretical Analysis for Maximum Harvested Power in MEH

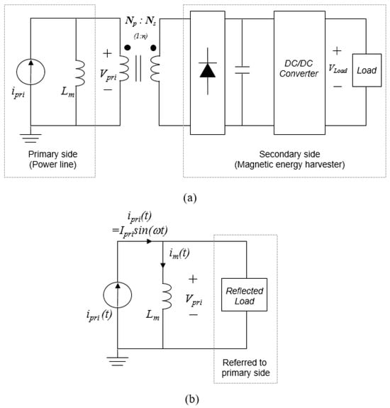
An equivalent circuit was developed, as shown in Figure 3a. To simplify the circuit analysis, we expressed the magnetizing inductance Lm and transformer model instead of using the mutual inductance model [7]. The supercapacitor was connected to the core as a load, which can be considered to be a constant dc voltage. The leakage inductance and core-loss components were neglected because the power line current is modeled as the current source. For simplicity, all components are reflected on the primary side, as shown in Figure 3b. In this case, the primary voltage Vpri is the important factor for determining harvested power in the MEH [8].

2.1. Analysis of Load Voltage and Harvested Power in MEH

The formulas for averaged harvested power Po can be expressed as follows [14]:
P o = 1 0.5 T p t s t s + 0.5 T p V r e c ( i p r i ( t ) i L m ( t ) ) N s d t
where Tp is primary line period and ts is the start time of harvesting current, respectively. Vrec is rectifier voltage across the dc/dc converter. NS is the number of windings turns in MEH, and NP is the number of turns in a main power line, commonly equal to 1 in the power system. The waveform of ipri and iLm represent the primary current and magnetizing current, as shown in Figure 3a. The harvested power current ihar is the difference between ipri and iLm. Figure 4 shows the waveform of Vpri, considering active components using circuit simulation (PSIM).
At first, to ensure a volt-second balance for an inductor, the ripple of iLm can be derived as follows:
Δ i L m   =   t s t s + 0.5 T p V p r i   d t L m     V p r i 0.5 T p L m
Since ipri and im have the same value at ts, as shown in Figure 4, the peak value of the magnetizing current impk can be obtained as follows:
I p r i sin ( ω o   t s )   = i L m ( t s )   =   i L m p k
where ωo is the angular frequency on the primary side and Ipri is the peak value of the power line current.
Equation (2) can be used to calculate the impk because the offset value of im is zero. Taking this into account, impk can be expressed as half of the ripple of the magnetizing inductance current.
Then, the impk simply become
i L m p k   =   0.5   Δ i L m   =   V p r i T p 4 L m
In summary, ts can be determined by substituting (4) for impk as follows:
t s   = 1 ω o sin 1 ( V p r i T p 4 L m I p r i )
Based on Equation (5), if the magnetic core is fixed, the ts depends on not only the intensity of the primary current but also the load voltage across.
Taken together, Po can be expressed by substituting (5) for ts in Equation (1) as follows:
P o   =   2 V r e c   I p r i T p   N s t s t s + 0.5 T p sin ( ω o t )   d t =   4 2   V r e c   i p r i , r m s T p   N s   ω o cos ( ω o t s ) = 2 2 V p r i i p r i , r m s π cos ( ω o t s )
Based on (5) and (6), if Ip and Lm are fixed with a constant value, the Po only depends on the load voltage across. To calculate the primary voltage for harvesting the maximum power Vpri,max, Equation (6) is differentiated with respect to Vpri as follows:
P o V p r i n = V p r i , max = 0       V p r i , max   =   4 2 L m I p r i T p
Thus, the maximum harvested power Po,m can be derived from (6) to (8) as follows:
P o , m     =     4 L m π T p I p r i 2
According to Equation (8), Po,m increases with the intensity of the power line current and magnetizing inductance. Figure 5 illustrates an example with Lm = 30.4 μH and frequency = 60 Hz according to different power line currents. As the ipri increases, the load voltage for maximum harvested power also increases according to Equations (7) and (8).

2.2. Design Consideration: Magnetic Saturation Effect in Magnetic Core

Equation (8) is helpful to confirm the relationship between the design parameters. However, from a practical point of view, magnetic saturation should be considered in the MEH design. The environment in which the MEH is installed can include irregular current flows and has a very wide current range. In other words, the magnetic core can be saturated by an extremely strong magnetic field intensity.
When the MEH is operated in the saturation region, Po is drastically reduced because there are no changes in magnetic flux density and the reduction of the Lm value, as shown in Figure 6. Here, it is assumed that the primary voltage and load voltage are the same due to the supercapacitors across the load.
As the primary voltage across the load increases, the Lm no longer maintains a constant value. To determine the saturation voltage Vsat, a voltage second balance between the maximum flux is set by the saturation flux density Bsat for the magnetic core, and the applied voltage is integrated over half period.
0 T p 2   V s a t   d t = 2 B s a t A e N p
where the cross-sectional area of the magnetic core and the number of primary winding turns are expressed as Ae and Np, respectively.
According to [11], in the expression on the right side of Equation (9), the coefficient ‘2’ before Bsat on the left side means that the magnetic flux density is changed from one end of the B-H curve(−sat) to the other end of the B-H curve(+Bsat), which results in a total change of 2Bsat in a half period.
To prevent saturation in the magnetic core, Vpri must be determined under the Vsat, which can be expressed as follows [14]:
V s a t     =     4 A e B s a t N p T p
However, MEH can also be saturated with temperature rises. In general, the saturation magnetic flux density characteristic of a magnetic material decreases with rising temperature, as shown in Figure 7. When the temperature rises, the above Equations (1)–(10) are invalid due to the changes in the properties of magnetic material, such as Lm and Bsat.
If the temperature effect is not taken into account in the MEH design, as in the conventional design method, the magnetic core may be easily saturated and operated in the hard saturation zone. As a result, heat is generated due to increasing core loss, and the power density may be reduced. Until now, there has been no research considering these effects. So, it is necessary to consider the effect of temperature rise for maximum power extraction in the MEH design.

3. Proposed Harvesting Method for Maximum Power Considering the Magnetic Saturation Effect Due to Temperature Changes

3.1. Proposed Algorithm for Maximum Power Extraction in MEH by Considering Temperature Dependence

The conventional method of maximum power extraction aims to prevent saturation by controlling the primary voltage, which can be derived from (7) and (10). From a practical point of view, this is not effective since the variation in magnetic flux density with rising temperature will cause a change in Vsat. As a result, the output performance of the MEH is degraded when operating in the hard saturation region.
If the change in magnetic flux density with temperature changes can be predicted, magnetic saturation can be prevented, and the power density can be increased compared to the conventional design method. A design method to solve the above challenges related to temperature dependence in MEH is proposed, as shown in Figure 8.
In the conventional methods, the maximum power is extracted by measuring the line current and adjusting the load voltage accordingly. According to Equation (7), the primary voltage is determined for harvesting the maximum power. However, the conventional design method [11,12] does not consider the temperature dependence of the magnetic material in the magnetic core. So, it is not robust to variable temperature conditions, and as a result, the power density is greatly reduced due to the incorrect selection of the optimal load voltage.
In order to solve the above problems, the B-H curve information, according to temperature changes, was estimated through the proposed modeling. The additional part added to the conventional algorithm is marked in yellow. In the content added to the existing algorithm, based on the proposed B-H curve model, which is temperature-dependent, Bsat and Lm are re-estimated and reflected in the MEH design. By adjusting refined Vpri,max, maximum power can be harvested according to the temperature change. As a result, power density can be improved compared to the existing design method.
The control scheme for maximum power extraction is shown in Figure 9. The variable Lm is controlled by the variation of Vpri through a DC/DC converter. However, in this case, the characteristic of the magnetic material is changed according to the magnetic core’s temperature. Therefore, the control scheme is needed to become a robust system against disturbance, such as the variation of temperature.
In order to confirm the magnetic core’s temperature changes, the temperature is measured using a thermometer. Based on the measured temperature, a B-H curve model is selected according to temperature. Through the comparator, the error between the reference voltage and the measured Vpri is confirmed, and saturation voltage is reset by considering temperature dependence. Here, the reference voltage is Vpri according to temperature variation. Taken together, the maximum power is extracted by adjusting the Vpri through DC/DC converter.

3.2. Proposed Theoretical Model for Temperature Dependence in the B-H Curve

In this section, the principle of the proposed theoretical model of the B-H curve is going to be explained. According to the previous analysis based on Equations (1)–(10), Bsat and Lm are important design factors when determining the power density of the MEH. The two design parameters are determined using the B-H curve of the magnetic material.
According to [11], the B-H curve can be modeled with the ‘arctangent’ function as follows:
B = B s a t   2 π arctan ( H α )
H = I m 2   π R i n α
where the magnetic flux density, the magnetic field intensity, and the inner radius of the magnetic core are expressed as B, H, and Rin, respectively.
The ‘2/π’ is a scaling factor, which is used to normalize the arctangent function to 1 when the magnetic core is saturated. The ‘α’ describes the sensitivity factor in the linear region and determines relative permeability, which affects the Lm value [11]. However, one limitation of Equations (11) and (12) is that Bsat is a constant value and thus cannot accurately reflect the change in the properties of the magnetic material as the temperature varies. As described in the previous section, the main difference is the reduction of Bsat as the temperature rises. For example, at 175 °C, Bsat decreases by 55% compared to room temperature. Besides, the gradient (i.e., relative permeability) changes in the linear region also have an effect. Therefore, it is necessary to model the changes in Bsat and α with the temperature changes.
To solve the above problems, the proposed theoretical model was based on a combination of physical and empirical approaches to represent the experimental data-related temperature. The Bsat response with temperature is shown in Figure 10a. In this figure, Bsat decreases as the temperature rises, which means that the magnetic core is more easily saturated as temperature rises. In other words, the MEH can be saturated not only by the magnetizing current but also by the rising temperature.
To describe the reductions of Bsat with increasing temperature, an exponential decay model is used, as follows:
B s a t ( T )     =     B s a t e   ( T T r e f T r e f )
where Tref is room temperature, 298 K (=25 °C) and T is the ambient temperature.
The ‘α’ response with temperature variation is shown in Figure 10b. To describe the variation in ‘α’ with temperature rise, ‘α’ can also be expressed as a function of temperature with an exponential decay model, as follows:
α ( T )     =     α r e f e   ( T T r e f T r e f )
where αref is the sensitivity factor at room temperature. Using the proposed model, Equations (11) and (12) can be replaced by substituting (13) for Bsat. Similarly, Equation (12) can be also replaced by substituting (14) for ‘α’. As a result, the accuracy can be significantly improved compared to the existing model.

4. Experimental Results

Based on the above analysis, the feasibility of the proposed design method was tested using experimental results. The magnetic core was manufactured in a toroidal form by laminating a sheet-type Mn-Zn ferrite PL-7 [15]. The detailed parameters of the magnetic core are listed in Table 1.
To verify the proposed method, an experimental setup was built, as shown in Figure 11. To confirm the temperature effect for the MEH design, the magnetic core and power line were placed in a temperature-controlled chamber. The temperature range in the chamber was from 25 to 200 °C. In the constant voltage condition, the load voltage was adjusted through an electronic load (KIKUSUI PLZ1004W, KIKUSUI ELECTRONICS, Yokohama, Japan). Since the optimal load voltage varies depending on the primary current, the duty ratio was adjusted to determine the optimal load, and then power measurement was performed.
To compare the results of the proposed model and the measurement results, the B-H curve can be extracted based on the IEEE standard [16]. For the first time, to consider the temperature dependence, the test sample was placed in a temperature chamber. The temperature range in the chamber was from 25 to 200 °C. The temperature of the magnetic material was measured using a thermocouple and collected via a DAQ system. Power measurements were conducted under the condition that the chamber temperature and the magnetic material temperature were the same. Ferrite was selected as the magnetic material, and the magnetic core was manufactured in a toroidal form by laminating a sheet type.
Figure 12 illustrates measurement examples with T = 443 K (=175 °C) compared to the conventional model. Figure 12a shows a significant difference between the experimental results and the theoretical model. The cause of the error is that the change in Bsat according to temperature was not reflected in the model [11]. To address the above problems, Bsat variation according to temperature was reflected in the model, as shown in Figure 12b. The accuracy of the theoretical model was significantly increased compared to the previous model, but it was not perfectly accurate near the knee point. The shaded circular area expressed in gray indicates the knee point of the magnetic material. Finally, Figure 12c shows the proposed model, which considers both Bsat and ‘α’ in order to reflect the change in permeability near the knee point. The main difference from the theoretical model applied in Figure 12b is that the change in permeability at the knee point is considered. Using the proposed model, the magnetizing inductance can be more accurately extracted than when using the existing model under variable temperature conditions.
Figure 13 shows the Po measured with the power analyzer (YOKOGAWA WT1800, Yokogawa, Tokyo, Japan) under varying load voltage according to different temperature conditions of 25, 50, 100, and 150 °C, respectively. At 25 °C, it has a VL,max of 5.927 V, but the maximum Po decreases as the temperature rises. The reason is that as the Lm value with temperature rises, VL,max also changes. To compensate for this, the proposed design method adjusts the VL according to temperature and tracks the point of maximum Po.
Figure 14a shows the Po response with a VL according to temperature. When the temperature in the chamber increases, the maximum Po gradually decreases. Interestingly, VL,max and Vsat also decrease with rising temperature. This means that the MEH can operate under saturation conditions depending on the temperature. If the effect of temperature is not taken into account, as with the conventional methods [17,18], there is a possibility that it will operate in the hard saturation section, and as a result, the output of the MEH will drastically decrease, and the reactive power will increase.
Figure 14b compares the maximum Po with the conventional method according to temperature changes. The red bar indicates the maximum Po when the proposed method is applied. The blue bar represents the maximum Po of the MEH using the conventional method, which ignores the temperature effect. By considering the temperature variation effect, the proposed design method had a 26.5% higher output performance than the conventional method. This tendency is attributed to the reduction in the change in magnetic flux density in the magnetic core as the temperature increases.

5. Discussion

To stably operate an MEH system, potential problems in various real-world environments must be considered at the design stage. In this paper, we analyze and discuss two major factors. First, the area where the MEH is installed is highly likely to experience EMC issues due to large potential differences. In particular, insulation issues can be affected by temperature and humidity, so various environmental factors should be considered at the MEH design stage. EMC analysis from an energy harvesting perspective is needed, not from a current transformer design perspective. Second, the impact of rapid temperature changes within the MEH must be addressed. As shown in Figure 15, temperature variations can be significant due to factors such as installation location, current flowing through the power system, and housing conditions. Before designing the MEH, a thorough analysis of temperature effects based on the installation environment is essential. Additionally, mechanical vibrations and legal regulations regarding voltage drop and power factor must be considered.

6. Conclusions

In this paper, a robust MEH design method that considers the effect of temperature variation was proposed based on temperature-dependent B-H curve modeling. The proposed design method extracts the circuit parameter by considering the temperature effect, resulting in a more robust and practical design method compared to the conventional method. Saturation conditions according to temperature in the MEH design were proposed and applied for the first time.
In the proposed algorithm, only the temperature information in the magnetic core was required, which decreases complexity and improves reliability. The proposed method is expected to contribute to improving power density without using additional magnetic material or number of windings. The proposed concept was demonstrated experimentally to validate the theoretical analysis. Experimental results show that the proposed design method resulted in a 26.5% higher power density than the conventional method at 42.5 ampere in primary current condition. Finally, the proposed method can be easily implemented in practical MEH applications.

Author Contributions

Conceptualization, methodology, investigation, and writing, Y.S.; validation, investigation, and supervision, B.P. All authors have read and agreed to the published version of the manuscript.

Funding

This research was supported by the Bisa Research Grant from Keimyung University (Project No. 20240224).

Institutional Review Board Statement

Not applicable.

Data Availability Statement

The data presented in this study are available on request from the corresponding author.

Acknowledgments

We also would like to acknowledge the technical support from Ansys Korea.

Conflicts of Interest

Author Bumjin Park was employed by the company Samsung Electronics. The remaining authors declare that the research was conducted in the absence of any commercial or financial relationships that could be construed as a potential conflict of interest.

References

  1. Menendez, O.; Cheein, F.A.A.; Perez, M.; Kouro, S. Robotics in Power System: Enabling a More Reliable and Safe Grid. IEEE Ind. Electron. Mag. 2017, 11, 22–23. [Google Scholar] [CrossRef]
  2. Roscoe, N.M.; Judd, M.D. Harvesting Energy from Magnetic Fields to Power Condition Monitoring Sensors. IEEE Sens. J. 2013, 13, 2263–2270. [Google Scholar] [CrossRef]
  3. Bhuiyan, R.H.; Dougal, R.A.; Ali, M. A Miniature Energy Harvesting Device for Wireless Sensors in Electric Power System. IEEE Sens. J. 2010, 7, 1249–1258. [Google Scholar] [CrossRef]
  4. Paul, S.; Bashir, S.; Chang, J. Design of a Novel Electromagnetic Energy Harvester with Dual Core for Deicing Device of Transmission Lines. IEEE Trans. Magn. 2019, 55, 8000104. [Google Scholar] [CrossRef]
  5. Park, B.; Huh, S.; Kim, D.; Calderon, A.S.B.; Shin, Y.; Park, J.; Koo, J.; Ahn, S. Analysis of magnetic energy harvester for inspection robot of power line using saturable inductor. In Proceedings of the 2020 IEEE Wireless Power Transfer Conference (WPTC), Seoul, Republic of Korea, 15–19 November 2020. [Google Scholar]
  6. Zhou, J.; Zhang, B.; Xiao, W.; Qiu, D.; Chen, Y. Nonlinear Parity-Time-Symmetric Model for Constant Efficiency Wireless Power Transfer: Application to a Drone-in-Flight Wireless Charging Platform. IEEE Trans. Ind. Electron. 2019, 66, 4097–4107. [Google Scholar] [CrossRef]
  7. Choi, B.H.; Thai, V.X.; Lee, E.S.; Kim, J.H.; Rim, C.T. Dipole-Coil-Based Wide-Range Inductive Power Transfer Systems for Wireless Sensors. IEEE Trans. Ind. Electron. 2016, 63, 3158–3167. [Google Scholar] [CrossRef]
  8. Park, B.; Huh, S.; Kim, J.; Kim, H.; Shin, Y.; Woo, S.; Park, J.; Brito, A.; Kim, D.; Park, H.H.; et al. The Magnetic Energy Harvester with Improved Power Density Using Saturable Magnetizing Inductance Model for Maintenance Applications near High Voltage Power Line. IEEE Access 2021, 9, 82661–82674. [Google Scholar] [CrossRef]
  9. Park, B.; Kim, D.; Park, J.; Kim, K.; Koo, J.; Park, H.; Ahn, S. Optimization Design of Toroidal Core for Magnetic Energy Harvesting Near Power Line by Considering Saturation Effect. AIP Adv. 2018, 8, 056728. [Google Scholar] [CrossRef]
  10. Du, L.; Wang, C.; Li, X.; Yang, L.; Mi, Y.; Sun, C. A Novel Power Supply of Online Monitoring Systems for Power Transmission Lines. IEEE Trans. Ind. Electron. 2010, 57, 2889–2895. [Google Scholar]
  11. Moon, J.; Leeb, S.B. Analysis Model for Magnetic Energy Harvesters. IEEE Trans. Power Electron. 2015, 30, 4302–4311. [Google Scholar] [CrossRef]
  12. Zhuang, Y.; Xu, C.; Song, C.; Chen, A.; Lee, W.; Huang, Y.; Zhou, J. Improving Current Tranformer-Based Energy Extraction From AC Power Lines by Manipulating Magnetic Field. IEEE Trans. Ind. Electron. 2020, 67, 9471–9479. [Google Scholar] [CrossRef]
  13. Vos, M.J. A Magnetic Core Permeance Model for Inductive Power Harvesting. IEEE Trans. Power Electron. 2020, 35, 3627–3635. [Google Scholar] [CrossRef]
  14. Lim, C.Y.; Jeong, Y.; Kim, K.W.; Kang, F.S.; Moon, G.W. A High-Efficiency Power Supply from Magnetic Energy Harvesters. In Proceedings of the 2018 IEEE International Power Electronics Conference, Niigata, Japan, 20–24 May 2018. [Google Scholar]
  15. Mn-Zn Power Material: Datasheet (Samwha Electronics). Available online: http://samwha20.cafe24.com/electronics/down/Samwha%20Ferrite%20Cores_catalogue.pdf (accessed on 28 January 2025).
  16. IEEE Standard for Test Procedures for Magnetic Cores. Available online: https://ieeexplore.ieee.org/document/213699 (accessed on 28 January 2025).
  17. Moghe, R.; Lambert, F.C.; Divan, D. Smart “Stick-on” Sensors for the Smart Grid. IEEE Trans. Smart Grid 2012, 3, 241–242. [Google Scholar] [CrossRef]
  18. Song, C.; Kim, H.; Kim, Y.; Kim, D.; Jeong, S.; Cho, Y.; Lee, S.; Ahn, S.; Kim, J. EMI Reduction Methods in Wireless Power Transfer System for Drone Electrical Charger Using Tightly Coupled Three-Phase Resonant Magnetic Field. IEEE Trans. Ind. Electron. 2018, 65, 6839–6849. [Google Scholar] [CrossRef]
Figure 1. Various types of devices applied to power lines for constant inspection and preventive maintenance tasks.
Figure 1. Various types of devices applied to power lines for constant inspection and preventive maintenance tasks.
Electronics 14 01085 g001
Figure 2. Effect of temperature variables on MEH output performance.
Figure 2. Effect of temperature variables on MEH output performance.
Electronics 14 01085 g002
Figure 3. Schematic for magnetic energy harvesting system. (a) Simplified equivalent circuit of power line and magnetic energy harvester. (b) Approximated equivalent circuit reflected to the primary side.
Figure 3. Schematic for magnetic energy harvesting system. (a) Simplified equivalent circuit of power line and magnetic energy harvester. (b) Approximated equivalent circuit reflected to the primary side.
Electronics 14 01085 g003
Figure 4. Time-domain waveform relationship between magnetizing current and primary side current.
Figure 4. Time-domain waveform relationship between magnetizing current and primary side current.
Electronics 14 01085 g004
Figure 5. Harvested output power response with a load voltage according to the intensity of primary side current.
Figure 5. Harvested output power response with a load voltage according to the intensity of primary side current.
Electronics 14 01085 g005
Figure 6. Harvested output power and magnetizing inductance response with a load voltage.
Figure 6. Harvested output power and magnetizing inductance response with a load voltage.
Electronics 14 01085 g006
Figure 7. Temperature dependence of the magnetic material (ferrite) through measurement of B-H curve.
Figure 7. Temperature dependence of the magnetic material (ferrite) through measurement of B-H curve.
Electronics 14 01085 g007
Figure 8. Proposed maximum power extraction algorithm by considering the temperature dependence of the magnetic material.
Figure 8. Proposed maximum power extraction algorithm by considering the temperature dependence of the magnetic material.
Electronics 14 01085 g008
Figure 9. Block diagram of proposed maximum power extraction control scheme by considering temperature variation.
Figure 9. Block diagram of proposed maximum power extraction control scheme by considering temperature variation.
Electronics 14 01085 g009
Figure 10. Numerical calculations and measurement results according to temperature variation. (a) Saturation flux density response with temperature changes. (b) Sensitivity factor response with temperature changes.
Figure 10. Numerical calculations and measurement results according to temperature variation. (a) Saturation flux density response with temperature changes. (b) Sensitivity factor response with temperature changes.
Electronics 14 01085 g010
Figure 11. Experimental setup by considering temperature effect.
Figure 11. Experimental setup by considering temperature effect.
Electronics 14 01085 g011
Figure 12. Numerical calculations and measurement results with 175 °C. (a) Large gap between theoretical model and measurement (without considering Bsat and α) (b) small error between theoretical model and measurement near knee point (only considering Bsat variation) (c) Accurate theoretical model with improved accuracy (considering both Bsat and α).
Figure 12. Numerical calculations and measurement results with 175 °C. (a) Large gap between theoretical model and measurement (without considering Bsat and α) (b) small error between theoretical model and measurement near knee point (only considering Bsat variation) (c) Accurate theoretical model with improved accuracy (considering both Bsat and α).
Electronics 14 01085 g012
Figure 13. Comparisons of the experimental result according to temperature different conditions when Ipri = 60.1 A. (a) Case 1: VLoad = 5.927 V, T = 25 °C. (b) Case 2: VLoad = 5.926 V, T = 50 °C. (c) Case 3: VLoad = 5.926 V, T = 100 °C. (d) Case 4: VLoad = 5.925 V, T = 150 °C.
Figure 13. Comparisons of the experimental result according to temperature different conditions when Ipri = 60.1 A. (a) Case 1: VLoad = 5.927 V, T = 25 °C. (b) Case 2: VLoad = 5.926 V, T = 50 °C. (c) Case 3: VLoad = 5.926 V, T = 100 °C. (d) Case 4: VLoad = 5.925 V, T = 150 °C.
Electronics 14 01085 g013
Figure 14. Comparisons of proposed and conventional methods according to load voltage and temperature. (a) Harvested power according to load voltage, (b) maximum harvested power according to temperature.
Figure 14. Comparisons of proposed and conventional methods according to load voltage and temperature. (a) Harvested power according to load voltage, (b) maximum harvested power according to temperature.
Electronics 14 01085 g014
Figure 15. Representative temperature change factors in a magnetic energy harvesting system.
Figure 15. Representative temperature change factors in a magnetic energy harvesting system.
Electronics 14 01085 g015
Table 1. Detailed Parameters of Magnetic Core and Test Conditions.
Table 1. Detailed Parameters of Magnetic Core and Test Conditions.
ParametersQuantity
Magnetic core materialFerrite PL-7 [15]
Magnetic core informationFigure 6
Number of harvester winding turnsNs = 114
Magnetic core height25 mm
Outer radius (with/without insulation sheet)Rout = 38.5/38.2 mm
Inner radius (with/without insulation sheet)Rin = 22.5/22.2 mm
Saturation flux densityBsat = 0.44 T @25 °C
Power frequency60 Hz
Primary current intensityIsat = 60.1 Arms
Temperature ranges25 °C, 50 °C, 100 °C, 150 °C
Load conditions5.927 V (CV mode)
Disclaimer/Publisher’s Note: The statements, opinions and data contained in all publications are solely those of the individual author(s) and contributor(s) and not of MDPI and/or the editor(s). MDPI and/or the editor(s) disclaim responsibility for any injury to people or property resulting from any ideas, methods, instructions or products referred to in the content.

Share and Cite

MDPI and ACS Style

Shin, Y.; Park, B. Maximum Harvesting Power Algorithm in Magnetic Energy Harvester Considering Different Temperatures. Electronics 2025, 14, 1085. https://doi.org/10.3390/electronics14061085

AMA Style

Shin Y, Park B. Maximum Harvesting Power Algorithm in Magnetic Energy Harvester Considering Different Temperatures. Electronics. 2025; 14(6):1085. https://doi.org/10.3390/electronics14061085

Chicago/Turabian Style

Shin, Yujun, and Bumjin Park. 2025. "Maximum Harvesting Power Algorithm in Magnetic Energy Harvester Considering Different Temperatures" Electronics 14, no. 6: 1085. https://doi.org/10.3390/electronics14061085

APA Style

Shin, Y., & Park, B. (2025). Maximum Harvesting Power Algorithm in Magnetic Energy Harvester Considering Different Temperatures. Electronics, 14(6), 1085. https://doi.org/10.3390/electronics14061085

Note that from the first issue of 2016, this journal uses article numbers instead of page numbers. See further details here.

Article Metrics

Back to TopTop