DyReCS-YOLO: A Dynamic Re-Parameterized Channel-Shuffle Network for Accurate X-Ray Tire Defect Detection
Abstract
1. Introduction
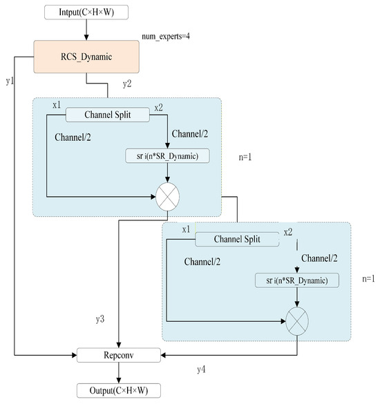
- We propose a dual-branch architecture based on RCS-YOLO that combines DynamicConv and channel shuffle. Specifically, we design the RCS_Dynamic module to dynamically adjust convolutional kernel weights and enhance cross-channel interactions, significantly improving modeling capability for complex backgrounds in tire defect images.
- We introduce the SR_Dynamic module, which integrates channel shuffle with dynamic convolution. Channel shuffle breaks fixed channel dependencies to boost cross-channel information flow, while dynamic convolution generates optimal kernel weights conditioned on input features. This combination greatly enhances feature adaptability and diversity.
- We optimize data augmentation strategies for X-ray tire images and conduct comprehensive experiments on an industrial dataset of 8326 images. Our method achieves state-of-the-art performance and also demonstrates excellent results on the public MT surface defect dataset.
2. Related Work
3. Proposed Method
3.1. Network Architecture
3.2. RCS_Dynamic Module
3.3. SR_Dynamic Module
4. Experimental Setup
4.1. Hardware and Training
4.2. Dataset and Augmentation
4.3. Evaluation Metrics
5. Results and Discussion
5.1. Comparison with Baseline Models
5.2. Ablation and Visualization
5.3. Generalization and Robustness
6. Conclusions and Future Work
- Lightweight strategies:Incorporate network pruning, channel pruning, quantization, and knowledge distillation to reduce inference latency and computational overhead, aiming to achieve real-time rates without significant accuracy loss.
- Rare-defect detection: Introduce methods like Focal Loss, class-balanced sampling, synthetic defect generation (GAN), or few-shot learning to improve recall for under-represented defect classes.
- Multi-modal and multi-view fusion: Explore fusion of X-ray data with visible-light or thermal images, or employ multi-view projections to compensate for occlusions in complex tire structures.
- Online and active learning: Develop semi-automated labeling and online learning pipelines so that the model can continuously learn newly observed defect types during production, reducing manual annotation and improving long-term adaptability.
- Rigorous statistical evaluation: Future experiments will use cross-validation, multiple runs, and confidence intervals to strengthen statistical significance and reproducibility of results.
Author Contributions
Funding
Data Availability Statement
Conflicts of Interest
References
- Qin, F.; Yuan, H.; Zhu, D.; Liu, X.; Li, M.; Ji, X. Automatic Weld Defect Detection in Steel Plates Based on Ultrasonic Total Focusing Method and Multi-layer Feature Fusion Target Detection Network. J. Mech. Eng. 2025, 61, 55–66. (In Chinese) [Google Scholar]
- Saleh, R.A.A.; Ertunç, H.M. Attention-based deep learning for tire defect detection: Fusing local and global features in an industrial case study. Expert Syst. Appl. 2025, 269, 126473. [Google Scholar] [CrossRef]
- Wu, Z.; Jiao, C.; Chen, L. Tire defect detection method based on improved Faster R-CNN. Comput. Appl. 2021, 41, 1939–1946. [Google Scholar] [CrossRef]
- Li, Y.; Fan, B.; Zhang, W.; Jiang, Z. TireNet: A high recall rate method for practical application of tire defect type classification. Future Gener. Comput. Syst. 2021, 125, 1–9. [Google Scholar] [CrossRef]
- Wang, G.; Cui, X.; Wang, X.; Gong, Y.; Ding, Z. Tire defect detection based on encoder and multi-scale feature fusion. Electron. Meas. Technol. 2024, 47, 25–32. [Google Scholar]
- Zhang, H.; Wu, Y. Research progress on vision-based automobile component defect detection. Chin. J. Sci. Instrum. 2023, 44, 1–20. [Google Scholar]
- Liu, H.; Yang, X.; Latecki, L.J.; Yan, S. Dense neighborhoods on affinity graph. Int. J. Comput. Vis. 2012, 98, 65–82. [Google Scholar] [CrossRef]
- Cui, X.; Liu, Y.; Wang, C. Defect automatic detection for tire X-ray images using inverse transformation of principal component residual. In Proceedings of the IEEE Conference on Artificial Intelligence and Pattern Recognition, Lodz, Poland, 19–21 September 2016; pp. 1–8. [Google Scholar] [CrossRef]
- Guo, Q.; Zhang, C.; Li, H.; Zhang, X. Defect detection in tire X-ray images using weighted texture dissimilarity. J. Sens. 2016, 2016, 4140175. [Google Scholar] [CrossRef]
- Wang, R.; Guo, Q.; Lu, S.; Zhang, C. Tire defect detection using fully convolutional network. IEEE Access 2019, 7, 43502–43510. [Google Scholar] [CrossRef]
- Wu, Z.; Jiao, C.; Sun, J.; Chen, L. Tire defect detection based on Faster R-CNN. In Proceedings of the International Conference on Machine Vision Applications, Yangon, Myanmar, 26–28 February 2020. [Google Scholar] [CrossRef]
- Peng, C.; Li, X.; Wang, Y. TD-YOLOA: An efficient YOLO network with attention mechanism for tire defect detection. IEEE Trans. Instrum. Meas. 2023, 72, 3529111. [Google Scholar] [CrossRef]
- Zhao, M.; Tian, Q.; Zhang, Y. MSANet: Efficient detection of tire defects in radiographic images. Meas. Sci. Technol. 2023, 33, 125401. [Google Scholar] [CrossRef]
- Xu, D.; Pan, J. DHS-YOLO: Enhanced detection of slender wheat seedlings under dynamic illumination conditions. Agriculture 2025, 15, 510. [Google Scholar] [CrossRef]
- Lu, J. Unsupervised learning with generative adversarial network for automatic tire defect detection from X-ray images. Sensors 2021, 21, 6773. [Google Scholar] [CrossRef] [PubMed]
- Kang, M.; Ting, C.M.; Ting, F.F.; Phan, R.C.-W. RCS-YOLO: A fast and high-accuracy object detector for brain tumor detection. In Proceedings of the International Conference on Medical Image Computing and Computer-Assisted Intervention, Vancouver, BC, Canada, 8–12 October 2023. [Google Scholar] [CrossRef]





| Model | Params (M) | Precision | Recall | mAP@50 | mAP@50:95 | FPS |
|---|---|---|---|---|---|---|
| YOLOv8-s | 11.2 | 0.698 | 0.659 | 0.696 | 0.477 | 201.5 |
| YOLOv11-s | 9.4 | 0.668 | 0.606 | 0.649 | 0.428 | 221.6 |
| RCS_YOLO | 11.15 | 0.653 | 0.671 | 0.699 | 0.457 | 200.5 |
| GOLD_YOLO | 21.53 | 0.680 | 0.642 | 0.680 | 0.464 | 184.45 |
| DyReCS-YOLO | 12.2 | 0.739 | 0.685 | 0.741 | 0.505 | 189.5 |
| Model Variant | DynamicConv | Channel Shuffle | mAP@0.5 | mAP@0.5:0.95 |
|---|---|---|---|---|
| YOLOv8-s | × | × | 0.696 | 0.477 |
| +DynamicConv | √ | × | 0.717 | 0.491 |
| +Channel Shuffle | × | √ | 0.724 | 0.498 |
| DyReCS-YOLO | √ | √ | 0.741 | 0.505 |
| Model | Precision | Recall | mAP@50 | mAP@50:95 |
|---|---|---|---|---|
| YOLOv8-s | 0.954 | 0.911 | 0.956 | 0.601 |
| YOLOv11-s | 0.904 | 0.945 | 0.956 | 0.623 |
| DyReCS-YOLO | 0.902 | 0.945 | 0.975 | 0.648 |
Disclaimer/Publisher’s Note: The statements, opinions and data contained in all publications are solely those of the individual author(s) and contributor(s) and not of MDPI and/or the editor(s). MDPI and/or the editor(s) disclaim responsibility for any injury to people or property resulting from any ideas, methods, instructions or products referred to in the content. |
© 2025 by the authors. Licensee MDPI, Basel, Switzerland. This article is an open access article distributed under the terms and conditions of the Creative Commons Attribution (CC BY) license (https://creativecommons.org/licenses/by/4.0/).
Share and Cite
Bai, X.; Dong, Q.; Han, J.; Zhou, Y.; Qi, X.; Tian, L. DyReCS-YOLO: A Dynamic Re-Parameterized Channel-Shuffle Network for Accurate X-Ray Tire Defect Detection. Electronics 2025, 14, 4570. https://doi.org/10.3390/electronics14234570
Bai X, Dong Q, Han J, Zhou Y, Qi X, Tian L. DyReCS-YOLO: A Dynamic Re-Parameterized Channel-Shuffle Network for Accurate X-Ray Tire Defect Detection. Electronics. 2025; 14(23):4570. https://doi.org/10.3390/electronics14234570
Chicago/Turabian StyleBai, Xinlong, Quancheng Dong, Jinshuo Han, Youjie Zhou, Xu Qi, and Longteng Tian. 2025. "DyReCS-YOLO: A Dynamic Re-Parameterized Channel-Shuffle Network for Accurate X-Ray Tire Defect Detection" Electronics 14, no. 23: 4570. https://doi.org/10.3390/electronics14234570
APA StyleBai, X., Dong, Q., Han, J., Zhou, Y., Qi, X., & Tian, L. (2025). DyReCS-YOLO: A Dynamic Re-Parameterized Channel-Shuffle Network for Accurate X-Ray Tire Defect Detection. Electronics, 14(23), 4570. https://doi.org/10.3390/electronics14234570

