Two-Dimensional Direction-of-Arrival Estimation Using Direct Data Processing Approach in Directional Frequency Analysis and Recording (DIFAR) Sonobuoy
Abstract
1. Introduction
2. AVS Theoretical Analysis
2.1. Acoustic Vector Sensor Background
2.2. DIFAR Sonobuoys
- ₋
- Temperature: Ideally, the temperature profile should minimize refraction. This could involve placing the sonobuoy just below a thermocline where sound travels with minimal bending.
- ₋
- Salinity: While not much control can be exerted over salinity, understanding its influence on sound speed in the deployment area helps in predicting sound propagation.
- ₋
- Pressure: Considering the pressure changes with depth is crucial for predicting sound speed variations.
3. Direct Data-Processing (DDP) Approach
- Fast Fourier transform (FFT):
- ₋
- The FFT is an algorithm used to compute the discrete Fourier transform (DFT) of a sequence or its inverse (IDFT).
- ₋
- It efficiently computes the DFT of a sequence or its inverse by dividing the transformation into smaller, manageable parts.
- ₋
- The FFT operates on a fixed-length signal and provides frequency domain information for the entire signal.
- ₋
- It is commonly used for analyzing signals with stationary frequency content, such as analyzing the frequency components of an entire audio recording or an image.
- Short-time Fourier transform (STFT):
- ₋
- The STFT is a technique used to analyze the frequency content of a signal over time.
- ₋
- It involves dividing the signal into short segments, applying the Fourier transform to each segment, and then analyzing how the frequency content of the signal changes over time.
- ₋
- The STFT provides a time-varying representation of the frequency content of a signal, which can reveal transient events or changes in the frequency content over time.
- ₋
- It is often used in signal-processing applications where the frequency content of a signal is not stationary, such as in audio processing for music analysis, speech recognition, or biomedical signal analysis.
4. Simulations and Results
4.1. Constant Frequency Cosine Source
4.2. Time-Varying Frequency Source
4.3. Multipath Effect
- The speed of sound propagation in the entire environment is considered constant.
- As the speed of sound is assumed constant, all the propagation paths consist of straight lines between the source, upper and lower boundaries, and the receiver.
- There is always a direct path assumed.
- For each propagation path, the time delay, gain, Doppler coefficient, reflection loss, and area-dependent propagation loss are assumed to be known. Figure 12 illustrates the type of propagation paths and the locations of the receiver (DIFAR sensor) and the transmitter (target).
4.4. Single-Frequency Moving Cosine Source
4.5. Cosine Signal with Variable Frequency
5. Conclusions and Future Works
Author Contributions
Funding
Data Availability Statement
Conflicts of Interest
References
- Lu, F.; Milios, E.; Stergiopoulos, S.; Dhanantwari, A. New towed-array shape-estimation scheme for real-time sonar systems. IEEE J. Ocean. Eng. 2003, 28, 552–563. [Google Scholar] [CrossRef]
- Braca, P.; Willett, P.; LePage, K.; Marano, S.; Matta, V. Bayesian tracking in underwater wireless sensor networks with port-starboard ambiguity. IEEE Trans. Signal Process. 2014, 62, 1864–1878. [Google Scholar] [CrossRef]
- Mackinson, S.; Freeman, S.; Flatt, R.; Meadows, B. Improved acoustic surveys that save time and money: Integrating fisheries and ground-discrimination acoustic technologies. J. Exp. Mar. Biol. Ecol. 2004, 305, 129–140. [Google Scholar] [CrossRef]
- Molaei, A.M.; Zakeri, B.; Andargoli, S.M.H. Two-dimensional DOA estimation for multi-path environments by accurate separation of signals using k-medoids clustering. IET Commun. 2019, 13, 1141–1147. [Google Scholar] [CrossRef]
- Tervo, S. Direction estimation based on sound intensity vectors. In Proceedings of the 2009 European Signal Processing Conference (EUSIPCO 2009), Glasgow, UK, 24–28 August 2009; pp. 700–704. [Google Scholar]
- Abdi, A.; Guo, H. Signal correlation modeling in acoustic vector sensor arrays. IEEE Trans. Signal Process. 2009, 57, 892–903. [Google Scholar] [CrossRef]
- Song, Y.; Wong, K.T. Three-dimensional localization of a near-field emitter of unknown spectrum using an acoustic vector sensor. IEEE Trans. Aerosp. Electron. Syst. 2013, 49, 1035–1041. [Google Scholar] [CrossRef]
- Thode, A.M.; Sakai, T.; Michalec, J.; Rankin, S.; Soldevilla, M.S.; Martin, B.; Kim, K.H. Displaying bioacoustic directional information from sonobuoys using azigrams. J. Acoust. Soc. Am. 2019, 146, 95–102. [Google Scholar] [CrossRef] [PubMed]
- Terracciano, D.S.; Costanzi, R.; Manzari, V.; Stifani, M.; Caiti, A. Passive Bearing Estimation Using a 2-D Acoustic Vector Sensor Mounted on a Hybrid Autonomous Underwater Vehicle. IEEE J. Ocean. Eng. 2022, 47, 799–814. [Google Scholar] [CrossRef]
- Yeo, H.G.; Choi, J.; Jin, C.; Pyo, S.; Roh, Y.; Choi, H. The Design and Optimization of a Compressive-Type Vector Sensor Utilizing a PMN-28PT Piezoelectric Single-Crystal. Sensors 2019, 19, 5155. [Google Scholar] [CrossRef] [PubMed]
- Cao, J.; Liu, J.; Wang, J.; Lai, X. Acoustic vector sensor: Reviews and future perspectives. IET Signal Process. 2017, 11, 1–9. [Google Scholar] [CrossRef]
- Zhang, H.; Chen, H.-J.; Wang, W.-Z. An underwater acoustic vector sensor with high sensitivity and broad band. Sens. Transducers 2014, 170, 30. [Google Scholar]
- Silvia, M.T.; Richards, R.T. A theoretical and experimental investigation of low-frequency acoustic vector sensor. In Proceedings of the Oceans 2002, Biloxi, MI, USA, 29–31 October 2002. [Google Scholar]
- Kalgan, A.; Bahl, R.; Kumar, A. Studies on underwater acoustic vector sensor for passive estimation of direction of arrival of radiating acoustic signal. Indian J. Geo-Mar. Sci. 2015, 44, 213–219. [Google Scholar]
- Felisberto, P.; Santos, P.; Jesus, S.M. Tracking source azimuth using a single vector sensor. In Proceedings of the 2010 Fourth International Conference on Sensor Technologies and Applications, Venice, Italy, 18–25 July 2010. [Google Scholar]
- Gabrielson, T.B. Design problems and limitations in vector sensors. In Proceedings of the Workshop on Directional Acoustic Sensors, Newport, RI, USA, 17–18 April 2001. [Google Scholar]
- Kotus, J.; Szwoch, G. Calibration of acoustic vector sensor based on MEMS microphones for DOA estimation. Appl. Acoust. 2018, 141, 307–321. [Google Scholar] [CrossRef]
- Liu, S.; Lan, Y.; Li, Q. Design of Underwater Acoustic Vector Sensor and its Elastic Suspension Element. In Applied Mechanics and Materials; Trans Tech Publications, Ltd.: Seestrasse, Switzerland, 2015; Volume 713, pp. 569–572. [Google Scholar]
- Kumar, B.; Kumar, A.; Bahl, R. Performance Analysis of Highly Directional Acoustic Vector Sensor for Underwater Applications. In Global Oceans 2020: Singapore–US Gulf Coast; IEEE: Biloxi, MS, USA, 2020; pp. 1–5. [Google Scholar]
- Sherman, C.H.; Butler, J.L. Transducers and Arrays for Underwater Sound; Springer: New York, NY, USA, 2016. [Google Scholar]
- Besant, W.H. Elementary Hydrostatics; Deighton, Bell and Company: Cambridge, UK, 1890. [Google Scholar]
- Akyildiz, I.F.; Pompili, D.; Melodia, T. Underwater acoustic sensor networks: Research challenges. Ad Hoc Netw. 2005, 3, 257–279. [Google Scholar] [CrossRef]
- Maranda, B.H. The statistical accuracy of an arctangent bearing estimator. In Proceedings of the Oceans 2003. Celebrating the Past… Teaming Toward the Future (IEEE Cat. No. 03CH37492), San Diego, CA, USA, 22–26 September 2003; IEEE: Piscataway, NJ, USA, 2003; Volume 4, pp. 2127–2132. [Google Scholar]
- Nehorai, A.; Paldi, E. Acoustic vector-sensor array processing. IEEE Trans. Signal Process. 1994, 42, 2481–2491. [Google Scholar] [CrossRef]
- Su, X.; Ullah, I.; Liu, X.; Choi, D. A review of underwater localization techniques, algorithms, and challenges. J. Sens. 2020, 2020, 6403161. [Google Scholar] [CrossRef]
- Qu, F.; Wang, S.; Wu, Z.; Liu, Z. A survey of ranging algorithms and localization schemes in underwater acoustic sensor network. China Commun. 2016, 13, 66–81. [Google Scholar]
- Sejdić, E.; Djurović, I.; Jiang, J. Time–frequency feature representation using energy concentration: An overview of recent advances. Digit. Signal Process. 2009, 19, 153–183. [Google Scholar] [CrossRef]
- Fahy, F.J. Sound Intensity, 2nd ed.; CRC Press: Boca Raton, FL, USA, 1995. [Google Scholar]
- Heyser, R.C. Instantaneous intensity. J. Acoust. Soc. Am. 1986, 80, S103. [Google Scholar] [CrossRef]
- Davies, S. Bearing accuracies for arctan processing of crossed dipole arrays. In Proceedings of the OCEANS’87, Halifax, NS, Canada, 28 September–1 October 1987; IEEE: Piscataway, NJ, USA, 1987; pp. 351–356. [Google Scholar]























| Underwater Localization Algorithms | ||||||
|---|---|---|---|---|---|---|
| Range-Base Algorithm | Range-Free Algorithm | |||||
| TDOA | TOA | AOA | RSSI | HOP | Area-base | Centroid |
| Localization Algorithms | Methodology | Advantages | Drawbacks/Issues |
|---|---|---|---|
| TOA | Acoustic/targets must be synchronized | Most frequently used for underwater sensors | Time synchronization is required |
| TDOA | Known transmission time | Does not depend on the transmission time of the source | High cost and energy consumption |
| AOA | Based on the arrival angles | All unknown nodes can detect incident signal angles | Ultrasound receiver increases the cost |
| RSSI | Depend on the strength of the received signal and path loss impact | Applicable in asynchronous scenarios | Loss caused by multipath fading |
| This work (based on DDP) | Using STFT and azigram matrix for angle detection | Simultaneous detection of target frequency and time of its presence | Low accuracy in detecting targets with the same frequency that appear simultaneously |
| No. | Description | Equation Number |
|---|---|---|
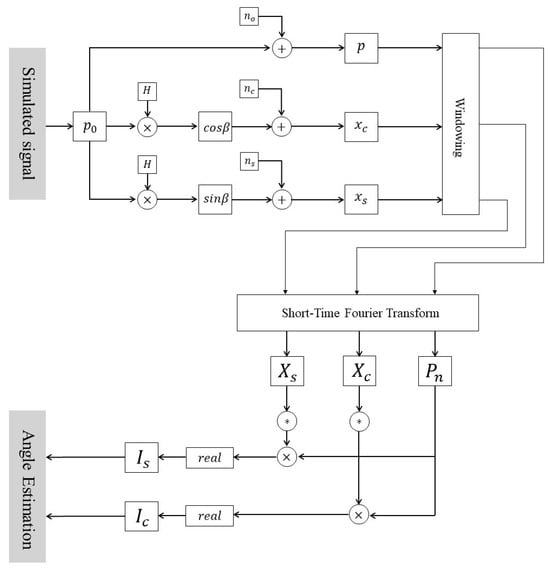
| 1 | Introduce the simulated signals as input p0 to the system. This signal can be a single-frequency or variable-frequency cosine type. It should be noted that various signal restrictions, such as applying multipath effects, are implemented at this stage. The collective signal resulting from multipaths is then entered into the system as p0. | |
| 2 | Given the SNR considered in the simulation, apply Gaussian white noise to the signal p0 of omnidirectional, sinusoidal and cosine channels to generate p, xs and xc. | (4)–(6) |
| 3 | Choose a suitable window, which can be Blackman–Harris type, to reduce side lobes, or other windows such as Hanning or Hamming, as well as a suitable window size, to reduce or increase the desired frequency or time resolution. | |
| 4 | Apply STFT to omnidirectional, sine and cosine channels according to the points mentioned in Step 3. | (7)–(9) |
| 5 | Calculate the product of the omnidirectional signal in the complex conjugate of the sine and cosine channel signal obtained in Step 4 and consider its real part to obtain the active sound intensity value of the sine and cosine channels. | (10) and (11) |
| 6 | Apply the inverse tangent to the active sound intensity of the sine and cosine channels to obtain the azigram matrix. | (14) |
| 7 | Apply a threshold limit or filter on the values obtained in the azigram matrix to better discover the angle of the underwater source. |
Disclaimer/Publisher’s Note: The statements, opinions and data contained in all publications are solely those of the individual author(s) and contributor(s) and not of MDPI and/or the editor(s). MDPI and/or the editor(s) disclaim responsibility for any injury to people or property resulting from any ideas, methods, instructions or products referred to in the content. |
© 2024 by the authors. Licensee MDPI, Basel, Switzerland. This article is an open access article distributed under the terms and conditions of the Creative Commons Attribution (CC BY) license (https://creativecommons.org/licenses/by/4.0/).
Share and Cite
Nemati, A.; Zakeri, B.; Molaei, A.M. Two-Dimensional Direction-of-Arrival Estimation Using Direct Data Processing Approach in Directional Frequency Analysis and Recording (DIFAR) Sonobuoy. Electronics 2024, 13, 2931. https://doi.org/10.3390/electronics13152931
Nemati A, Zakeri B, Molaei AM. Two-Dimensional Direction-of-Arrival Estimation Using Direct Data Processing Approach in Directional Frequency Analysis and Recording (DIFAR) Sonobuoy. Electronics. 2024; 13(15):2931. https://doi.org/10.3390/electronics13152931
Chicago/Turabian StyleNemati, Amirhossein, Bijan Zakeri, and Amir Masoud Molaei. 2024. "Two-Dimensional Direction-of-Arrival Estimation Using Direct Data Processing Approach in Directional Frequency Analysis and Recording (DIFAR) Sonobuoy" Electronics 13, no. 15: 2931. https://doi.org/10.3390/electronics13152931
APA StyleNemati, A., Zakeri, B., & Molaei, A. M. (2024). Two-Dimensional Direction-of-Arrival Estimation Using Direct Data Processing Approach in Directional Frequency Analysis and Recording (DIFAR) Sonobuoy. Electronics, 13(15), 2931. https://doi.org/10.3390/electronics13152931

