Electromagnetic Imaging of Passive Intermodulation Sources Based on Virtual Array Expansion Synchronous Imaging Compressed Sensing
Abstract
1. Introduction
- (1)
- The proposed method can solve the problem of the large peak area at the PIM source location in the imaging results and can obtain imaging results with smaller peak areas with smaller computational effort.
- (2)
- The proposed method solves the problem that a smaller number of antennas cannot locate multiple PIM sources. The method solves the flooding problem with higher localization accuracy.
- (3)
- The proposed method solves the problem of the low energy share of the PIM source location in the imaging results. The solution to this problem can make the PIM source location in the imaging results have more focused and more accurate positioning.
2. Signal Model for Detecting PIMs
2.1. Coprime Array
2.2. UWB-CS
3. The Proposed Improved CS Method
3.1. Transmission Matrix Frequency Selection
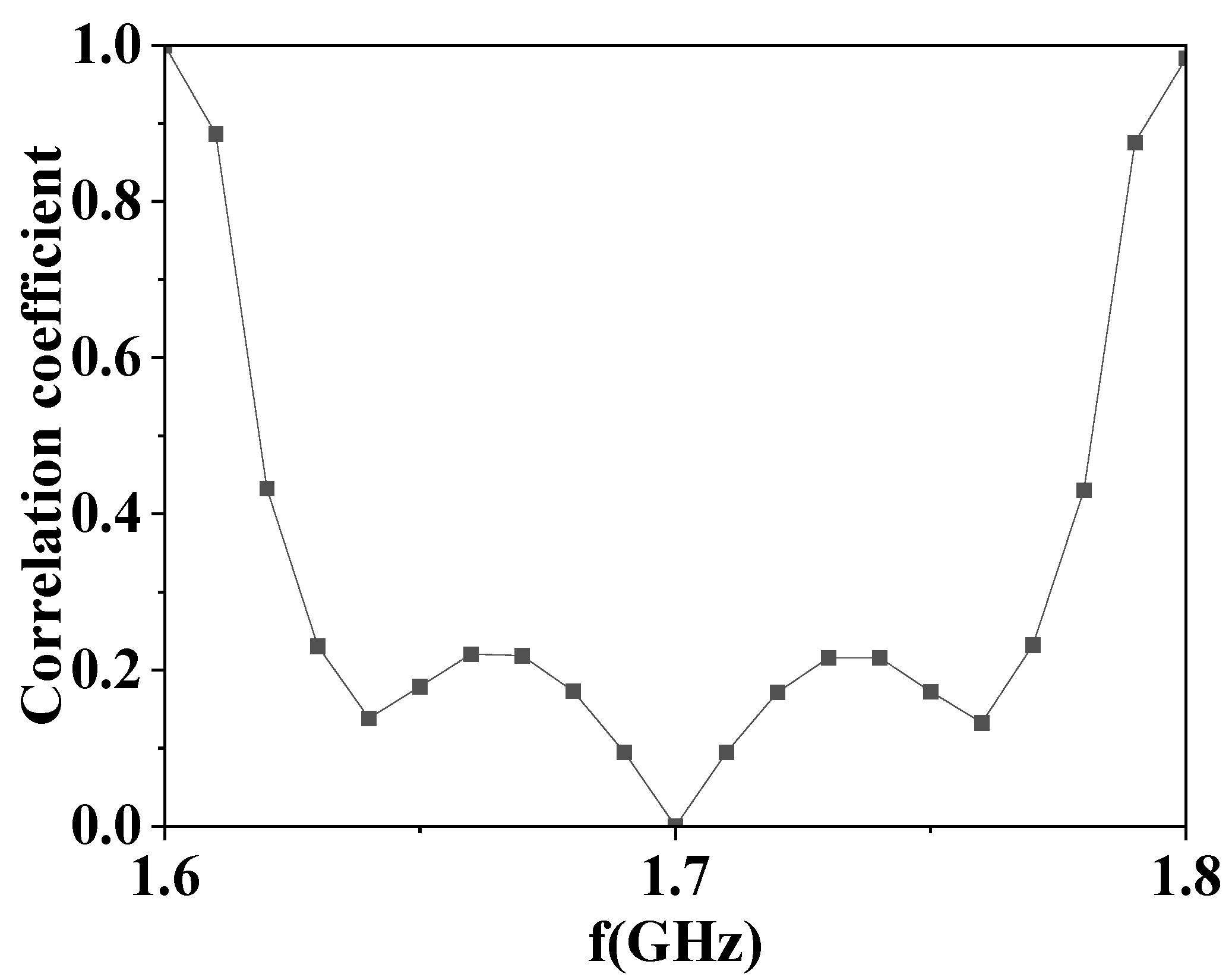
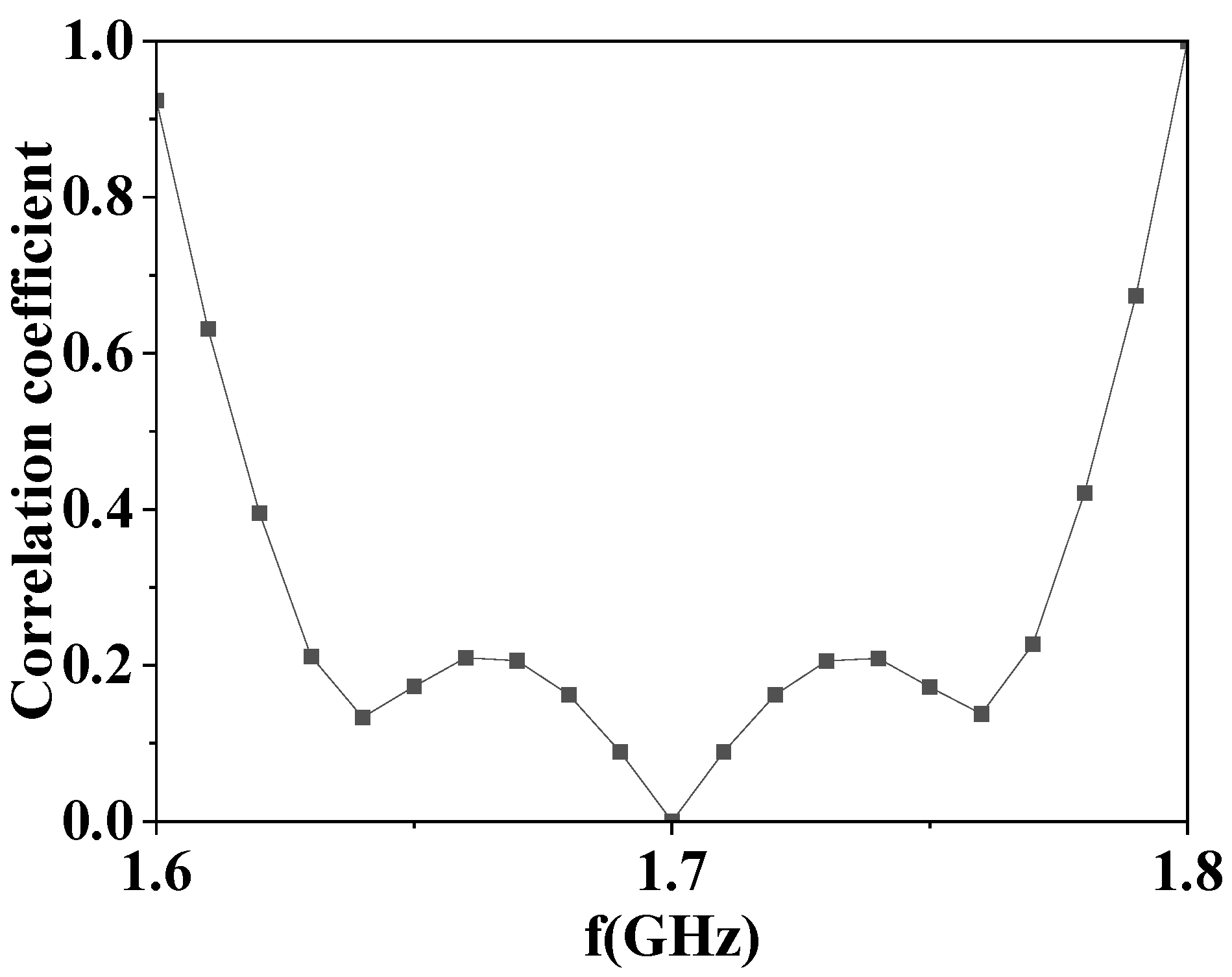
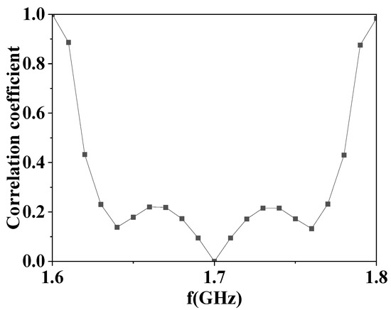
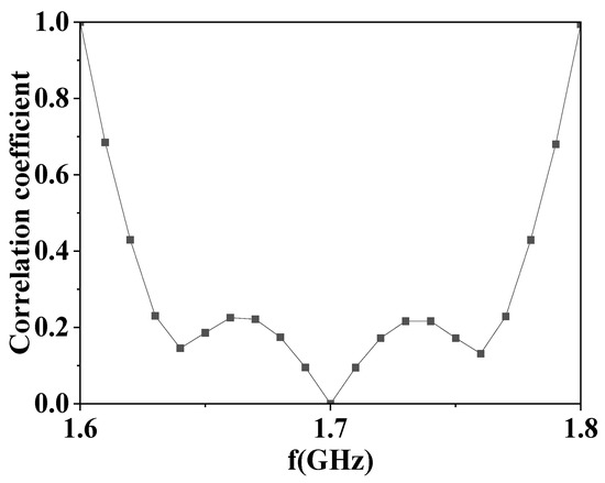
3.2. Fuzzy Synchronous Principle
3.3. SI-CS Method
3.4. Quantitative Indicators for Imaging Quality
4. Simulation Results and Discussion
4.1. A Single Target
4.2. Double Targets
4.3. Multiple Targets
5. Conclusions
Author Contributions
Funding
Data Availability Statement
Conflicts of Interest
References
- Parkale, Y.V.; Nalbalwar, S.L. Compressed Sensing (CS) for musical signal processing based on structured class of sensing matrices. In Proceedings of the 2016 International Conference on Wireless Communications, Signal Processing and Networking (WiSPNET), Chennai, India, 23–25 March 2016; pp. 2150–2155. [Google Scholar]
- Liu, H.; Wang, B.; Lang, D.; Huang, R. Processing Optical Fiber Sensing Signals with Compressed Sensing under special working conditions. In Proceedings of the 2020 International Conference on Intelligent Computing and Human-Computer Interaction (ICHCI), Sanya, China, 4–6 December 2020; pp. 126–129. [Google Scholar]
- Wang, E.; Chen, Y.; Tu, D. Speech Signal Processing and Simulation Analysis Based on Compressed Sensing. In Proceedings of the 2016 Eighth International Conference on Measuring Technology and Mechatronics Automation (ICMTMA), Macau, China, 11–12 March 2016; pp. 617–620. [Google Scholar]
- Xue, Z.; Ma, J.; Yuan, X. D-OAMP: A denoising-based signal recovery algorithm for compressed sensing. In Proceedings of the 2016 IEEE Global Conference on Signal and Information Processing (GlobalSIP), Washington, DC, USA, 7–9 December 2016; pp. 267–271. [Google Scholar]
- Geng, J.; Yu, Z.; Li, C. Synthetic Aperture Radar Increment Imaging Based on Compressed Sensing. IEEE Geosci. Remote Sens. Lett. 2022, 19, 1–5. [Google Scholar] [CrossRef]
- Li, F.; Hong, S.; Wang, L. A New Satellite Image Fusion Method Based on Distributed Compressed Sensing. In Proceedings of the 2018 25th IEEE International Conference on Image Processing (ICIP), Athens, Greece, 7–10 October 2018; pp. 1882–1886. [Google Scholar]
- Meiniel, W.; Le Montagner, Y.; Angelini, E.; Olivo-Marin, J.C. Image denoising by multiple compressed sensing reconstructions. In Proceedings of the 2015 IEEE 12th International Symposium on Biomedical Imaging (ISBI), Brooklyn, NY, USA, 16–19 April 2015. [Google Scholar]
- Takeyama, S.; Ono, S. Joint Mixed-Noise Removal and Compressed Sensing Reconstruction of Hyperspectral Images via Convex Optimization. In Proceedings of the IGARSS 2020—2020 IEEE International Geoscience and Remote Sensing Symposium, Waikoloa, HI, USA, 26 September–2 October 2020; pp. 1492–1495. [Google Scholar]
- Lu, Y.Y.; Chang, F.C.; Huang, H.C.; Chen, P.L. Comparisons of Reconstruction Capabilities for Lossy Transmission with Block-Based Compressed Sensing. In Proceedings of the 2022 16th International Conference on Ubiquitous Information Management and Communication (IMCOM), Seoul, Republic of Korea, 3–5 January 2022; pp. 1–4. [Google Scholar]
- Song, J.; Liao, Z.W. A new fast and parallel MRI framework based on contourlet and compressed sensing sensitivity encoding (CS-SENSE). In Proceedings of the 2016 International Conference on Machine Learning and Cybernetics (ICMLC), Jeju, Republic of Korea, 10–13 July 2016; pp. 750–755. [Google Scholar]
- Kim, I.; Vu, N.L. Parallel Compressed Sensing method to accelerate MRI. In Proceedings of the 2012 12th International Conference on Control, Automation and Systems, Jeju, Republic of Korea, 17–21 October 2012; pp. 1103–1107. [Google Scholar]
- Yang, G.; Yu, S.; Dong, H.; Slabaugh, G.; Dragotti, P.L.; Ye, X.; Liu, F.; Keegan, J.; Guo, Y.; Firmin, D. DAGAN: Deep De-Aliasing Generative Adversarial Networks for Fast Compressed Sensing MRI Reconstruction. IEEE Trans. Med. Imaging 2018, 37, 1310–1321. [Google Scholar] [CrossRef] [PubMed]
- Murad, M.; Bilal, M.; Jalil, A.; Ali, A.; Mehmood, K.; Khan, B. Efficient Reconstruction Technique for Multi-Slice CS-MRI Using Novel Interpolation and 2D Sampling Scheme. IEEE Access 2020, 8, 117452–117466. [Google Scholar] [CrossRef]
- Sun, L.; Fan, Z.; Fu, X.; Huang, Y.; Ding, X.; Paisley, J. A Deep Information Sharing Network for Multi-Contrast Compressed Sensing MRI Reconstruction. IEEE Trans. Image Process. 2019, 28, 6141–6153. [Google Scholar] [CrossRef] [PubMed]
- Cheng, P.; Wang, X.; Zhao, J.; Cheng, J. A Fast and Accurate Compressed Sensing Reconstruction Algorithm for ISAR Imaging. IEEE Access 2019, 7, 157019–157026. [Google Scholar] [CrossRef]
- Ding, J.; Wang, M.; Kang, H.; Wang, Z. MIMO Radar Super-Resolution Imaging Based on Reconstruction of the Measurement Matrix of Compressed Sensing. IEEE Geosci. Remote Sens. Lett. 2022, 19, 1–5. [Google Scholar] [CrossRef]
- Fang, Y.; Wang, B.; Sun, C.; Song, Z. Near-field electromagnetic scattering measurement and imaging approach based on compressed sensing. In Proceedings of the 2016 IEEE 5th Asia-Pacific Conference on Antennas and Propagation (APCAP), Kaohsiung, Taiwan, 26–29 July 2016; pp. 217–218. [Google Scholar]
- Huang, C.; Liu, H.; Gan, L.; Luo, Z.; Zhou, Y. Signal waveform design for high resolution target localization in through-the-wall radar. In Proceedings of the 2020 IEEE 11th Sensor Array and Multichannel Signal Processing Workshop (SAM), Hangzhou, China, 8–11 June 2020; pp. 1–5. [Google Scholar]
- Zhou, Z.; Wei, S.; Zhang, H.; Shen, R.; Shi, J.; Zhang, X. Learning-Based Sparse Recovery Algorithm for 3D SAR Imaging. In Proceedings of the IGARSS 2022—2022 IEEE International Geoscience and Remote Sensing Symposium, Kuala Lumpur, Malaysia, 17–22 July 2022; pp. 1304–1307. [Google Scholar]
- Barzegar, A.S.; Cheldavi, A.; Sedighy, S.H.; Nayyeri, V. 3-D Through-the-Wall Radar Imaging Using Compressed Sensing. IEEE Geosci. Remote Sens. Lett. 2022, 19, 1–5. [Google Scholar] [CrossRef]
- Stevanovic, M.N.; Dinkić, J.L.; Djordjevic, A.R. Estimating Electrically Small Targets Using Equivalent Dipoles and Sparse Processing. IEEE Trans. Antennas Propag. 2021, 69, 4123–4135. [Google Scholar] [CrossRef]
- Fang, Y.; Wang, B.; Sun, C. Three-dimensional near-field microwave imaging approach based on compressed sensing. In Proceedings of the 2015 International Symposium on Antennas and Propagation (ISAP), Hobart, TAS, Australia, 9–12 November 2015; pp. 1–4. [Google Scholar]
- Wang, Y.; Wang, F. 2D Through-the-Wall Radar Imaging based on Gridless Compressed Sensing. In Proceedings of the 2019 International Applied Computational Electromagnetics Society Symposium—China (ACES), Nanjing, China, 8–11 August 2019; pp. 1–2. [Google Scholar]
- Wang, G.; Ma, C.; Jiang, J. On Ground Penetrating Radar Imaging Method Based on Compressed Sensing in Multi-target Environment. In Proceedings of the 2019 Chinese Control Conference (CCC), Guangzhou, China, 27–30 July 2019; pp. 3332–3336. [Google Scholar]
- Yang, L.; Zhou, J.; Xiao, H.; Hu, Y. Two-dimensional radar imaging based on continuous compressed sensing. In Proceedings of the 2015 IEEE 5th Asia-Pacific Conference on Synthetic Aperture Radar (APSAR), Singapore, 1–4 September 2015; pp. 710–713. [Google Scholar]
- Baraniuk, R.; Steeghs, P. Compressive Radar Imaging. In Proceedings of the 2007 IEEE Radar Conference, Waltham, MA, USA, 17–20 April 2007; pp. 128–133. [Google Scholar]
- Yoon, Y.-S.; Amin, M.G. Imaging of behind the wall targets using wideband beamforming with compressive sensing. In Proceedings of the 2009 IEEE/SP 15th Workshop on Statistical Signal Processing, Cardiff, UK, 31 August 2009–3 September 2009; pp. 93–96. [Google Scholar]
- Yoon, Y.-S.; Amin, M.G. Through-the-Wall Radar Imaging using compressive sensing along temporal frequency domain. In Proceedings of the 2010 IEEE International Conference on Acoustics, Speech and Signal Processing, Dallas, TX, USA, 14–19 March 2010; pp. 2806–2809. [Google Scholar]
- Wright, S.J.; Nowak, R.D.; Figueiredo, M.A. Sparse Reconstruction by Separable Approximation. IEEE Trans. Signal Process. 2009, 57, 2479–2493. [Google Scholar] [CrossRef]
- Eldar, Y.C.; Kuppinger, P.; Bolcskei, H. Block-Sparse Signals: Uncertainty Relations and Efficient Recovery. IEEE Trans. Signal Process. 2010, 58, 3042–3054. [Google Scholar] [CrossRef]
- Wang, J.; Li, G.; Zhang, H.; Wang, X. Analysis of block OMP using block RIP. arXiv 2011, arXiv:1104.1071. [Google Scholar]
- Nikitaki, S.; Tsakalides, P. Localization in wireless networks based on jointly compressed sensing. In Proceedings of the 2011 19th European Signal Processing Conference, Barcelona, Spain, 29 August 2011–2 September 2011; IEEE: Piscataway, NJ, USA, 2001; pp. 1809–1813. [Google Scholar]
- Guibène, W.; Slock, D. Cooperative spectrum sensing and localization in cognitive radio systems using compressed sensing. J. Sens. 2013, 2013, 606413. [Google Scholar] [CrossRef]
- Rostami, M.; Cheung, N.M.; Quek, T.Q. Compressed sensing of diffusion fields under heat equation constraint. In Proceedings of the 2013 IEEE International Conference on Acoustics, Speech and Signal Processing, Vancouver, BC, Canada, 26–31 May 2013; IEEE: Piscataway, NJ, USA; pp. 4271–4274. [Google Scholar]
- Ranieri, J.; Chebira, A.; Lu, Y.M.; Vetterli, M. Sampling and reconstructing diffusion fields with localized sources. In Proceedings of the 2011 IEEE International Conference on Acoustics, Speech and Signal Processing (ICASSP), Prague, Czech Republic, 22–27 May 2011; IEEE: Piscataway, NJ, USA; pp. 4016–4019. [Google Scholar]
- Zhou, C.; Shi, Z.; Gu, Y.; Shen, X. DECOM: DOA estimation with combined MUSIC for coprime array. In Proceedings of the 2013 International Conference on Wireless Communications and Signal Processing, Hangzhou, China, 24–26 October 2013; pp. 1–5. [Google Scholar]
- Wu, Q.; Sun, F.; Lan, P.; Ding, G.; Zhang, X. Two-Dimensional Direction-of-Arrival Estimation for Co-Prime Planar Arrays: A Partial Spectral Search Approach. IEEE Sens. J. 2016, 16, 5660–5670. [Google Scholar] [CrossRef]

















Disclaimer/Publisher’s Note: The statements, opinions and data contained in all publications are solely those of the individual author(s) and contributor(s) and not of MDPI and/or the editor(s). MDPI and/or the editor(s) disclaim responsibility for any injury to people or property resulting from any ideas, methods, instructions or products referred to in the content. |
© 2023 by the authors. Licensee MDPI, Basel, Switzerland. This article is an open access article distributed under the terms and conditions of the Creative Commons Attribution (CC BY) license (https://creativecommons.org/licenses/by/4.0/).
Share and Cite
Liu, S.; Liang, M.; Cheng, Z.; Li, X.; Ma, M.; Liang, F.; Zhao, D. Electromagnetic Imaging of Passive Intermodulation Sources Based on Virtual Array Expansion Synchronous Imaging Compressed Sensing. Electronics 2023, 12, 1653. https://doi.org/10.3390/electronics12071653
Liu S, Liang M, Cheng Z, Li X, Ma M, Liang F, Zhao D. Electromagnetic Imaging of Passive Intermodulation Sources Based on Virtual Array Expansion Synchronous Imaging Compressed Sensing. Electronics. 2023; 12(7):1653. https://doi.org/10.3390/electronics12071653
Chicago/Turabian StyleLiu, Siyuan, Musheng Liang, Zihan Cheng, Xinjie Li, Menglu Ma, Feng Liang, and Deshuang Zhao. 2023. "Electromagnetic Imaging of Passive Intermodulation Sources Based on Virtual Array Expansion Synchronous Imaging Compressed Sensing" Electronics 12, no. 7: 1653. https://doi.org/10.3390/electronics12071653
APA StyleLiu, S., Liang, M., Cheng, Z., Li, X., Ma, M., Liang, F., & Zhao, D. (2023). Electromagnetic Imaging of Passive Intermodulation Sources Based on Virtual Array Expansion Synchronous Imaging Compressed Sensing. Electronics, 12(7), 1653. https://doi.org/10.3390/electronics12071653

