An SAR Imaging and Detection Model of Multiple Maritime Targets Based on the Electromagnetic Approach and the Modified CBAM-YOLOv7 Neural Network
Abstract
:1. Introduction
2. SAR Imaging Model with the Electromagnetic Approach
2.1. The Sea Surface Scattering Calculations
2.2. The Calculations of the Composite Target and Sea Model Scattering
2.3. The SAR Imaging Model
3. SAR Image Detections with the YOLOv7 Neural Network
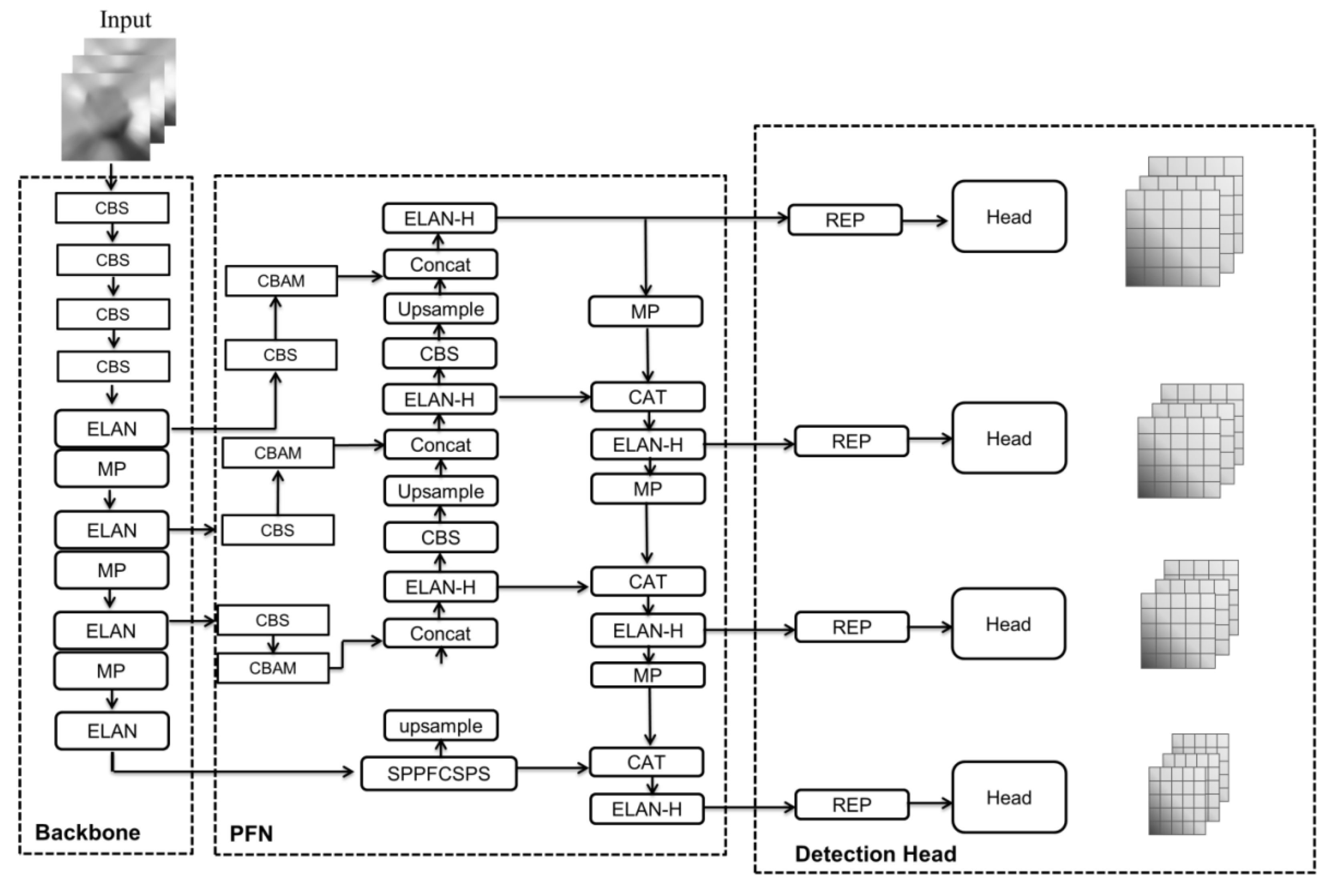
3.1. Modified CBAM-YOLOv7 Neural Network
3.2. SAR Imaging Training and Detection Process
4. Conclusions
Author Contributions
Funding
Data Availability Statement
Conflicts of Interest
References
- Ulaby, F.T.; Fung, A.K. Microwave Remote Sesing (Active and Passive); Addison Wesley: New York, NY, USA, 1982. [Google Scholar]
- Martorella, M.; Pastina, D.; Berizzi, F.; Lombardo, P. Spaceborne Radar Imaging of Maritime Moving Targets with the Cosmo-SkyMed SAR System. IEEE J. Sel. Top. Appl. Earth Obs. Remote Sens. 2014, 7, 2797–2810. [Google Scholar] [CrossRef]
- Long, Y.; Zhao, F.; Zheng, M.; Zhao, L.; He, W. An Unambiguous Imaging Method of Moving Target for Maritime Scenes With Spaceborne High-Resolution and Wide-Swath SAR. IEEE Trans. Geosci. Remote Sens. 2022, 60, 1–19. [Google Scholar] [CrossRef]
- Cao, T.V.; Luckett, C.; Williams, J.; Cooke, T.; Yip, B.; Rajagopalan, A.; Wong, S. SARFish: Space-Based Maritime Surveillance Using Complex Synthetic Aperture Radar Imagery. In Proceedings of the 2022 International Conference on Digital Image Computing: Techniques and Applications (DICTA), Sydney, Australia, 30 November–2 December 2022; pp. 1–8. [Google Scholar]
- Zhang, Y.; Yin, Y.; Shao, Z. An Enhanced Target Detection Algorithm for Maritime Search and Rescue Based on Aerial Images. Remote Sens. 2023, 15, 4818. [Google Scholar] [CrossRef]
- Lin, Z.; Ji, K.; Leng, X.; Kuang, G. Squeeze and Excitation Rank Faster R-CNN for Ship Detection in SAR Images. IEEE Trans. Geosci. Remote Sens Lett. 2019, 16, 751–755. [Google Scholar] [CrossRef]
- Patel, K.; Bhatt, C.; Mazzeo, P.L. Deep learning-based automatic detection of ships: An experimental study using satellite images. J. Imaging 2022, 8, 182. [Google Scholar] [CrossRef]
- Jiang, S.; Hong, Z. Unexpected Dynamic Obstacle Monocular Detection in the Driver View. IEEE Intelli. Trans. Syst. Mag. 2023, 15, 68–81. [Google Scholar] [CrossRef]
- Jiang, S.; Tarabalka, Y.; Yao, W.; Hong, Z.; Feng, G. Space-to-speed architecture supporting acceleration on VHR image processing. ISPRS J. Photogramm. Remote Sens. 2023, 198, 30–44. [Google Scholar] [CrossRef]
- Yu, X.; Salimpour, S.; Queralta, J.P.; Westerlund, T. General-Purpose Deep Learning Detection and Segmentation Models for Images from a Lidar-Based Camera Sensor. Sensors 2023, 23, 2936. [Google Scholar] [CrossRef]
- Redmon, J.; Divvala, S.; Girshick, R.; Farhadi, A. You only look once: Unified, real-time object detection. In Proceedings of the IEEE Conference on Computer Vision and Pattern Recognition, Las Vegas, NV, USA, 26 June–1 July 2016; pp. 779–788. [Google Scholar]
- Bochkovskiy, A.; Wang, C.-Y.; Liao, H.Y.M. YOLOv4: Optimal Speed and Accuracy of Object Detection. arXiv 2020, arXiv:2004.10934. [Google Scholar]
- Zhu, X.; Lyu, S.; Wang, X.; Zhao, Q. TPH-YOLOv5: Improved YOLOv5 Based on Transformer Prediction Head for Object Detection on Drone-captured Scenarios. CVF 2021, 2108, 11539. [Google Scholar]
- Li, C.; Li, L.; Jiang, H.; Weng, K.; Geng, Y.; Li, L.; Ke, Z.; Li, Q.; Cheng, M.; Nie, W.; et al. YOLOv6:A Single-Stage Object Detection Framework for Industrial Applications. arXiv 2022, arXiv:2209.02976. [Google Scholar]
- Wang, C.; Bochkovskiy, A.; Liao, H.Y.M. YOLOv7: Trainable bag-of-freebies sets new state-of-the-art for real-time object detectors. arXiv 2022, arXiv:2207.02696. [Google Scholar]
- Zhu, Q.; Ma KWang, Z.; Shi, P. YOLOv7-CSAW for maritime target detection. Front. Neurorobot. 2023, 17, 1210470. [Google Scholar] [CrossRef] [PubMed]
- Zhao, H.; Zhang, H.; Zhao, Y. YOLOv7-sea: Object Detection of Maritime UAV Images based on Improved YOLOv7. In Proceedings of the 2023 IEEE/CVF Winter Conference on Applications of Computer Vision Workshops (WACVW), Waikoloa, HI, USA, 3–7 January 2023; pp. 233–238. [Google Scholar]
- Guan, B.; Zhang, J.F.; Zhou, X.Y.; Cui, T.J. Electromagnetic Scattering From Objects Above a Rough Surface Using the Method of Moments With Half-Space Green’s Function. IEEE Trans. Geosci. Remote Sens. 2009, 47, 3399–3405. [Google Scholar] [CrossRef]
- Kuang, L.; Jin, Y.Q. Bistatic scattering from a three-dimensional object over a randomly rough surface using the FDTD algorithm. IEEE Trans. Antennas Propag. 2007, 55, 2302–2312. [Google Scholar] [CrossRef]
- Liu, P.; Jin, Y.-Q. Numerical simulation of bistatic scattering from a target at low altitude above rough sea surface under an EM-wave incidence at low grazing angle by using the finite element method. IEEE Trans. Antennas Propag. 2004, 52, 1205–1210. [Google Scholar] [CrossRef]
- Johnson, J.T. A Numerical Study of Scattering from an Object above a Rough Surface. IEEE Trans. Antennas Propag. 2002, 50, 1361–1367. [Google Scholar] [CrossRef]
- Li, X.F.; Xie, Y.J.; Yang, R. High-frequency method analysis on scattering from homogenous dielectric objects with electrically large size in half space. Prog. Electromagn. Res. B 2008, 1, 177–188. [Google Scholar] [CrossRef]
- Franceschetti, G.; Migliaccio, M.; Riccio, D.; Schirinzi, G. SARAS: A synthetic aperture radar (SAR) raw signal simulator. IEEE Trans. Geosci. Remote Sens. 1992, 30, 110–123. [Google Scholar] [CrossRef]
- Franceschetti, G.; Migliaccio, M.; Riccio, D. On ocean SAR raw signal simulation. IEEE Trans. Geosci. Remote Sens. 1998, 36, 84–100. [Google Scholar] [CrossRef]
- Zhang, M.; Chen, H.; Yin, H.C. Facet-based investigation on EM scattering from electrically large sea surface with two-scale profiles: Theoretical model. IEEE Trans. Geosci. Remote Sens. 2011, 49, 1967–1975. [Google Scholar] [CrossRef]
- Zhao, Y.; Yuan, X.F.; Zhang, M.; Chen, H. Radar scattering from the composite ship-ocean scene: Facet-based asymptotical model and specular reflection weighted model. IEEE Trans. Antennas Propag. 2014, 62, 4810–4815. [Google Scholar] [CrossRef]
- Tsang, L.; Kong, J.A.; Ding, K.-H.; Ao, C.O. Scattering of Electromagnetic Waves, Numerical Simulations; John Wiley & Sons: Hoboken, NJ, USA, 2004. [Google Scholar]
- Elfouhaily, T.; Chapron, B.; Katsaros, K.; Vandemark, D. A unified directional spectrum for long and short wind-driven waves. J. Geophys. Res. 1997, 102, 15781–15796. [Google Scholar] [CrossRef]
- West, J.C. Correlation of Bragg scattering from the sea surface at different polarizations. Waves Random Media 2005, 15, 395–403. [Google Scholar] [CrossRef]
- Plant, W.J. Microwave Sea Return at Moderate to High Incidence Angles. Waves Random Media 2003, 13, 339–354. [Google Scholar] [CrossRef]
- Voronovich, G. Wave Scattering from Rough Surfaces; Springer: Berlin/Heidelberg, Germany, 1994. [Google Scholar]
- Voronovich, G. Small-slope approximation for electromagnetic wave scattering at a rough interface of two dielectric half-spaces. Waves Random Media 1994, 4, 337–367. [Google Scholar] [CrossRef]
- Voronovich, G.; Zavorotni, V.U. Theoretical model for scattering of radar signals in Ku- and C-bands from a rough sea surface with breaking waves. Waves Random Media 2001, 11, 247–269. [Google Scholar] [CrossRef]
- Wei, P.B.; Zhang, M.; Jiang, W.Q.; Nie, D. A New Model for Sand-Ripple Scattering Based on SSA Method and Practical Ripple Profiles. IEEE Trans. Geosci. Remote Sens. 2016, 54, 2450–2459. [Google Scholar] [CrossRef]
- Li, J.X.; Zhang, M.; Zhao, Y.; Jiang, W.Q. Efficient Numerical Full-Polarized Facet-Based Model for EM Scattering from Rough Sea Surface within a Wide Frequency Range. Remote. Sens. 2019, 11, 75. [Google Scholar] [CrossRef]
- Peng, P.; Guo, L.X. A Facet-Based Simulation of the Multipath Effect on the EM Scattering and Doppler Spectrum of a Low-Flying Target at Maritime Scene. IEEE Trans. Geosci. Remote Sens Lett. 2018, 15, 1495–1499. [Google Scholar] [CrossRef]
- Thorsos, E. The validity of the Kirchhoff approximation for rough surface scattering using a Gaussian roughness spectrum. J. Acoust. Soc. Am. 1988, 83, 79. [Google Scholar] [CrossRef]
- Klein, L.A. An improved model for the dielectric constant of sea water at microwave frequencies. IEEE Trans. Antennas Propag. 1977, 25, 104–111. [Google Scholar] [CrossRef]
- Schroeder, L.; Jones, W. AAFE RADSCAT 13.9-GHz measurements and analysis: Wind-speed signature of the ocean. IEEE J. Ocean. Eng. 1985, 10, 346–357. [Google Scholar] [CrossRef]
- Arnold-Bos, A.; Khenchaf, A.; Martin, A. Bistatic radar imaging of the marine environment—Part I: Theoretical background. IEEE Trans. Geosci. Remote Sens. 2007, 45, 3372–3383. [Google Scholar] [CrossRef]
- Gordon, W.B. High Frequency Approximations to the Physical Optics Scattering Integral. IEEE Trans. Antennas Propag. 1994, 42, 427–432. [Google Scholar] [CrossRef]
- Fan, T.Q.; Guo, L.X.; Lv, B.; Liu, W. An Improved Backward SBR-PO/PTD Hybrid Method for the Backward Scattering Prediction of an Electrically Large Target. IEEE Trans. Antennas Propag. Lett. 2015, 15, 512–515. [Google Scholar] [CrossRef]
- Tao, Y.-B.; Lin, H.; Bao, H.J. KD-tree based fast ray tracing for RCS prediction. Prog. Electromagn. Res. 2008, 81, 329–341. [Google Scholar] [CrossRef]
- Michaeli, A. Equivalent edge currents for arbitrary aspects of observation. IEEE Trans. Antennas Propag. 1984, 23, 252–258. [Google Scholar] [CrossRef]
- Alpers, W.R.; Bruening, C. On the relative importance of motion related contributions to the SAR imaging mechanism of ocean surface waves. IEEE Trans. Geosci. Remote Sens. 1986, GE-24, 873–885. [Google Scholar] [CrossRef]
- Gennarelli, G.; Soldovieri, F. Multipath ghosts in radar imaging: Physical insight and mitigation strategies. IEEE Sel. Top. Appl. Earth Obs. 2015, 8, 1078–1086. [Google Scholar] [CrossRef]
- Duan, C.W.; Hu, W.D.; Du, X.Y. Probability model of multipath delays in radar echoes of scattering centres above ocean surface. Electron. Lett. 2012, 48, 177–179. [Google Scholar] [CrossRef]
- Huo, W.; Huang, Y.; Pei, J.; Zhang, Q.; Gu, Q.; Yang, J. Ship Detection from Ocean SAR Image Based on Local Contrast Variance Weighted Information Entropy. Sensors 2018, 18, 1196. [Google Scholar] [CrossRef] [PubMed]
- Yang, W.; Qi, C.H. Multipath scattering simulation and SAR analysis for a composite model. Microw. Opt. Technol. Lett. 2015, 57, 1689–1695. [Google Scholar] [CrossRef]
- Piao, Y.; Jiang, Y.; Zhang, M.; Wang, J.; Lu, H. PANet: Patch-Aware Network for Light Field Salient Object Detection. IEEE Trans. Cybern. 2021, 53, 379–391. [Google Scholar] [CrossRef] [PubMed]
- Woo, S.; Park, J.; Lee, J.; Kweon, I.S. Cbam: Convolutional block attention module. In Proceedings of the 15th European Conference on Computer Vision, Munich, Germany, 8–14 September 2018; pp. 3–19. [Google Scholar]
- Jiang, M.; Yin, S.L. Facial expression recognition based on convolutional block attention module and multi-feature fusion. Int. J. Comput. Vis. Robot. 2023, 13, 21–37. [Google Scholar] [CrossRef]
- Xia, Y.; Xu, X.; Pu, F. PCBA-Net: Pyramidal Convolutional Block Attention Network for Synthetic Aperture Radar Image Change Detection. Remote Sens. 2022, 14, 5762. [Google Scholar] [CrossRef]
- Zhang, T.; Zhang, X.; Ke, X. Quad-FPN: A Novel Quad Feature Pyramid Network for SAR Ship Detection. Remote Sens. 2021, 13, 2771. [Google Scholar] [CrossRef]
- Sun, Z.; Meng, C.; Cheng, J.; Zhang, Z.; Chang, S. A Multi-Scale Feature Pyramid Network for Detection and Instance Segmentation of Marine Ships in SAR Images. Remote Sens. 2022, 14, 6312. [Google Scholar] [CrossRef]
- Chen, Z.; Liu, C.; Filaretov, V.F.; Yukhimets, D.A. Multi-Scale Ship Detection Algorithm Based on YOLOv7 for Complex Scene SAR Images. Remote Sens. 2023, 15, 2071. [Google Scholar] [CrossRef]
- Hu, J.; Chuang, F.; Wang, Z.; Ruan, J.; Wu, S.Y. Fruit detection and counting in apple orchards based on improved Yolov7 and multi-Object tracking methods. Sensors 2023, 23, 5903. [Google Scholar] [CrossRef]
- Zhang, T.; Zhang, X.; Shi, J.; Wei, S. Depth wise Separable Convolution Neural Network for High-Speed SAR Ship Detection. Remote Sens. 2019, 11, 2483. [Google Scholar] [CrossRef]
- Shunjun, W.; Xiangfeng, Z.; Qizhe, Q.; Mou, W.; Hao, S.; Jun, S. HRSID: A High-Resolution SAR Images Dataset for Ship Detection and Instance Segmentation. IEEE Access 2020, 8, 120234–120254. [Google Scholar]
- Amarasingam, N.; Gonzalez, F.; Salgadoe, A.S.A.; Sandino, J.; Powell, K. Detection of White Leaf Disease in Sugarcane Crops Using UAV-Derived RGB Imagery with Existing Deep Learning Models. Remote Sens. 2022, 14, 6137. [Google Scholar] [CrossRef]
- Yi, W.; Wang, B. Research on Underwater Small Target Detection Algorithm Based on Improved YOLOv7. IEEE Access 2023, 11, 66818–66827. [Google Scholar] [CrossRef]
- Yang, H.; Liu, Y.; Wang, S.; Qu, H.; Li, N.; Wu, J.; Yan, Y.; Zhang, H.; Wang, J.; Qiu, J. Improved Apple Fruit Target Recognition Method Based on YOLOv7 Model. Agriculture 2023, 13, 1278. [Google Scholar] [CrossRef]
- Jiang, K.; Xie, T.; Yan, R.; Wen, X.; Li, D.; Jiang, H.; Jiang, N.; Feng, L.; Duan, X.; Wang, J. An Attention Mechanism-Improved YOLOv7 Object Detection Algorithm for Hemp Duck Count Estimation. Agriculture 2022, 12, 1659. [Google Scholar] [CrossRef]




















Disclaimer/Publisher’s Note: The statements, opinions and data contained in all publications are solely those of the individual author(s) and contributor(s) and not of MDPI and/or the editor(s). MDPI and/or the editor(s) disclaim responsibility for any injury to people or property resulting from any ideas, methods, instructions or products referred to in the content. |
© 2023 by the authors. Licensee MDPI, Basel, Switzerland. This article is an open access article distributed under the terms and conditions of the Creative Commons Attribution (CC BY) license (https://creativecommons.org/licenses/by/4.0/).
Share and Cite
Peng, P.; Wang, Q.; Feng, W.; Wang, T.; Tong, C. An SAR Imaging and Detection Model of Multiple Maritime Targets Based on the Electromagnetic Approach and the Modified CBAM-YOLOv7 Neural Network. Electronics 2023, 12, 4816. https://doi.org/10.3390/electronics12234816
Peng P, Wang Q, Feng W, Wang T, Tong C. An SAR Imaging and Detection Model of Multiple Maritime Targets Based on the Electromagnetic Approach and the Modified CBAM-YOLOv7 Neural Network. Electronics. 2023; 12(23):4816. https://doi.org/10.3390/electronics12234816
Chicago/Turabian StylePeng, Peng, Qingkuan Wang, Weike Feng, Tong Wang, and Chuangming Tong. 2023. "An SAR Imaging and Detection Model of Multiple Maritime Targets Based on the Electromagnetic Approach and the Modified CBAM-YOLOv7 Neural Network" Electronics 12, no. 23: 4816. https://doi.org/10.3390/electronics12234816
APA StylePeng, P., Wang, Q., Feng, W., Wang, T., & Tong, C. (2023). An SAR Imaging and Detection Model of Multiple Maritime Targets Based on the Electromagnetic Approach and the Modified CBAM-YOLOv7 Neural Network. Electronics, 12(23), 4816. https://doi.org/10.3390/electronics12234816

