Development of a Grinding Tool with Contact-Force Control Capability
Abstract
:1. Introduction
- A compact electric grinding tool is designed, with highly dynamic and controlled fore/aft spindle motion while the grinding wheel is spinning. No pneumatic system is required.
- A model-based system identification is utilized for controller design.
- The possible force disturbance is analyzed so the corresponding force control strategy can be deployed.
- The surface roughness of the grinded workpiece is improved using the proposed grinding tool with repetitive controller. The controller greatly suppresses the vibration caused by the rotation of the grinding wheel.
2. Mechanical Design, Modeling, and System Identification of the Grinding Tool
2.1. Mechanical Design
- While the grinding wheel spins, the grinding tool is capable of a highly dynamic and actively controlled fore/aft motion to adjust the normal contact force in real time.
- To implement force control, a force sensor should be included; it should be mounted as close to the contact point as possible to reduce the possible disturbance in the tool, such as backlash and elastic deformation.
- The overall length of the grinding tool should be as short as possible to ease the manipulation when grinding. This characteristic is particularly useful when the tool is mounted on the manipulator, which maintains operation maneuverability.
- The mass of the grinding module should be small. In addition, a simple yet rigid structure is desired.
- Using the voice coil motor as the actuator can provide a controllable and high-frequency response compared with other methods. Dynamic elimination and stability control can result in better performance.
- The actuator for grinding (i.e., the BLDC) remains stationary on the fixed frame, and only its motion is transmitted to the grinding wheel. Compared with the design that mounts the entire rotary system on the moving frame, the proposed design significantly reduces the payload to the linear actuator (i.e., HVCM) and the resulting vibration and noise.
- The force sensor is mounted very close to the grinding wheel for accurate contact-force measurement.
- The overall length of the grinding tool is only about 20 cm, and its weight is only 4 kg, so it can be mounted and operated on the end of the mainstream manipulator.
2.2. System Modeling
2.3. System Identification
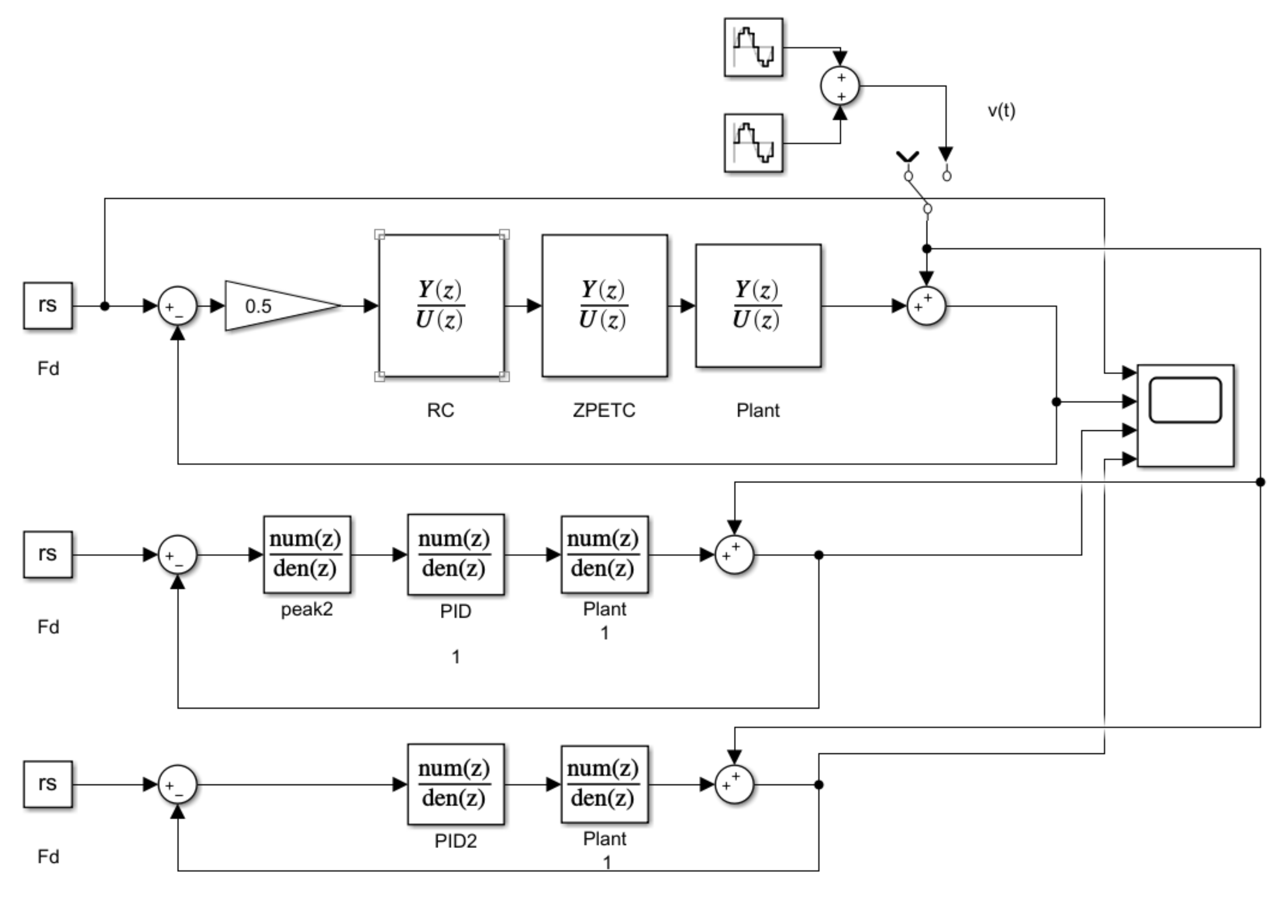
3. Controller Design and Simulation
3.1. Force Disturbance Analysis
3.2. Baseline Controller Design
3.3. Peak Filter Design
3.4. Repetitive Controller
3.5. Simulation Results
4. Experimental Results
4.1. Experimental Setup
4.2. Parameter Optimization
4.3. Experimental Results
4.3.1. Force Tracking under Different Control Methods
4.3.2. Surface Roughness under Different Control Methods
4.3.3. Grinding Performance on Curved Surfaces
5. Conclusions and Future Work
Author Contributions
Funding
Acknowledgments
Conflicts of Interest
References
- Patarinski, S.P.; Botev, R.G. Robot force control: A review. Mechatronics 1993, 3, 377–398. [Google Scholar] [CrossRef]
- Hecker, R.L.; Liang, S.Y. Predictive modeling of surface roughness in grinding. Int. J. Mach. Tools Manuf. 2003, 43, 755–761. [Google Scholar] [CrossRef]
- Chang, H.-C.; Wang, J.-J.J. A stochastic grinding force model considering random grit distribution. Int. J. Mach. Tools Manuf. 2008, 48, 1335–1344. [Google Scholar] [CrossRef]
- Li, H. Experimental study of surface roughness on abrasive belt grinding. In Proceedings of the 2011 International Conference on Electronic & Mechanical Engineering and Information Technology, Harbin, China, 12–14 August 2011; Volume 6, pp. 3010–3013. [Google Scholar]
- Rasim, M.; Mattfeld, P.; Klocke, F. Analysis of the grain shape influence on the chip formation in grinding. J. Mater. Process. Technol. 2015, 226, 60–68. [Google Scholar] [CrossRef]
- Qi, J.; Chen, B. Surface Roughness Prediction Based on the Average Cutting Depth of Abrasive Grains in Belt Grinding. In Proceedings of the 2018 3rd International Conference on Mechanical, Control and Computer Engineering (ICMCCE), Huhhot, China, 14–16 September 2018; pp. 169–174. [Google Scholar]
- Wang, Y.-H.; Lo, Y.-C.; Lin, P.-C. A Normal Force Estimation Model for a Robotic Belt-grinding System. In Proceedings of the 2020 IEEE/ASME International Conference on Advanced Intelligent Mechatronics (AIM), Boston, MA, USA, 6–10 July 2020; pp. 1922–1928. [Google Scholar]
- Zhang, B.C.; Katinas, C.C.; Shin, Y.C. Robust Wheel Wear Monitoring System for Cylindrical Traverse Grinding. IEEE/ASME Trans. Mechatron. 2020, 25, 2220–2229. [Google Scholar] [CrossRef]
- Xu, X.; Chen, W.; Zhu, D.; Yan, S.; Ding, H. Hybrid active/passive force control strategy for grinding marks suppression and profile accuracy enhancement in robotic belt grinding of turbine blade. Robot. Comput. Manuf. 2021, 67, 102047. [Google Scholar] [CrossRef]
- Zhang, H.; Li, L.; Zhao, J.; Zhao, J. The hybrid force/position anti-disturbance control strategy for robot abrasive belt grinding of aviation blade base on fuzzy PID control. Int. J. Adv. Manuf. Technol. 2021, 114, 3645–3656. [Google Scholar] [CrossRef]
- Dai, S.; Zhao, Y.; Ji, W.; Mu, J.; Hu, F. Constant force control for aluminum wheel hub grinding based on ESO + backstepping. Ind. Robot. Int. J. Robot. Res. Appl. 2021. online ahead of print. [Google Scholar] [CrossRef]
- Kumar, N.; Rani, M. Neural network-based hybrid force/position control of constrained reconfigurable manipulators. Neurocomputing 2021, 420, 1–14. [Google Scholar] [CrossRef]
- Xu, X.; Zhu, D.; Zhang, H.; Yan, S.; Ding, H. Application of novel force control strategies to enhance robotic abrasive belt grinding quality of aero-engine blades. Chin. J. Aeronaut. 2019, 32, 2368–2382. [Google Scholar] [CrossRef]
- Fazeli, M.; Sadigh, M.J. Adaptive hybrid position/force control for grinding applications. In Proceedings of the 2012 IEEE International Conference on Cyber Technology in Automation, Control, and Intelligent Systems (CYBER), Bangkok, Thailand, 27–31 May 2012; pp. 297–302. [Google Scholar]
- Lee, K.; Buss, M. Force Tracking Impedance Control with Variable Target Stiffness. IFAC Proc. Vol. 2008, 41, 6751–6756. [Google Scholar] [CrossRef] [Green Version]
- Jung, S.; Hsia, T.; Bonitz, R. Force Tracking Impedance Control of Robot Manipulators under Unknown Environment. IEEE Trans. Control Syst. Technol. 2004, 12, 474–483. [Google Scholar] [CrossRef]
- Zhang, T.; Yu, Y.; Zou, Y. An Adaptive Sliding-Mode Iterative Constant-force Control Method for Robotic Belt Grinding Based on a One-Dimensional Force Sensor. Sensors 2019, 19, 1635. [Google Scholar] [CrossRef] [PubMed] [Green Version]
- Lu, Z.; Kawamura, S.; Goldenberg, A. Sliding mode impedance control and its application to grinding tasks. In Proceedings of the IROS ’91:IEEE/RSJ International Workshop on Intelligent Robots and Systems ′91, Osaka, Japan, 3–5 November 1991; Volume 1, pp. 350–355. [Google Scholar]
- Kuo, Y.-L.; Huang, S.-Y.; Lan, C.-C. Sensorless Force Control of Automated Grinding/Deburring Using an Adjustable force regulation mechanism. In Proceedings of the 2019 International Conference on Robotics and Automation (ICRA), Montreal, QC, Canada, 20–24 May 2019; pp. 9489–9495. [Google Scholar]
- Liao, L.; Xi, F.; Liu, K. Modeling and control of automated polishing/deburring process using a dual-purpose compliant toolhead. Int. J. Mach. Tools Manuf. 2008, 48, 1454–1463. [Google Scholar] [CrossRef]
- Mohammad, A.E.K.; Hong, J.; Wang, D. Design of a force-controlled end-effector with low-inertia effect for robotic polishing using macro-mini robot approach. Robot. Comput. Manuf. 2018, 49, 54–65. [Google Scholar] [CrossRef]
- Xiao, C.; Wang, Q.; Zhou, X.; Xu, Z.; Lao, X.; Chen, Y. Hybrid Force/Position Control Strategy for Electromagnetic based Robotic Polishing Systems. In Proceedings of the Chinese Control Conference CCC, Guangzhou, China, 27–30 July 2019; pp. 7010–7015. [Google Scholar] [CrossRef]
- Ma, Z.; See, H.-H.; Hong, G.-S.; Ang, M.H.; Poo, A.-N.; Lin, W.; Tao, P.-Y.; Short, J.S. Control and modeling of an end-effector in a macro-mini manipulator system for industrial applications. In Proceedings of the 2017 IEEE International Conference on Advanced Intelligent Mechatronics (AIM), Munich, Germany, 3–7 July 2017; pp. 676–681. [Google Scholar]
- Zhang, X.; Chen, H.; Yang, N.; Lin, H.; He, K. A structure and control design of constant force polishing end actuator based on polishing robot. In Proceedings of the 2017 IEEE International Conference on Information and Automation (ICIA), Macau, China, 18–20 July 2017; pp. 764–768. [Google Scholar]
- Lin, Y.H.; Liu, M.W.; Lin, P.C. Development of a grinding tool with contact-force control capability. In Proceedings of the International Conference on Advanced Robotics and Intelligent Systems (ARIS), Taipei City, Taiwan, 18–19 August 2021. [Google Scholar]
- Hsu, J.-D.; Tzou, Y.-Y. Modeling and Design of a Voice-Coil Motor for Auto-Focusing Digital Cameras Using an Electromagnetic Simulation Software. In Proceedings of the 2007 IEEE Power Electronics Specialists Conference, Orlando, FL, USA, 17–21 June 2007; pp. 939–944. [Google Scholar]
- Rabiner, L.R.; Gold, B.; Yuen, C. Theory and Application of Digital Signal Processing; Prentice-Hall: Hoboken, NJ, USA, 2016. [Google Scholar]
- Chen, T.; Francis, B.A. Optimal Sampled-Data Control Systems; Springer Science and Business Media LLC: Berlin/Heidelberg, Germany, 1995. [Google Scholar]
- Tomizuka, M.; Tsao, T.-C.; Chew, K.-K. Analysis and Synthesis of Discrete-Time Repetitive Controllers. J. Dyn. Syst. Meas. Control 1989, 111, 353–358. [Google Scholar] [CrossRef]
- Tomizuka, M. Zero phase error tracking algorithm for digital control. J. Dyn. Syst. Meas. Control 1987, 109, 65–68. [Google Scholar] [CrossRef]
- Hammann, G. Modellierung des Abtragsverhaltens Elastischer, Robotergeführter Schleifwerkzeuge; Springer: New York, NY, USA, 1998. [Google Scholar]
- Taguchi, G. Quality engineering (Taguchi methods) for the development of electronic circuit technology. IEEE Trans. Reliab. 1995, 44, 225–229. [Google Scholar] [CrossRef]
- Liu, M.-W.; Lin, Y.-H.; Lo, Y.-C.; Shih, C.-H.; Lin, P.-C. Defect Detection of Grinded and Polished Workpieces Using Faster R-CNN. In Proceedings of the 2021 IEEE/ASME International Conference on Advanced Intelligent Mechatronics (AIM), Online, 12–16 July 2021; pp. 1290–1296. [Google Scholar]















| Levels | Feed Rate | Rotating Speed (rpm) | Normal Force (N) | Grinding Angle (deg) |
|---|---|---|---|---|
| 1 | Command 1 | 2500 | 5 | 20 |
| 2 | Command 2 | 3000 | 10 | 30 |
| 3 | Command 3 | 3900 | 15 | 45 |
| Exp. | Feed Rate | Rotating Speed | Normal Force | Grinding Angle | Ra (N) | STD (N) |
|---|---|---|---|---|---|---|
| 1 | 1 | 1 | 1 | 1 | 3.948 | 0.255 |
| 2 | 1 | 2 | 2 | 2 | 3.705 | 0.647 |
| 3 | 1 | 3 | 3 | 3 | 4.137 | 0.914 |
| 4 | 2 | 1 | 2 | 3 | 4.984 | 0.252 |
| 5 | 2 | 2 | 3 | 1 | 6.648 | 1.165 |
| 6 | 2 | 3 | 1 | 2 | 4.348 | 0.550 |
| 7 | 3 | 1 | 3 | 2 | 7.002 | 0.492 |
| 8 | 3 | 2 | 1 | 3 | 6.437 | 0.664 |
| 9 | 3 | 3 | 2 | 1 | 6.612 | 0.635 |
| Ra (µm) | ||||
|---|---|---|---|---|
| Feed Rate | Rotating Speed of the Grind Wheel | Grinding Normal Force | Grinding Angle | |
| Level 1 | 3.930 | 5.312 | 4.911 | 5.736 |
| Level 2 | 5.327 | 5.597 | 5.101 | 5.019 |
| Level 3 | 6.684 | 5.033 | 5.929 | 5.186 |
| E 1–2 | 1.397 | 0.285 | 0.189 | −0.717 |
| E 2–3 | 1.357 | −0.564 | 0.829 | 0.167 |
| range | 2.754 | 0.285 | 1.018 | 0.550 |
| rank | 1 | 4 | 2 | 3 |
| % | 59.8 | 6.2 | 22.1 | 11.9 |
| Mean (N) | STD (N) | |
|---|---|---|
| PID control | −6.140 | 3.215 |
| PID control & peak filter | −5.151 | 2.457 |
| Repetitive control | −5.015 | 1.496 |
| Ra (µm) | Rz (µm) | Rq (µm) | |
|---|---|---|---|
| PID control | 4.476 | 26.732 | 5.609 |
| PID control & peak filter | 3.565 | 21.040 | 4.519 |
| Repetitive control | 2.573 | 18.630 | 3.218 |
Publisher’s Note: MDPI stays neutral with regard to jurisdictional claims in published maps and institutional affiliations. |
© 2022 by the authors. Licensee MDPI, Basel, Switzerland. This article is an open access article distributed under the terms and conditions of the Creative Commons Attribution (CC BY) license (https://creativecommons.org/licenses/by/4.0/).
Share and Cite
Lin, Y.-H.; Liu, M.-W.; Lin, P.-C. Development of a Grinding Tool with Contact-Force Control Capability. Electronics 2022, 11, 685. https://doi.org/10.3390/electronics11050685
Lin Y-H, Liu M-W, Lin P-C. Development of a Grinding Tool with Contact-Force Control Capability. Electronics. 2022; 11(5):685. https://doi.org/10.3390/electronics11050685
Chicago/Turabian StyleLin, Yu-Heng, Ming-Wei Liu, and Pei-Chun Lin. 2022. "Development of a Grinding Tool with Contact-Force Control Capability" Electronics 11, no. 5: 685. https://doi.org/10.3390/electronics11050685
APA StyleLin, Y.-H., Liu, M.-W., & Lin, P.-C. (2022). Development of a Grinding Tool with Contact-Force Control Capability. Electronics, 11(5), 685. https://doi.org/10.3390/electronics11050685

