Analysis of Optimal Operation of Charging Stations Based on Dynamic Target Tracking of Electric Vehicles
Abstract
:1. Introduction
2. Charging Station Load Characteristics Analysis
2.1. Analysis of Travel Behavior of Different Types of Electric Vehicles
- (1)
- Electric passenger vehicle charging behavior analysis
- (2)
- Analysis of electric cab charging behavior
- (3)
- Analysis of charging behavior of electric special vehicles
2.2. Monte Carlo-Based Load Forecasting for Electric Vehicles
2.3. Electric Vehicle Charging Load Characteristics Analysis
- (1)
- The arrival time (return time) of all electric vehicles is the charging time: for electric passenger cars, = 3.4, = 17.41, = 3.2, = 8; for electric cabs, = 3.4, = 13.4.
- (2)
- According to the electric vehicle parameters and the EV average daily mileage, the daily mileage of each vehicle is simulated using Gaussian distribution, and the mileage of passenger cars and cabs are, respectively N (32, 52) and N (300, 502).
- (3)
- The charging process is approximated as constant power charging, in which the electric cab adopts DC fast charging mode with a charging power of 60 kW, and the electric passenger car adopts AC slow charging mode with a charging power of 7 kW.
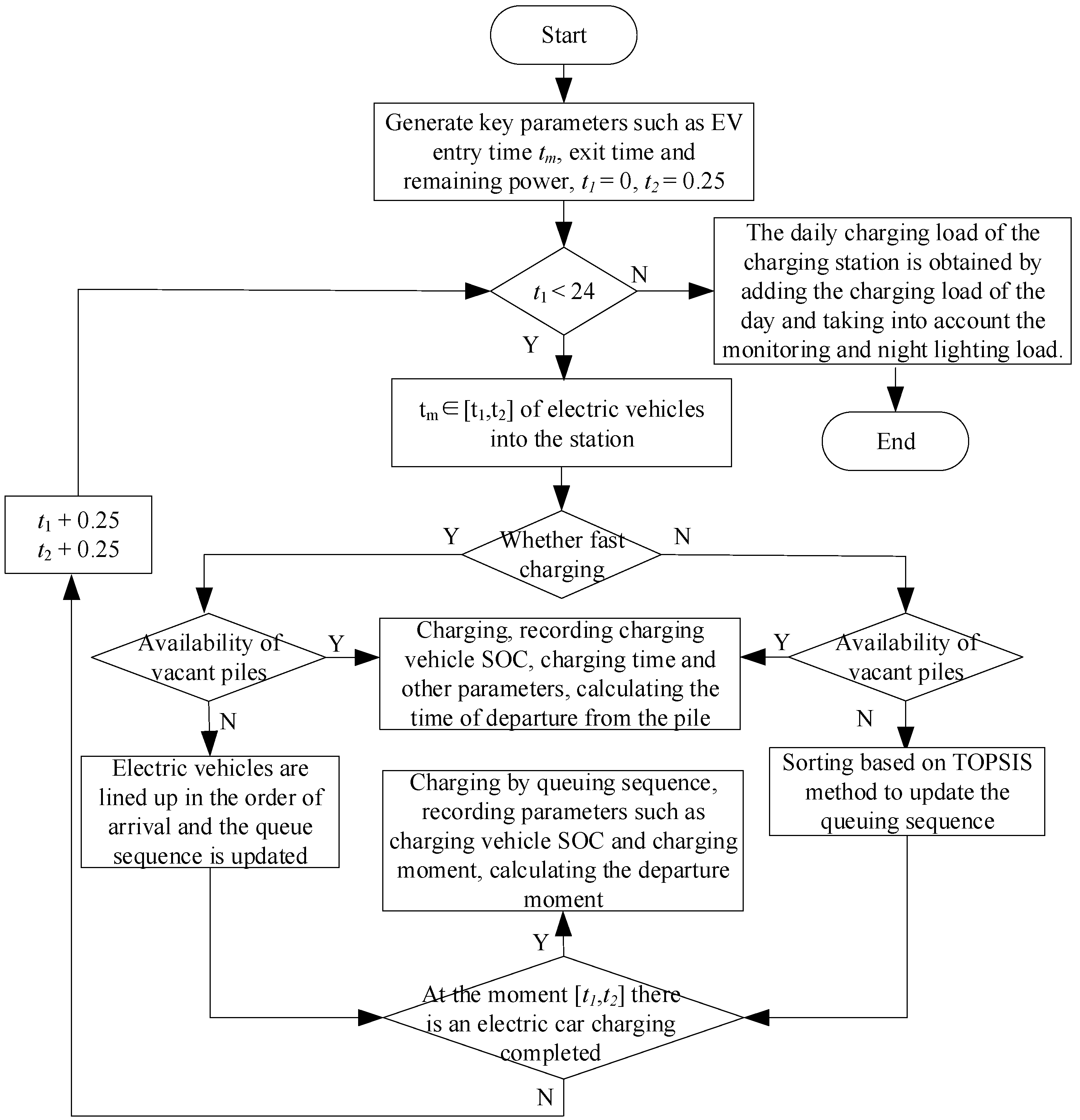
2.4. Typical Charging Station Load Model
- (1)
- Based on Section 2.3, use the EV charging load characteristics to generate EV information, vehicle arrival time, vehicle mileage, vehicle departure moment and other key parameters, and the current moment t1 = 0, t2 = 0.25.
- (2)
- Judge whether the day is over or not; if the day is not over, select the time [t1, t2] when the electric vehicle enters the station according to the vehicle arrival time, and select the charging mode according to the vehicle charging demand. If DC fast charging is selected, move to Step (3); otherwise, move to Step (4). If the day has ended, skip to Step (7).
- (3)
- If there is an idle DC charging pile at this time, the electric vehicle will be charged directly, and parameters such as charging vehicle SOC and charging moment will be recorded to calculate the departure moment; if the DC charging piles are all in working condition, the electric vehicles will be queued in the order of arrival, the queuing sequence will be updated, and it will be judged whether there is an electric vehicle charging finished at the moment [t1, t2]. If an electric vehicle has finished charging, move to Step (5); otherwise, move to Step (6). If an EV has finished charging, enter Step (5); otherwise, enter Step (6).
- (4)
- If there is an idle pile at the AC charging pile at this time, the EV will charge directly and record parameters such as charging vehicle SOC and charging moment to calculate the departure moment; if the AC charging piles are all in a working state, the EV will sort based on the TOPSIS method, update the queuing sequence and determine whether an EV has finished charging at the moment [t1, t2]. If an EV has finished charging, move to Step (5); otherwise, move to Step (6).
- (5)
- Electric vehicles with the same replenishment demand are charged according to the queuing sequence, and parameters such as charging vehicle SOC and charging moment are recorded to calculate the moment of departure from the pile.
- (6)
- Make the current moment t1 and t2, add 15 min, then move to Step (2).
- (7)
- At the end of the day, the charging load of the day’s electric vehicles is statistically superimposed, and the monitoring and night lighting loads are taken into account to obtain the daily charging load of the charging station, so as to obtain the daily charging station load model.
3. Economic Operation Model
3.1. Objective Function
- (1)
- Charging station daily charging revenuewhere Ccb_day is the daily charging revenue of the charging station; Cele (t) is the electricity price at time t; Cs is the charging service fee. Take CNY 0.8/kWh: Pev (t)′ is the charging load of the charging station at time t, excluding the monitoring and lighting load of the station at this time; Pev (t)′ is the charging efficiency of the charging post.
- (2)
- Charging station daily power purchase costwhere Cec_day is the daily power purchase cost of the charging station; Pev (t) is the charging station load at time t, including the monitoring and lighting load of the station; Pb_best (t) is the optimal energy storage charging and discharging power at time t obtained by solving in the economically optimal mode; is the charging and discharging efficiency of the energy storage system (take when charging and when discharging); Ppv (t) is the power dissipation of the PV equipment output at moment t; and is the efficiency of the PV equipment output. This can be expressed as:where lo_c(t) is the decision variable of charging the energy storage system at the moment (1 when charging, 0 otherwise) and lo_d(t) is the decision variable of discharging the energy storage system at the moment (1 when discharging, 0 otherwise).
- (3)
- The daily operating income was:where Coc_day is the daily operating revenue of the charging station.
3.2. Binding Conditions
- (1)
- System safety operation constraint
- (2)
- Energy balance constraint
- (3)
- Energy storage system power and power constraints
- (4)
- Energy storage battery output power constraint
- (5)
- Energy storage battery capacity constraints
- (6)
- Photovoltaic power output constraint
3.3. System Model and Solution
- (1)
- Energy storage operation model
- (2)
- Photovoltaic operation model
4. Case Study
- (1)
- Scenario I
- (2)
- Scenario II
5. Conclusions
Author Contributions
Funding
Institutional Review Board Statement
Informed Consent Statement
Data Availability Statement
Conflicts of Interest
Appendix A
References
- Sheik, M.S.; Titus, F.; Thanikanti, S.B. Charge Scheduling Optimization of Plug-In Electric Vehicle in a PV Powered Grid-Connected Charging Station Based on Day-Ahead Solar Energy Forecasting in Australia. Sustainability 2022, 14, 3498–3518. [Google Scholar]
- Wang, J.; Guo, C.; Yu, C. Virtual power plant containing electric vehicles scheduling strategies based on deep reinforcement learning. Electr. Power Syst. Res. 2022, 205, 107714. [Google Scholar] [CrossRef]
- Niu, M.T.; Liao, K.; Yang, J.W.; Xiang, Y.P. Multi-time scale load forecasting model for electric vehicles considering seasonal characteristics. Power System Protection and Control 2022, 50, 74–85. [Google Scholar]
- Liu, X. A new method to generate daily load scenario of electric vehicle charging station considering time correlation. Int. J. Emerg. Electr. Power Syst. 2020, 21, 20190252. [Google Scholar] [CrossRef]
- Zhao, J.; Meng, R.Q.; Wei, B.; Wang, L.; Han, X.Q. Economic dispatching strategy of DC microgrid considering the demand of electric vehicle users. Electr. Power Constr. 2021, 42, 39–47. [Google Scholar]
- Patil, H.; Kalkhambkar, V.N. Grid Integration of Electric Vehicles for Economic Benefits: A Review. J. Mod. Power Syst. Clean Energy 2021, 9, 13–26. [Google Scholar] [CrossRef]
- Li, Y. Multi-objective Optimal Operation of Centralized Battery Swap Charging System with Photovoltaic. J. Mod. Power Syst. Clean Energy 2022, 10, 149–162. [Google Scholar] [CrossRef]
- Qian, K.; Xie, Y.; Zhang, X. Fuzzy multi-objective optimization of electric vehicle charging network with considering stochastic characters of charging 1oad. Power Syst. Technol. 2020, 44, 44044414. [Google Scholar]
- Ma, X.F.; Li, Y.; Wang, H. Research on demand of charging piles based on stochastic simulation of EV trip chain. Trans. China Electrotech. Soc. 2017, 32, 190–202. [Google Scholar]
- Jain, A.; Gupta, K.K.; Jain, S.K. A V2G Enabled Bidirectional Single/Three-Phase EV Charging Interface Using Modular Multilevel Buck PFC Rectifier. Electronics 2022, 11, 1891. [Google Scholar] [CrossRef]
- Welzel, F.; Klinck, C.F.; Pohlmann, Y. Grid and user-optimized planning of charging processes of an electric vehicle fleet using a quantitative optimization model. Appl. Energy 2021, 290, 116717. [Google Scholar] [CrossRef]
- Sun, B. A multi-objective optimization model for fast electric vehicle charging stations with wind, PV power and energy storage. J. Clean. Prod. 2020, 288, 125564. [Google Scholar] [CrossRef]
- Li, R.H.; Hu, Z.C. Stochastic Optimization Strategy for Daily Operation of Electric Bus Charging Station With PV and Energy Storage. Power Syst. Technol. 2017, 41, 3772–3780. [Google Scholar]
- Wang, S.; Yang, X.; Lin, Q. Research on Multi-objective Planning of Active Distribution Network Considering Energy Storage Operation Strategy. In Proceedings of the 2019 IEEE Innovative Smart Grid Technologies-Asia, Chengdu, China, 21–24 May 2019. [Google Scholar]
- Hui, H.G.; Lian, Z.; Zhang, D. Orderly Charging Strategy Based on Optimal Time of Use Price Demand Response of Electric Vehicles in Distribution Network. Energies 2022, 15, 1869. [Google Scholar]
- Li, J.L.; Shi, Y.K.; Zhang, L.J.; Yang, X.C.; Wang, L.L.; Chen, X. Energy storage capacity optimization strategy of optical storage charging station considering orderly charging of electric vehicles. Power Syst. Prot. Control. 2021, 49, 94–102. [Google Scholar]
- Liu, X.Y.; Feng, T.Y. Energy-storage configuration for EV fast charging stations considering characteristics of charging load and wind-power fluctuation. Glob. Energy Interconnect. 2021, 4, 48–57. [Google Scholar] [CrossRef]
- Li, D.Q.; Zheng, J.Y.; Shi, M.M.; Li, T.R.; Hao, Y.; Liang, X.Y. Spatial and temporal distribution prediction of electric vehicle charging load. Power Eng. Technol. 2019, 38, 75–83. [Google Scholar]
- Aragón, G.; Werner-Kytl, O.; Gümrükcü, E. Stochastic optimization framework for online scheduling of an EV charging station in a residential place with photovoltaics and energy storage system. In Proceedings of the IEEE Milan PowerTech, Milan, Italy, 23–27 June 2019. [Google Scholar]
- Sarker, M.R.; Pandzic, H.; Sun, K. Optimal operation of aggregated electric vehicle charging stations coupled with energy storage. IET Gener. Transm. Distrib. 2018, 12, 1127–1136. [Google Scholar] [CrossRef]
- Zhang, Y.T.; Chen, Z.; Duan, R.; Huang, X.L. Electric vehicle charging station-distribution grid synergistic planning considering active response. Power Eng. Technol. 2019, 38, 71–77. [Google Scholar]
- Liu, W.; Shi, X.; Zhao, J.; Xue, Y. Electric Vehicle Charging Simulation Framework Considering Traffic, User, and Power Grid. J. Mod. Power Syst. Clean Energy 2021, 9, 602–611. [Google Scholar] [CrossRef]
- Zhang, M.X.; Sun, Q.J.; Yang, X. Electric vehicle charging load prediction considering multi-source information real-time interaction and user regret psychology. Power Syst. Technol. 2022, 46, 632–645. [Google Scholar]
- Behnam, R.; Mohammad, J.S.; Wang, J.; Gang, K. Optimal Day-Ahead Scheduling of a Smart Micro-Grid via a Probabilistic Model for Considering the Uncertainty of Electric Vehicles’ Load. Appl. Sci. 2019, 9, 4872. [Google Scholar]
- Jerome, J.M.; Jurjen, R.H.; Robert, H. Estimating the Charging Profile of Individual Charge Sessions of Electric Vehicles in The Netherlands. World Electr. Veh. J. 2018, 9, 17. [Google Scholar]
- Ma, Y.Z.; Ma, Z.X. Optimization and benefit analysis of orderly charging of electric vehicles based on game algorithm. Power Eng. Technol. 2021, 40, 10–16. [Google Scholar]
- Chandio, Y.; Mishra, A.; Seetharam, A. GridPeaks: Employing Distributed Energy Storage for Grid Peak Reduction. In Proceedings of the Tenth International Green and Sustainable Computing Conference, Alexandria, VA, USA, 21–24 October 2019. [Google Scholar]
- Hussain, A.; Bui, V.H.; Kim, H.M. Optimal Sizing of Battery Energy Storage System in a Fast EV Charging Station Considering Power Outages. IEEE Trans. Transp. Electrif. 2020, 6, 453–463. [Google Scholar] [CrossRef]
- Nizam, M.; Wicaksono, F. Design and Optimization of Solar, Wind, and Distributed Energy Resource (DER) Hybrid Power Plant for Electric Vehicle (EV) Charging Station in Rural Area. In Proceedings of the 2018 5th International Conference on Electric Vehicular Technology, Surakarta, Indonesia, 30–31 October 2018. [Google Scholar]
- Zheng, Z.; Yang, S. Particle Swarm Optimisation for Scheduling Electric Vehicles with Microgrids. In Proceedings of the 2020 IEEE Congress on Evolutionary Computation, Glasgow, UK, 19–24 July 2020. [Google Scholar]
- Wu, J.W.; Qiu, X.Y.; Pan, Y.J.; Xiao, L.K. Research on orderly charging strategy of electric vehicles based on improved chicken swarm algorith. Electr. Meas. Instrum. 2019, 56, 97–103. [Google Scholar]
- Tang, Y.W.; Gao, C.B. Research on optimal configuration of microgrid considering energy storage characteristics of electric vehicles. Sci. Technol. Innov. 2018, 20, 36–37. [Google Scholar]
- Gan, W.; Guo, J.B.; Li, X.J. Distributed energy storage optimization scheduling for multiple application requirements. Power Syst. Technol. 2019, 43, 1504–1511. [Google Scholar]
- Giambattista, G.; Giancarlo, S.G.; Fredy, R.; Juan, D.V.; Diego, P. A Virtual Sensor for Electric Vehicles’ State of Charge Estimation. Electronics 2020, 9, 278. [Google Scholar]
- Moschella, M.; Ferraro, P.; Crisostomi, E.; Shorten, R. Decentralized Assignment of Electric Vehicles at Charging Stations Based on Personalized Cost Functions and Distributed Ledger Technologies. IEEE Internet Things J. 2021, 8, 11112–11122. [Google Scholar] [CrossRef]











| Category | Manufacturer | Vehicle Number | Vehicle Type | Battery Type | Battery Capacity (kWh) | Service Range (km) |
|---|---|---|---|---|---|---|
| Passenger Cars | Rongwei | Ei5 | Compact Cars | Sankyo | 52.5 | 420 |
| BYD | Qinpro500 | Compact Cars | Sankyo | 56.4 | 420 | |
| Geely | Dihao Gse | Compact Cars | Sankyo | 52 | 353 | |
| Cabs | BYD | e5 | Compact Cars | Sankyo | 51.2 | 405 |
| Geely | Dihao EV500 | Compact Cars | Sankyo | 52 | 400 | |
| Chang’an | Eaton EV460 | Compact Cars | Sankyo | 52.56 | 405 | |
| Buses | BYD | K9 | 12 m passenger car | LiFePO4 | 324 | 350 |
| Yutong | E10i | 10.5 m passenger car | LiFePO4 | 300.8 | 255 | |
| Xiamen Golden Dragon | XMQ610 5AGBEVL | 10.5 m passenger car | LiFePO4 | 326.73 | 330 |
| Running Strategy | Charging Revenue (RMB) | Electricity Purchase Cost (RMB) | Daily Running Revenue (RMB) | Energy Storage Commutation Life (year) | Charging Station Day Investment and O&M Costs (RMB) | Charging Station Daily Net Income (RMB) | |
|---|---|---|---|---|---|---|---|
| scenario I | Capacity configuration operation policy | 7098.1 | 2917.4 | 4180.7 | 15 | 1856.5 | 2324.2 |
| Economic optimal operation strategy | 7098.1 | 2710.8 | 4387.3 | 7.12 | 1987.9 | 2399.4 | |
| scenario II | Capacity configuration operation policy | 7189.8 | 1462.2 | 5727.6 | 6.98 | 1993.1 | 3734.5 |
| Economic optimal operation strategy | 7189.8 | 1367.3 | 5822.5 | 6.87 | 1997.3 | 3825.2 |
Publisher’s Note: MDPI stays neutral with regard to jurisdictional claims in published maps and institutional affiliations. |
© 2022 by the authors. Licensee MDPI, Basel, Switzerland. This article is an open access article distributed under the terms and conditions of the Creative Commons Attribution (CC BY) license (https://creativecommons.org/licenses/by/4.0/).
Share and Cite
Huang, K.; Zhao, J.; Sun, X.; Li, W.; Zheng, S. Analysis of Optimal Operation of Charging Stations Based on Dynamic Target Tracking of Electric Vehicles. Electronics 2022, 11, 3175. https://doi.org/10.3390/electronics11193175
Huang K, Zhao J, Sun X, Li W, Zheng S. Analysis of Optimal Operation of Charging Stations Based on Dynamic Target Tracking of Electric Vehicles. Electronics. 2022; 11(19):3175. https://doi.org/10.3390/electronics11193175
Chicago/Turabian StyleHuang, Kun, Jingtao Zhao, Xiaohan Sun, Wei Li, and Shu Zheng. 2022. "Analysis of Optimal Operation of Charging Stations Based on Dynamic Target Tracking of Electric Vehicles" Electronics 11, no. 19: 3175. https://doi.org/10.3390/electronics11193175
APA StyleHuang, K., Zhao, J., Sun, X., Li, W., & Zheng, S. (2022). Analysis of Optimal Operation of Charging Stations Based on Dynamic Target Tracking of Electric Vehicles. Electronics, 11(19), 3175. https://doi.org/10.3390/electronics11193175
