Development of an Ethernet-Based Heuristic Time-Sensitive Networking Scheduling Algorithm for Real-Time In-Vehicle Data Transmission
Abstract
1. Introduction
2. Time-Sensitive Networking (TSN)
2.1. Traffic Scheduling with TSN
2.2. Time-Aware Shaper
2.3. Guard Band and TSN Configuration
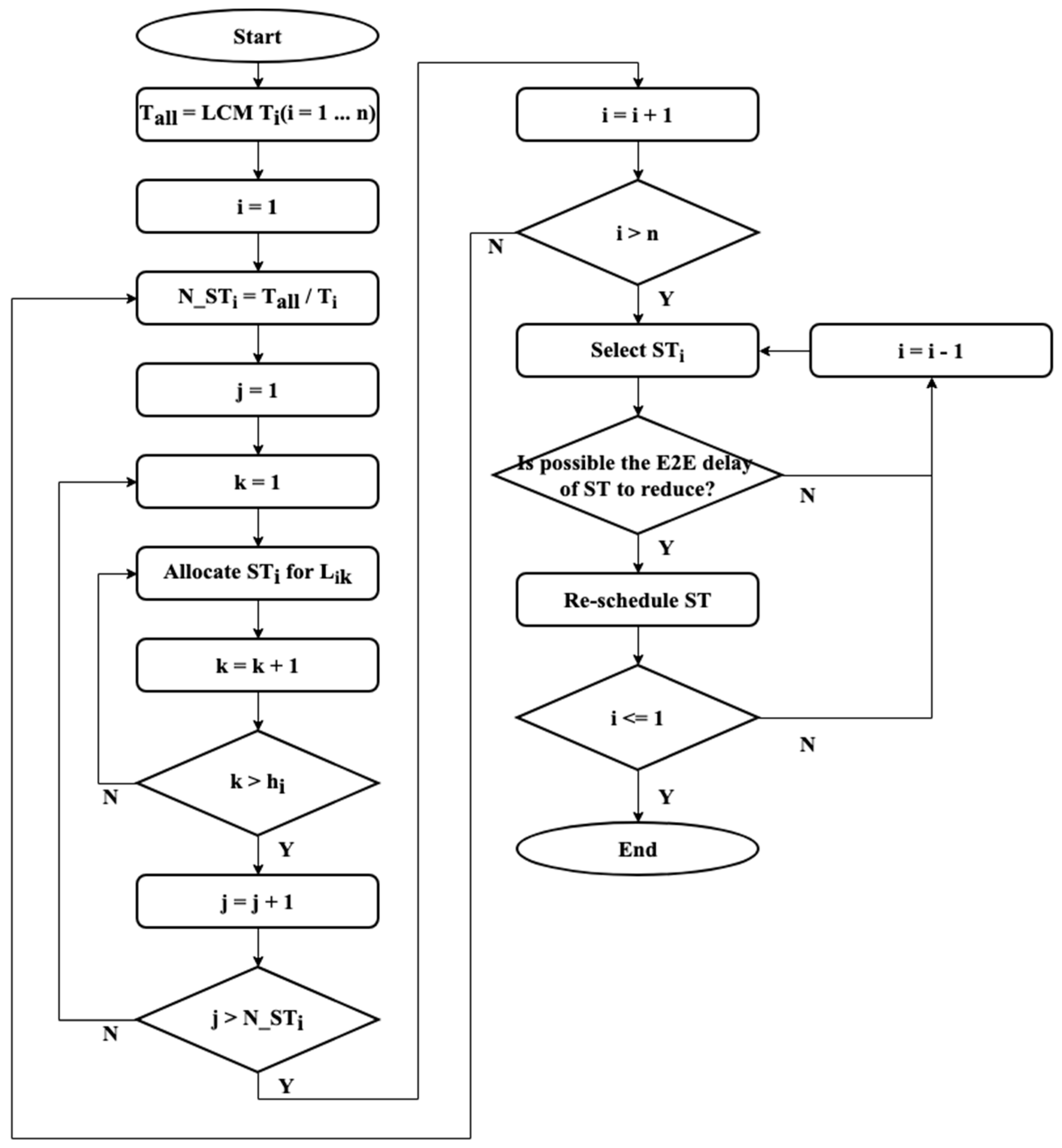
3. Heuristic TSN Scheduling Algorithm
3.1. Heuristic TSN Scheduling Algorithm
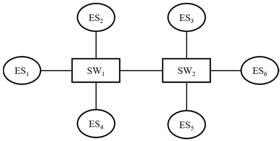
3.2. An Example
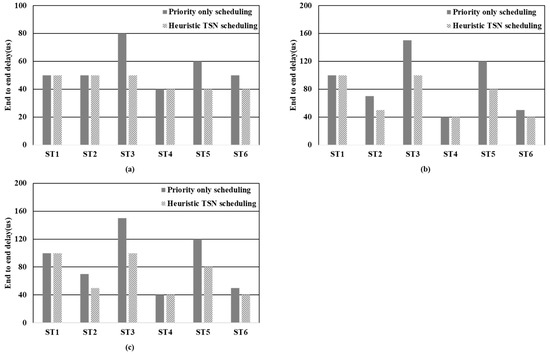
4. Realistic Network and Simulation Results
5. Conclusions
Author Contributions
Funding
Conflicts of Interest
References
- Hu, Q.; Luo, F. Review of secure communication approaches for in-vehicle network. Int. J. Automot. Technol. 2018, 19, 879–894. [Google Scholar] [CrossRef]
- Darbandi, A.; Yoon, S.H.; Kim, M.K. Schedule construction under precedence constraints in flexray in-vehicle networks. Int. J. Automot. Technol. 2017, 18, 671–683. [Google Scholar] [CrossRef]
- Park, I.; Sunwoo, M. FlexRay network parameter optimization method for automotive applications. IEEE Trans. Ind. Electron. 2011, 58, 1449–1459. [Google Scholar] [CrossRef]
- Uhlemann, E. Introducing connected vehicles. IEEE Veh. Technol. Mag. 2015, 10, 23–31. [Google Scholar]
- Doecke, S.; Grant, A.; Anderson, R.W. The real-world safety potential of connected vehicle. Traffic Inj. Prev. 2015, 16, 531–535. [Google Scholar] [CrossRef] [PubMed]
- Kim, M.H.; Lee, S.; Ha, K.N.; Lee, K.C. Implementation of a fuzzy-inference-based low-speed, close-range collision warning system for the urban area. Proc. Inst. Mech. Eng. Part D J. Automob. Eng. 2013, 227, 234–245. [Google Scholar] [CrossRef]
- Lee, S.H.; Lee, S.; Kim, M.H. Development of a driving behavior-based collision warning system using a neural network. Int. J. Automot. Technol. 2018, 19, 837–844. [Google Scholar] [CrossRef]
- Zolock, J.; Senatore, C.; Yee, R.; Larson, R.; Curry, B. The Use of Stationary Object Radar Sensor Data from Advanced Driver Assistance Systems (ADAS) in Accident Reconstruction. SAE Tech. Pap. 2016. [Google Scholar] [CrossRef]
- Park, T.; Samii, S.; Shin, K.G. Design optimization of frame preemption in real-time switched ethernet. In Proceedings of the 2019 Design Automation and Test in Europe Conference and Exhibition, Florence, Italy, 25–29 March 2019. [Google Scholar]
- Liu, X.; Nie, Z.; Li, D.; Yu, H. Design of an improved Ethernet AVB model for real-time communication in in-vehicle network. In Proceedings of the 2019 IEEE 3rd Information Technology, Networking, Electronic and Automation Control Conference 2019, Chengdu, China, 15–17 March 2019. [Google Scholar]
- Lee, K.C.; Lee, S. Performance evaluation of switched Ethernet for real-time industrial communications. Comput. Stand. Interfaces 2002, 24, 411–423. [Google Scholar] [CrossRef]
- IEEE std. IEEE Standard for a Transport Protocol for Time-Sensitive Applications in Bridged Local Area Networks; IEEE-SA: New York, NY, USA, 2016. [Google Scholar]
- Bello, L.L.; Steiner, W. A perspective on IEEE time-sensitive networking for industrial communication and automation systems. Proc. IEEE 2019, 107, 1094–1120. [Google Scholar] [CrossRef]
- IEEE std. 802.1 Qbv-Enhancements for Scheduled Traffic; IEEE-SA: New York, NY, USA, 2016. [Google Scholar]
- Steiner, W. An evaluation of SMT-based schedule synthesis for time-triggered multi-hop networks. In Proceedings of the 2010 31st IEEE Real-Time Systems Symposium, San Diego, CA, USA, 30 November–3 December 2010; pp. 375–384. [Google Scholar]
- Steiner, W. Synthesis of static communication schedules for mixed-criticality systems. In Proceedings of the International Symppsium on Object Component Service-Oriented Ral-Time Distributed Computing Workshops, Newport Beach, CA, USA, 28–31 March 2011; pp. 11–18. [Google Scholar]
- Craciunas, S.S.; Oliver, R.S. Combined task- and network-level scheduling for distributed time-triggered systems. Real Time Syst. 2016, 52, 161–200. [Google Scholar] [CrossRef]
- Tămaş–Selicean, D.; Pop, P.; Steiner, W. Design optimization of TTEthernet-based distributed real-time systems. Real Time Syst. 2014, 51, 1–35. [Google Scholar] [CrossRef]
- Gavrilut, V.; Pop, P. Scheduling in time sensitive networks (TSN) for mixed-criticality industrial applications. In Proceedings of the 2018 14th IEEE Int. Workshop on Factory Communication Systems, Imperia, Italy, 13–15 June 2018. [Google Scholar]
- Dürr, F.; Nayak, N.G. No-wait packet scheduling for IEEE time-sensitive networks (TSN). In Proceedings of the International Conference on Real-Time Networks and Systems, Brest, France, 19–21 October 2016. [Google Scholar]
- Joung, J. Regulating Scheduler (RSC): A Novel Solution for IEEE 802.1 Time Sensitive Network (TSN). Electronics 2019, 8, 189. [Google Scholar] [CrossRef]
- Steiner, W. TTEthernet dataflow concept. In Proceedings of the 8th IEEE International Symposium Network Computing Application, Cambridge, CA, USA, 9–11 July 2009. [Google Scholar]
- Meyer, P. Extending IEEE 802.1 AVB with time-triggered scheduling: A simulation study of the coexistence of synchronous and asynchronous traffic. In Proceedings of the IEEE Vehicular Networking Conference, Boston, MA, USA, 16–18 December 2013. [Google Scholar]
- Pannell, D. AVB-Generation 2 Latency Improvement Options. Available online: http://www.ieee802.org/1/files/pub-lic/docs2011/new-pannell-latency-options-0311-v1.pdf (accessed on 26 October 2020).
- Tindell, K.; Burns, A. Guaranteeing message latencies on controller area network (CAN). In Proceedings of the 1st International Can Conference, Geneva, Switzerland, 25–27 May 1994; pp. 1–11. [Google Scholar]
- Falk, F.; Hellamnns, D.; Carabelli, B.; Nayak, N.; Dürr, F.; Kehrer, S.; Rothermel, K. NeSTiNg: Simulating IEEE time-sensitive networking (TSN) in OMNeT++. In Proceedings of the International Conference on Network and System, Munich, Germany, 18–21 March 2019. [Google Scholar]








| [Source, Destination] | Priority | Size (bytes) | Period (μs) | |
|---|---|---|---|---|
| ST1 | [ES1, ES6] | 6 | 125 | 500 |
| ST2 | [ES1, ES5] | 4 | 250 | 1000 |
| ST3 | [ES2, ES5] | 7 | 125 | 2000 |
| ST4 | [ES2, ES4] | 5 | 250 | 500 |
| ST5 | [ES3, ES4] | 2 | 125 | 1000 |
| ST6 | [ES3, ES6] | 3 | 250 | 2000 |
| [Source, Destination] | Priority | Size (bytes) | Period (μs) | ||
|---|---|---|---|---|---|
| Case 1 | ST1 | [ES1, ES7] | 6 | 125 | 500 |
| ST2 | [ES1, ES6] | 5 | 125 | 500 | |
| ST3 | [ES2, ES7] | 3 | 125 | 500 | |
| ST4 | [ES3, ES6] | 7 | 125 | 500 | |
| ST5 | [ES3, ES5] | 4 | 125 | 500 | |
| ST6 | [ES4, ES5] | 2 | 125 | 500 | |
| Case 2 | ST1 | [ES1, ES7] | 6 | 250 | 500 |
| ST2 | [ES1, ES6] | 5 | 125 | 500 | |
| ST3 | [ES2, ES7] | 3 | 250 | 500 | |
| ST4 | [ES3, ES6] | 7 | 125 | 500 | |
| ST5 | [ES3, ES5] | 4 | 250 | 500 | |
| ST6 | [ES4, ES5] | 2 | 125 | 500 | |
| Case 3 | ST1 | [ES1, ES7] | 6 | 250 | 1000 |
| ST2 | [ES1, ES6] | 5 | 125 | 500 | |
| ST3 | [ES2, ES7] | 3 | 250 | 1000 | |
| ST4 | [ES3, ES6] | 7 | 125 | 500 | |
| ST5 | [ES3, ES5] | 4 | 250 | 2000 | |
| ST6 | [ES4, ES5] | 2 | 125 | 2000 | |
Publisher’s Note: MDPI stays neutral with regard to jurisdictional claims in published maps and institutional affiliations. |
© 2021 by the authors. Licensee MDPI, Basel, Switzerland. This article is an open access article distributed under the terms and conditions of the Creative Commons Attribution (CC BY) license (http://creativecommons.org/licenses/by/4.0/).
Share and Cite
Kim, H.-J.; Choi, M.-H.; Kim, M.-H.; Lee, S. Development of an Ethernet-Based Heuristic Time-Sensitive Networking Scheduling Algorithm for Real-Time In-Vehicle Data Transmission. Electronics 2021, 10, 157. https://doi.org/10.3390/electronics10020157
Kim H-J, Choi M-H, Kim M-H, Lee S. Development of an Ethernet-Based Heuristic Time-Sensitive Networking Scheduling Algorithm for Real-Time In-Vehicle Data Transmission. Electronics. 2021; 10(2):157. https://doi.org/10.3390/electronics10020157
Chicago/Turabian StyleKim, Hyeong-Jun, Min-Hee Choi, Mah-Ho Kim, and Suk Lee. 2021. "Development of an Ethernet-Based Heuristic Time-Sensitive Networking Scheduling Algorithm for Real-Time In-Vehicle Data Transmission" Electronics 10, no. 2: 157. https://doi.org/10.3390/electronics10020157
APA StyleKim, H.-J., Choi, M.-H., Kim, M.-H., & Lee, S. (2021). Development of an Ethernet-Based Heuristic Time-Sensitive Networking Scheduling Algorithm for Real-Time In-Vehicle Data Transmission. Electronics, 10(2), 157. https://doi.org/10.3390/electronics10020157

